/ Nweon / 0浏览

2021年03月12日美国专利局新申请AR/VR专利摘选



映维网
2021年03月12日

)近期美国专利及商标局公布了一批全新的AR/VR专利,以下是映维网的整理(详情请点击专利标题),一共36篇。更多专利披露请访问映维网专利板块
https://patent.nweon.com/
进行检索,你同时可以加入映维网AR/VR专利交流微信群(详见文末)。


1. 《
Magic Leap Patent | Head mounted display system configured to exchange biometric information(配置为交换生物特征信息的头戴式显示系统)

在头戴式显示系统显示关于生物特征信息的同意请求后,可以确定对同意请求的响应。然后,头戴式显示系统搭载的摄像头获取用户的生物特征信息并交由处理系统处理生物特征信息。接下来,可以生成生物特征信息处理结果,而结果可以从头戴式显示系统传送到另一个计算设备。


2. 《
Magic Leap Patent | Display device with diffraction grating having reduced polarization sensitivity(具有更低偏振灵敏度的衍射光栅)

衍射光栅在头戴式显示系统中提供将光耦入波导或将光耦出波导的光学元件。所述衍射光栅可以配置成具有更低的偏振灵敏度。例如,这样的光栅可以以相似的效率对不同偏振的光进行耦入或耦出。衍射光栅和波导可以包括透射层和金属层。衍射光栅可以包括闪耀光栅。


3. 《
Facebook Patent | Selecting spatial locations for audio personalization(为音频个性化选择空间位置)

音频系统为用户生成定制的头相关传递函数(HRTF)。音频系统接收一组初始估计的HRTF。HRTF的初始集合可以使用经过训练的机器学习和计算机视觉系统,以及用户耳朵的图片来估计。音频系统使用初始的HRTF集合来生成一组测试位置。音频系统使用HRTF的初始集合并在每个初始集合的测试位置呈现测试声音。音频系统监控用户对测试声音的响应。音频系统使用监测到的响应生成一组新的估计HRTF和一组新的测试位置。所述过程重复进行,直到达到阈值精度或直到设定的时间段结束。音频系统使用定制的HRTF向用户呈现音频内容。


4. 《
Facebook Patent | Systems and methods for reducing wifi latency using transmit opportunity and duration(使用传输机会和持续时间减少wifi延迟的系统和方法)

专利描述的设备可以压缩视频帧的多个片段中的第一片段以获得压缩后的第一片段的大小。所述设备可以根据压缩后的第一片段的大小来估计压缩后的视频帧的大小。所述设备可以生成发送请求(RTS)以保留传输信道,传输持续时间与压缩后的视频帧的大小相对应。设备可以向一个或多个其他设备广播RTS。


5. 《
Facebook Patent | Systems and methods for prioritizing packet retransmission(优先包重传的系统和方法)

根据应用层协议,发送组件可以针对视频帧的多个包中的每个包,将表示多个包中对应包的顺序的序列号插入到对应包的头文件中。发送组件可以以第一优先级向接收组件发送包括相应插入序列号的多个包。发射组件可以接收要重传给接收组件的一个或多个包的标识,所述标识至少基于一个或多个包的插入序列号。发送组件可以以高于第一优先级的第二优先级重传一个或多个包。


6. 《
Facebook Patent | Battery pack architecture for parallel connection of cells(用于电池并联的电池组架构)

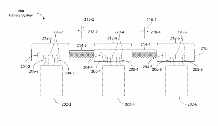
专利描述的电池系统包括并联连接的多个电池单元。每个电池单元包括一个正极耳和负极耳。电池系统同时包括多个热开关装置。每个热开关装置电耦合到相应的单元。电池系统同时包括含有多个刚性区域的刚性-柔性电路板。每个刚性区域通过各自的柔性区域连接到相邻刚性区域。每个刚性区域电耦合到各个电池单元的各个正极耳和负极耳。每个热开关装置防止在耦合到热开关装置的第一电池单元和邻近第一电池单元的第二电池单元之间的异常电流流动。


7. 《
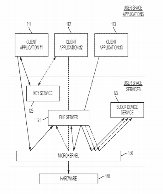
Facebook Patent | Microkernel architecture with enhanced reliability and security(具有更高可靠性和安全性的微内核架构)

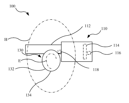
在一个实施例中,操作系统的微内核从应用程序接收请求与服务注册表通信的第一系统调用。微内核向服务注册中心发送第一条指令。微内核从服务注册中心接收请求与应用服务或协议服务中的至少一个通信的第二系统调用。微内核向应用服务或协议服务中的至少一个发送第二条指令。微内核从应用服务或协议服务中的至少一个接收请求与驱动程序服务通信的第三系统调用。微内核向驱动程序服务发送第三条指令。


8. 《
Facebook Patent | System and method for split storage stack(用于分割存储堆栈的系统和方法)

在一个实施例中,一种方法包括在操作系统的用户空间内作为第一进程启动应用程序。应用程序实例化与操作系统关联的数据存储系统。所述方法同时包括启动块设备服务作为操作系统的用户空间内的第二进程,所述块设备服务配置为管理计算设备的持久存储设备。另外,所述方法包括由操作系统的内核接收来自应用程序的系统调用请求以与块设备服务通信,所述系统调用请求由应用程序使用数据存储系统生成,并且包括访问持久存储设备的访问请求。所述方法同时包括响应于系统调用请求,通过IPC信道向应用程序提供对块设备服务的访问。


9. 《
Facebook Patent | System and method for key value store(键值存储系统和方法)

在一个实施例中,,一种方法包括在操作系统的用户空间内作为第一进程启动应用程序。应用程序实例化一个键值存储和一个与操作系统关联的文件系统。所述方法同时包括通过在用户空间内运行的块设备服务来管理分配给键值存储的持久存储的一个或多个第一数据块,以及分配给文件系统的持久存储的一个或多个第二数据块。另外,所述方法包括由操作系统的内核接收系统调用请求,所述系统调用请求包括由键值存储或文件系统生成的访问请求。所述方法同时包括,响应于访问请求,通过块设备服务向一个或多个第一或第二数据块授予键值存储或文件系统访问权。


10. 《
Facebook Patent | Artificial reality triggered by physical object(由物理对象触发的人工现实)

专利描述的人造现实系统基于或响应于与物理环境中的一个或多个物理对象的交互来呈现人造现实内容或人造现实效果。在一个示例中,所述方法包括确定用户已经对触发对象执行了触发动作;响应于确定用户已经执行了触发动作,生成人造现实内容;在与头戴式显示器相关联的显示器呈现人造现实内容;确定用户已经执行了解除触发动作;并且响应于确定用户已经执行了解除触发动作,中断人造现实内容的呈现。


11. 《
Facebook Patent | Magnetic field driven liquid crystal patterning control system(磁场驱动液晶图形控制系统)

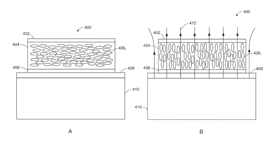
各种实施例描述了液晶图案控制系统,其中液晶使用局部施加的磁场来对准。光通过各向异性液晶所经历的折射率取决于方向。结果,可以将相位差施加于通过或从液晶阵列反射的光束,所述液晶阵列的取向通过局部施加的磁场来控制。在一个实施例中,局部施加的磁场可通过驱动电流穿过在微或纳米磁性粒子或磁畴处相交的导线,或通过向缠绕在高磁导率磁芯上的微或纳米线圈施加电压等方式产生。


12. 《
Facebook Patent | Active zonal display illumination using a chopped lightguide(使用短截波导的有源分区显示照明)

专利描述的光学装置包括基板、多个位于基板上的光学元件以及一个或多个可切换单元。多个光学元件的各自光学元件配置成重定向具有第一偏振的光,并且发射具有与第一偏振正交的第二偏振的光。所述多个光学元件包括位于基板的第一区域上的第一光学元件和位于基板第二区域上的第二光学元件。一个或多个可切换单元的相应可切换单元包括光学各向异性分子。一个或多个可切换单元包括位于基板的第一单元位置上的第一可切换单元,该第一可切换单元位于基板的第一区域和基板的第二区域之间。


13. 《
Facebook Patent | Display illumination using a grating(使用光栅的显示照明)

显示组件包括光源、空间光调制器(SLM)和光栅。光源配置为发射照明光,SLM配置为接收照明光并反射照明光的至少一部分。光栅配置为将从光源输出的照明光重定向到SLM,从SLM接收至少一部分反射光,将具有第一偏振的第一光重定向到光源,以及通过光栅传输具有与第一偏振正交的第二偏振的第二光。


14. 《
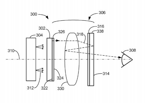
Facebook Patent | Low-obliquity beam scanner with reflective polarizer(带反射偏振器的低倾角光束扫描仪)

基于投影仪的近眼显示器的光束扫描仪包括带反射偏振器的棱镜元件和四分之一波波板(QWP)。光束折叠棱镜元件从光源接收偏振光,并将光束耦合到可倾斜反射器,以用于对光束进行角扫描。到达可倾斜反射镜的光束与可倾斜反射镜通过偏振反射的光束分离。光束通过QWP的双传输后,将其偏振变为正交偏振。光束扫描仪可以从多个光源接收多个光束。


15. 《
Facebook Patent | Display with switchable retarder array(带可切换缓速器阵列的显示器)

专利描述的显示装置包括波导、与波导接触的可调谐缓速器阵列和偏振选择光学元件。可调谐缓速器阵列的相应可调谐缓速器接收来自波导的光。相应的可调谐缓速器具有第一状态,其使得相应的可调谐缓速器将具有第一偏振的光引导到第一方向;相应的可调谐缓速器具有第二状态,其使得相应的可调谐缓速器将具有不同于第一方向上的第二偏振的第二偏振的光引导到第一方向。偏振选择光学元件位于可调谐延迟器阵列附近,使得具有第二偏振的光从偏振选择光学元件沿第二方向传播,并且具有第二偏振的光从偏振选择光学元件沿第三方向传播。


16. 《
Facebook Patent | Switchable polarization retarder array for active zonal illumination of display(用于显示器有源分区照明的可切换偏振缓速器阵列)

专利描述了一种用于照明空间光调制器的一个或多个部分的光学装置,其包括波导、可调谐延迟器阵列和偏振选择光学元件。相应的可调谐缓速器接收来自波导的光。相应的可调谐缓速器具有第一状态,其使得相应的可调谐缓速器将具有第一偏振的光引导到第一方向;相应的可调谐缓速器具有第二状态,其使得相应的可调谐缓速器将具有不同于第一方向上的第二偏振的第二偏振的光引导到第一方向。偏振选择光学元件位于可调谐延迟器阵列附近,使得具有第二偏振的光从偏振选择光学元件沿第二方向传播,并且具有第二偏振的光从偏振选择光学元件沿第三方向传播。


17. 《
Apple Patent | Display System Having An Audio Output Device(包含音频输出组件的显示系统)》

专利描述的显示系统包括头戴式显示单元和可拆卸的扬声器单元。头戴式显示单元向用户输出视觉内容,并且向用户提供真实环境的视觉透视。可拆卸的扬声器单元连接至头戴式显示单元,并用于向用户提供听觉内容。根据可拆卸扬声器单元相对于头戴式显示单元的位置,改变视觉内容或听觉内容中的至少一个。


18. 《
Apple Patent | Method of and system for projecting digital information on a real object in a real environment(在真实环境中将数字信息投射到真实对象的方法和系统)

在真实环境中将数字信息投射到真实对象的方法包括:使用可见光投影仪将数字信息投射到真实对象或真实对象的一部分之上;使用摄像头并以投影数字信息拍摄真实对象的至少一个图像的;提供在摄像头中注册的深度传感器,深度传感器捕获真实对象或真实对象的一部分的深度数据;基于至少一个图像和深度数据计算可见光投影仪与真实对象之间的空间变换。


19. 《
Apple Patent | Multimodal inputs for computer-generated reality(用于计算机生成现实的多模态输入)

至少部分地根据电子设备是否可通信地耦合到相关联的基础设备来确定电子设备的操作模式。基于所确定的操作模式,识别一组输入模式,并用于在电子设备的视场内启动内容的记录。监视由至少一个传感器生成的传感器信息。另外,当所监视的传感器信息指示所识别的输入模式集合中的至少一个已被触发时,发起在电子设备视场内的内容记录。


20. 《
Apple Patent | Method and device for presenting synthesized reality companion content(呈现合成现实内容的方法和装置)

在一个实现中,一种方法包括:在使得呈现具有当前绘图设置的视频内容的同时,接收指示探究当前绘图设置的请求的用户输入;响应于接收用户输入而获得与当前绘图设置相关联的合成现实内容;致使呈现与当前绘图设置相关联的合成现实内容;接收与合成现实内容的一个或多个用户交互;以及响应于接收与合成现实内容的一个或多个用户交互而调整合成现实内容的呈现。


21. 《
Apple Patent | Positional synchronization of virtual and physical cameras(虚拟camera和物理camera的位置同步)

用于虚拟相camera和物理camera的位置同步的设备可以包括处理器,处理器配置成确定物理camera相对于物理环境中的另一电子设备的第一位置。处理器可配置成在计算机生成环境中的第二位置中发起虚拟camera的定位。处理器可以配置成接收由物理相camera捕获的图像帧和由虚拟camera生成的虚拟图像帧。处理器可以配置成生成计算机生成现实图像帧。


22. 《
Apple Patent | Computer-generated reality recorder(计算机生成现实记录器)

专利描述了对内容记录的分析。至少部分地基于分析生成元数据信息。至少部分地基于用户偏好或检测到的事件中的至少一个,确定感兴趣区域或在内容记录中的感兴趣对象。至少部分基于所识别的感兴趣区域或感兴趣对象,生成内容记录的修改版本。然后,存储内容的修改版本,以便随后在电子设备回放。


23. 《
Apple Patent | Object detection with instance detection and general scene understanding(具有实例检测和一般场景理解的目标检测)

在一个实现中,识别在物理环境图像中描绘的对象的对象类型。然后,基于对象类型和图像来确定特定实例。在一个实现中,特定实例的对象具有一组不同于与其他实例关联的特征集的特征。然后,获取物理环境中的对象的特定实例的特征集合。


24. 《
Apple Patent | Object relationship estimation from a 3d semantic mesh(基于三维语义网格的对象关系估计)

专利描述的方法基于表示物理环境的三维几何体的顶点和面的原始语义网格来确定对象之间关系。可以生成这样的原始语义网格,并用于向机器学习模型提供输入。所述机器学习模型可以估计物理环境中的对象之间的关系。


25. 《
Apple Patent | Providing restrictions in computer-generated reality recordings(在计算机生成现实录制中提供限制)

专利描述了对设备视场内的内容记录的分析,所述分析包括对包含在内容中的一组对象的识别。所述识别为对应受保护内容的对象集合的子集。然后,生成成一个修改版本的记录,模糊或过滤对象集的子集。另外,将记录的修改版本提供给主机应用程序以进行回放。


26. 《
Apple Patent | Glint-based gaze tracking using directional light sources(使用定向光源并基于闪光的注视点追踪)

专利描述的实施例基于角膜中心和瞳孔中心或眼球中心来确定注视方向。角膜中心是用一个定向光源来确定,以产生一个或多个从眼睛表面反射并被传感器捕获的闪光。例如,通过记录光源方向的编码器确定来自定向光源的光的角度(例如,方向)。光源的已知方向有助于确定角膜闪光的距离,并且使得能够例如基于单个闪光来确定角膜位置。角膜中心和瞳孔中心或眼球中心可用于确定注视方向。


27. 《
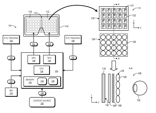
Google Patent | Near-eye display with extended accommodation range adjustment(包含更大视觉调节范围的近眼显示器)

专利描述的近眼显示系统包括用于显示近眼光场帧的显示面板,所述近眼光场帧包括基本图像的阵列,以及用于追踪用户眼睛姿态的
眼动追踪
组件。所述系统同时包括透镜阵列和渲染组件,其用于根据用户眼睛姿态来调整光场帧中的基本图像阵列的焦点。近眼显示系统的操作方法则包括,使用近眼显示系统的眼动追踪组件确定用户眼睛的第一姿态,以及基于用户眼睛的第一姿态确定形成光场帧的基本图像阵列的期望焦点。所述方法同时包括基于用户眼睛的第一姿态改变从透镜阵列投射的光的焦距。


28. 《
Google Patent | Smart-Home Device Placement And Installation Using Augmented-Reality Visualizations(使用增强现实可视化来放置和安装智能家居设备)》

一种用于优化智能家居设备放置的方法可以包括:由移动计算设备接收智能家居设备的位置,移动计算设备包括显示器和摄像头;以及渲染表示智能家居设备视场的虚拟对象视图。其中,根据与移动计算设备位置相对应的位置来渲染虚拟对象的视图。所述方法同时包括,由移动计算设备的显示器显示虚拟对象的视图,所述虚拟对象表示智能家居设备的视场。


29. 《
Google Patent | Future semantic segmentation prediction using 3d structure(基于3D结构的未来语义分割预测)

在一个实施例中,为未来图像中描绘的未来场景中的潜在对象生成预测的分割映射。所述操作包括:接收描述相同场景的输入图像序列,所述输入图像在不同的时间步被摄像头捕获;处理当前输入图像以生成当前输入图像中潜在对象的分割图和当前输入图像的相应深度映射;使用当前输入图像的分割图和深度映射生成当前输入图像的点云;使用ego运动估计神经网络来处理输入图像序列;使用未来ego运动预测神经网络处理ego运动输出,以生成未来ego运动输出;处理当前输入图像的点云和所述未来ego运动输出,以生成作为所述未来图像中描绘的未来场景的预测三维表示的未来点云;处理所述未来点云,以生成用于所述未来图像中描绘的未来场景中的潜在对象的预测分割映射。


30. 《
Google Patent | Digital Supplement Association And Retrieval For Visual Search(视觉搜索的数字补充关联和检索)

专利描述了用于视觉搜索的识别和检索内容系统和方法。示例方法包括将视觉内容查询发送到服务器计算设备,并接收对识别数字补充的视觉内容查询的响应。所述示例方法同时包括使得显示内容包括与数字补充物相关联的信息的用户界面。视觉内容查询可以取决于图像。数字补充可以包括关于图像内容的信息。


31. 《
Valve Patent | Display System With Dynamic Light Output Adjustment For Maintaining Constant Brightness(具有动态光输出调节功能以保持恒定亮度的显示系统)

显示器的光输出可以动态调节。当在支持可变刷新率的低视觉暂留显示器实现时,这种动态光输出调节能够在一系列帧保持恒定的亮度,并消除显示器的闪烁。当给定帧的像素数据输出到呈现图像的帧缓冲器时,可以确定针对前一帧的发光元件照明与下一照明之间的时间差,然后这个时间差用来确定光输出参数的值。在将图像呈现给显示器时,可以根据光输出参数的值来照亮发光元件。这个决定在一系列帧进行迭代,以动态调节显示器的光输出。


32. 《
Valve Patent | Head-mounted display (hmd) with spatially-varying retarder optics(具有空间变化缓速器光学元件的头戴式显示器)

专利描述的头戴式显示器或其他近眼显示器包括含有空间变化缓速器(SVR)的光学元件。SVR可以使用校正因子进行制造,以便补偿模制透镜和/或偏振分束器中显示的一个或多个制造误差。


33. 《
Valve Patent | Force sensing resistor (fsr) with polyimide substrate, systems, and methods thereof(带聚酰亚胺衬底的力敏电阻器,系统及其方法)

专利描述的力感测电阻器(FSR)包含由聚酰亚胺制成的第一衬底,第一衬底设置在具有电阻性和柔性的第二衬底之下。用于电子系统的手持控制器可包括具有由聚酰亚胺制成的第一基板的FSR。FSR可以安装在控制器主体内的结构平面之上。FSR可配置成测量与施加到手柄外表面的力的量和/或相对应的电阻值。


34. 《
Sony Patent | Display element and electronic device(显示元件和电子设备)

专利描述的显示元件包括:包括以二维形式排列的像素的显示区域,其中每个像素包括多个子像素。在每个像素中,可以针对每个子像素调整光反射部分相对于发光部分的高度。


35. 《
Sony Patent | Free-viewpoint method and system(自由视点方法和系统)

一种生成场景的3D重建的方法包括:获取场景内虚拟camera的外部和内部特征;访问数据结构以确定将用于从虚拟camera的视点重建场景的camera对;其中,数据结构定义场景的体素表示;其中与相应体素表面相关联的每个camera对标识符对应于一个camera对;基于所获得的虚拟camera的外部和内部特征,识别在虚拟camera的视场内的至少一个体素和朝向虚拟camera的相应体素表面;基于所访问的数据结构识别,至少一个camera对,并且基于所识别的至少一个camera对中的camera捕获的图像,从虚拟camera的视点生成场景的重建。


36. 《
Sony Patent | Image processing apparatus, image processing method, and recording medium(图像处理设备,图像处理方法和记录介质)

专利描述的图像处理设备包括:变量确定单元,其基于包括在根据关于在第一动态范围中记录的第一视频数据中的用户运动信息而确定的预定区域中的各个像素的亮度值分布,执行变量的确定,并用于在第一动态范围转换为第二动态范围时计算各个像素的亮度值;以及转换器,其基于由变量确定单元确定的变量将第一视频数据转换为在第二动态范围中显示的第二视频数据。

0

  1. This post has no comment yet

发表回复

您的邮箱地址不会被公开。 必填项已用 * 标注