/ Nweon / 0浏览

2021年03月08日美国专利局新申请AR/VR专利摘选



映维网
2021年03月08日

)近期美国专利及商标局公布了一批全新的AR/VR专利,以下是映维网的整理(详情请点击专利标题),一共26篇。更多专利披露请访问映维网专利板块
https://patent.nweon.com/
进行检索,你同时可以加入映维网AR/VR专利交流微信群(详见文末)。


1. 《
Magic Leap Patent | Reverberation gain normalization(归一化混响增益)

专利描述了用于对混响属性进行精确和独立控制的系统和方法。系统可以包括混响处理系统,直接处理系统和组合器。混响处理系统可以包括混响初始功率控制系统和混响器。混响初始功率控制系统可以包括混响初始增益和混响初始功率校正器。可以配置为将混响初始增益和值应用于输入信号,混响初始功率校正器可以配置为将混响初始功率校正因子应用于混响初始增益信号。混响器可以配置为将混响效果应用于来自混响初始功率控制系统的信号。可以计算和应用一个或多个值和/或校正因数,从而将输出的信号标准化为预定值。


2. 《
Facebook Patent | Adaptive shading and reprojection(自适应着色和重投影)

专利描述了一种用于通过自适应重投影渲染图像的系统、方法和设备。可以执行第一重投影并以第一速率生成虚拟空间的第一视图的第一图像的一部分。可以确定从虚拟空间的第一视图到第二视图的变化量。可以通过第二重投影来生成虚拟空间的第二视图的第二图像的一部分。可以根据虚拟空间从第一视图到第二视图的变化量,以第二速率对第二图像的部分执行第二重投影。


3. 《
Facebook Patent | Structured actuators: shaped electroactive polymers(结构化致动器:成型电活性聚合物)

致动器组件包括主电极、与主电极至少一部分重叠的次电极、和布置在主电极和次电极之间的电活性聚合物层,其中电活性聚合物层包括非垂直的侧壁。电活性聚合物层可以是相对于与电极主表面正交定向的轴的非轴对称形状。


4. 《
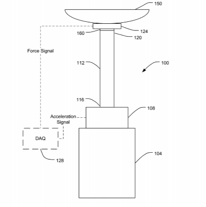
Facebook Patent | Systems and methods for characterization of mechanical impedance of biological tissues(生物组织机械阻抗表征系统和方法)

传感器系统包括致动器、与致动器耦合的加速计、刚性构件、换能器和一个或多个处理器。执行器产生运动。加速计输出至少响应于致动器的运动的加速度信号。刚性构件从与加速计耦合的第一端延伸到第二端。传感器与刚性构件的第二端连接。传感器可以配置成输出力信号。一个或多个处理器至少基于加速度信号和力信号来确定负载的机械阻抗。


5. 《
Facebook Patent | Systems, methods, and interfaces for performing inputs based on neuromuscular control(基于神经肌肉控制执行输入的系统、方法和接口)

专利描述地方法可以包括经由用户界面呈现感官提示,以及从可穿戴设备的神经肌肉传感器接收由用户生成的各种神经肌肉信号。其中,用户响应通过用户界面呈现给用户的感官提示而产生神经肌肉信号。所述方法同时可以包括将接收到的神经肌肉信号解释为由用户界面提供的感觉线索的输入命令,使得输入命令在用户界面内发起指定任务的执行。所述方法同时可以包括,根据所解释的输入命令在用户界面内执行指定的任务。


6. 《
Microsoft Patent | Optimized exposure control for improved depth mapping(优化曝光控制以改进深度映射)

专利描述了用于控制深度传感器的曝光时间或照明强度的优化技术。在环境的第一深度映射中标识无效的深度像素。对于每个无效的深度像素,在用于生成第一深度映射的深度图像中标识相应的图像像素。从深度图像中识别出多个亮度强度。每个亮度强度分类为对应于曝光过度或曝光不足的图像像素。然后使用增加的曝光时间或照明强度,或者替代地,减少的曝光时间或照明强度来捕获环境的另一深度图像。在基于新深度图像生成第二深度映射之后,通过用第二深度映射的相应有效深度像素替换第一深度映射的无效深度像素,第二深度映射的部分选择性地与第一深度映射合并。


7. 《
Microsoft Patent | Metasurface optical coupling elements for a display waveguide(用于显示波导的超表面光学耦合元件)

专利描述了一种波导显示器的实施例,所述波导显示器配置为与近眼显示器装置一起使用。在一个实施例中,波导显示器包括一个透光基板和一个光学耦合元件,所述光学耦合元件配置成向基板输入光线或从基板输出光线,所述光耦合元件配置成使入射光线的多个波长偏转,以便通过全内反射(TIR)在透光基板内传播。所述光学耦合元件可以包括在所述基板上共同形成超表面的纳米结构图案。


8. 《
Apple Inc. Patent | Head-mounted device with tension adjustment(带张力调节的头戴式设备)

头戴式设备包括外壳、连接到外壳并相对于用户支撑外壳的支撑结构、连接到外壳以显示内容的显示组件、与显示组件相关联的光学系统,以及产生传感器输出信号的传感器。头戴式设备同时包括基于传感器输出信号确定张力命令的张力控制器,以及根据张力命令向用户施加张力以限制外壳相对于用户运动的张力调节器。


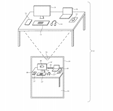
9. 《
Apple Patent | Electronic device with intuitive control interface(具有直观控制界面的电子设备)

电子设备可以包括显示系统和控制电路。用户的环境可以显示在显示系统。显示系统显示的环境可以是环境的捕获图像,或可以是通过光学组合器观看的实际世界,或者可以是表示环境的完全虚拟图像。控制电路可以收集关于外部电子设备在用户环境中的信息,包括确定每个外部电子设备的类型和位置、以及外部电子设备之间的无线通信链路状态。显示系统可以将计算机生成的显示元素叠加到用户环境,以指示外部电子设备之间的无线通信链路状态。响应于触碰或手势输入,控制电路可以向外部电子设备发送控制信号,以建立或断开外部电子设备之间的无线通信链路。


10. 《
Apple Patent | Managing multi-modal rendering of application content(管理应用程序内容的多模态渲染)

一种实现用于管理应用程序内容的多模态渲染的设备包括至少一个处理器,所述处理器配置为接收由应用程序提供的用于以三维显示模式显示的内容。所述至少一个处理器进一步配置为确定所述内容对应于二维内容。所述至少一个处理器同时配置成识别需要通过三维渲染来增强的二维内容一部分。所述至少一个处理器同时配置成响应于所述确定来增强所述二维内容的部分。所述至少一个处理器进一步配置为在三维显示模式下提供二维内容的增强部分显示。


11. 《
Apple Patent | Image-based detection of surfaces that provide specular reflections and reflection modification(提供镜面反射和反射修改的基图表面检测)

专利描述的一些实现涉及提供CGR环境,所述CGR环境包括虚拟内容,所述虚拟内容用以替换用户或用户设备在镜子或提供反射的其他表面中的外观。例如,CGR环境可以修改为呈现不包括用户持有或佩戴的设备的反射。在另一个例子中,修改CGR环境,使得诸如电子设备的更新版本或虚拟魔杖之类的虚拟内容替换反射中的电子设备。在另一示例中,修改CGR环境,使得诸如用户化身之类的虚拟内容替换反射中的用户。


12. 《
Apple Patent | Transparent display system with peripheral illumination(具有外围照明的透明显示系统)

诸如头戴式设备的电子装置可以具有头戴式支撑结构。支撑结构的一部分可以形成透明的壳体构件。用于头戴式设备的显示系统可以具有向波导提供图像光的显示组件,并且可以具有将图像光从波导耦合到视窗的耦出器。透明壳体构件或其他外设结构的外围部分可以搭载向用户外围视觉发射漫射光的外围显示器。外围显示器可以使用导光结构、光源、反射结构和其他向真实世界光提供透明度的结构。


13. 《
Apple Patent | Optical module for head-mounted device(用于头戴式设备的光学模块)

用于头戴式装置的光学模块被配置成向用户呈现内容。所述光学模块包括光学模块壳体组件、显示器组件和眼睛摄像头。光学模块壳体组件具有第一端和第二端。透镜连接到光学模块壳体组件并定位在光学模块壳体组件的第一端。显示器组件连接到光学模块壳体组件,并且位于光学模块壳体组件的第二端。显示组件配置成通过透镜向用户显示内容。眼睛摄像头连接到光学模块壳体组件并且位于光学模块壳体组件的第二端。眼睛摄像头配置成通过透镜获得图像。


14. 《
Apple Patent | Optical adjustment for head-mountable device(头戴式设备的光学调整)

头戴式设备可包括光学模块,所述光学模块提供可调节安装的显示元件和/或光学元件。可通过驱动允许显示元件和/或光学元件以一个或多个自由度移动的机制来调整显示元件和/或另一光学元件。所述驱动允许相对于光学元件调整显示元件的位置,以校正在头显操作期间引起的任何位移。一个或多个传感器可以在初始状态以及之后检测显示器的位置。传感器可以检查部件位置的变化,并为驱动提供依据。


15. 《
Qualcomm Patent | Virtual keyboard(虚拟键盘)

设备(例如,扩展现实设备)可以获得真实世界环境的场景的图像,其中真实世界环境可以通过扩展现实设备的显示器查看。设备可以检测图像中用户的物理手部的至少一部分。设备可以基于检测的手部至少一部分来生成虚拟键盘。设备可以确定虚拟键盘在扩展现实设备显示器相对于物理手部至少一部分的位置。设备可以在显示器显示虚拟键盘。


16. 《
Qualcomm Patent | Techniques for augmented reality assistance(增强现实辅助技术)

一种示例方法包括获取移动设备的位置,以及基于移动设备的位置获取本地规则。所述方法还包括获取靠近移动设备的环境的一个或多个图像,基于本地规则在一个或多个图像中识别环境的一个或多个区域,以及在移动设备处显示增强现实辅助,其中增强现实辅助基于所识别的一个或多个区域对环境的影响。


17. 《
Qualcomm Patent | Determining eye strain indicator based on multiple devices(基于多个设备确定眼疲劳指示器)

在一方面,一种可由用户穿戴的增强现实设备包括图像传感器和耦合到图像传感器的处理器。处理器从图像传感器接收图像数据,确定显示器在AR设备的视场内,基于确定显示器在AR设备的FOV内来确定眼睛疲劳指示器,并将眼睛疲劳指示器提供给用户。


18. 《
Intel Patent | Technologies for Time-Delayed Augmented Reality Presentations(用于延时增强现实呈现的技术)

用于延时增强现实呈现的技术包括确定多个用户AR系统的位置,然后确定向每位AR用户呈现的AR感官刺激事件的时间延迟。根据对应于用户AR系统的时间延迟,将AR感官刺激事件呈现给每个用户AR系统。 每个用户AR系统根据定时参数生成AR感官刺激事件。


19. 《
Sony Patent | Information processing apparatus and information processing method(信息处理装置和信息处理方法)

对体素数据执行渲染,所述体素数据是通过使用体素量化位置信息并响应于每个体素的形状表示三维结构而获得的3D数据。或者,对体素数据执行渲染,所述体素数据是通过使用体素量化位置信息而获得的3D数据,并且基于与体素数据的渲染相关的渲染信息来表示三维结构。


20. 《
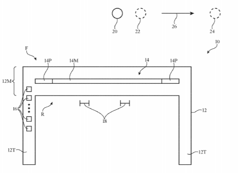
Sony Patent | Augmented reality (ar) mat with light, touch sensing mat with infrared trackable surface(带灯光的增强现实垫,带红外可追踪表面的触控感应垫)

垫在微刻面透镜阵列下具有光传感器的嵌入式阵列,以提供入射真实世界光的各种入射角的光强度值的阵列。虚拟对象可以投射到垫上,并使用来自光传感器的信息,令虚拟照明以匹配真实世界程度的照明环境。触碰传感器阵列可嵌入垫中以允许用户与虚拟对象交互并提供其他输入。微刻面透镜阵列的表面可涂覆有图案红外反射涂层,使得垫被动地反射图案中的特定IR波长带以充当基准标记。


21. 《
Sony Patent | Data processing(数据处理)

专利描述的数据处理设备包括:摄像头,其配置成捕捉连续图像,每个图像在相应的图像捕捉周期期间被捕捉,使得所捕捉图像的各个不同部分在图像捕捉周期内的各个不同捕捉时间被捕捉;检测器,获取指示远程标记相对于数据处理设备的相对位置的信息,并将时间戳与指示检测到相对位置的时间的检测到的相对位置相关联。


22. 《
Sony Patent | Method and system for generating an image of a subject in a scene(用于在场景中生成对象图像的方法和系统)

一种生成场景中被摄物的图像的方法包括:获得场景中被摄物的第一图像和第二图像,每个图像对应于被摄物的不同的各自视点,每个图像由不同的各自摄像头捕获;在借助于不同视点在第一图像而不是第二图像中遮挡至少一些被摄体的情况下,基于与每个图像相关联的camera姿势的差异,获得指示每个图像的camera姿势的camera姿势数据;对应于从中拍摄第一图像的视点,重新投影第二图像的至少一部分,并且将第二图像的重投影部分与第一图像的至少一部分组合,以便从第一图像的视点生成被摄体的合成图像。


23. 《
Sony Patent | Information processing device, information processing method, and program(信息处理设备,信息处理方法和程序)

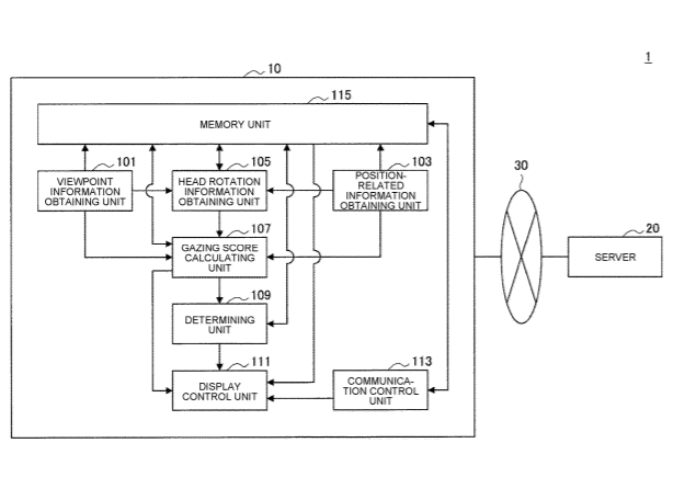
信息处理设备包括视点信息获取单元,其获取与用户的视点相关的视点信息;位置相关信息获取单元,其获取与用户的位置和预定对象的位置相关的位置相关信息;头部旋转信息获取单元,其获取与伴随用户头部区域的旋转的角速度相关且与角速度的变化相关的头部旋转信息;以及确定单元,利用根据位置相关信息和头部旋转信息为每个对象计算的注视分数,确定单元确定用户是否注视对象。


24. 《
Sony Patent | Information processing device, information processing method, and computer program(信息处理装置、信息处理方法和计算机程序)

专利描述的一种信息处理装置包括:识别单元,其配置成识别位于相同表面上的真实对象和第一虚拟对象之间的物理关系;以及控制单元,其配置成基于物理关系控制真实对象的行为。


25. 《
Sony Patent | Display device(显示设备)

专利描述了一种能够抑制拖影产生的显示装置。偏光板邻近显示部分设置。1/4波长板邻近偏光板设置。偏光板邻近透镜设置。1/4波长板邻近偏光板设置。分束器设置在1/4波长板和1/4波长板之间。


26. 《
Sony Patent | Information processing apparatus, information processing method, and program(信息处理设备,信息处理方法和程序)

专利描述的信息处理装置包括使显示单元在三维空间中显示虚拟图像的显示控制单元。如果从显示单元的用户观看时确定虚拟图像位于深度方向上的预定范围之外,则显示控制单元使得显示单元仅显示与虚拟图像相对应的左眼图像和右眼图像中的一个;如果确定虚拟图像位于预定范围内,则使显示单元显示左眼图像和右眼图像。

0

  1. This post has no comment yet

发表回复

您的邮箱地址不会被公开。 必填项已用 * 标注