/ Nweon / 0浏览

2021年01月22日美国专利局新申请AR/VR专利摘选



映维网
2021年01月22日

)近期美国专利及商标局公布了一批全新的AR/VR专利,以下是映维网的整理(详情请点击专利标题),一共30篇。更多专利披露请访问映维网专利板块
https://patent.nweon.com/
进行检索,你同时可以加入映维网AR/VR专利交流微信群(详见文末)。


1. 《
Magic Leap Patent | Systems and methods for augmented reality(用于增强现实的系统和方法)

专利描述了一种定位用户操作多个感测组件的方法。所述方法包括从固定控制和处理模块发送姿势数据,并在第一感测组件处接收姿势数据,然后基于控制和处理模块将姿态数据转换为坐标系中的第一分量相对姿态。与第一感测组件通信的显示单元利用变换后的相对姿态进行更新。


2. 《
Magic Leap Patent | Dual depth exit pupil expander(双深度出瞳扩张器)

专利描述的光学装置包括波导,所述波导包括配置成将光耦合到波导中的耦入光学元件、配置成接收来自耦入光学元件的光并以选定波长分布光的光分布元件、以及配置成接收来自所述光的耦出光学元件分配元件。所述耦出光学元件包括第一区域和第二区域,所述第一区域配置为基于第一区域的透镜函数在第一深度平面处耦出光,所述第二区域配置为基于第二区域的透镜函数在第二深度平面处耦出光。


3. 《
Facebook Patent | Optical module comprising lens assembly(包含透镜组件的光学模组)

在一个实例中,专利描述的装置包括透镜组件,其包括一个或多个聚合物层,每一层包括透镜部分和延伸部分。专利描述的装置同时包括图像传感器,其位于透镜组件下方并通过粘合层粘合到透镜组件,并且配置成感测穿过一个或多个聚合物层的透镜部分的光聚合物层。


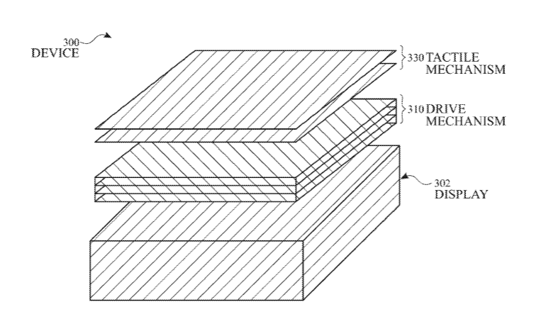
4. 《
Facebook Patent | Membraneless fluidic devices(无膜射流组件)

专利描述的示例装置包括射流组件,例如流体阀。所述射流组件包括由含有流体源、流体排水管和流体闸门的刚体材料形成的主体,每个射流组件可具有与腔室或其一部分的流体连接。所述组件同时可包括位于腔室内的栅极传输元件,所述栅极传输元件利用通过流体排水管接收的栅极压力在至少第一位置和第二位置之间可控。调整闸门传动元件的位置可以控制流经组件的流体。


5. 《
Facebook Patent | Holographic In-Field Illuminator(Facebook专利:全息场内照明器)》

专利描述的
眼动追踪
系统包括全息照明器和检测器。全息照明器包括配置成提供光的光源,以及与光源光学耦合的全息介质。全息介质配置成接收从光源提供的光,并同时向眼睛投射多个独立的光图案。检测器配置成检测从眼睛反射的多个独立光图案的至少一个子集的反射,从而确定眼睛瞳孔的位置。


6. 《
Facebook Patent | Ultrasonic sub-aperture polishing of an optical element(光学元件的超声波子孔径抛光)

超声抛光系统的包括超声致动器和抛光臂。超声致动器配置成产生超声振动,并且抛光臂耦合到超声致动器。抛光臂包括角和抛光球。角具有近端和远端。近端连接以接收超声振动,并且配置为将超声振动从近端传播到远端。抛光球连接到角的远端,其中抛光球响应于用于抛光光学元件表面的超声振动而振动。抛光球配置成在光学元件的表面提供小于光学元件的孔径的抛光区域。


7. 《
Facebook Patent | Augmented-reality game overlays in video communications(视频通信中的增强现实游戏叠加)

在一个实施例中,一种方法包括通过第一用户的客户端系统接收来自第二用户的请求以在通信接口的第一层内发起第一游戏,其中所述通信接口包括若干层,第一层包括第二用户的视频通信,并且通信接口的第一层包括第一用户的视频通信的缩略图;在所述通信接口的第三层中生成第一游戏容器,其中第三层在增强现实叠加中包含所述第一游戏;将所述第二层扩展到通信接口内的全屏视图中;以及将所述第三层显示为叠加在第二层之上的增强现实叠加。


8. 《
Microsoft Patent | Light field camera modules and light field camera module arrays(光场相机模块和光场相机模块阵列)

专利描述了用于获取光场图像数据的技术,所述光场图像数据涉及在光场相机模块处接收与候选虚拟camera位置的范围相对应的拍摄视点数据,基于相机在相机拍摄期间拍摄的第一图像生成第一图像数据,在光场相机模块处获得捕获场景一部分的深度图,由光场相机模块基于图像之间的对应关系从第一图像数据中选择第二图像数据相机的位置,并且经由包括在光场相机模块中的第一通信接口输出相机捕获周期的第一模块图像数据。


9. 《
Microsoft Patent | Real-time feedback for surface reconstruction as a service(用于表面重建的实时反馈)

专利描述了用于改进如何制备表面重建数据并在多个设备之间传递的技术。例如,扫描环境以生成3D扫描数据。然后将3D扫描数据发送到中央处理服务。3D扫描数据构造或以其他方式配置成允许中央处理服务能够使用3D扫描数据生成环境的数字3D表示。从中央处理服务接收降低分辨率的表示数据。这种降低分辨率的表示数据是基于由一个或多个同时扫描相同环境的其他计算机系统生成的3D扫描数据生成。然后,与原始3D扫描数据对应的第一可视化和与降低分辨率的表示数据对应的一个或多个二次可视化同时显示。


10. 《
Microsoft Patent | On-the-fly adjustment of orientation of virtual objects(动态调整虚拟对象的方向)

用于与三维虚拟环境交互的技术包括:接收用于选择第一虚拟对象的第一用户输入;响应于第一用户输入,将第一虚拟对象识别为当前选择的虚拟对象;接收用于激活对象重新定向模式的第二用户输入;响应于第二用户输入激活对象重新定向模式;接收指示手的姿势变化的第三用户输入;在第一虚拟对象保持为当前选择的虚拟对象并且对象重新定向模式保持为活动的同时,接收第四用户输入;识别参考虚拟对象的第一方向;以及响应于接收到第四用户输入,将第一虚拟对象的对象空间方向改变为具有来自不同第二方向的第一方向。


11. 《
Microsoft Patent | Regulating device surface temperature(调节设备表面温度)

专利的示例涉及用于调节设备的表面温度的方法。在一个示例中,一种方法包括确定设备表面的表面温度,确定指示用户经由设备表面接收的累积能量的蓄能器值,以及使用动态温度极限函数来计算作为蓄能器值的函数的温度极限。所述方法同时包括将表面温度与温度极限进行比较。当表面温度未达到温度极限时,方法包括增加蓄能器值。当表面温度达到温度极限时,方法包括发起热缓解动作以冷却表面。


12. 《
Apple Patent | Streaming of volumetric point cloud content based on session description protocols and real time protocols(基于会话描述协议和实时协议的体三维点云内容流式传输)

专利描述用于实时协议(RTP)数据流式传输的过程。一种过程包括生成多个编解码器比特流,每个编解码器比特流配置为携带编码信息,编码信息包括用于体三维视频的占用映射数据、几何体数据或属性数据中的一个。所述过程包括针对所述多个编解码器比特流中的每个编解码器比特流生成专用RTP流,所述专用RTP流包括基于所述RTP流的相应编解码器比特流的RTP净荷格式。所述过程包括将每个专用RTP流复用成用于体三维视频的结果RTP流。


13. 《
Apple Patent | Depth map generation(深度映射生成)

在一个实现中,由包括一个或多个处理器、非暂时存储器和场景摄像头的设备来执行生成深度映射的方法。所述方法包括基于第一图像和第二图像生成第二图像的第一深度映射。所述方法包括基于第二图像的第一深度映射和第二图像的像素值生成第二图像的第二深度映射。


14. 《
Apple Patent | Object tracking for head-mounted devices(用于头戴式设备的对象追踪)

头戴式设备可与另一装置和/或对象一起操作,所述另一装置和/或对象为其收集信息以促进其表示的视觉显示。可以为对象提供指示器,其允许头戴式设备确定对象的身份和特征(如位置、方向、距离等)。附加地或可选地,头戴式设备可以确定连接到对象的电子装置的身份和特征(如位置、方向、距离等),以产生对象的虚拟表示。附加地或可替换地,头戴式设备可从附接到对象的电子装置接收数据,以产生对象的虚拟表示。


15. 《
Apple Patent | Scene camera retargeting(场景摄像头重定目标)

在一个实现中,场景摄像头重定目标的方法由包括一个或多个处理器、非暂时存储器、场景摄像头和显示器的头戴式设备执行。所述方法包括使用场景摄像头捕捉场景的图像。所述方法包括使用一个或多个处理器确定场景的深度。所述方法同时包括使用一个或多个处理器,基于场景摄像头视点和用户视点之间的深度和差异来变换场景的图像。所述方法同时包括在显示器显示变换后的图像。


16. 《
Apple Patent | Haptic interface for user input device(用户输入设备的触觉界面)

专利描述了一种动态可成形的触觉界面,其包括驱动机制、触觉机制和显示器。显示器可以以图像的形式向驱动机制发射光。所发射的光可以激活位于包括在驱动机制中的线圈和显示器之间的多个开关。当多个开关被激活时,可以允许由电源供应的电流通过线圈。通过线圈的电流可以产生磁场。磁场可以共同形成一个磁剖面。磁剖面可导致触觉机制在触觉界面表面呈现形状。触觉机制可以包括磁性组件,例如铁颗粒、磁体和/或磁性销。磁性组件可以基于磁剖面移动,并且可以与一层或多层材料一起呈现形状。


17. 《
Apple Patent | Electronic finger devices with charging and storage systems(具有充电和存储系统的电子手指组件)

指戴组件可以具有配置为从电源接收电力的电力接收电路。电源可以来自于诸如电池盒,头戴式显示器,无线充电垫或无线充电支架等电子组件。指戴组件可以具有铰链结构,从而允许组件各部分相对于彼此旋转。这能够支持指戴组件以U形配置放置于用户手指。指戴组件可以穿戴于用户的任何手指或所有手指。用户可以在操作虚拟现实设备/混合现实设备时利用指戴组件。在操作期间,指戴组件可以采集用户输入,如关于指戴组件与周围环境之间交互的信息。


18. 《
Apple Patent | Electronic Devices With Display Operation Based On Eye Activity(具有基于眼睛活动的显示操作的电子设备)

电子设备可以包含用于显示图像内容的显示器。设备中的头戴式支撑结构用于支撑显示器。所述电子设备可以包含检测眼睛扫视和眨眼的眼睛监视系统。电子设备中的控制电路可以根据与扫视和眨眼相关联的抑制视觉敏感度周期协调显示器操作。通过在抑制视觉敏感度期间对显示电路和图像内容进行调整,可以帮助减少功耗,并改善设备性能。


19. 《
Apple Patent | Display Devices With Multimodal Audio(具有多模式音频的显示设备)

专利描述的头戴式显示系统包括: 与壳体相关联的视觉系统;可连接到壳体的可穿戴支撑件;可枢转地连接到支撑件,并能够在第一位置和第二位置之间移动的音频部件。在第一位置中,音频部件与支撑件大致对准;在第二位置中,音频部件与支撑件大致不对准。从第一位置到第二位置的移动将音频分量从第一模式转变为第二模式。在第一模式中,声音通过与驱动通信的第一端口向用户投射。在第二模式中,声音通过与驱动通信的第二端口向用户投射。


20. 《
Google Patent | Customizing media items for playback on alternative playback devices paired with a user device(定制可在与用户设备配对的其他播放设备上播放的媒体项)

用户设备接收与第二媒体项相关联的第一媒体项。设备确定播放状态指示设备与备选播放设备配对。设备在对所述第二媒体项的请求中发送所述播放状态,并以用于在所述用户设备播放的第一格式,以及用于在所述备选播放设备播放的第二格式接收第二媒体项。设备确定设备的播放状态是否相同。如果用户设备不再与备选播放设备配对,则设备在用户设备以第一格式显示第二媒体项的第一图形表示;如果用户设备依然与备选播放设备配对,则设备在用户设备上以第二格式显示第二媒体项的第二图形。


21. 《
Google Patent | 6-dof tracking using visual cues(使用视觉线索进行六自由度追踪)

专利描述的方法用于从第一追踪系统获得电子设备相对于由摄像头捕获的图像特征的初始三维位置,以及从第二追踪系统获得与电子设备相关联的方向。响应于检测到电子设备的移动,从第二追踪系统获得与电子设备的移动相关联的更新方向,生成查询并向第一追踪系统提供查询。所述查询对应于图像特征的至少一部分,并且包括更新的方向。针对所接收的位置变化的采样数目,生成所述电子设备的更新3D位置,并且使用所述更新3D位置和所述电子设备的更新方向生成六自由度姿态。


22. 《
Google Patent | Illumination effects from luminous inserted content(插入内容的照明效果)

专利描述了用于为插入内容生成照明效果的系统和方法,所述插入内容可以包括看起来发射光并且插入到物理空间中的增强现实内容。内容可以包括多边形网格,多边形网格可以部分地由具有多个关节的骨架来定义。示例可以包括为插入的内容在表面生成边界框、基于内容确定表面上的照明中心点位置、基于边界框和照明中心点位置生成照明实体,以及使用基于照明中心点位置确定的照明值来渲染照明实体。


23. 《
Google Patent | Augmented reality microscope for pathology with overlay of quantitative biomarker data(用于病理学的增强现实显微镜与定量生物标志物数据叠加)

病理学家用于观察载玻片的显微镜类型具有视野增强的投影,如热图、边界或注释,或定量生物标记物数据,当幻灯片移动到新的位置或放大率或焦点发生变化时,投影基本上是实时进行。增强功能有助于病理学家对样本进行定性或分类,例如对癌细胞或病原体的存在呈阳性。


24. 《
Intel Patent | Methods for timed metadata priority rank signaling for point clouds(点云定时元数据优先级等级信令方法)

专利的实施例描述了在与点云内容相关联的定时元数据追踪中发送优先级信息和/或质量信息的信令技术。例如,实施例包括用于在定时元数据轨道中发送优先级信息和/或质量信息的过程,以支持点云内容的视区相关分布。在一个实施例中,定时元数据轨迹的元数据样本可以包括用于点云媒体呈现的点云边界框的优先级信息和/或质量信息。


25. 《
Sony Patent | Information processing device, information processing method, and program(信息处理组件,信息处理方法及程序)

专利描述的技术能够允许设备在最佳位置显示字符串。控制单元控制由与对象相关的文本信息表示的字符串的显示。控制单元基于对象相对于显示区域的位置来确定在显示区域中排列字符串的排列区域。专利描述的技术可以应用于VR显示设备。


26. 《
Sony Patent | Information processing apparatus, information processing method, and recording medium(信息处理设备,信息处理方法和记录介质)

本发明提供了一种信息处理装置、信息处理方法和记录介质,所述信息处理装置能够呈现容易处于连接与距离无关的自然融合状态的对象、信息处理方法和记录介质。在所述信息处理装置中,输出左眼图像和右眼图像,以获取在用户所感知的深度方向上的对象位置信息,将要进行亮度校正的亮度校正区域设置为包括在左眼图像的显示区域中并且与右眼图像的显示区域重叠的第一显示区域中的至少一个,或者包括在右眼图像的显示区域中并且基于位置信息与用于左眼图像的显示区域重叠的第二显示区域。


27. 《
Sony Patent | Information processing apparatus, information processing method, and program(信息处理装置,信息处理方法及程序)

专利描述的一种信息处理设备包括:控制单元,其控制显示设备在彼此相邻且具有相互不同显示定时的第一显示区域和第二显示区域中分别显示第一图像,使得第一图像叠加在用户看到的真实空间之上,并且基于与显示设备相关的位置-姿态信息的变化来控制显示设备变换第一显示区域中的第一图像和第二显示区域中的第一图像。


28. 《
Sony Patent | Shape-refinement of triangular three-dimensional mesh using a modified shape from shading (sfs) scheme(使用改进的shape from shading(sfs)scheme对三角形三维网格进行形状细化)

专利描述的电子装置基于初始三维三角形网格在包括多个正方形网格顶点的图像平面上的正交投影来生成平面二维网格。电子装置基于改进的SFS scheme估计平面2D网格的每个正方形网格顶点的最终网格深度值。修改后的SFS scheme对应于多个正方形网格顶点的每个正方形网格顶点的参考网格图像强度值、初始网格深度值和网格反照率值之间的客观关系。电子装置基于初始三维三角网格和估计的最终网格深度值来估计最终三维三角网格。


29. 《
Sony Patent | Information processing apparatus, information processing method, and program(信息处理装置,信息处理方法及程序)

专利描述的信息处理设备包括获取部分和处理器。获取部分获取关于用户眼睛的眼睛信息。处理器使用第一方法并基于眼睛信息确定第一视线方向,使用与第一方法不同的第二方法并基于眼睛信息确定第二视线方向,然后计算关于第一视线方向的可靠性或第二视线方向的可靠性中的至少一个的可靠性信息,并根据计算出的可靠性信息确定用户的视线方向。


30. 《
Sony Patent | User interaction selection method and apparatus(用户交互选择方法和装置)

专利描述了一种用于将当前用户与随后的游戏会话相匹配的游戏选择系统,其包括一个或多个可操作以向游戏选择系统提供数据的常规游戏控制器、一个或多个经训练以从一个或多个常规游戏控制器接收至少一个子集数据作为第一输入的相关器,以及生成与用户退出游戏会话的可能性相关的最终输出数据,以及修改处理器。修改处理器配置为响应于最终输出数据修改与将当前用户与后续游戏会话匹配相关的参数。

0

  1. This post has no comment yet

发表回复

您的邮箱地址不会被公开。 必填项已用 * 标注