/ Nweon / 0浏览

2021年01月15日美国专利局新申请AR/VR专利摘选



映维网
2021年01月15日

)近期美国专利及商标局公布了一批全新的AR/VR专利,以下是映维网的整理(详情请点击专利标题),一共37篇。更多专利披露请访问映维网专利板块
https://patent.nweon.com/
进行检索,你同时可以加入映维网AR/VR专利交流微信群(详见文末)。


1. 《
Magic Leap Patent | Animating virtual avatar facial movements(动画化虚拟化身的面部动作)

生成动画的系统和方法包括访问对应于对象姿势的图像数据。图像数据可以包括被摄体的面部。根据解算器顺序依次分析图像的子区域来处理图像数据。解算器顺序可以从生物学或解剖学上进行排序,从导致较大规模运动的子区域到导致较小规模运动的子区域。在每个子区域中,所述系统和方法可以执行优化技术以使动画参数与输入图像数据相匹配。在处理完所有子区域之后,可以设置虚拟化身的动画,使其看起来像是被摄体的姿势。


2. 《
Magic Leap Patent | Homography Transformation Matrices Based Temperature Calibration Of A Viewing System(基于单相变换矩阵的查看系统温度校准)

包括多个温度与多个单应变换矩阵的校准集储存在存储组件中,每个相应的应变换矩阵用于相应的温度。为与温度匹配的温度选择单应变换矩阵中的相应一个。根据所选的单应性关系计算几何变化。接收表示本地内容的数据。根据几何变化生成本地内容渲染并将其显示给用户。


3. 《
Magic Leap Patent | Eyeball camera system and methods for display system calibration(眼球摄像系统和显示系统校准方法)

专利描述了在几何、光学性能和/或运动方面模仿人眼的摄像头设计。眼球摄像头采用与人眼相同的角膜和瞳孔几何形状,虹膜和瞳孔配置有多种纹理、颜色或直径选项。眼球摄像头的分辨率设计为与典型的20/20人眼视觉的锐度相匹配,焦距从0到4屈光度。利用眼球摄像头,根据瞳孔位置、注视点等人眼条件,对感知到的虚拟世界和现实世界进行标定和评估。


4. 《
Magic Leap Patent | Real-time preview of connectable objects in a physically-modeled virtual space(在物理建模的虚拟空间中实时预览可连接对象)

虚拟现实、增强现实和/或混合现实系统可允许一个或多个用户将两个或多个可连接对象连接在一起。可连接对象可以是来自用户环境的真实对象、虚拟对象或其组合。预览系统可以是VR、AR和/或MR系统的一部分,并在用户连接可连接对象之前提供可连接对象之间的连接的预览。预览可以包括处于连接状态的可连接对象的表示,以及连接状态是有效还是无效的指示。预览系统可以连续地对可连接对象进行物理建模,同时向VR、AR或MR系统的用户显示连接过程的预览。


5. 《
Magic Leap Patent | Visual aura around field of view(视场周围的视觉光环)

通过可穿戴设备的视场,用户可以感知真实或虚拟对象。专利描述的设备可以显示与用户视场之外的对象相关联的情景信息的视觉光环。视觉光环可以显示在视场的边缘附近,并且可以随着与对象相关联的情景信息的改变而动态地改变,如对象的相对位置和用户的改变。


6. 《
Magic Leap Patent | Methods and systems for augmented reality display with dynamic field of view(包含动态视场的增强现实显示方法和系统)

一种用于向用户眼睛投影图像的动态目镜包括具有输入表面、与输入表面相对的输出表面和外围的波导层。波导层配置成在其中传播光。动态目镜同时包括耦合到波导层外围的至少一部分的机械结构。所述机械结构向波导层外围的至少一部分施加第一机械力,以在波导层的输出表面施加第一表面轮廓,并向波导层外围的至少一部分施加第二机械力,以施加第二表面轮廓。


7. 《
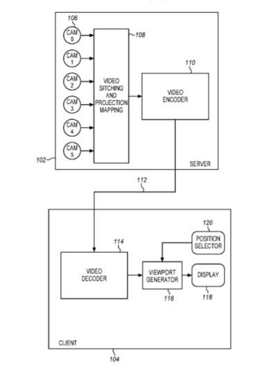
Facebook Patent | Mitigating crosstalk in tissue conduction audio systems(减轻组织传导音频系统中的串扰)

音频系统通过组织传导向用户第一耳的内耳呈现音频内容。系统通过一个或多个传感器监视有关音频内容的数据。一个或多个传感器包括至少一个传感器,所述传感器配置成在用户的第二耳朵捕获关于音频内容的数据。系统估计与数据相关联的阵列传递函数(ATFs),并使用估计的ATFs为换能器阵列生成声音滤波器。系统基于声音过滤器显示调整后的音频内容部分。


8. 《
Facebook Patent | Reducing the planarity variation in a display device(减少显示设备的平面度变化)

专利描述了用于减少显示设备的平面度变化的技术。在一个实施例中,一种方法包括在第一温度下向显示设备的顶面施加第一压力。显示设备包括底板、多个模具、以及底板和多个模具之间的多个可熔互连件。在垂直于底板平面的方向施加第一压力,底板上布置有多个模具。选择第一压力和第一温度以致使多个易熔互连件吸收显示设备顶面的平面度的变化。


9. 《
Facebook Patent | Reconstruction Of Essential Visual Cues In Mixed Reality Applications(混合现实应用中的基本视觉提示重构)

混合现实模拟系统包括主机和头显。混合现实系统使用头显的外置立体摄像头捕获现实世界的立体图像。混合现实系统对立体图像进行预处理以使对比度最大化,然后从图像中提取一组包括边缘或角的特征。对于每个特征,混合现实系统都会生成一个或多个二维折线。然后,混合现实系统在右侧图像中找到的二维折线和左侧图像中找到的相应二维折线进行三角剖分,并生成一组三维折线。混合现实系统在三维折线中包含的三维顶点之间进行插值或对其他三维顶点进行插值,从而生成真实环境的几何重构。混合现实系统可以以快于基于几何重建更新的速度来将真实世界环境纹理映射到几何表示。


10. 《
Facebook Patent | Virtual user interface using a peripheral device in artificial reality environments(允许用户在人造现实环境中使用外设的虚拟用户界面)

专利描述了用于生成允许用户使用物理外设并与之交互的虚拟用户界面的人造现实系统和技术。在一个示例中,人造现实系统包括配置成捕捉图像数据的图像捕捉组件;配置成输出人造现实内容的头显;配置成从图像数据检测外设的用户界面引擎,其中,用户界面引擎配置成生成包括一个或多个虚拟用户界面元素的虚拟用户界面;以及配置成渲染人造现实内容渲染引擎。


11. 《
Facebook Patent | Methods, Devices, And Systems For Displaying A User Interface On A User And Detecting Touch Gestures(用于显示用户界面和检测触控手势的方法,设备和系统)

专利描述了一种识别用户触控手势的示例方法。所述方法包括由第一可穿戴设备的一个或多个换能器接收由第二可穿戴设备发送的一组信号。所述方法同时包括确定第一可穿戴设备和第二可穿戴设备之间创建的信号路径的基线特性,在接收信号集合时感测基线特性的变化,根据变化确定信号路径的特征满足接触标准,然后报告候选触控事件。


12. 《
Facebook Patent | Apodized optical elements for optical artifact reduction(用于减少光学伪影的切趾光学元件)

专利描述的技术用于近眼显示系统。近眼显示器的光学装置的一个示例包括基板,以及共形耦合到基板表面的全息光栅。基板对可见光和红外光透明,并且配置成放置在近眼显示器的用户眼睛前面。全息光栅的折射率调制在基板的表面法线方向上切趾,以减少可见光中的光学伪影。


13. 《
Facebook Patent | Method to reduce diffraction artifacts in a waveguide display and display using the same(减少波导显示器中衍射伪影的方法和使用所述方法的显示器)

专利描述了一种用于增强现实应用并能减少透明衍射伪影的光学装置。所述装置包括配置成产生图像光的投影仪,以及与投影仪光学耦合并配置成将图像光引导到视窗的波导。波导包括配置成将图像光耦合到波导中的耦入元件和配置成将图像光从波导中解耦的耦出元件。所述波导包括至少一个可切换光栅,所述可切换光栅配置成:通过衍射将图像光从波导解耦,并且以低于预定阈值的衍射效率将来自真实环境的光传输到视窗。


14. 《
Facebook Patent | Systems and methods for distributing a neural network across multiple computing devices(在多个计算设备分布神经网络的系统和方法)

专利描述了一种跨多个设备使用神经网络的方法。所述方法可以包括由配置有神经网络的第一设备接收输入数据,以便经由跨第一设备和第二设备实现的神经网络进行处理。所述方法可以包括通过在第一设备上实现的第一个或多个神经网络层输出相对于输入数据减小的数据集,同时识别输入数据的一个或多个特征,以供第二个或多个神经网络层处理。所述方法可包括由所述第一设备将所述数据集经由在第二设备实现的神经网络通信到所述第二设备并进行处理。


15. 《
Facebook Patent | Apodized reflective optical elements for eye-tracking and optical artifact reduction(用于眼动追踪和减少光学伪影的切趾反射光学元件)

专利描述的技术用于近眼显示系统。近眼显示器的光学装置的一个示例包括基板,以及共形耦合到基板表面的全息光栅。基板对可见光和红外光透明,并且配置成放置在近眼显示器的用户眼睛前面。全息光栅的折射率调制在基板的表面法线方向上切趾,以减少可见光中的光学伪影。


16. 《
Facebook Patent | Complementary fluidic logic and memory devices(互补式流体逻辑和存储组件)

流体组件可包括入口、控制输入口、一个或多个输出通道、每个配置为将流体从入口之一输送到一个或多个输出通道之一的入口通道、以及活塞。在一个示例中,每个活塞可包括(1)限制栅极传输元件,其配置成当活塞处于第一位置时抑制其中一个入口通道,以及当活塞处于第二位置时解除抑制其中一个入口通道。(2)其配置成与第一控制压力接合的控制栅极。当力施加到控制栅极时,其将活塞推向第一位置。(3)配置成与第二控制压力接合的附加控制栅极。当力施加到附加控制栅极时,其将活塞推向第二位置。还公开了各种其他相关装置、系统和方法。


17. 《
Microsoft Patent | Semantically tagged virtual and physical objects(语义标记的虚拟和物理对象)

专利描述的头显包括显示组件、摄像头组件、输入组件和处理器。处理器配置成存储与一个或多个语义标记相关联的物理对象和虚拟对象的数据库。处理器同时配置为经由输入组件从用户接收自然语言输入,对自然语言输入执行语义处理,从而确定用户指定的操作,并识别由自然语言输入指示的一个或多个语义标签。处理器同时配置成根据所识别的一个或多个语义标签,选择目标虚拟对象和目标物理对象,基于所述目标物理对象对所述目标虚拟对象执行所确定的用户指定操作,以及在与目标物理对象相关联的物理位置处显示目标虚拟对象。


18. 《
Microsoft Patent | Virtual keyboard engagement(虚拟键盘呈现)

一个示例可以定义与虚拟键盘的键相关联的键体三维,并通过各个键体三维检测用户的手指移动。所述示例可以通过单个键提三位检测与手指运动相关联的参数变化,并根据检测到的参数变化构建潜在的键序列。


19. 《
Microsoft Patent | Photo-Sensing Reflectors For Compact Display Module Assembly(用于紧凑型显示模块组件的光敏反射器)

专利描述的技术通过多用途地使用光电二极管来帮助控制激光器的输出,从而降低基于激光的系统的形状参数。一种反射式光电二极管包括光接收面和反射涂层。光接收面配置成吸收入射光并将其转换成电流。所述反射涂层设置在所述光接收表面之上,并且配置成将所述入射光从所述光接收表面反射出去。


20. 《
Apple Patent | Point Cloud Compression With Multi-Layer Projection(利用多层投影的点云压缩)

专利描述的一种系统包括:编码器,其配置为压缩点云的属性信息和/或空间;和/或解码器,其配置为解压缩点云的压缩属性和/或空间信息。为了压缩属性和/或空间信息,编码器配置为将点云转换为基于图像的表示。另外,解码器配置为根据基于图像的表示来生成解压缩的点云。编码器配置为将点云投影到patch平面以压缩点云,并支持多个分层patch平面。例如,一些点云可以具有深度,并且可以将位于不同深度的点分配给不同的分层patch平面。


21. 《
Apple Patent | Plane Detection Using Semantic Segmentation(利用语义分割进行平面检测)

专利描述的方法包括获取包括多个像素的场景图像。所述方法包括根据场景的图像获取点云,并根据场景图像生成对象分类集合。对象分类集合的每个元素包括分类为场景中的各个对象的多个像素。所述方法包括根据点云和对象分类集合生成平面假设。


22. 《
Apple Patent | Head-mounted electronic display device with lens position sensing(带透镜位置传感的头戴式电子显示设备)

头戴式设备可具有包含为用户显示内容的第一和第二像素阵列的显示器。头戴式设备中的头戴式支撑结构支撑像素阵列。左定位器可用于定位包括左透镜和第一像素阵列的左透镜模块。右定位器可用于定位包括右透镜和第二像素阵列的右透镜模块。当用户佩戴头戴式支撑结构时,诸如接近感测电路之类的感测电路可用于检测左右透镜模块和用户鼻子的相对位置。控制电路可以使用用户的瞳孔间距离信息和来自感测电路的信息来调整左右透镜模块的位置。


23. 《
Apple Patent | Head-Mounted Display For Virtual And Mixed Reality With Inside-Out Positional, User Body And Environment Tracking(支持内向外定位、用户身体及环境追踪的头戴式显示器)

专利描述了一种头戴式显示系统,以及用于为虚拟现实或混合现实执行自动内向外定位,用户身体及环境追踪的相关技术。所述系统利用计算机视觉方法和来自多个传感器的数据融合来实现实时追踪。


24. 《
Google Patent | Traversing photo-augmented information through depth using gesture and ui controlled occlusion planes(使用手势和用户界面控制的遮挡平面来遍历照片增强的信息)

专利描述的方法包括获取与电子设备捕获的场景相关联的深度数据;获取与电子设备预定距离内的多个物理对象相关联的位置数据的;生成配置为在多个物理对象的一部分显示的多个增强现实对象;并生成对应于所述至少一个场景的多个邻近层。其中,各邻近层配置成触发与和各邻近层相关联的AR对象相对应的辅助数据的显示,同时抑制其它AR对象。


25. 《
Intel Patent | Glare and occluded view compensation for automotive and other applications(汽车和其他应用的眩光和遮挡视场补偿)

通常,当显示屏存在眩光时,用户可以通过倾斜或以其他方式移动屏幕,又或改变浏览位置来减轻眩光。但当驾驶汽车时,克服仪表板眩光的选择有限,特别是当你在同一方向行驶很长一段距离时。专利描述的实施例旨在消除这种眩光。其他实施例与混合现实和遮挡区域中的填充有关。


26. 《
Intel Patent | Spherical Rotation For Encoding Wide View Video(用于编码宽视角视频的球形旋转)

一种方法包括接受旋转方向元数据的编码视频,解码视频,提取旋转方向元数据,根据旋转方向元数据旋转解码的视频,生成旋转的解码视频的视图,以及缓冲所生成的视图以供显示。


27. 《
Intel Patent | Apparatus And Method For Non-Uniform Frame Buffer Rasterization(用于非均匀帧缓冲器栅格化的设备和方法)

专利描述了用于非均匀光栅化器的设备和方法。例如,一种设备的一个实施例包括:用于处理图形数据并使用所述图形数据渲染图像的图形处理器;以及确定用于图像不同区域的不同分辨率的非均匀帧缓冲器。帧缓冲器接收多个多边形并根据不同分辨率对多边形进行光栅化 。


28. 《
Intel Patent | Dynamic video encoding and view adaptation in wireless computing environments(无线计算环境中的动态视频编码和视图自适应)

专利描述的装置包括一个或多个处理器,用于追踪与计算设备的移动相关联的数据,评估数据,并将延迟与延迟阈值进行比较。其中,数据指示延迟和与帧相关联的延迟阈值。如果延迟低于第一延迟阈值且大于第二延迟阈值,则所述一个或多个处理器进一步保持当前视频编码速率。如果延迟等于或大于第一延迟阈值,则当前视频编码速率减小。其中,如果延迟低于第二延迟阈值,则当前视频编码速率增大。


29. 《
Intel Patent | Suggested Viewport Indication For Panoramic Video(全景视频的建议视口指示)

生成建议的视口指示,并将其发送以用于全景视频。在一个示例中,一种方法包括:接收包括视口元数据的编码视频;解码视频;提取视口元数据;根据视口元数据生成解码视频的视口;以及缓冲所生成的视口并进行显示。


30. 《
Sony Patent | Information processing apparatus, information processing method, and recording medium(信息处理设备,信息处理方法和记录介质)

专利描述的信息处理设备包括控制单元,其可追踪用户的运动以向用户呈现虚拟空间的图像,并且执行距离控制以增加用户视点和虚拟空间中的边界区域之间的距离,同时输入用户正在靠近边界区域的操作。边界区域固定在虚拟空间中的特定位置。


31. 《
Sony Patent | Display unit, method of manufacturing display unit, and electronic apparatus(显示组件,制造显示组件的方法和电子装置)

显示单元包括多个像素、反射层和辅助电极。多个像素中的每一个按顺序具有第一电极、有机层和第二电极。有机层和第二电极设置在第一电极上。有机层包括发光层。反射层在每个像素周围具有光反射面。辅助电极设置在反射层上,并从光反射面的上端突出。第二电极具有从有机层暴露的部分,并且暴露的部分被第二电极覆盖。


32. 《
Sony Patent | Information processing device, information processing method, and program(信息处理组件,信息处理方法及程序)

专利描述的信息处理组件包括。模式控制单元,其根据播放模式候选来确定播放模式,所述播放模式候选包括依赖于用户的动作来执行输出和播放的用户依赖模式和独立于用户动作来执行输出和播放的用户独立模式。所述信息处理组件同时包括基于播放模式控制图像的输出和播放的输出控制单元。


33. 《
Sony Patent | Information processing apparatus, information processing method, program, and head-mounted display(信息处理设备,信息处理方法,程序和头戴式显示器)

专利描述了一种用于控制显示部分的信息处理设备,所述显示部分配置为能够在通过顺序扫描方法在空间中预设的可显示区域中显示图像。所述信息处理设备包括设置部分和确定部分。设置部分设置可显示区域以保持在空间中的某个位置。确定部分获取关于显示部分的姿态的信息,随着显示部分的姿态的改变计算从显示部分观看的可显示区域的移动方向,并且在与移动方向相反的方向确定显示部分的主扫描方向。


34. 《
Sony Patent | Image processing(图像处理)

专利描述的图像处理方法包括,使用具有相对于三维环境的第一空间分辨率的元素的三维阵列来生成三维环境的初始表示;从初始表示生成距离场DF表示,DF表示包括具有相对于三维环境的第二空间分辨率的距离值的三维阵列;以及对DF表示应用数据压缩处理以生成数据压缩DF表示。


35. 《
Sony Patent | Image display device and display device(图像显示组件和显示组件)

图像显示组件包括光分配元件和光收集元件,光分配元件向其注入从放置在外部的图像形成组件发射的图像,光分配元件配置成将图像分割成多个图像,光收集元件配置成在用户瞳孔收集图像,由光分配元件分割发射的多个图像,并且如果光收集元件的焦距由F.sub.0(单位:mm)表示,并且从光分配元件到光收集元件的光学距离由L.sub.0(单位:mm)表示,则满足L.sub.0=F.sub.0.+-.10。


36. 《
Sony Patent | Picture processing device, picture distribution system, and picture processing method(图片处理设备,图片分发系统和图片处理方法)

专利描述的图像处理设备包括:图像获取部分,其获取关于指示要观看的空间的运动图像的数据;图像提取部分,其从运动图像的帧中提取目标的图像;以及放大控制部分,其使得所提取的目标图像显示在某个与目标相对应的位置。


37. 《
Sony Patent | Control apparatus, control method, and master-slave system(控制装置、控制方法和主从系统)

专利描述的控制装置包括:检测用于操作从设备的主设备是否位于可移动范围限制的检测器;以及基于检测结果控制与从设备控制有关的从设备参数,以及与显示图像有关的图像参数的控制器。

0

  1. This post has no comment yet

发表回复

您的邮箱地址不会被公开。 必填项已用 * 标注