/ Nweon / 0浏览

2021年01月12日美国专利局新申请AR/VR专利摘选



映维网
2021年01月12日

)近期美国专利及商标局公布了一批全新的AR/VR专利,以下是映维网的整理(详情请点击专利标题),一共36篇。更多专利披露请访问映维网专利板块
https://patent.nweon.com/
进行检索,你同时可以加入映维网AR/VR专利交流微信群(详见文末)。


1. 《
Magic Leap Patent | Real time calibration for time-of-flight depth measurement(飞行时间深度测量的实时校准)

专利描述了一种用于确定到目标对象的距离的方法,所述方法包括发射光脉冲以照亮目标对象,并且在感光像素阵列的第一区域中感测从光反馈组件提供的光。反馈光学组件包括预设基准深度。所述方法包括基于像素阵列的第一区域中的感测光来校准飞行时间深度测量参考信息。所述方法同时包括在感光像素阵列的第二区域中感测从目标对象反射的光。目标对象的距离是基于所感测的反射光和校准的飞行时间测量参考信息来确定。


2. 《
Magic Leap Patent | Simple environment solver using planar extraction(使用平面提取的简单环境求解器)

专利描述了一种重建环境的方法。所述方法以较低的处理时间、较低的计算资源和存储空间利用率,为各种XR应用提供了精确的环境三维重建数据。三维重建数据以一种能够在多用户体验的用户之间高效共享的方式构造。所述方法包括获取环境的平面篇端,通过例如过滤和分组平面篇端或用户对平面篇端的特别选择来识别环境的表面,以及基于表面推断环境的角点。角点用于在XR应用程序需要时构建环境的3D表示。


3. 《
Magic Leap Patent | Geometries for mitigating artifacts in see-through pixel arrays(减少透明像素阵列中伪影的几何图形)

专利描述了用于减少由光学透射显示器产生的伪影的调光组件和显示系统。一种系统可以包括基板,基板布置多个电子部件。电子部件可以包括多个像素、多个导体和多个电路模块。多个像素可以布置在二维阵列中,其中每个像素具有与具有至少一个弯曲侧的形状相对应的二维几何结构。所述多个导体可以布置在所述多个像素附近。系统同时可以包括电耦合到多个导体的控制电路。控制电路可以配置成通过多个导体向多个电路模块应用电信号。


4. 《
Facebook Patent | Image Segmentation With Touch Interaction(触控交互的图像分割)

在一个实施例中,一种方法包括检测图像中的一个或多个对象;为每个检测到的对象生成至少一个掩模,其中每个掩模由边界定义;对检测到的对象进行分类;接收与图像相关的手势输入;确定与手势输入相关联的一个或多个位置是否与任何掩模相关,并响应于手势输入提供关于图像的反馈。每个掩模可以包括标识对应检测对象的数据,并且每个掩模的边界可以对应于对应检测对象的周长。所述边界可以将检测对象分割开来。


5. 《
Facebook Patent | Multifocal system using adaptive lenses(使用自适应透镜的多焦系统)

专利描述的装置包括可控制的并能在第一多个光学倍率之间切换的第一透镜组件。第一透镜组件包括多个直接光学耦合透镜。所述装置同时包括可控制的并能在第一多个光学倍率相反的第二多个光学倍率之间切换的第二透镜组件。所述装置同时包括设置在第一自适应透镜组件和第二自适应透镜组件之间的半波片。


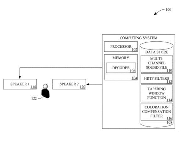
6. 《
Microsoft Patent | Computing system for binaural ambisonics decoding(用于双耳双音解码的计算系统)

专利描述了用于将三维声音信号的球谐(SH)表示解码为双耳声音信号的计算系统。计算系统基于SH表示、基于SH表示的SH编码顺序选择的渐缩窗函数、以及合并渐缩窗函数的色彩补偿滤波器来生成双耳声音信号。计算系统致使双耳声音信号在至少两个扬声器处播放。


7. 《
Microsoft Patent | Latency reduction in remote rendering with adaptive phase shifting(使用自适应相移来减少远程渲染延迟)

从生产者向消费者发送流数据包的一种方法包括:在第一实体处,以第一可消耗分组速率从第一实体向第二实体发送可消耗数据分组。所述方法同时包括从所述第二实体接收第一相位增量,其中所述第一相位增量是根据传输抖动计算,所述传输抖动是根据可消耗数据分组中的定时信息计算。所述方法同时包括以第二可消耗分组速率从第一实体发送可消耗数据分组,第二可消耗分组速率依赖于第一相位增量。


8. 《
Microsoft Patent | Integrated inter-cavity photodetector for laser power and threshold estimation(用于激光功率和阈值估计的集成腔间光电探测器)

一种多段激光装置具有增益部分和集成光电探测器部分。光电探测器部分不是一个单独的部件,而是直接集成到激光器的主体中。集成光电探测器部分吸收由增益部分产生的光子,并产生与多部分激光装置的输出成比例的光电流。测量的光电流可用于计算多段激光装置的功率输出,并确定为获得所需的激光输出而可能需要对激光器进行的任何调整。


9. 《
Microsoft Patent | Automatic Placement And Arrangement Of Content Items In Three-Dimensional Environment(三维环境中的内容项的自动放置和排列)

专利描述了用于自动放置和布置对象的方法和系统。在一个实施例中,一种计算设备配置为在显示器提供用户界面。然后,计算设备可以经由用户界面检测用户输入。响应于检测到的用户输入,计算设备可以将与所选模型相对应的2D或3D内容项的图形表示呈现在显示器。


10. 《
Microsoft Patent | Mixed reality system user interface placement(混合现实系统的用户界面布局)

混合现实显示系统确定由混合现实应用程序和混合现实显示系统的操作系统理解的共享坐标系。操作系统可以在混合现实环境中显示系统用户界面(UI)元素。系统UI元素可以显示在混合现实环境中的某个位置。位置由混合现实应用程序根据共享坐标系指定。系统同时可以指定用于显示系统UI元素的大小和方向。另外,可以通过操作系统的应用程序接口(API)来指定位置、大小和方向。可以每帧进行API调用,以调整混合现实环境的每帧位置、大小或方向。


11. 《
Microsoft Patent | Live cube preview animation(实时立方体预览动画)

如果实现了动画,则渲染虚拟对象和物理对象之间的潜在碰撞。一种方法包括,接收用户输入并选择要设置动画的虚拟对象。所述方法同时包括接收为虚拟对象选择动画路径的用户输入。所述方法同时包括接收将要动画化的虚拟对象和动画路径放置在包括物理对象的环境中的用户输入。所述方法同时包括,在设置虚拟对象的动画之前,以显示虚拟对象与环境中的一个或多个物理对象交互的方式显示虚拟对象和动画路径。


12. 《
Microsoft Patent | Adaptive user interface palette for augmented reality(用于增强现实的自适应用户界面调色板)

专利描述的增强现实装置包括摄像头、增强现实显示器和控制器。增强现实显示器配置成显示真实世界环境和一个或多个虚拟增强。控制器配置成通过确定色调来测量通过增强现实显示器可见,并通过摄像头成像的真实世界环境的显示部分的颜色轮廓。选择用户界面颜色的互补调色板,每个这样的用户界面颜色相对于颜色配置文件中的一种或多种颜色具有至少预定义的色调差异。增强现实特征通过渲染位置处的增强现实显示器,以及来自用户界面颜色的互补调色板的渲染颜色进行可视呈现。


13. 《
Microsoft Patent | Machine-learned depth dealiasing(基于机器学习的深度模糊消除)

专利描述了用于消除包括在红外相位深度图像中的深度模糊的混叠技术。照明器向目标对象发射参考光。其中一些光被反射并被探测到。基于参考光和反射光之间的相位差生成相位图像。相位差表示参考光和反射光重叠正弦周期内的深度变化。相位图像同时包括模糊性,因为相位图像中的多个不同深度共享相同的相位差值,即使这些深度实际上对应于不同的真实世界深度。将相位图像作为输入馈送给机器学习组件,机器学习组件配置成通过为相位图像中的每个像素确定相应的模糊消除间隔来消除模糊度。基于相位图像和由机器学习组件生成的任何模糊消除间隔生成深度图。


14. 《
Microsoft Patent | Real time object surface identification for augmented reality environments(增强现实环境中的实时对象表面识别)

专利描述了如何在增强现实环境中识别对象。更具体地说,专利描述的各种系统和方法描述了增强现实设备如何能够识别真实世界环境中的对象、确定对象所在的位置,并且实时或基本实时地识别对象的各种表面。


15. 《
Microsoft Patent | Virtual dial control(虚拟指针控制)

一种用于增强现实设备的方法包括在虚拟坐标系中显示具有虚拟三维位置的虚拟指针控制。检测人手的第一真实三维位置,并将其转换为相对于虚拟坐标系的第一有效虚拟位置。在第一有效虚拟位置处从人手检测到刻度盘旋转起始手势。追踪人手从第一真实世界三维位置到对应于第二有效虚拟位置的第二真实世界三维位置的运动。在第二有效虚拟位置处检测到刻度盘旋转终止手势。


16. 《
Apple Patent | Guided consumer experience(引导式消费者体验)

在用于提供引导消费者体验的示例性过程中,显示包括产品图像的产品信息。提供与远程用户的通信会话。在提供通信会话的同时,使用从通信会话接收到的信息来调整产品信息的显示。利用使用摄像头捕获图像、通过合成表示产品的虚拟对象和捕获的图像来生成环境的视图、以及显示环境的视图,在计算机生成现实中显示产品的数字表示。


17. 《
Apple Patent | Wearable electronic device having a light field camera(包含光场摄像头的可穿戴式电子设备)

一种认证可穿戴电子设备的用户的方法包括:向靠近用户手腕的前臂背侧发射光;使用光场摄像头接收来自前臂背侧的光的减弱;从光的减弱产生光场图像;对光场图像执行合成聚焦操作,以构建前臂的至少一层的至少一个图像;从所述至少一个图像中提取特征集;确定所述特征集是否匹配参考特征集;以及基于所述匹配对用户进行认证。


18. 《
Apple Patent | Guided retail experience(引导式零售体验)

专利描述了在计算机生成现实环境中实现零售体验的技术。在一些实施例中,所述技术包括:生成计算机生成的现实环境,包括呈现表示产品的虚拟对象;提供与远程用户的通信会话,同时在计算机生成现实环境中呈现表示产品的虚拟对象;并且在提供通信会话的同时,使用所述通信会话来调整表示产品的虚拟对象在计算机生成现实环境中的呈现。


19. 《
Apple Patent | Remote Touch Detection Enabled By Peripheral Device(通过外设实现远程触碰检测)

专利描述了远程触碰检测的技术。在一些示例中,第一电子设备获取关于输入的第一图像数据和第二图像数据,并根据第一图像数据和第二图像数据满足一组或多个准则来执行操作。在一些示例中,第一电子设备通过第二电子设备的红外源发射红外光,获得关于输入的图像数据,并根据图像数据满足一组或多个标准来执行操作。


20. 《
Apple Patent | Point cloud compression with supplemental information messages(包含补充信息消息的点云压缩)

一种系统包括配置为压缩点云的属性信息和/或空间信息的编码器,和/或配置为解压缩点云的压缩属性和/或空间信息的解码器。为了压缩属性和/或空间信息,编码器配置成将点云转换成基于图像的表示。另外,解码器配置为基于点云的基于图像的表示来生成解压缩的点云。另外,编码器配置成发信号和/或解码器配置成接收补充消息,所述补充消息包括将2D图像表示的部分映射到该点中的对象的体三维平铺信息。在一些实施例中,可以使用补充消息或附加补充消息来通知对象的特性。


21. 《
Google Patent | Head mounted display with mechanical scanning(包含机械扫描的头戴式显示器)

头戴式显示器系统包括用于向向眼睛侧发射光的显示器,其允许环境光和发射光到达用户的眼睛。系统同时包括支撑一组发光元件的可旋转基板。每个发光元件朝向系统的世界侧。可旋转反射面位于所述发光元件组的世界侧。反射面将发射的光反射到用户眼睛。耦合到可旋转基板和可旋转反射面的电机围绕公共轴旋转元件,并且显示驱动器在旋转期间根据照明顺序选择性地激活发光元件以提供图像。


22. 《
Google Patent | Depth from motion for augmented reality for handheld user devices(用于手持式用户设备的增强现实运动深度)

手持用户设备包括用于捕捉本地场景的图像馈送的单目摄像头,以及用于从馈送中选择关键帧并使用第一图像、关键帧对来自馈送的第一图像执行立体匹配,以及基于与第一图像相关联的姿势和与关键帧相关联的姿势的相对姿势,生成表示第一图像和关键帧之间的差异的稀疏视差图的处理器。处理器同时使用双边解算器算法从视差图确定密集深度图,并基于深度图对从具有遮挡渲染的馈送的第二图像生成的取景器图像进行处理,以将一个或多个虚拟对象合并到取景器图像中,从而生成AR取景器图像。另外,处理器提供用于显示的AR取景器图像。


23. 《
Qualcomm Patent | Privacy restrictions for audio rendering(音频渲染的隐私限制)

专利描述了一种基于隐私限制处理一个或多个音频流的方法和设备。设备可配置成从在包括一个或多个次声学空间的声学环境中表示的音频元素接收一个或多个音频流,所述一个或多个音频流中的每一个表示相应声场,基于与所述一个或多个音频流相关联的隐私限制来确定所述一个或多个音频流的非限制音频流,基于与所述一个或多个音频流相关联的隐私限制来确定所述一个或多个音频流的限制音频流,生成所述一个或多个音频流的相应声场不受限制的音频流,并限制受限制的音频流的相应的声场的回放。


24. 《
Qualcomm Patent | User interface for controlling audio rendering for extended reality experiences(用于控制音频渲染的扩展现实体验用户界面)

设备可以配置为播放多个音频流中的一个或多个。设备可以包括存储器,其配置成存储多个音频流,每个音频流代表声场。所述设备同时可以包括耦合到所述存储器的一个或多个处理器,所述处理器配置为向用户呈现用户界面,通过所述用户界面从用户获取表示所需收听位置的指示;并且基于所述指示选择所述多个音频流中的至少一个音频流。


25. 《
Qualcomm Patent | Timer-based access for audio streaming and rendering(基于定时器的音频流和渲染访问)

专利描述了基于定时器访问音频流和渲染的示例设备和方法。例如,配置为播放多个音频流中的一个或多个的设备包括,配置为存储定时信息和多个音频流的存储器。设备同时包括耦合到存储器的一个或多个处理器。一个或多个处理器配置成基于定时信息控制对多个音频流中的至少一个的访问。


26. 《
Qualcomm Patent | Adjustment of parameter settings for extended reality experiences(扩展现实体验的参数设置调整)

专利描述了用于确定捕获音频的参数调整的系统和方法。所述系统和方法包括处理电路,所述处理电路配置成访问对应于一个或多个音频流的至少一个能量图。然后,处理电路可以从至少一个能量图确定关于至少一个音频元素的参数调整。参数调整可配置为调整至少一个音频元素对音频的捕获。另外,处理电路可配置成输出指示关于至少一个音频元素的参数调整的指示。


27. 《
Qualcomm Patent | Adapting audio streams for rendering(调整音频流以进行渲染)

包括存储器和一个或多个处理器的设备可配置为执行所述技术。存储器可以存储包括一个或多个子流的多个音频流。一个或多个处理器可以基于所述多个音频流来确定用于所述多个音频流中的所有音频流的所述一个或多个子流的总数,并且当所述子流的总数大于渲染阈值时,调整所述多个音频流以减少所述一个或多个子流的数目,并且获得适配的多个音频流。一个或多个处理器同时可将渲染器应用于经适配的多个音频流以获得一个或多个扬声器馈送,并将一个或多个扬声器馈送输出到一个或多个扬声器。


28. 《
Qualcomm Patent | Content positioning in extended reality systems(扩展现实系统中的内容定位)

专利描述了在扩展现实环境中定位虚拟内容项的方法。例如,可以将虚拟内容项的放置位置发送到第一设备和第二设备中的一个或多个。放置位置可以基于根据从第一设备获得的第一映射数据和从第二设备获得的第二映射数据生成的相关映射数据。在一些示例中,第一设备可以将放置位置发送到第二设备。


29. 《
Qualcomm Patent | Password-based authorization for audio rendering(基于密码的音频渲染认证)

专利描述了一种基于密码的隐私限制来处理一个或多个音频流的方法和设备。设备可配置为基于与密码相关联的隐私限制来接收所述一个或多个音频流的不受限制音频流,其中所述一个或多个音频流来自在包括一个或多个亚声学空间的声学环境中表示的音频元素,所述一个或多个音频流中的每一个表示相应声场,并生成所述不受限制音频流的相应声场。


30. 《
Qualcomm Patent | Audio capture and rendering for extended reality experiences(用于扩展现实体验的音频捕获和渲染)

在一些示例中,配置为播放多个音频流中的一个或多个的内容消费者设备包括存储器,其配置为存储多个音频流和与多个音频流相关联的音频位置信息,并且代表在音频流被播放的声学空间中的音频流坐标捕获或合成,或两者兼而有之。每个音频流都代表一个声场。所述内容消费设备同时包括耦合到所述存储器的一个或多个处理器,所述处理器配置成确定表示内容消费设备在声学空间中的设备坐标的设备位置信息。一个或多个处理器配置成基于设备位置信息和音频位置信息选择多个音频流的子集,并基于多个音频流的子集输出一个或多个扬声器馈送。


31. 《
Qualcomm Patent | Privacy zoning and authorization for audio rendering(音频渲染的隐私分区和授权)

示例性设备包括存储器,其配置为存储多个音频流和针对多个音频流中的每一个的相关授权级别。设备同时包括一个或多个在电路中实现,并可通信地耦合到存储器的处理器。所述一个或多个处理器配置成基于相关联的授权级别来选择所述多个音频流的子集,所述多个音频流的子集排除所述多个音频流中的至少一个。


32. 《
Intel Patent | Dash-based streaming of point cloud content based on recommended viewports(基于推荐视口的点云内容流式传输)

专利描述的各种实施例提供用于分发点云内容的自适应流式传输机制。点云内容可以包括超文本传输协议(DASH)格式的动态自适应流媒体中的沉浸式媒体内容。各种实施例提供了基于DASH的机制,以支持在体三维点云内容的流传输期间的视口指示。


33. 《
Sony Patent | Reception device, reception method, transmission device, and transmission method(接收装置,接收方法,传输装置和传输方法)

利用有效传输的深度信息进行叠加显示时的深度控制容易实现。接收通过对左眼和右眼图片中的每个图片的宽视角图像的图像数据进行编码而获得的视频流,以及包括每个图片的宽视角图像中的预定数量的角度区域的位置信息和代表性深度值的深度元信息。对于通过解码视频流获得的每个左眼和右眼图片,从宽视角图像的图像数据中提取左眼和右眼显示区域图像数据。叠加信息数据叠加在左眼和右眼显示区图像数据以供输出。当在左眼和右眼显示区域图像数据叠加叠加信息数据时,基于深度元信息给出视差。


34. 《
Sony Patent | Information processing apparatus, information processing method, and program(信息处理设备,信息处理方法和程序)

基于与真实空间相关的感测结果来提高虚拟图像的呈现或显示的质量。信息处理设备包括渲染控制单元,其配置成基于与真实空间相关的感测结果在第一渲染频率和高于第一渲染频率的第二渲染频率之间切换虚拟图像的渲染频率。信息处理设备同时包括显示控制单元,其配置成致使显示设备基于感测结果和第一呈现频率或第二呈现频率来显示虚拟图像。


35. 《
Sony Patent | Position estimation apparatus, position estimation method, and program(位置估计装置,位置估计方法及程序)

估计结果存储部分存储追踪器的位置的估计结果。加速度数据获取部分从检测追踪器的加速度的传感器获取加速度数据。估计结果更新部分基于存储在估计结果存储部分中的追踪器位置的估计结果和获取的最新加速度数据来更新估计结果。速度信息获取部分获取追踪器的速度信息。当速度信息获取部分获取速度信息时,估计结果更新部分基于速度信息和获取的最新加速度数据更新存储在估计结果存储部分中的追踪器位置的估计结果。


36. 《
Sony Patent | Information processing apparatus, information processing method, and program(信息处理设备,信息处理方法和程序)

专利描述了一种信息处理装置、信息处理方法和程序,其使得能够提高信息呈现中的可用性。所述信息处理装置包括识别单元,所述识别单元配置为识别用户的注视偏移和头部移动。所述信息处理装置同时包括显示控制器,所述显示控制器配置为根据在注视转向被摄体之后所作的头部移动来控制关于被摄体的信息的显示。

0

  1. This post has no comment yet

发表回复

您的邮箱地址不会被公开。 必填项已用 * 标注