/ Nweon / 0浏览

2020年12月18日美国专利局新申请AR/VR专利报告



映维网
2020年12月18日

)近期美国专利及商标局公布了一批全新的AR/VR专利,以下是映维网的整理(详情请点击专利标题),一共36篇。更多专利披露请访问映维网专利板块
https://patent.nweon.com/
进行检索,你同时可以加入映维网AR/VR专利交流微信群。


1. 《
Magic Leap Patent | Scalable Three-Dimensional Object Recognition In A Cross Reality System(跨现实系统中的可伸缩三维对象识别)

专利描述的方法用于在跨现实系统中识别可伸缩的三维对象。其中一种方法包括维护对象数据;指定场景中已识别的对象;接收场景的输入图像流,包括彩色图像流和深度图像流;提供彩色图像作为对象识别系统的输入;接收识别输出;同步系统为彩色图像确定相应的深度图像;三维边界框生成系统为已在彩色图像中识别的每个对象确定相应的三维边界框;


2. 《
Magic Leap Patent | Variable-Focus Virtual Image Devices Based On Polarization Conversion(基于偏振转换的可变焦虚拟图像组件)

专利描述的显示设备包括波导,其配置成在与波导主表面平行的方向传播全内反射下的可见光。波导在其上形成一个外耦合元件,所述元件配置成在垂直于波导主表面的方向上与可见光的一部分进行耦合。所述显示设备另外包括设置在波导第一侧的偏振选择性陷波反射器,其配置成在发射具有第二偏振的可见光的同时反射具有第一偏振的可见光。显示设备同时包括设置在波导第二侧的陷波反射器,其配置成反射具有第一偏振和第二偏振的可见光。


3. 《
Magic Leap Patent | Methods And Systems For Multi-Element Linkage For Fiber Scanning Display(用于光纤扫描显示器的多元件链接的方法和系统)

专利描述了一种用于扫描电磁成像辐射的多元件纤维扫描仪,其包括基底和第一光纤链路,所述第一光纤链路沿平行于纵轴的方向穿过基底。第一光纤链路可操作地耦合到至少一个电磁辐射源。所述多元件光纤扫描仪同时包括多个附加的连接件,所述附加的连接件连接到所述基座并从所述基座延伸。


4. 《
Magic Leap Patent | Optical Eyepiece Using Single-Sided Patterning Of Grating Couplers(使用光栅耦合器单侧图案化的光学目镜)

专利描述的目镜包括基板和在基板单侧上图案化的耦合光栅。第一光栅耦合器在基板单侧图案化且具有第一光栅图案。第一光栅耦合器与耦合光栅光学耦合。第二光栅耦合器在与第一光栅耦合器相邻的基板单侧上图案化。第二光栅耦合器具有与第一光栅图案不同的第二光栅图案。第二光栅耦合器与耦合光栅光学耦合。


5. 《
Facebook Patent | Compensating For Effects Of Headset On Head Related Transfer Functions(补偿头显对头相关传递函数的影响)

音频系统通过头显麦克风捕捉测试声音的音频数据。测试声音由外部扬声器播放,并且音频数据包括头显相对于外部扬声器的不同方向所捕获的音频数据。一组头相关传递函数(HRTFs)至少部分地根据头显不同方位的测试声音的音频数据进行计算。舍弃HRTF集合的一部分以创建HRTF的中间集合。使用至少一些中间集合来为用户创建个性化的HRTF集合,生成与丢弃部分相对应的一个或多个HRTF。


6. 《
Facebook Patent | Non-Linear Quantization At Pixel Sensor(像素传感器的非线性量化)

在一个实例中,专利描述的装置包括:光电二极管,其响应于具有第一持续时间的曝光周期内的光而产生电荷;电荷传感单元,用于在曝光周期内累积至少一部分电荷;量化器;以及控制器。控制器用于:使用量化器,并且在具有第二持续时间的测量周期内确定在电荷感测单元处累积的电荷的至少一部分的第一数量是否超过阈值,以及第一数量超过阈值所需的时间,其中第一持续时间和第二持续时间可单独编程;并且根据第一数量是否超过阈值,输出表示时间的第一值或第二值,以表示光的强度。


7. 《
Facebook Patent | Imaging Device Based On Lens Assembly With Embedded Filter(基于内置滤光片地透镜组件的成像设备)

专利描述的成像设备用于对成像设备周围的局部区域进行成像。成像设备包括透镜组件、滤光元件和检测器。透镜组件配置成接收来自局部区域的光,并且将光的至少一部分引导到检测器。所述滤光元件放置在透镜组件内的成像器件中,使得光以设计角度范围内入射到滤光元件的表面。探测器配置成捕捉包括局部区域的图像。成像设备可以集成到深度摄像头组件中,并根据捕获图像确定局部区域中的对象的深度信息。


8. 《
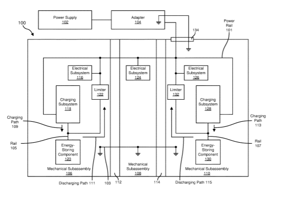
Facebook Patent | Apparatus, Systems, And Methods For Distributed Charging And Discharging(分布式充电和放电装置、系统和方法)

专利描述的装置可以包括电源轨、子组件、附加子组件以及将子组件连接到附加子组件的接口。子组件可以包括负载、储能部件、具有耦合到储能部件的输出端的充电器、以及具有耦合到储能部件的第一端子的反向电流限制器。附加组件可以包括附加的储能部件、具有耦合到附加储能部件的输出端的附加充电器、以及具有耦合到附加储能部件的第一端子的附加反向电流限制器。电源轨可穿过接口并耦合负载、充电器的输入端、反向电流限制器的第二端子、附加充电器的输入端和附加反向电流限制器的第二端子。


9. 《
Facebook Patent | Selectively Bonding Light-Emitting Devices Via A Pulsed Laser(通过脉冲激光选择性键合发光组件)

专利描述的方法用于使用脉冲光子(或EM能量)源(例如但不限于激光器)以电耦合、键合和/或将半导体器件的电触点附接到另一半导体器件的电触点。整排或部分排的发光二极管电耦合、键合和/或附接在显示设备的背板。LED可以是.mu.LED。 采用脉冲光子源对LED进行扫描光子脉冲辐照。电磁辐射被表面、本体、基板、LED的电触点和/或背板的电触点吸收,以产生热能,从而诱导LED电触点和背板的电触点键合。选择光子脉冲的时间和空间分布,以及光子源的脉冲频率和扫描频率来控制不利的热效应。


10. 《
Facebook Patent | Dielectric-Dielectric And Metallization Bonding Via Plasma Activation And Laser-Induced Heating(通过等离子体激活和激光诱导加热实现介电和金属化键合)

专利描述的方法用于使用脉冲光子(或EM能量)源(例如但不限于激光器)以电耦合、键合和/或将半导体器件的电触点附接到另一半导体器件的电触点。整排或部分排的发光二极管电耦合、键合和/或附接在显示设备的背板。LED可以是.mu.LED。 采用脉冲光子源对LED进行扫描光子脉冲辐照。电磁辐射被表面、本体、基板、LED的电触点和/或背板的电触点吸收,以产生热能,从而诱导LED电触点和背板的电触点键合。选择光子脉冲的时间和空间分布,以及光子源的脉冲频率和扫描频率来控制不利的热效应。


11. 《
Facebook Patent | Curing Pre-Applied And Plasma-Etched Underfill Via A Laser(通过激光固化预涂和等离子蚀刻底层填充物)

专利描述的方法用于使用脉冲光子(或EM能量)源(例如但不限于激光器)以电耦合、键合和/或将半导体器件的电触点附接到另一半导体器件的电触点。整排或部分排的发光二极管电耦合、键合和/或附接在显示设备的背板。LED可以是.mu.LED。 采用脉冲光子源对LED进行扫描光子脉冲辐照。电磁辐射被表面、本体、基板、LED的电触点和/或背板的电触点吸收,以产生热能,从而诱导LED电触点和背板的电触点键合。选择光子脉冲的时间和空间分布,以及光子源的脉冲频率和扫描频率来控制不利的热效应。


12. 《
Facebook Patent | Employing Deformable Contacts And Pre-Applied Underfill For Bonding Led Devices Via Lasers(采用可变形触点和预涂底填充物并通过激光键合LED组件)

专利描述的方法用于使用脉冲光子(或EM能量)源(例如但不限于激光器)以电耦合、键合和/或将半导体器件的电触点附接到另一半导体器件的电触点。整排或部分排的发光二极管电耦合、键合和/或附接在显示设备的背板。LED可以是.mu.LEDs。 采用脉冲光子源对LED进行扫描光子脉冲辐照。电磁辐射被表面、本体、基板、LED的电触点和/或背板的电触点吸收,以产生热能,从而诱导LED电触点和背板的电触点键合。选择光子脉冲的时间和空间分布,以及光子源的脉冲频率和扫描频率来控制不利的热效应。


13. 《
Facebook Patent | Curing Pre-Applied And Laser-Ablated Underfill Via A Laser(通过激光固化预涂和激光烧蚀底层填充物)

专利描述的方法用于使用脉冲光子(或EM能量)源(例如但不限于激光器)以电耦合、键合和/或将半导体器件的电触点附接到另一半导体器件的电触点。整排或部分排的发光二极管电耦合、键合和/或附接在显示设备的背板。LED可以是.mu.LED。 采用脉冲光子源对LED进行扫描光子脉冲辐照。电磁辐射被表面、本体、基板、LED的电触点和/或背板的电触点吸收,以产生热能,从而诱导LED电触点和背板的电触点键合。选择光子脉冲的时间和空间分布,以及光子源的脉冲频率和扫描频率来控制不利的热效应。


14. 《
Facebook Patent | Adaptive Synchronization(自适应同步)

专利描述的方法可以包括确定当前帧的帧速率,其中帧速率指示将在显示器显示当前帧的时间量。显示器可以是通电一定时间的背光。所述方法同时可以包括计算当前帧的背光占空比时间。背光占空比时间可包括最小通电时间加上取决于当前帧的帧速率的额外通电时间。所述方法同时可以使用计算出的背光占空比时间来生成用于显示器的驱动信号,并使用生成的驱动信号驱动显示器。


15. 《
Facebook Patent | Dynamic Tiling For Foveated Rendering(用于注视点渲染的动态铺放)

专利描述的方法包括接收
眼动追踪
数据,并使用眼动追踪数据确定显示器的注视位置。所述方法同时可以包括使用注视位置定义第一图块。第一图块可以具有高度和宽度,而高度和宽度是使用眼动追踪跟踪数据确定。所述方法同时可以包括定义多个附加图块来填充整个显示区域。所述方法同时可以包括使用使用第一图块并以第一图像质量提供图像的一部分,以及使用多个附加图块中的至少一个并以第二图像质量提供图像的另一部分。


16. 《
Facebook Patent | Randomized Clock Cycle Lengths For Boot Sequences(用于boot序列的随机时钟周期长度)

专利描述的技术使用随机数发生器来影响时钟波形中的时钟周期长度,时钟波形驱动由处理电路执行的操作的定时。在一个示例中,处理电路包括中央处理单元和时钟发生器。时钟发生器配置为,在接收到用于处理电路的引导命令的指示时,使用真随机数发生器生成随机数,并且至少部分地根据随机数生成指示用于中央处理单元时钟周期的至少长度的输出时钟波形。中央处理单元配置成使用输出时钟波形来执行至少用于处理电路的boot序列。


17. 《
Facebook Patent | Optical System Having An Improved Signal-To-Noise Ratio Of Eye-Tracking(具有优化人眼追踪信噪比的光学系统)

专利描述的光学系统包括:包括至少一个衬底的光栅和耦合到至少一个衬底的光栅结构。光栅结构配置成对入射角在预定范围内的第一光进行衍射。光学系统同时包括偏振镜,偏光器配置成传输经光栅结构衍射的第一光,并阻挡由至少一个衬底的表面反射的第二光。


18. 《
Facebook Patent | Systems And Methods For Optical Demodulation In A Depth-Sensing Device(用于深度感测组件的光解调系统和方法)

专利描述的成像装置包括具有光轴的光学传感器,其定位成将来自场景的光线聚焦至光学传感器的透镜。所述成像装置同时具有可变相位光学元件的矩阵,其尺寸设计成将至少两个不同的相位延迟引入到光信号的波前。所述成像装置同时具有外壳,以及处理子系统。


19. 《
Facebook Patent | Mechanical Eyeball For Animatronic Devices(用于仿人设备的机械眼球)

专利描述的仿人设备包括机械眼球,其配置成围绕第一旋转轴和与固定中心点相交的第二旋转轴旋转。控制器配置成产生眼球运动指令,使得仿人设备围绕第一旋转轴和第二旋转轴中的至少一个旋转机械眼球。根据用于追踪用户眼睛运动的眼动追踪系统来生成眼球运动指令。控制器将被追踪的眼球运动映射到机械眼球的运动,并根据映射生成眼球运动指令。


20. 《
Facebook Patent | Two-Axis Rotatable Mechanical Eyeball(两轴旋转机械眼球)

一种机械眼球包括外罩,其形状类似于人眼表面,并配置成围绕第一旋转轴和与固定中心点相交的第二旋转轴旋转。外罩连接到机械组件,并且机械组件包含在与机械眼球相关联的体积内。机械组件可以包括静止的齿轮系和相对于齿轮系旋转的可旋转部件。所述可旋转部件配置成致使外罩围绕一个或多个旋转轴旋转。所述体积基本上与人眼体积相同。机械组件与一个或多个驱动器耦合,驱动器配置成驱动外罩的旋转。


21. 《
Microsoft Patent | Monitoring And Correction System For Improved Laser Display Systems(用于改进激光显示系统的监控和校正系统)

一种超小型照明模块包括多个照明器、光电探测器和滤色片。每个照明器发射不同的光谱。由于模块的紧凑性和照明器的相对位置,不同的光谱在被光电探测器检测之前彼此重叠。每一个光电探测器与对应的一个照明器相关联,并且每个滤色片与相应的一个光电探测器相关联。每个滤色片位于其对应的照明器和光电探测器之间,通过特定的光谱,同时滤除其他光谱的光。通过这样的方式,每个光电探测器接收经过至少一个滤色片的光谱过滤光。照明器的功率输出同时可以根据光电探测器的输出进行校正。


22. 《
Microsoft Patent | Haptic Controller(触觉控制器)

专利描述了一种触觉控制器。在一个施例中,触觉控制器可以包括旋转地固定到基座上的第一和第二绞盘,以及连接在第一和第二绞盘之间的能量存储机制。触觉控制器同时可以包括固定在第一绞盘的用户接合组件,以及配置成通过控制第一和第二绞盘所经历的旋转摩擦来控制施加在用户接合组件的旋转力的控制组件。


23. 《
Apple Patent | Head-Mounted Display Apparatus For Retaining A Portable Electronic Device With Display(可容纳带有显示屏的便携式电子设备的头戴式显示装置)

专利描述了一种允许用户将手持便携式电子设备与单独的头戴式设备耦合和分离的系统和方法。便携式电子设备可以物理耦合至头显设备。便携式电子设备和头显设备可以彼此通信和操作。可以允许每个设备将其功能和/或服务扩展到另一个设备,以便增强,增加和/或消除头显设备和便携式电子设备之间的冗余功能。


24. 《
Apple Patent | Method And Device For Synchronizing Augmented Reality Coordinate Systems(同步增强现实坐标系的方法和装置)

根据各种实现,由具有非瞬时存储器和一个或多个处理器的第一电子设备执行一种方法。所述方法包括根据特征确定三维空间中的参考位置。所述特征由第二电子设备产生。所述方法包括获取第一电子设备的增强现实坐标系中的第一基准坐标系和第二电子设备的增强现实坐标系中的第二基准坐标系作为基准位置。所述方法包括根据第一参考坐标和第二参考坐标的函数来确定坐标变换。所述方法包括利用坐标变换同步第一电子设备的增强现实坐标系与第二电子设备的增强现实坐标系。


25. 《
Apple Patent | Structural Thermal Solutions For Display Devices(显示设备的结构性热解决方案)

专利描述的显示设备包括系统外壳,系统外壳包括具有通常与包围空腔的第一侧壁和第二侧壁平行地延伸的线性轴的空腔,以及包围在空腔内并沿所述线性轴移动的显示堆叠。显示堆叠包括显示面板和支撑盘,支撑盘配置为支撑显示面板的第一侧,并且将显示面板热耦合至所述第一侧壁,以促进显示面板跨支撑盘进行热传递。显示堆叠包括一个散热片,散热片配置为由显示面板的第二侧面支撑,并且将显示面板热耦合到所述第二侧壁,以促进从显示面板到系统外壳的热传递。


26. 《
Apple Patent | Display System With Localized Optical Adjustments(具有局部光学调节功能的显示系统)

诸如头戴式设备之类的电子设备可以具有为用户显示计算机生成内容的显示器。头戴式设备可以具有光学系统,光学系统将计算机生成内容导向视窗。光学系统可包括空间可寻址可调节光学元件。可调光学元件可以具有第一和第二电极、以及第一和第二电极之间的电可调材料。电可调材料可包括透明导电材料,例如铟锡氧化物。透明导电材料包括分段沟槽图案,其配置为向透明导电材料提供具有电各向异性。触点可耦合至透明导电材料。控制电路可以调整电可调材料以形成空间可寻址光调制器或可调透镜。


27. 《
Apple Patent | Pixel Array Implemented On Photonic Integrated Circuit (Pic)(光子集成电路上实现的像素阵列)

专利描述的光电器件包括基板和至少三个发射器,发射器设置在基板之上并且配置成发射各自的光束。多个波导的输入端和接收端分别与基板的输入端和接收端进行绝热连接。控制电路配置成对每一束光独立地施加时间调制。


28. 《
Google Patent | Providing Multiplayer Augmented Reality Experiences(提供多人增强现实体验)

专利描述了在增强现实环境中提供多人体验的系统和方法。所述方法可以包括,控制第一计算设备和第二计算设备检测与增强现实场景相关联的至少一个平面;从第一计算设备接收场景第一位置的第一选择。 以及场景第二位置的第一选择;生成对应于第一位置的第一参考标记,并生成对应于第二位置的第二参考标记;从第二计算设备接收第一位置的第二选择和第二位置的第二选择;生成参考帧,并将参考帧提供给第一计算设备和第二计算设备,从而在增强现实环境中建立多人体验。


29. 《
Valve Patent | Cluster-Based Sensor Assignment(基于群集的传感器分配)

手持式控制器系统的逻辑可以使用聚类算法来确定触摸传感器阵列的哪个传感器(例如电容垫)分配给用户的各个手指。示例性处理包括接收由手持式控制器的触控传感器阵列的多个传感器生成的数据;生成指示成对传感器之间的相关性的协方差矩阵;至少部分地根据协方差矩阵确定多个特征向量;对应于单个传感器并描述传感器与一个或多个其他传感器的相关性的每个特征向量,使用聚类算法对特征向量进行聚类;并根据将传感器分配给各个手指的控制器配置来配置触控传感器阵列。


30. 《
Sony Patent | Asymmetric Arrangement Of Left And Right Displays To Improve Image Quality For A Stereoscopic Head-Mounted Display (Hmd)(不对称排列左右显示屏以提高立体头戴式显示器的图像质量)

立体VR头显具有左和右显示部分,其中一个显示部分布置为具有变换以提高感知的虚拟图像分辨率,从而提高感知的虚拟图像质量。变换可以包括相对于另一显示部分以水平和垂直偏移显示部分的子像素。通过应用非常小(亚毫米)的偏移以及适当调整的图像数据,两个稍微不同的虚拟图像将在由显示部分建立的双目重叠区域中形成具有增加可感知分辨率的立体图像。


31. 《
Sony Patent | Information Processing Device, Information Processing Method, And Computer Program(信息处理装置、信息处理方法和计算机程序)

专利描述的信息处理装置包括控制单元,控制单元配置为根据第一用户的位置信息和视线信息、第二用户的位置信息和视线信息、以及由第一用户和第二用户共享和观看的三维图像信息的显示位置信息来确定三维图像信息的传输起点。


32. 《
Sony Patent | Foveated Near To Eye Display System Using A Computational Freeform Lens Via Spatial Light Modulation Of A Laser Projected Image Onto An Emissive Film(使用计算式自由形式曲面透镜和将激光投影图像投影到发射膜的空间光调制的注视点近眼显示系统)

投影系统将图像投影到头显的投影表面。通过空间光调制器投射光线,其包含自由形式傅里叶透镜的仅相位图像。所述图像是菲涅耳透镜,X相位光栅,Y相位光栅和径向光栅的组合。所述的自由形式透镜是一种压缩式自由形式透镜,会导致激光投影图像的各部分逐渐缩小。与未调制的激光图像相比,这会减小注视点区域的可感知像素间距。菲涅耳透镜和径向光栅的中心位置可以在X轴和Y轴进行更改,从而根据用户的眼睛运动移动注视点区域。所述系统将包含可变像素间距的“注视点”图像投影至用户,以便提高用户对注视方向的投影表面的视敏度。


33. 《
Sony Patent | Information Processing Apparatus, Information Processing Method, And Storage Medium(信息处理装置、信息处理方法和存储介质)

专利描述的信息处理装置包括:控制部分,控制部分配置成将具有与第二三维模型的形状相对应的预定形状的确定形状模型分配给第二三维模型,所述第二三维模型至少是包括在第一三维模型中的部分三维模型。


34. 《
Sony Patent | Course Profiling And Sharing(轨线分析和分享)

专利描述了用于无人驾驶飞行器(UAV)航线分析的系统和方法。沿第一路线飞行的UAV可以在第一位置捕获多个图像。可以根据由UAV捕获的图像为航线构建简档。所构建的航线简档通过通信网络传输到虚拟现实系统。虚拟现实系统可以根据航线简档生成与航线相对应的虚拟环境,并且第二位置处的第二UAV可以沿虚拟路线飞行。


35. 《
Sony Patent | Head Related Transfer Function (Hrtf) As Biometric Authentication(作为生物特征认证的头部相关传递函数)

头相关传递函数可视为一种生物特征数据,并用于验证HRTF的来源用户。HRTF可用于与诸如视网膜扫描或指纹之类的其它生物测定数据组合,并呈现双因素生物特征认证。为了安全起见,用于身份验证的HRTF是加密的。


36. 《
Sony Patent | Second Screen Virtual Window Into Vr Environment(进入虚拟现实环境的第二屏虚拟窗口)

专利描述了一种查看VR玩家的VR环境的方法。一种方法包括通过手持式设备建立与计算机的连接,计算机执行使用头戴式显示器呈现给VR玩家的VR环境。通过手持式设备的第一摄像头捕捉VR玩家在真实世界空间中的当前位置。通过手持式设备的第二摄像头捕捉观察者的面部位置。所述手持式设备的屏幕配置成呈现VR环境以及在VR环境中交互的VR玩家的至少一部分。手持式设备的当前位置和观察者的面部位置不断地与计算机共享。然后,所述方法从计算机接收VR环境的视频流,视频流包括根据VR玩家在现实世界中的当前位置和观察者对手持式设备屏幕的观看方向而调整的VR玩家的至少一部分。

0

  1. This post has no comment yet

发表回复

您的邮箱地址不会被公开。 必填项已用 * 标注