(
映维网
2020年12月11日
)近期美国专利及商标局公布了一批全新的AR/VR专利,以下是映维网的整理(详情请点击专利标题),一共31篇。更多专利披露请访问映维网专利板块
https://patent.nweon.com/
进行检索,你同时可以加入映维网AR/VR专利交流微信群。
1. 《
Magic Leap Patent | Avatar Facial Expression Representation In Multidimensional Space(多维空间中的虚拟化身面部表情表示)
》
专利描述的系统和方法可用于对多维混合空间中的面部表情进行动画处理。作为另一个示例,所述系统和方法描述了一种过渡系统,其可用于在虚拟化身的面部动态过渡面部表情。作为另一个例子,可以将逼真的物理动作添加到虚拟角色的面部表情中。
2. 《
Magic Leap Patent | Photoreal Character Configurations For Spatial Computing(用于空间计算的照片级角色配置)
》
专利描述了在混合现实环境中显示虚拟角色的系统和方法。在一个实施例中,虚拟角色的视图基于包含主关节和辅助关节的动画rig。动画rig可以是由主关节和辅助关节之间的空间关系所定义的姿态。虚拟角色可以在混合现实环境中移动。在一个实施例中,虚拟角色可以根据与混合现实环境中的元素相关联的兴趣值比较而移动。与运动相关的空间关系变换可以用运动信息来表示。在一个实施例中,从神经网络接收运动信息。
3. 《
Magic Leap Patent | Unfused Pose-Based Drift Correction Of A Fused Pose Of A Totem In A User Interaction System(用户交互系统中基于未融合姿态的漂移校正)
》
专利描述的用户交互系统具有供用户佩戴的头部单元,以及由户握在手中的图腾。融合例程根据EM波和图腾IMU数据的组合在世界帧中生成图腾的融合位置。由于传感器的模型不匹配,融合姿态可能会随时间漂移。未融合姿态确定建模器通常会建立图腾相对于世界帧的未融合姿态。当融合姿态和未姿态姿势之间的差大于预定最大距离时,这表明发生了漂移。
4. 《
Magic Leap Patent | Methods And Systems For Fabrication Of Shaped Fiber Elements Using Laser Ablation(使用激光烧蚀制造成形光纤元件的方法和系统)
》
一种制造可变直径光纤的方法包括提供一种光纤线缆,光纤线缆包括一个包层区域、一个光纤芯和设置在包层区域中的多个牺牲区域,并将激光束聚焦在光纤线缆内部的一系列预定位置。所述方法同时包括创建与预定位置系列相关联的一系列损伤位置,其中损伤位置定义了光纤线缆包层区域中的可变直径轮廓和网格。所述方法同时包括将光纤电缆暴露于蚀刻剂溶液中,优先蚀刻一系列损伤位置,并分离光纤线缆的外围部分以释放直径可变的光纤。
5. 《
Facebook Patent | Hybrid Audio System For Eyewear Devices(用于眼戴设备的混合音频系统)
》
音频系统包括换能器组件,音频传感器和控制器。换能器组件耦合至用户耳朵耳廓之后。换能器组件在一定频率范围内振动耳廓,致使耳廓根据振动指令产生声压波。声学传感器检测用户耳朵入口处的声压波。控制器部分地根据检测到的声压波并动态地调整频率响应模型,使用调整后的频率响应模型来更新振动指令,并将更新的振动指令提供给换能器组件。
6. 《
Facebook Patent | High Dynamic Range Camera Assembly With Augmented Pixels(具有增强像素的高动态范围摄像头组件)
》
专利描述了用于生成高动态范围图像的摄像头组件。所述摄像头组件包括对局部区域的一部分成像的传感器,及控制器。传感器包括多个增强像素,每个增强像素具有多个栅极,并且至少一些栅极具有各自的本地存储位置。每个增强像素的曝光间隔划分为与栅极相关联的间隔,并且每个本地存储位置在各自的间隔期间存储图像数据。在每个增强像素的曝光间隔之后,控制器读出本地存储位置中的图像数据,以形成每个具有动态范围的中间图像。控制器然后使用中间图像为局部区域的部分生成图像,所述图像具有比每个中间图像更高的动态范围。
7. 《
Facebook Patent | Corner-Identifiying Gesture-Driven User Interface Element Gating For Artificial Reality Systems(成角度手指识别驱动的用户界面元素选通)
》
专利描述了一种人造现实系统,它能够在人造现实环境中渲染、呈现和控制用户界面元素,并且响应于用户的一个或多个检测手势来执行动作。所述人造现实系统包括图像采集组件、头戴式显示器、手势检测器、用户界面引擎和渲染引擎。图像捕获组件捕获表示物理环境的图像数据。头戴式显示器输出人造现实内容。手势检测器从图像数据中识别手势,手势包括至少在阈值时间段内基本静止的手的配置,并且手势的位置使得食指和拇指形成近似直角。用户界面引擎生成一个用户界面元素来响应所识别的手势。渲染引擎将用户界面元素呈现为对人造现实内容的叠加。
8. 《
Facebook Patent | Audio Profile For Personalized Audio Enhancement(用于个性化音频增强的音频配置文件)
》
系统创建音频配置文件。音频配置文件可以存储在数据库中。例如,音频简档可以安全地存储在
社交
网络的数据库中,并与用户帐户相关联。音频配置文件可以包含描述特定用户听到和解释声音方式的数据。向用户呈现声音的系统和应用程序可以访问音频配置文件,并根据音频配置文件中的数据修改呈现给用户的声音,从而增强用户的音频体验。
9. 《
Facebook Patent | Detecting Input In Artificial Reality Systems Based On A Pinch And Pull Gesture(人造现实系统根据捏拉手势检测输入)
》
专利描述的技术用于识别用户手部与用户界面元素的交互,并且响应于这种交互,触发图形用户界面元素的呈现。在一个示例中,用户可以通过手势或动作来与用户界面元素交互,所述手势或动作可以包括将一只手的两个手指放形成捏合配置,随后,当手处于捏合配置时,手和/或手指可以执行后续后拉动作。在一个示例中,图形用户界面元素的的呈现触发或选通可以响应于识别或检测用户在控制物理手写笔时执行的特定动作或移动。
10. 《
Facebook Patent | Arm Gaze-Driven User Interface Element Gating For Artificial Reality Systems(手臂注视驱动的用户界面元素选通)
》
专利描述了一种人造现实系统,它能够在人造现实环境中渲染、呈现和控制用户界面元素,并且响应于用户的一个或多个检测手势来执行动作。所述人造现实系统包括图像采集组件、头戴式显示器、手势检测器、用户界面引擎和渲染引擎。图像捕获组件捕获表示物理环境的图像数据。头戴式显示器输出人造现实内容。手势检测器配置成从图像数据中识别手势,所述手势包括手腕的配置,所述手腕至少在阈值时间段内基本上处于静止状态,并且其位置使得来自手腕的法线朝向头显。用户界面引擎配置为生成一个用户界面元素以响应所识别的手势。渲染引擎渲染叠加在手腕图像上的用户界面元素。
11. 《
Facebook Patent | Artificial Reality System Having A Digit-Mapped Self-Haptic Input Method(具有手指映射自触式输入法的人造现实系统)
》
专利描述了一种人造现实系统,它能够在人造现实环境中渲染、呈现和控制用户界面元素,并且响应于用户的一个或多个检测手势来执行动作。人造现实系统捕捉代表物理环境的图像数据并输出人工现实内容。人造现实系统从图像数据中识别包含第一个手指和第二个手指运动的手势,以在阈值时间量内形成特定次数的捏合配置。所述人造现实系统将一个或多个输入字符分配给多个手指中的一个或多个,并且响应于所识别的手势处理字符选择。
12. 《
Facebook Patent | Artificial Reality System Having A Sliding Menu(具有滑动菜单的人造现实系统)
》
专利描述了一种人造现实系统,它能够在人造现实环境中渲染、呈现和控制用户界面元素,并且响应于用户的一个或多个检测手势来执行动作。人造现实系统可以包括一个菜单,并可以用一只手进行激活和交互。为了响应于使用一只手执行的菜单激活手势,人造现实系统可以致使菜单呈现。手的菜单滑动手势可用于使可滑动可接合用户界面元素沿着菜单的水平维度移动,而用户界面菜单的水平位置保持恒定。与菜单滑动手势垂直的手部运动(如非水平运动)可致使菜单重新定位。
13. 《
Facebook Patent | Artificial Reality System Having A Self-Haptic Virtual Keyboard(具有自触式虚拟键盘的人造现实系统)
》
专利描述了一种人造现实系统,它能够在人造现实环境中渲染、呈现和控制用户界面元素,并且响应于用户的一个或多个检测手势来执行动作。所述人造现实系统捕获表示物理环境的图像数据,将人造现实内容和具有多个虚拟键的虚拟键盘呈现为叠加在所述人造现实内容之上,并且输出所述人造现实内容和所述虚拟键盘。人造现实系统从图像数据中识别出一个手势,所述手势包括与一根手指和另一根手指的接触,其中接触点对应于虚拟键盘的多个虚拟键的第一虚拟键的位置。响应所识别的手势,人造现实系统处理第一个虚拟键的选择。
14. 《
Facebook Patent | Artificial Reality Systems With Personal Assistant Element For Gating User Interface Elements(通过个人辅助元件控制用户界面元素)
》
专利描述了一种人造现实系统,它能够在人造现实环境中渲染、呈现和控制用户界面元素,并且响应于用户的一个或多个检测手势来执行动作。所述人造现实系统包括图像采集组件、头戴式显示器、手势检测器、用户界面引擎和渲染引擎。图像捕获组件捕获表示物理环境的图像数据。头戴式显示器输出人造现实内容。手势检测器从图像数据中识别手势,所述手势包括两根或多根手指的抓握动作,并在与辅助元件相对应的位置形成抓握配置。在所述抓握动作之后,形成一个投掷运动。响应于识别手势,用户界面引擎生成一个用户界面元素。
15. 《
Facebook Patent | Drive Schemes For Transparent Tunable Optical Elements(透明可调光学元件驱动方案)
》
专利描述的透明光学元件包括主电极;与所述主电极的至少一部分重叠的次电极;设置在主电极和次电极之间并与其邻接的电活性层;以及可操作地耦合到主电极和次电极中的至少一个,并且用于提供驱动信号以驱动透明光学元件的控制系统。
16. 《
Facebook Patent | Optical Element For Reducing Stray Infrared Light(用于减少杂散光的光学元件)
》
用于头戴式显示器的光学元件包括照明层、光学合路器和光学透明层。照明层配置成向光学元件的迎向侧发射红外光。光学合路器配置成接收由用户眼睛反射的反射红外光,并将反射红外光指向红外摄像头。光学透明层设置在照明层和光学元件的迎向侧之间。光学元件同时可以包括限制层和红外提取器中的一个或两个。所述限制层设置在所述光学透明层的表面,以诱导在光学透明层内传播的受限红外光的波导。红外提取器设置在光学透明层的侧边,以吸收或阻挡受限的红外光。
17. 《
Facebook Patent | Optically Transparent Actuator(光学透明致动器)
》
电活性陶瓷可并入透明光学元件中,它的平均晶粒尺寸小于200 nm,相对密度至少为99%,且在可见光谱内的透过率至少为50%。在保持至少20pC/N的d.sub.33值的同时,电活性陶瓷的光学特性(包括透射率、雾度和清晰度)在光学元件的驱动和随之向电活性陶瓷层施加电压的过程中可以基本保持不变。
18. 《
Microsoft Patent | Haptic Rendering(触觉渲染)
》
专利描述了与触觉渲染相关的示例。一个公开示例提供了一种触觉再现设备,其包括显示出自主行为的图案化层和配置为移动图案化层的多个致动器。每个致动器可单独控制以协同改变二维图案层的曲率。
19. 《
Apple Patent | Method And Device For Generating A Synthesized Reality Reconstruction Of Flat Video Content(根据平面视频内容生成合成现实重构的方法和设备)
》
在一个实现中,所述方法包括:识别与视频内容的一部分相关联的场景中的第一情节;合成场景描述,所述场景描述对应于第一情节执行者在场景相关设置中的轨迹以及由第一情节执行者执行的动作;根据场景的场景描述,通过驱动与第一情节执行者相关联的第一数字资源来生成场景的相应合成现实重建。
20. 《
Apple Patent | Device, Method, And Graphical User Interface For Composing Cgr Files(用于组成计算机生成现实文件的设备、方法和图形用户界面)
》
在一个实施例中,生成计算机生成现实(VGR)文件的方法包括:通过一个或多个输入设备接收生成计算机生成现实场景的用户输入;与CGR场景中的锚相关联的用户输入;将一个或多个CGR对象与CGR场景相关联的用户输入,其中CGR对象将与锚相关联地显示;以及将行为与CGR场景关联的用户输入,其中行为包括一个或多个触发器和动作,其中动作是响应于检测到任何触发器而执行。所述方法包括生成包括关于CGR场景数据的CGR文件,包括关于锚、CGR对象和行为的数据的CGR文件。
21. 《
Apple Patent | Augmented Reality Maps(增强现实地图)
》
手持式通信设备可以捕获并显示实时视频流。手持式通信设备检测手持式通信设备的地理位置和摄像头方向。识别从手持式通信设备的地理位置到感兴趣目标的路径。捕获到的视频流通过指示到感兴趣目标的方向的指示符进行视觉增强。所述指示器叠加在捕获的实时视频流之上。
22. 《
Google Patent | Systems And Methods For Monitoring A User’S Eye(监控用户眼睛的系统和方法)
》
专利描述了可在可穿戴设备中实现的系统。所述系统的设计允许用户编辑使用可穿戴设备拍摄的媒体图像。所述系统利用
眼动追踪
数据来控制各种编辑功能,无论是在捕获之前、捕获期间还是在捕获之后。专利同时描述了用于确定用户或观众可能更感兴趣的媒体图像部分或区域的方法。所述方法利用人眼追踪数据为捕获的媒体分配显著性。在所述系统和所述方法中,眼动追踪数据可与来自附加传感器的数据组合以增强操作。
23. 《
Qualcomm Patent | Model Retrieval For Objects In Images Using Field Descriptors(使用字段描述符对图像中的对象进行模型检索)
》
专利描述的基数用于表示一个或多个对象的一个或多个三维模型。例如,可以获得包括一个或多个对象的输入图像。根据输入图像,可以为一个或多个对象的每个对象生成位置字段。可以为一个或多个对象的每个对象确定位置场描述符,并且可以将一个或多个位置场描述符与多个三维模型的多个位置场描述符进行比较。三维模型可以从多个三维模型中进行选择。基于将对象位置场描述符与用于多个三维模型的多个位置场描述符进行比较,可以为对象选择三维模型。
24. 《
Sony Patent | Information Processing Device, Information Processing Method, And Program(信息处理设备,信息处理方法及程序)
》
专利描述的信息处理设备包括虚拟对象控制单元,虚拟对象控制单元生成控制参数,控制参数基于指示第一真实对象姿态的第一姿态信息来控制对应于第一真实对象的第一虚拟对象,并基于指示第二真实对象姿态的第二姿态信息来控制对应于第二真实对象的第二虚拟对象。信息处理设备同时包括确定第一虚拟对象和第二虚拟对象之间的接触的确定单元。虚拟对象控制单元进一步基于确定的结果生成控制参数。
25. 《
Sony Patent | Digital Model Repair System And Method(数字模型修复系统和方法)
》
一种数字模型修复方法包括:提供目标对象的点云数字模型作为输入到训练生成对抗网络“GAN”的生成网络,输入点云包括被一个或多个原因二错误地扰动的多个点,并且由GAN的生成网络生成一种输出点云。在所述输出点云中,多个点中的一些或全部错误扰动已被减少;其中,GAN的生成网络使用由一个或多个原因二错误地扰动的多个点组成的输入点云进行训练,并且训练GAN的鉴别器以区分点云包括被一个或多个原因错误地扰动的多个点和基本上没有这种扰动的点云。
26. 《
Sony Patent | Display Of Information Related To Audio Content Based On Ambient Lighting Conditions(基于环境光照条件显示与音频内容相关的信息)
》
专利描述的头戴式装置包括第一图像捕捉组件、透明显示器和电路。第一图像捕获组件捕捉用户视线(LOS)中的场景的图像。电路接收与音频内容相对应的音频段。电路确定捕获图像的背景部分和前景部分的每个图像特征的电平。电路估计透明显示器的显示部分的第一区域,并用于显示与接收到的音频段相关联的文本信息。电路根据所估计的第一区域和每个图像特征的确定的电平,从文本信息的一组显示特征中确定每个显示特征的电平。电路控制在透明显示器的显示部分显示文本信息。
27. 《
Sony Patent | Display Control Apparatus, Display Control Method, And Display Control Program(显示控制装置,显示控制方法及显示控制程序)
》
专利描述了一种显示控制装置,包括产生要在头显显示的虚拟空间图像的图像生成部分;致使头显显示虚拟空间图像的显示控制部分;以及选择显示位置的位置选择部件。当位置选择部分接受来自用户的位置选择指令时,位置选择部分致使头显在所述位置显示输入组件的图像。
28. 《
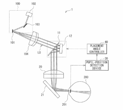
Sony Patent | Image Display Apparatus(图像显示装置)
》
专利描述的图像显示装置包括发射图像光的图像光发生器;图像光要进入的第一反射元件;向第一反射元件反射经由第一反射元件进入的影像光,从而使得影像光重新进入第一反射元件的第二反射元件;将重新进入第一反射元件的图像光向用户瞳孔位置会聚的聚光光学系统;以及基于瞳孔位置控制第一反射元件、第二反射元件的放置角度的控制器。
29. 《
Sony Patent | Pro Gaming Ar Visor And Method For Parsing Context Specific Hud Content From A Video Stream(用于从视频流中解析特定于情景的平视显示内容)》
》
专利描述了一种能够渲染增强现实内容的可穿戴设备。AR可穿戴设备的主要目的是从视频流或视频游戏中解析并选择性地显示所需的平视显示内容。AR可穿戴设备允许用户在显示器的一个或多个指定部分配置和显示各种内容。
30. 《
Intel Patent | Volumetric Video Visibility Encoding Mechanism(体三维视频可视性编码机制)
》
专利描述了一种便于对视点相关视频的可见性数据进行编码的装置。所述装置包括一个或多个处理器,用于接收包括多个图像和与多个摄像头中的摄像头参数的点云数据,以及为点云数据中的每个点编码一个或多个可见性描述符,从而提供在摄像头参数指示的多个摄像头视图的每个点的可见性信息。
31. 《
Intel Patent | Method And System Of Point Cloud Registration For Image Processing(图像处理的点云配准方法与系统)
》
点云配准可用于匹配从摄像头阵列中的多个摄像头或围绕被捕获场景移动的单个摄像头的多个捕获图像中的对象的相同点。然后,点云配准可以用于校正。校正是为了将来自多个摄像头(或来自一个摄像头的多个图像)的图像转换成一个公共平面,从而简化特征匹配过程。结果是,多幅图像现在都是从相同的视角或角度观看,这样图像就可以放置在同一个公共平面之上。本专利主要描述了使用重叠区域进行图像处理的点云配准系统和方法。
0