/ Nweon / 0浏览

2020年10月23日美国专利局新申请AR/VR专利报告



映维网
2020年10月23日

)近期美国专利及商标局公布了一批全新的AR/VR专利,以下是映维网的整理(详情请点击专利标题),一共33篇。更多专利披露请访问映维网专利板块
https://patent.nweon.com/
进行检索,你同时可以加入映维网AR/VR专利交流微信群。


1. 《
Magic Leap Patent | Light Projector Using An Acousto-Optical Control Device(采用声光控制组件的光线投影仪)

专利描述了通过声光深度开关来实现投射光线的方法。其中,沿着基板产生的表面声波用于将图像光引导到不同区域。可以使用换能器在基板产生表面声波。不同频率的表面声波可以将图像光引导至不同物理位置的不同光学元件。光学元件可以配置为在远离用户的图像中显示对象。


2. 《
Magic Leap Patent | Identifying Input For Speech Recognition Engine(识别语音识别引擎的输入)

专利描述了一种向语音识别引擎呈现信号的方法。在一个示例中,从用户接收音频信号。识别音频信号的一部分。其中,所述部分具有第一时间和第二时间。识别音频信号部分中的暂停,所述暂停包括第二时间。确定暂停是否指示音频信号的发声完成。根据暂停指示话语完成的判定,将音频信号的部分呈现为语音识别引擎的输入。根据暂停不指示话语完成的判定,音频信号的部分不作为输入呈现给语音识别引擎。


3. 《
Magic Leap Patent | Relocalization Systems And Methods(再定位系统和方法)

专利描述了一种确定图像捕获设备的姿态的方法。所述方法包括使用图像捕获设备捕获图像。所述方法同时包括生成与捕获图像相对应的数据结构。所述方法同时包括将数据结构与多个已知数据结构进行比较,以识别最相似的已知数据结构。所述方法同时包括读取与最相似的已知数据结构相对应的元数据,以确定图像捕获设备的姿势。


4. 《
Magic Leap Patent | Augmented Reality Display Device With Deep Learning Sensors(包含深度学习传感器的增强现实显示设备)

头戴式增强现实设备可以包括硬件处理器,所述硬件处理器编程为从多个传感器接收不同类型的传感器数据,如惯性测量单元,前置摄像头,深度感测摄像头,眼睛成像摄像头或麦克风;并利用不同类型的传感器数据和神经网络来确定多个事件中的事件,如面部识别,视觉搜索,手势识别,语义分割,对象检测,照明检测和重定位。


5. 《
Magic Leap Patent | Augmented Reality System With Spatialized Audio Tied To User Manipulated Virtual Object(包含与用户操纵的虚拟对象相关联的空间音频的增强现实系统)

增强现实系统包括左、右透明目镜。目镜用于将图像调制光耦合到用户的眼睛。所述系统同时包括左右扬声器和用于用户空间操作虚拟对象的组件。所述系统产生空间音频,音频具有固定到用户操纵的一个或多个虚拟对象的虚拟声源位置。


6. 《
Magic Leap Patent | Method and system for integration of electronic sensors with thermal cooling system(用于电子传感器集成的方法与系统,前者包含散热系统)

发明所述的系统包括可耦合至一个或多个用户界面组件的计算设备,以及用于为计算设备散热的散热系统。系统同时包括接近传感器,接近传感器定位在热通风口附近并配置为根据检测到热通风口附近的物体而设置一个接近标记。系统同时包括方向传感器,方向传感器耦合到计算设备并配置为根据检测到计算设备的方向而设置方向标记。系统同时包括可耦合到接近传感器、方位传感器、以及一个或多个用户界面组件的处理器。处理器配置为根据设置的接近标志或方向标志而提供通过一个或多个用户接口组件输出的警报。


7. 《
Magic Leap Patent | Beam Angle Sensor In Virtual/Augmented Reality System(虚拟现实/增强现实系统的光束角度传感器)

专利描述的虚拟图像生成系统包括:配置为生成准直光束的投影子系统;配置为响应准直光束发射光线并向最终用户显示图像帧像素的显示器的显示器。所述虚拟图像生成系统同时包括:配置为感测光线发射角度的传感组件;配置为生成定义像素位置的图像数据,并根据像素的定义位置和感测到的参数控制光束发射角度的控制子系统。


8. 《
Facebook Patent | Individualization Of Head Related Transfer Function Templates For Presentation Of Audio Content(首用于音频内容展示的头相关传递函数模板的个性化)

专利描述了一种生成个性化HRTF的系统。所述系统包括一个服务器和一个音频系统。服务器部分根据用户的声学特征数据(如图像数据、人体测量特征等)和模板HRTF来确定个性化HRTF。服务器为音频系统提供个性化的HRTF。音频系统使用个性化HRTF向用户呈现空间音频内容。


9. 《
Facebook Patent | Remote Inference Of Sound Frequencies For Determination Of Head-Related Transfer Functions For A User Of A Headset(用于确定头显用户的头相关传递函数的声音频率远程推断)

专利描述的头显包括一个框架和一个音频系统。音频系统包括位于框架的麦克风组件。麦克风组件配置为检测从音频源发射的音频信号,其中,在检测区域检测到的音频信号介于用户耳道处的声压波的阈值相似度范围内。音频系统同时包括一种音频控制器,其配置为部分根据所检测的音频信号确定一组头相关传输函数。


10. 《
Facebook Patent | Providing Semantic-Augmented Artificial-Reality Experience(提供语义增强的人造现实体验)

在一个实施例中,一种方法包括访问真实世界区域的数字地图,其中数字地图包括与真实世界区域内的一个或多个三维对象相对应的一个或多个三维网格;为数字地图中的锚接收包括标识符的对象查询;根据标识符和相对于锚的位置信息来确定数字地图中的位置;确定与定向投影相交的三维网格;识别与三维网格相关联的元数据;并将元数据发送到第二计算设备。


11. 《
Facebook Patent | Keep-Out Zone For In-Field Light Sources Of A Head Mounted Display(头显场内光源的阻进区)

专利涉及头显近眼光学元件的照明层。照明层包括多个场内光源和一个阻进区。所述场内光源配置成发射红外光以照亮用户的眼睛,以便通过
眼动追踪
摄像头对眼睛进行成像。所述阻进区包括当眼睛处于中心方向时与眼睛中心对准的中心,其中所述场内光源布置在所述阻进区外部的照明层内。


12. 《
Facebook Patent | Images With Swift-Eye Movement(包含快速眼动的图像)

头显向用户提供显示光。显示光到达瞳孔并入射到用户的视网膜,因此用户可以感知包括在显示光中的图像。由于瞳孔相对较小,所以即使眼睛移动,设备都必须将显示光指向瞳孔。在一个实施例中,图像渲染到头显的显示器。确认快速的眼球运动。响应于识别快速的眼球运动,将补偿图像渲染到辅助显示器。


13. 《
Facebook Patent | Reflective Polarizer For Augmented Reality And Virtual Reality Display(用于增强现实和虚拟现实显示器的反射偏光器)

头显包括具有第一光学表面和与第一光学表面相对的第二光学表面的第一反射偏振器。所述第一反射偏振器的第一光学表面弯曲,并且所述第一反射偏振器配置成反射具有第一偏振的光。所述头显同时包括第一电子显示器,所述第一电子显示器配置成向所述第一反射偏振器投射光图案。光图案的至少一部分被第一反射偏振器反射。将来自第一电子显示器的光图案定向到第一反射偏振器,并将所述光图案的至少一部分反射到用户的眼睛。


14. 《
Facebook Patent | Active Control Of In-Field Light Sources Of A Head Mounted Display(头显场内光源的有源控制)

一种用于主动控制场内光源的方法包括接收头显用户的眼睛图像。其中,响应于由多个场内光源发射的红外光,由眼动追踪摄像头捕捉图像。所述方法同时包括根据来自眼睛图像的信息选择性地禁用至少一个场内光源。


15. 《
Facebook Patent | Gratings With Variable Depths Formed Using Planarization For Waveguide Displays(使用平面化技术形成的具有可变深度的光栅)

用于制造具有可变折射率的自对准光栅元件的制造系统包括图案形成系统,沉积系统和蚀刻系统。 所述制造系统执行一种或多种光致抗蚀剂的光刻图案化,从而在基板形成堆叠。制造系统在保护涂层执行具有第一折射率的第一光刻胶的沉积。制造系统执行第一光致抗蚀剂的去除以达到第一厚度的阈值。制造系统在第一光刻胶执行具有第二折射率的第二光刻胶的沉积。第二折射率大于第一折射率。 该制造系统执行第二光致抗蚀剂的去除以达到第二厚度的阈值。


16. 《
Facebook Patent | Reducing Demolding Stress At Edges Of Gratings In Nanoimprint Lithography(减少纳米压印光刻中光栅边缘的脱模应力)

纳米结构包括位于纳米结构边缘的外部区域。由与纳米结构边缘的距离定义的外部区域的宽度小于100μm。纳米结构的深度在纳米结构最大深度的0%和至少50%之间逐渐变化。一种方法包括在基板上形成蚀刻掩模,并使用蚀刻掩模和离子束蚀刻基板以在基板中形成纳米结构。蚀刻掩模包括靠近蚀刻掩模边缘的外部区域。由与蚀刻掩模边缘的距离定义的外部区域的宽度小于100μm。外部区域中蚀刻掩模的占空比在至少10%和至少90%之间逐渐变化。


17. 《
Microsoft Patent | Image Display Using Rotated Frame Of Reference(使用旋转参照系的图像显示)

专利描述了一种显示装置和用于显示装置的示例。在一个示例中,经由显示设备显示图像的方法包括接收原始参考帧,确定显示设备的旋转方向,以及基于旋转方向将原始参考帧修改为旋转的参考帧。所述方法同时包括在旋转的参考帧处描述虚拟世界的采样数据,从而产生中间图像帧,通过将中间图像帧反向旋转到原始参考帧来生成最终图像帧,并通过显示设备显示最终图像帧。


18. 《
Microsoft Patent | Blending Virtual Environments With Situated Physical Reality(将虚拟环境与物理现实相结合)

专利描述了各种用于追踪用户物理环境的实施例。实施例可通过将检测到的物理对象的虚拟表示合成到虚拟环境来促进虚拟漫游。耦合到头显的计算设备可以选择根据用户物理环境生成的深度映射,以生成与所选部分相对应的虚拟对象。计算设备可以将生成的虚拟对象组合到现有的虚拟环境中,这样用户可以在保持感知物理环境的同时遍历虚拟环境。计算设备同时可以采用多种混合技术进行合成,并进一步提供图像透视技术,这样用户久可以在充分沉浸于虚拟现实中的同时选择性地查看物理环境。


19. 《
Microsoft Patent | 2d Obstacle Boundary Detection(二维障碍物边界检测)

专利描述了在混合真实场景中动态生成和渲染对象边界围栏的技术。首先访问稀疏空间映射。稀疏空间映射有益地包括描述对象边缘周长的周长边缘数据。生成重力矢量。根据周长边缘数据和重力矢量,确定目标的二维边界,生成环境的边界栅栏网格。然后渲染一个虚拟对象,其中虚拟对象代表边界围栏网格的至少一部分,并以视觉方式呈现边界围栏。


20. 《
Microsoft Patent | Object And Environment Tracking Via Shared Sensor(通过共享传感器追踪目标和环境)

在一个实施例中,头显配置成控制手持式对象的多个光源并获取包括一系列环境追踪曝光的图像数据。通过环境追踪曝光检测周围环境的一个或多个特征,根据检测到的一个或多个特征来确定头显的姿态,通过手持式对象追踪曝光检测手持式对象,根据检测到的多个光源确定手持式对象相对于头显的姿态,然后输出手持式对象的姿态。


21. 《
Microsoft Patent | Mixed Pixel Unwrapping Error Mitigation By Filtering Optimization(通过滤波优化缓解混合像素展开错误)

专利描述了改进光学追踪信号的系统和方法。系统接收输入信号,输入信号基于包含从两个或多个真实对象反射的光的反射光信号。输入信号包括表示从第一真实对象反射的光的第一区域,表示从第二真实对象反射的光的第二区域,以及第一区域和第二区域之间的过渡区域。输入信号包括第一区域、第二区域或过渡区域中的至少一个的抖动。系统同时执行锐化操作以锐化过渡区域。


22. 《
Apple Patent | Product Comparison Techniques(产品比较技术)

专利描述了提供产品信息的技术。在一个或多个图像传感器的视场内检测第一产品和第二产品的外观。然后检测第一产品或第二产品相对于彼此的移动。如果第一产品或第二产品相对于另一产品的移动导致第一产品在第二产品的阈值距离内,则比较信息显示在第一产品和第二产品之间的位置。


23. 《
Apple Patent | Stylus-Based Input System For A Head-Mounted Device(用于头戴式设备并基于触控笔的输入系统)

专利描述的一种追踪系统包括一个含有发光器的触控笔、一个含有配置成检测发光器的光学传感器的头戴式设备、以及一个处理器。处理器可通信地耦合到光学传感器,并配置成根据发光器的检测来确定触控笔的位置。


24. 《
Apple Patent | Optical Arrangements Including Fresnel Lens Elements(包括菲涅耳透镜元件的光学布置)

专利描述了一种光学透镜装置,其包括第一菲涅耳透镜元件和第二透镜元件。第二透镜元件与第一菲涅耳透镜的刻面表面侧对接。 第二透镜元件可以是:第二菲涅耳透镜元件,单透镜元件,双合透镜元件及其任意组合。第一菲涅耳透镜相对于用户眼睛属于近侧,并且第二透镜元件相对于用户眼睛属于远侧。


25. 《
Google Patent | Electronically Controlling Optical Transmission Of A Lens Of A Camera In Variable Lighting(在可变照明条件对摄像头透镜的透光性进行电子控制)

专利描述了控制摄像头透镜的透光性的方法、系统和设备。一种方法包括响应于确定第一图像不满足图像要求,从摄像头获得第一图像;确定第一图像不满足图像要求,增加摄像头透镜的光学传输;并且,当透镜的透光性增加时,用摄像头获得第二图像。


26. 《
Google Patent | Radio Enhanced Augmented Reality And Virtual Reality With Truly Wireless Earbuds(通过真无线耳机提升无线广播的增强现实和虚拟现实)

这项技术涉及一对耳塞。例如,第一耳塞可以包括第一天线,并且第二耳塞可以包括第二天线。所述耳塞同时可包括一个或多个处理器,其配置成从第一天线接收来自信标的第一信号,并从第二天线接收来自信标的第二信号。基于第一信号和第二信号,一个或多个处理器可以确定至少一个信号强度。一个或多个处理器可以基于至少一个信号强度来确定用户相对于信标的位置。


27. 《
Qualcomm Patent | In Situ Creation Of Planar Natural Feature Targets(平面自然特征目标的原位创建)

专利描述了一种用于原位创建平面自然特征目标的系统、设备和方法。在一个实施例中,从单个第一参考图像初始化平面目标,处理一个或多个后续图像。在一个实施例中,在处理一个或多个后续图像时以六个自由度追踪平面目标,并且从处理的一个或多个后续图像中选择第二参考图像。在一个实施例中,在选择第二参考图像时,将平面目标细化为更精确的平面目标。


28. 《
Sony Patent | Information Processing Device And Image Generation Method(信息处理设备和图形生成方法)

图像获取单元以单色获取用户定位在背景前面的图像。眼睛注视信息确定单元确定用户的眼睛方向和视点位置,并为显示控制单元提供眼睛方向和视点位置。显示控制单元执行色度键合成,使得图像中包括的对象可相对于背景图像成为前景图像,从而根据用户的视点位置生成显示图像。显示控制单元确定对象的方向,使得在视点位置已经改变的情况下,对象可以朝向用户的视点位置。


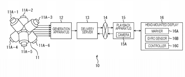
29. 《
Sony Patent | Playback Apparatus And Method, And Generation Apparatus And Method(播放装置和方法,以及生成装置和方法)

专利描述了一种播放装置和方法,以及能够在防止
晕动症
发生的同时进行图像放大/缩小显示的生成装置和方法。在选择了全向图像放大/缩小的情况下,播放装置包括生成用于放大/缩小3D模型的顶点数据转换器。例如,本发明可以应用于播放装置等,所述播放装置根据观看者/听者的视线方向生成透视投影全向图像。


30. 《
Sony Patent | Information Processing Apparatus, Information Processing Method, And Program(信息处理装置,信息处理方法及程序)

专利描述的信息处理装置连接到具有可在规定移动范围内被按下的按钮的装置。所述装置能够在按钮被按下时检测推入位置,针对按钮的按压力呈现阻力,并且确定指示所述阻力大小的控制信息。确定标准包括所述按压动作的次数、超过最大推入位置和按下操作持续时间中的至少一个。


31. 《
Sony Patent | Head Mounted Displays (Hmds) With Front Facing Cameras For Transitioning Between Non-Transparent Modes And Transparent Modes(通过前置摄像头在非透明模式和透明模式之间转换的头显)

专利描述了在头显屏幕呈现的内容的系统和方法。一种方法包括执行内容以在屏幕呈现交互式场景,并当用户头部穿戴头显且交互场景正在屏幕上呈现时追踪头显的方向。所述方法包括根据头显方向的改变将观看方向改变为交互场景,使得用户头部的移动导致观看方向的改变并进入交互场景。所述方法同时包括使用头显摄像头接收真实世界空间的图像。摄像头配置成捕捉现实世界中的对象相对于用户的位置。所述方法包括检测到至少一个真实世界对象正在变得接近用户,并生成要呈现给用户的警告或消息,所述警告或消息指示用户可能会碰撞或接触至少一个真实世界对象。所述方法包括将屏幕的至少一部分转换为透明模式。透明模式使用摄像头提供至少一个对现实世界空间的局部视图。


32. 《
Sony Patent | Asynchronous Virtual Reality Interactions(异步虚拟现实交互)

专利描述的方法包括:记录从执行游戏第一会话产生的游戏元数据,其中第一会话的执行由第一用户使用第一头显驱动;将游戏元数据发送到客户端设备;追踪第二头显的运动;客户端设备使用游戏元数据执行游戏第二会话以重建游戏事件,其中第二会话的执行基于第二头显的追踪运动。


33. 《
Intel Patent | Apparatus And Method For Foveated Rendering, Bin Comparison And Tbimr Memory-Backed Storage For Virtual Reality Implementations(用于虚拟现实实现的注视点渲染、Bin比较和Tbimr内存支持存储的设备和方法)

虚拟现实装置的一个实施例包括:包括多个图形处理级的图形处理引擎,用于在头显左右显示器呈现多个图像帧的图形处理引擎;以及注视点控制硬件逻辑。注视点控制硬件逻辑根据从眼动追踪模块接收到的反馈独立地控制多个图形处理级中的两个或多个。

0

  1. This post has no comment yet

发表回复

您的邮箱地址不会被公开。 必填项已用 * 标注