/ Nweon / 0浏览

2020年10月16日美国专利局新申请AR/VR专利报告



映维网
2020年10月16日

)近期美国专利及商标局公布了一批全新的AR/VR专利,以下是映维网的整理(详情请点击专利标题),一共24篇。更多专利披露请访问映维网专利板块
https://patent.nweon.com/
进行检索,你同时可以加入映维网AR/VR专利交流微信群。


1. 《
Magic Leap Patent | Interactions With 3d Virtual Objects Using Poses And Multiple-Dof Controllers(通过姿势和多自由度控制器与3D虚拟对象交互)

专利描述的可穿戴系统可包括:配置为在三维空间中呈现虚拟内容的显示系统;配置为接收用户输入的用户输入设备;以及配置为检测用户姿势的一个或多个传感器。可穿戴系统可以基于情景信息支持用户与环境对象进行各种用户交互。作为一个示例,可穿戴系统可以根据情景信息在锥形投射期间调整虚拟圆锥形的孔径大小。作为另一示例,可穿戴系统可以根据情景信息来调整与用户输入设备驱动相关联的虚拟对象移动量。


2. 《
Magic Leap Patent | Sensor Fusion For Electromagnetic Tracking(用于电磁追踪的传感器融合)

头戴式增强现实设备可以追踪用户头部姿态或手持式用户输入设备的姿态,从而允许用户在三维AR环境中进行交互。用户输入设备中的姿势传感器(如惯性测量单元)可以提供关于用户输入设备的姿态数据(如位置或方向)。电磁追踪系统同样可以提供姿态数据。如手持式用户输入设备可以包括产生电磁场的电磁发射器,并且头戴式AR设备可以包括感测电磁场的电磁传感器。AR设备可以将姿态传感器的输出与电磁追踪系统相结合,从而减少用户输入设备的估计姿态误差,或者将姿态转换为AR设备使用的世界坐标系。


3. 《
Magic Leap Patent | Method And System For High Resolution Digitized Display(用于高分辨率数字化显示器的方法与系统)

专利描述了一种用于提高动态数字化波前分辨率(即输出光束密度)的方法和系统。所述方法可包括接收单个准直源光束,以及当光线从从波导耦出时产生多个输出光束偏移。通过偏移和复制准直光源光束,可以获得多个输出光束。或者,可以使用包含在特定颜色的标称波长附近具有不同波长的多个输入光束的准直入射源光束,从而获得多个输出光束。准直的入射光源光束可以耦入到为标称波长设计的目镜中。包含多波长的输入光束在波导中进行全内反射时采用多个通道,并产生多个输出光束。


4. 《
Magic Leap Patent | Virtual And Augmented Reality Systems And Methods(虚拟现实和增强现实系统与方法)

专利描述的成像系统包括配置成产生光束的光源。所述系统同时包括具有各自第一和第二进光部分的第一和第二导光光学元件,第一和第二导光光学元件配置成通过全内反射来传播光束的第一和第二部分。所述系统同时包括具有进光部分、第一出光部分和第二出光部分的光分配器。光分配器配置成将光束的第一部分和第二部分分别朝向第一和第二进光部分。光分配器入光部分和第一出光部分沿着第一轴对齐。光分配器入光部分和第二出光部分沿着与第一轴不同的第二轴对齐。


5. 《
Facebook Patent | Spacer For Surface Mountable Electronic Components(表面贴装电子元件垫片)

专利描述了一种允许表面贴装组件(SMD)以更大自由度贴装到PCB的垫片。所述垫片设计成可表面贴装到PCB,并且包括具有朝向所述SMD的第一表面、朝向所述PCB的第二表面、以及在非导电体中具有通孔和/或凹痕以容纳在SMD和PCB之间提供电连接的电导体的不导电体。


6. 《
Facebook Patent | Test Architecture For Light Emitting Diode Arrays(发光二极管阵列测试架构)

专利描述的方法用于产生多个第一偏置电流以驱动多个LED的多个电流源,以及用于在第一测试循环期间获得LED的多个第一电压测量的多个测量电路。电流源可配置为产生用于驱动LED的多个第二偏置电流,并且测量电路可配置为在第二个测试循环期间获得多个LED的多个第二电压测量值。存储器装置配置成存储作为电流-电压(I-V)性能特性的第一和第二偏置电流与第一和第二电压测量值。


7. 《
Facebook Patent | Acoustic Transfer Function Personalization Using Sound Scene Analysis And Beamforming(使用声场分析和波束形成实现声学传输函数个性化)

可穿戴设备的音频系统动态更新声学传输函数。所述音频系统配置成相对于本可穿戴设备的位置来估计由麦克风阵列检测到的每个声源的到达方向(DoA)。音频系统可以追踪每个声源的运动。音频系统可以在每个声源方向形成光束。音频系统可以根据声源属性来识别和分类每个声源。根据DoA估计、声源运动追踪和波束形成,音频系统生成或更新声源的声音传递函数。


8. 《
Facebook Patent | Resolution Reduction Of Color Channels Of Display Devices(降低显示设备的颜色通道的分辨率)

显示设备可以具有多个光发射阵列。每个阵列可以包括多个发射某种颜色光的发光器。与其他阵列相比,一个或多个阵列可能具有降低的空间分辨率,因为具有降低分辨率的阵列中的发光器的大小可能大于其他发光器。显示设备可以包括一个或多个波导,其能够在空间区域重叠光线以聚合不同颜色的发光器所发射的光线,从而形成图像。所述显示设备可以包括图像处理单元,所述图像处理单元应用抗锯齿滤波器以减少因一个或多个颜色通道中的分辨率降低而被用户感知的任何视觉伪影。抗混叠滤波器可以包括卷积不同颜色的输入颜色值的卷积核,并且可以组合颜色的输出颜色值的卷积结果。


9. 《
Facebook Patent | Resolution Reduction Of Color Channels Of Display Devices(降低显示设备的颜色通道的分辨率)

显示设备可以具有多个光发射阵列。每个阵列可以包括多个发射某种颜色光的发光器。与其他阵列相比,一个或多个阵列可能具有降低的空间分辨率,因为具有降低分辨率的阵列中的发光器的大小可能大于其他发光器。显示设备可以包括一个或多个波导,其能够在空间区域重叠光线以聚合不同颜色的发光器所发射的光线,从而形成图像。所述显示设备可以包括图像处理单元,所述图像处理单元应用抗锯齿滤波器以减少因一个或多个颜色通道中的分辨率降低而被用户感知的任何视觉伪影。抗混叠滤波器可以包括卷积不同颜色的输入颜色值的卷积核,并且可以组合颜色的输出颜色值的卷积结果。


10. 《
Facebook Patent | Three-Dimensional Modeling Volume For Rendering Images(用于渲染图像的三维建模卷)

在一个实施例中,一种方法包括访问对象的多个图片,通过使用机器学习框架处理图片数量来构造用于对象的三维建模的建模卷。其中,建模卷与颜色和不透明度信息相关联。使用建模卷从视点渲染对象的图像,其中,图像的每个像素是通过从视点投影虚拟光线并通过建模卷来实现渲染,从而确定虚拟光线相交的建模卷中的一个或多个区域数量,然后根据与一个或多个区域相关联的颜色和不透明度信息的累积来确定像素的颜色和不透明度。


11. 《
Facebook Patent | Broadband And Wide Viewing Angle Waveplate Having Pi-Cell(带Pi-Cell的宽带宽视角波片)

专利描述了一种光波片。所述光波片包括包括第一液晶(LC)层的正C膜。液晶分子的倾斜角沿第一液晶层的厚度方向变化。光波片同时包括布置在正C膜第一侧的LC单元,并且包括以光学补偿弯曲模式排列的第二LC层。所述光波片同时包括设置在所述正C膜第二侧的正A膜。光波片同时包括设置在正A膜和正C膜之间的负双轴延迟膜。LC单元可在至少两个预定状态之间切换。


12. 《
Facebook Patent | Liquid Crystal Cells For Polarization Rotation(用于偏振旋转的液晶单元)

专利描述了一种包含堆叠液晶结构的光学元件,所述结构用于在宽波长和入射角范围内旋转入射圆偏振光的偏振。叠层液晶结构具有双单元结构,其中至少包括第一液晶单元和第二液晶单元,叠层液晶结构使偏振光在给定视场上旋转。所设计的双液晶单元结构的性能可以针对窄带波长和窄入射角进行优化,从而支持不同的用例。


13. 《
Microsoft Patent | Wire Bonded Common Electrical Connection In A Piezoelectric Micro-Electro-Mechanical System Scanning Mirror Assembly(压电微机电系统扫描镜组件中的线合普通电连接)

压电MEMS扫描镜系统的致动器框架和基板之间建立电气连接,从而在致动器框架和基板之间形成机械连接。在致动器框架和基板之间形成一种结构键合。在完全键合后,可通过以下一种或两种方式形成单独的电连接:1.在致动器框架上涂上一层涂层,所述涂层致使致动器框架的表面可进行线合,并在致动器框架和基板之间形成线合;2.在致动器框架和基板之间的机械连接的外缘沉积导电材料,并且在导电迹线上施加最终保护层,从而保护迹线免受机械或环境损伤。


14. 《
Apple Patent | Keyboard Operation With Head-Mounted Device(穿戴头显时的键盘操作)

可以通过头戴式设备的功能来增强键盘、另一输入设备和/或任何表面的操作。头戴式设备可以根据用户的动作显示反馈、输出或其他功能。例如,头戴式设备可以显示由用户操作键盘而生成的文本。文本可以以一种允许用户轻松看到键盘、用户双手和通过键盘操作生成文本的方式进行显示。头戴式设备可以进一步显示成方便用户操作键盘的功能。例如,可以显示建议文本或与键盘键相关的其他功能,从而显示供用户选择。在另一个示例中,键盘可以显示在符合头戴式设备用户操作的范围内布置的位置和方向。


15. 《
Apple Patent | Glint-Assisted Gaze Tracker(采用闪烁辅助的注视追踪器)

专利描述了用于VR/AR头显,并采用闪光辅助的注视追踪方法和装置。可以分析由注视追踪摄像头捕捉到的用户眼睛图像,并检测闪烁(光源照射用户眼睛角膜的反射)和瞳孔。闪烁与特定的光源相匹配。利用闪烁光源匹配确定眼睛的角膜中心,然后确定瞳孔中心。利用角膜中心和瞳孔中心重建眼睛光轴,然后利用光轴和用户眼睛的三维模型重建视觉轴。接下来,根据视觉轴和头显的三维模型确定位于显示器的注视点。


16. 《
Sony Patent | Audio Generation System And Method(音频生成系统和方法)

专利描述了一种根据输入音轨生成音频内容的系统。所述输入音轨包括与一个或多个声源相对应的音频,所述系统包括音频输入单元,所述音频输入单元可将所述输入音轨输入到一个或多个模型中。其中,每个模型代表一个或多个声源。所述系统同时包括一个利用所述一个或多个模型生成音频的音频生成单元。所述一个或多个音轨各自包含对应声源的音频贡献表示。


17. 《
Sony Patent | Virtual Reality Enhanced Through Browser Connections(通过浏览器连接增强虚拟现实)》

专利描述的系统和方法可允许访问者访问虚拟宇宙中的不同位置的不同作者所创作的VR表示。多个数据集可以存储在存储器中。每个VR数据集可以定义一个位置的VR表示,并且可以由不同的作者独立地创作。另外,每个VR数据集可以具有速度和质量度量,从而帮助访问者获得优化的体验。一个或多个VR数据服务器可以访问和发送各种质量与速度的VR数据集。域服务器可以访问和发送域数据,所述域数据包括每个VR表示在虚拟宇宙内的位置,和与VR表示相关联的网络地址。另外,客户端主机可以与域服务器通信并接收域数据,同时与VR数据服务器通信并访问VR数据。


18. 《
Sony Patent | Image Processing Device, Image Processing Method, And Program(图像处理设备,图像处理方法及程序)

物体自然地移动,同时抑制因移动对象和固定对象之间的接触而产生的振动。图像处理设备获得第一对象的至少一个点朝给定方向的移动,当第二对象与第一对象接触,并且其与第一对象的反作用力方向形成的角度落在预定范围内时,抑制第一对象的至少一个点的移动,并且所述第二对象的运动限制在虚拟空间中。根据至少一个点的被抑制运动来计算第一对象的运动,并且根据计算的运动绘制包括所述第一对象的图像。


19. 《
Sony Patent | Image Processing Device, Image Providing Server, Image Display Method, And Image Provision Method(图像处理设备,图像提供服务器,图像显示方法及图像提供方法)

专利描述的图像处理设备包括接收与显示图像有关的用户操作的输入信息获取部分,以及当前者接收到用户操作后相应地显示图像的图像显示部分。图像显示部分同时使用图标显示选中建筑物的楼层号,并且当输入信息获取部分接收到选择另一楼层的操作时更改图标显示。


20. 《
Sony Patent | Privacy Chat Trigger Using Mutual Eye Contact(使用相互目光接触触发隐私聊天)

玩家之间的目光接触用于在增强现实或虚拟现实设置中建立私人聊天频道。由于保持目光接触需要双方的同意,所以在进行相互操作时,这允许两个玩家进行同等程度的控制。
眼动追踪
可用于确定是否双方已经建立了相互的眼神交流。一旦确认双方已接案例眼神交流,系统将建立隐私聊天通道。


21. 《
Intel Patent | Pre-Stitching Tuning Automation For Panoramic Vr Applications(用于全景VR应用的预拼合调谐自动化)

专利描述的方法和系统可识别对应于第一只眼睛的一对图像之间的拼合区域,并确定所述拼合区域与对应于第二只眼睛的参考图像中心线处的参考区域之间的视差。专利描述的方法和系统同时可以根据视差自动调整与图像对和参考图像相关联的摄像头传感器的一个或多个预拼合参数。


22. 《
Intel Patent | Viewport Indication During Streaming Of Volumetric Point Cloud Content(体三维点云内容流式传输期间的视区指示)

专利的实施例描述了一种接收设备向发送设备指示视口信息,从而说明点云视频内容的关注区域的机制。例如,接收设备可以发送包括视区信息的实时传输控制协议(RTCP)反馈消息。视口信息包括感兴趣区域的参考点指示。接收设备可以从发送设备接收基于视区信息的感兴趣区域的点云视频。


23. 《
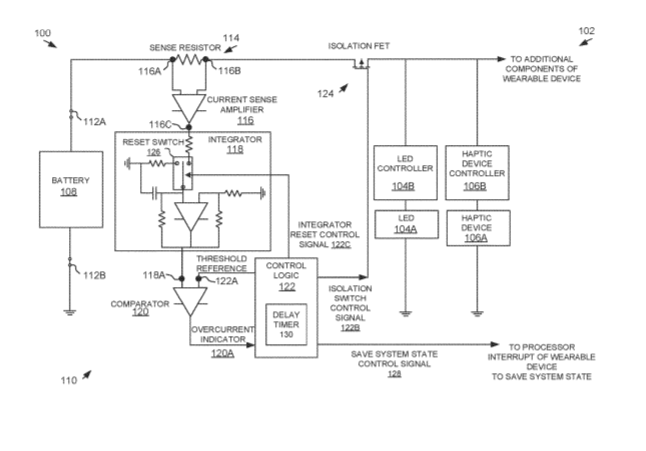
Intel Patent | Methods And Apparatus For Battery Current Monitoring(电池电流监测方法与装置)

专利描述了用于电池电流监测的方法和装置。一种示例性装置包括触觉装置、用于从电池向触觉装置输送功率的隔离开关、根据从电池到触觉装置的电流将信号积分以产生积分器输出的积分器、以及根据积分器输出与触觉装置的比较来控制隔离开关的控制逻辑门。


24. 《
Nvidia Patent | Prescription Augmented Reality Display(包含视力参数镜片的增强现实显示器)

在一个实施例中,一种增强现实显示器包括供用户使用的视力参数镜片。在一个实施例中,从显示器生成图像并引导到视力参数透镜的边缘,并且透镜充当波导。所述图像在视力参数镜片内进行内反射,并且由嵌入至视力参数镜片中的图像合并器定向到用户。在一个实施例中,增强现实显示器可以针对一系列常见的视觉问题进行调整,包括近视、远视和散光。

0

  1. This post has no comment yet

发表回复

您的邮箱地址不会被公开。 必填项已用 * 标注