/ Nweon / 0浏览

2020年10月09日美国专利局新申请AR/VR专利报告



映维网
2020年10月09日

)近期美国专利及商标局公布了一批全新的AR/VR专利,以下是映维网的整理(详情请点击专利标题),一共20篇。更多专利披露请访问映维网专利板块
https://patent.nweon.com/
进行检索,你同时可以加入映维网AR/VR专利交流微信群。


1. 《
Magic Leap Patent | Methods, Systems, And Computer Program Product For Managing And Displaying Webpages In A Virtual Three-Dimensional Space With A Mixed Reality System(使用混合现实系统在虚拟三维空间中管理和显示网页的方法、系统和计算机程序产品)

专利描述了一种用于使用混合现实系统在虚拟三维空间中管理和显示网页及网页资源的方法和系统。所述技术接收用于网页或网页面板的3D转换的输入。作为对输入的响应,耦合到混合现实系统的处理器的浏览器引擎至少部分地根据3D变换来确定网页或网页面板的3D变换数据,其中3D变换包括网页或网页的3D位置、旋转或缩放的改变。浏览器引擎可以至少部分地根据3D变换数据在虚拟三维空间中呈现网页的内容。


2. 《
Magic Leap Patent | Spatial Audio For Interactive Audio Environments(用于交互式音频环境的空间音频)

专利描述了将输出音频信号呈现给位于虚拟环境中的第一位置的听者的系统和方法。所述方法包括接收输入音频信号;对于虚拟环境中的多个声源中的每个声源,根据虚拟环境中各个声源的位置以及各个第一中间音频,确定与输入音频信号相对应的各个第一中间音频信号。信号与第一总线相关联。对于虚拟环境中的多个声源中的每个声源,确定相应的第二中间音频信号。各个第二中间音频信号对应于虚拟环境中输入音频信号的混响。根据相应声源的位置,同时根据虚拟环境的声学特性,确定相应第二中间音频信号。各个第二中间音频信号与第二总线相关联。输出的音频信号通过第一总线和第二总线呈现给听者。


3. 《
Magic Leap Patent | Virtual And Augmented Reality Systems And Methods(虚拟现实/增强现实系统和方法)

专利描述的方法和系统使用增强现实显示系统,并在有限数量的深度平面上呈现虚拟对象。最远的一个深度平面在光学无穷大的失配公差范围内。显示系统可以切换显示内容的深度平面,以便在用户注视的深度平面显示内容。利用部分重叠深度平面来解决定位追踪误差的影响。确定用户注视的注视深度,并且显示系统确定是否调整显示虚拟对象的选定深度平面的选择。所述确定可以根据固定深度是否落在相邻深度平面的深度重叠区域内。显示系统可以根据固定深度是否落在重叠区域之外来切换活动深度平面。


4. 《
Magic Leap Patent | Multilayer Liquid Crystal Diffractive Gratings For Redirecting Light Of Wide Incident Angle Ranges(用于重定向宽入射角范围的光线的多层液晶衍射光栅)

专利描述的光学器件包括多层光栅结构,每一层光栅结构包括液晶材料的多个子层。液晶材料的每个子层包括横向延伸的重复单元,每个单元由多个液晶分子形成。液晶层的重复单元彼此横向偏移,并且定义倾斜角。构成光栅结构堆叠的光栅结构具有不同量级的倾斜角。所述光栅结构可配置成重定向可见光或红外波长的光。堆叠的不同倾斜角度有利于高效率衍射。


5. 《
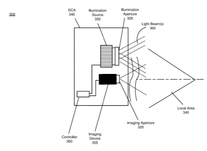
Facebook Patent | Autonomous Gating Selection To Reduce Noise In Direct Time-Of-Flight Depth Sensing(在直接飞行时间深度传感中降低噪点的自动选通)

专利描述的深度摄像头组件包括用于确定局部区域的深度信息的直接飞行时间系统。深度摄像头组件包括一个照明源、一个摄像头和一个控制器。照明源将光(如光脉冲)投射到局部区域。摄像头检测来自局部区域物体的投影光反射。控制器使用内部选通程序选择可能与光脉冲反射相关联的gate window。选定的gate window可用于深度测定。内部选通程序可通过外部目标定位和选择,又或是内部自选择来实现。


6. 《
Microsoft Patent | Display Device With Compact Scanning Mirror(带紧凑型扫描镜的显示设备)

专利描述了与扫描镜系统有关的示例。在一个实例,显示设备包括光源、支撑结构和扫描镜系统。扫描镜系统包括反射镜、位于扫描镜系统第一侧面的第一锚件、位于扫描镜系统第二侧面的第二锚件、以及挠曲。所述挠曲部分包括从第一锚件向第一纵向端部延伸,并转动以与扫描镜第一端部相接触的第一部分;以及从第二锚件向第二纵向端部延伸,并转动以与第二端部接触的第二部分。所述扫描镜系统同时包括致动器系统,所述致动器系统配置为驱动挠曲,从而改变所述扫瞄镜的扫描角度。


7. 《
Google Patent | Identifying And Controlling Smart Devices(识别和控制智能设备)

专利描述了用于控制智能设备的方法、系统和设备。在一个示例中,一种方法包括接收由移动设备摄像头捕获的图像的图像数据,并确定所述图像描绘了智能设备或智能设备的物理控制中的至少一个。响应于确定,识别用于控制智能设备的一个或多个用户界面控件,并在移动设备的显示器生成和呈现用于控制智能设备的一个或多个用户界面控件。所述方法同时可以包括在移动设备的显示器检测与一个或多个用户界面控件中的至少一个的用户交互,以及根据检测到的用户交互来控制智能设备。


8. 《
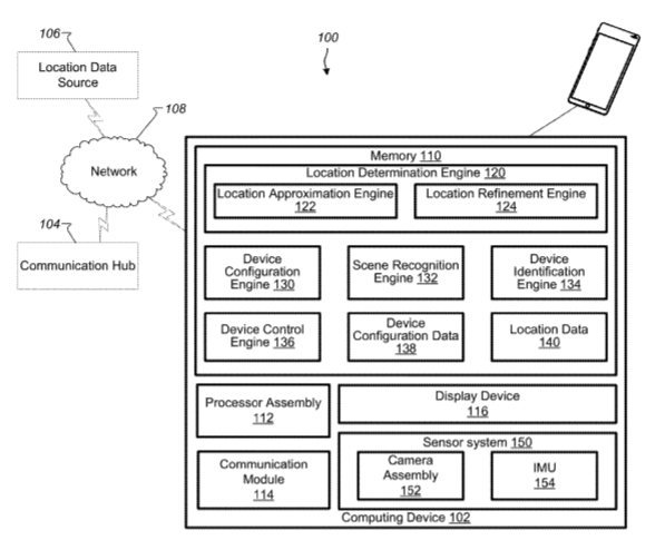
Google Patent | Location Determination For Device Control And Configuration(用于设备控制和配置的位置确定)

专利描述了用于确定位置和配置可控设备的系统和方法。示例性系统和方法包括确定计算设备的位置估计;通过计算设备捕捉物理空间的图像数据;识别其中的可控设备。示例性系统和方法同时包括,至少部分地根据识别动作在图像数据中识别可控设备,并确定可控设备的配置信息。配置信息可以至少部分地根据计算设备的位置估计。


9. 《
Google Patent | Interaction Between A Viewer And An Object In An Augmented Reality Environment(增强现实环境中的用户与对象交互)

专利描述的方法包括:触发增强现实环境的渲染;触发具有外表面的对象的渲染,其中外表面使用网格进行可视化;作为用户和对象之间相对运动的结果,执行用户位于对象之内的第一确定;根据第一确定,增加外表面的透明度,反转网格的至少一部分的方向,并使用具有相反方向的网格一部分触发内表面的渲染。其中,由于透明度增加,对象外部的光线可以照射内表面。


10. 《
Qualcomm Patent | Audio Playback Timing Adjustment(音频播放时间调整)

服务器包括处理器。根据从客户端设备接收到的信息,处理器确定与服务器相关联的服务器时钟速率和与客户端设备相关联的客户端时钟速率之间的同步参数。处理器同时配置为根据同步参数和根据音频帧的服务器端生成时间戳来确定音频帧的客户端生成时间戳。处理器同时配置成生成音频帧。音频帧包括客户端时间戳。


11. 《
Sony Patent | Information Processing Device And Information Processing Method, And Recording Medium(信息处理设备和信息处理方法及录制媒介)

专利描述了一种信息处理设备和信息处理方法。所述信息处理设备和信息处理方法能够实现关于视线定位的改进,例如在用视线进行指向或对象操作时。控制显示设备,并致使其显示立体对象,立体对象布置在用户视场中的预定方向,并且立体对象指示关于预定方向的距离。专利描述的方法可应用于可穿戴显示装置,如头戴式显示器等。


12. 《
Sony Patent | Head-Mountable Display System(头戴式显示系统)

视频服务器包括视频编码器,视频编码器用于编码表示全景视频内容的视频数据,其中全景视频内容具有比客户端设备可显示区域更大的视场。视频编码器配置成根据道数据以不同的编码质量对视频内容内的空间区域进行编码,使得优选浏览区域以比高于全景视频的另一区域的更高编码质量进行编码。


13. 《
Sony Patent | Information Processing Device, Information Processing Method, And Program(信息处理设备,信息处理方法及程序)

专利描述的一种信息处理设备包括控制单元,所述控制单元配置成基于噪声产生源和收集用户生成声音的声音收集单元之间的位置关系,控制输出以诱导用户动作,从而改变所生成声音的声音收集特性。专利同时描述了一种由处理器执行的信息处理方法,所述信息处理方法包括:基于噪声产生源和收集用户产生的声音的声音收集单元之间的位置关系,控制输出以诱导用户改变生成声音的声音收集特性的动作。专利同时描述了一种计算机实现程序,所述程序根据噪声产生源和收集用户产生的声音的声音收集单元之间的位置关系,控制输出以诱导用户改变生成声音的声音收集特性的动作的控制功能。


14. 《
Sony Patent | Foveated Geometry Tessellation(注视点几何镶嵌)

在图形处理中,接收代表虚拟空间中场景的一个或多个顶点的数据。将顶点投影到显示设备的屏幕空间。针对屏幕空间的选定部分调整顶点的密度,以便在屏幕空间的选定部分中存在较低密度的顶点。在顶点上进行图元装配(primitive assembly),从顶点投影到屏幕空间生成一个或多个图元。然后,通过执行像素处理来将像素值分配给作为相应图元一部分的像素,生成完成的帧。在一些实现中,完成的帧可以存储在存储器中或显示在显示设备。


15. 《
Sony Patent | Head Mounted Display And Method(头戴式显示器和方法)

专利描述了一种用于显示移动设备屏幕的系统。所述系统包括用于向用户显示第一内容的头戴式显示器、安装在头戴式显示器上的摄像头、用于捕捉用户面前场景的视频图像的摄像头、用于检测包括移动设备屏幕的捕获视频图像的区域的区域检测处理器、以及图像处理器。图像处理器配置为用包括移动设备屏幕的捕获视频图像的检测区域来替换头戴式显示器中显示的第一内容的对应区域。


16. 《
Sony Patent | Information Processing Apparatus, Information Processing Method, And Program(信息处理装置,信息处理方法及程序)

专利描述的信息处理装置包括设置单元和显示控制单元。设置单元设置限制进入的限制区域。显示控制单元根据能够显示虚拟对象的显示区域来控制阻止进入限制区域的虚拟对象的显示。通过这种配置,可以适当地显示遮挡对象,并提供自然的虚拟体验。


17. 《
Sony Patent | Head-Mounted Display(头戴式显示器)

专利描述的头戴式显示器包括佩戴在用户头部的框架;沿左右方向连接到框架中心部分的图像显示设备。所述图像显示设备包括图像形成设备和光学部件。所述光学部件连接到图像形成设备,并且设置在用户左眼和右眼前面。


18. 《
Sony Patent | Image Correction Apparatus, Image Correction Method And Program(图像校正装置,图形校正方法及程序)

发送和接收部分第一次接收根据头戴式显示器的位置或方向呈现的图像,以及关于所述位置或方向的信息。校正部分通过在第二次显示图像时获取的头戴式显示器位置或方向信息来校正图像,并且响应于位置或方向之间的差异,在屏幕坐标系中平移或旋转移动头戴式显示器的视场位置或方向,同时将图像作为纹理粘贴到平移或旋转移动的视场中。


19. 《
Sony Patent | Head-Mountable Apparatus And Methods(头戴式装置和方法)

当确定用户可能处于病理状态时,用于帮助头显用户的方法包括:通过一个或多个传感器检测指示用户一个或多个当前属性的一个或多个参数,根据一个或多个参数生成指示用户一个或多个当前属性的信息,根据指示用户一个或多个当前属性的信息来确定用户是否处于病理状态,以及响应于确定用户可能处于病态状态时,在处理器的指示下执行处理,所述处理包括当用户处于非病态状态时用户可以自愿指示的一个或多个操作。


20. 《
Intel Patent | Using Dynamic Vision Sensors For Motion Detection In Head Mounted Displays(在头戴式显示器中使用动态视觉传感器进行运动检测)

可以在头显中使用一个或多个用于手势控制和追踪的立体组件。一个或多个立体组件中的每一个可以包括一对动态视觉传感器,其布置成具有互补视场,并检测在区域中移动的对象前缘和后缘中的一个或多个。动态视觉传感器基于像素的光强度变化来确定对象是如何移动,无需检测、传输或处理所有像素。

0

  1. This post has no comment yet

发表回复

您的邮箱地址不会被公开。 必填项已用 * 标注