/ Nweon / 0浏览

2020年09月25日美国专利局新申请AR/VR专利报告



映维网
2020年09月25日

)近期美国专利及商标局公布了一批全新的AR/VR专利,以下是映维网的整理(详情请点击专利标题),一共36篇。更多专利披露请访问映维网专利板块
https://patent.nweon.com/
进行检索,你同时可以加入映维网AR/VR专利交流微信群。


1. 《
Magic Leap Patent | Method And System For Large Field Of View Display With Scanning Mirror Having Optical Power(包括光学倍率扫描镜的大视场显示器的方法和系统)

图像显示系统可以包括:配置为发射未准直光线的多个光源;以及目镜波导,其具有配置为接收不同角度的光束的输入端口。所述图像显示系统同时包括扫描镜,其具有正光学倍率的表面,并配置为接收由多个光源发射的光。具有正光学倍率的表面配置为准直由多个光源发射的光线,从而形成多个准直光束并将多个准直光束引导到输入端口。


2. 《
Magic Leap Patent | Method and system for performing simultaneous localization and mapping using convolutional image transformation(利用卷积图像变换来实现同时定位与映射的方法与系统)

专利描述了根据两个图像计算单应矩阵的增强现实设备与方法。一种方法可包括根据第一camera姿态接收的第一图像和根据第二camera姿态接收第二图像,基于第一图像产生第一点云,基于第二图像产生第二点云,然后向神经网络提供第一点云和第二点云,并由神经网络生成基于第一点云和第二点云的单应矩阵。对于神经网络的训练,可以生成多个点,确定3D轨迹,对3D轨迹进行采样以获得camera姿态,将点投影到2D平面上,然后比较生成的单应矩阵与ground-truth单应矩阵,并根据这一比较来修改神经网络。


3. 《
Magic Leap Patent | Virtual And Augmented Reality Systems And Methods Having Improved Diffractive Grating Structures(具有优化衍射光栅结构的虚拟现实和增强现实系统和方法)

专利描述了一种用于3D显示系统的优化衍射结构。优化的衍射结构包括位于波导基板和上方光栅表面之间的中间层。上方光栅表面包括对应于第一折射率值的第一材料,底层包括对应于第二折射率值的第二材料,并且基板包括对应于第三折射率值的第三材料。


4. 《
Magic Leap Patent | Display System And Method For Providing Variable Accommodation Cues Using Multiple Intra-Pupil Parallax Views Formed By Light Emitter Arrays(利用由光发射器阵列形成的多个光瞳内视差视图来提供可变视觉调节线索的显示系统和方法)

显示系统配置成将多个视差不同的光瞳内图像引导到用户眼睛。视差不同的光瞳内图像提供虚拟对象的不同视差,并且从不同的角度触及瞳孔。作为总体计算,形成图像的光波前近似于连续的发散波前,并且根据光瞳内图像之间的视差差量为用户提供可选的视觉调节提示。可以使用选择性地调节图像光进入眼睛的快门阵列来选择视差差量。阵列中的每个开启快门提供不同的光瞳内图像,并且开启快门的位置提供图像之间所需的视差差量。


5. 《
Facebook Patent | High Compliance Microspeakers For Vibration Mitigation In A Personal Audio Device(用于个人音频设备减振的高合规微型扬声器)

专利描述的音频系统包括一个配置成发出声音的扬声器。所述扬声器包含在外壳中,所述外壳形成在扬声器相对侧上的前腔和后腔。所述腔体的至少一个端口包括从第一腔体到第二端口的声音输出的至少一部分。声音的第二部分与第一部分基本上不同步。音响系统的等效声量大于前腔的10倍,大于后腔的10倍。


6. 《
Facebook Patent | Systems And Methods Of Rendering Real World Objects Using Depth Information(使用深度信息渲染真实世界对象的系统和方法)

专利描述的系统可以包括设备和图形处理单元(GPU)。设备可以配置为从与第一视图相对应的一个或多个摄像头接收第一图像,以及来自与第二视图相对应的一个或多个摄像头的第二图像。GPU可以包括运动估计器,并且配置为接收第一图像和第二图像。运动估计器可以配置为确定第一图像的第一视差偏移和第二图像的第二视差偏移。设备可以配置为生成用于使用第一图像和第二图像来渲染3D图像的第一深度缓冲区和第二深度缓冲区。


7. 《
Facebook Patent | Mould Pair Having Alignment Surfaces(具有对准表面的模具对)

专利描述了一种用于模制光学元件的模具对。模具对包括具有第一表面的第一模具和具有第二表面的第二模具。所述第一表面包括用于模制光学元件的第一光学表面的模制部分,以及用于与第二模具对准的对准部分。对准部分围绕模塑部分延伸。所述第二表面包括用于模制所述光学元件的相对光学表面的模制部分,以及用于通过与第一表面的对准部分接触来与第一模具对准的对准部分。当模具组合在一起时,它们会自动对齐。相应的成型设备和方法可以使用所述模具对来制造各种光学元件。


8. 《
Microsoft Patent | Relative Spatial Localization Of Mobile Devices(移动设备的相对空间定位)

为了获得多台移动设备之间的相对定位,第一移动设备在时间t1观察第一移动设备摄像头视场内的第二移动设备,在t1确定第一移动设备的第一位置,并接收第二移动设备在t1的第二位置。第一移动设备至少部分地根据第一位置和对第二移动设备的观察来确定关于在第一时刻相对于第二移动设备的第一移动设备方向信息。第一移动设备至少部分地根据第二位置和方位信息来识别与移动设备坐标系统相关的两个约束。一旦累积了至少六个约束,系统可以计算出第一移动设备相对于第二移动设备的姿态。


9. 《
Microsoft Patent | Generation Of Digital Twins Of Physical Environments(生成物理环境数字孪生)

专利描述了一种用于生成物理环境的数字孪生的方法。从深度传感器组件接收物理环境的深度数据。然后至少根据接收到的深度数据生成物理环境的三维映射,然后基于生成的三维映射生成物理环境的数字孪生。接收关于三维映射中的一个或多个联网设备的位置信息。一个或多个联网设备中的每一个都与联网设备的一个数字孪生相关联。在生成的三维映射中为每个联网设备建立坐标位置。每个建立的坐标位置都与一个设备标识相关联。


10. 《
Microsoft Patent | Predicting Three-Dimensional Articulated And Target Object Pose(|预测三维关节和目标对象姿态)

专利描述的数据处理系统包括具有相关内存的处理器,所述处理器配置成使用所述内存的部分来执行指令,并致使处理器在分类时从图像源接收输入图像帧。目标和输入对象包括输入帧。处理器同时使用经过训练的神经网络来处理输入图像帧,所述神经网络配置成对根据输入图像帧中的每个输入单元预测铰接对象的三维关节对象姿态。处理器从神经网络输出三维关节目标姿态和三维目标对象姿态。


11. 《
Microsoft Patent | Virtualized Product Configuration And Quotation System(虚拟化产品配置和报价系统)

通过在头显设备显示对象的三维虚拟视图,专利描述了用于允许配置、价格、报价(CPQ)系统生成可配置产品的可视化效果。用户可以通过执行头显设备能够识别的手势来与显示视图交互。实施例允许用户添加、修改或移除可配置产品的虚拟视图。实施例同时可以允许通过适当的手势操作在不同的配置选项之间快速循环。实施例配置成在视场内提供价格信息,并且随着用户改变活动配置而更新。


12. 《
Microsoft Patent | Visualization Tool For Interacting With A Quantum Computing Program(用于与量子计算程序交互的可视化工具)

专利描述了一种用于协助用户探索量子计算机程序的技术。所述技术首先从执行量子计算机程序的量子系统仿真器接收量子比特状态信息。量子比特状态信息描述在量子计算机程序中的指定分析点处一个或多个相应量子比特的一个或多个状态。然后,所述技术生成一个三维图形描述,并提供量子位状态信息的可视化。三维图形描述包括允许用户与三维图形描述交互的至少一个图形控制元素。然后,所述技术在显示设备显示三维图形描述。在一个实施例中,显示设备由与混合现实系统相关联的头戴式显示器提供。


13. 《
Microsoft Patent | Augmented Two-Stage Hand Gesture Input(增强的两阶手势输入)

一种用于增强两阶段手势输入的方法包括接收用户手部的手部追踪数据。根据满足第一阶段手势标准而从手部追踪数据导出的一个或多个参数,手势识别机器识别用户已经执行了第一阶段手势。响应于识别第一阶段手势,将提示执行第二阶段手势的可供性提供给用户。根据满足第二阶段手势标准而从手部追踪数据导出的一个或多个参数,手势识别机器识别用户已经执行了第二阶段手势。响应于识别第二阶段手势,显示图形用户界面元素。


14. 《
Microsoft Patent | Position Based Energy Minimizing Function(基于位置的能量最小化函数)

专利描述计算机系统包括输入系统和处理器,处理器可配置成根据从输入系统接收的输入数据来控制虚拟操纵器。处理器同时配置成,确定至少包括虚拟操纵器的初始状态和虚拟对象的初始状态的系统的初始状态,检测虚拟操纵器的一部分和虚拟对象之间的至少一个接触点。处理器同时配置成计算虚拟对象的后续状态,所述虚拟对象根据系统初始状态确定的一个或多个位置量和根据系统后续状态确定的一个或多个位置量所定义的一组能量或残差最小化基于位置的能量最小化函数。


15. 《
Microsoft Patent | Varifocal Display With Fixed-Focus Lens(带固定焦点透镜的变焦显示器)

专利描述的近眼显示系统包括配置成发射显示光的显示投影仪、光纤、固定焦点透镜、以及可变光学倍率的变焦透镜。光纤配置成接收显示光并向用户释放显示光。固定焦点透镜用于调整从光导释放的显示光的会聚。变焦透镜与固定焦点透镜串联布置,并且配置成响应于聚焦偏置而改变从光纤释放的显示光的会聚。


16. 《
Microsoft Patent | Near Eye Display (Ned) Device Housing Shell Integrated With Molded Boss Clusters For Precision Mounting Of Hardware Components(近眼显示设备外壳与模制凸台群集集成以用于精确装接硬件组件)

专利描述的一种近眼显示设备外壳与模制凸台集群集成,从而用于精确地装接硬件组件。专利描述地技术包括直接在一个或多个预成型凸台群上形成壳体,所述凸台群插入壳体型芯的腔中。例如,在预先模制的凸台群已插入型腔中的情况下,选定的外壳材料可在外壳型芯上进行热压缩模塑。预成型凸台集群的单个凸台包括一个或多个用于装接近眼显示设备的各种硬件组件。


17. 《
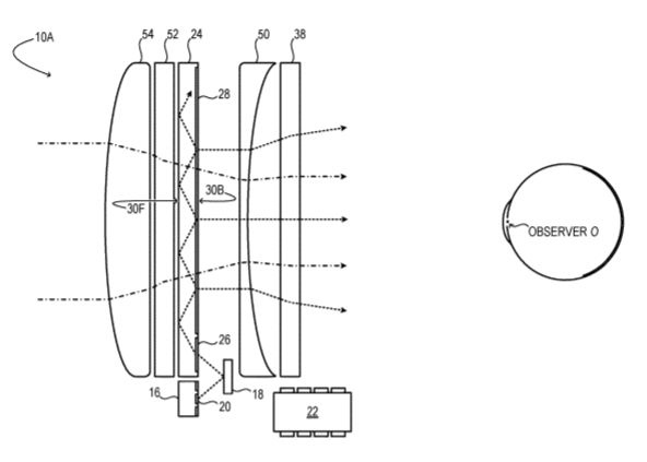
Apple Patent | Dynamic Focus 3d Display(动态焦点3D显示器)

专利描述了一种为虚拟现实和/或增强现实提供动态焦点的直接视网膜投影系统。直接视网膜投射系统逐像素地将图像扫描到用户的视网膜。这使得当图像扫描到视网膜时,光学能够动态影响单个像素。专利同时描述了可在直接视网膜投影仪系统中使用的动态聚焦组件和技术,从而在图像扫描到眼睛时动态地和正确地聚焦VR图像中的每个像素。这允许以不同距离出现在场景中的对象以正确的深度投射到用户眼睛。


18. 《
Apple Patent | Head-Mounted Display Apparatus For Retaining A Portable Electronic Device With Display(可容纳带有显示屏的便携式电子设备的头戴式显示装置)

专利描述了一种允许用户将手持便携式电子设备与单独的头戴式设备耦合和分离的系统和方法。便携式电子设备可以物理耦合至头显设备。便携式电子设备和头显设备可以彼此通信和操作。可以允许每个设备将其功能和/或服务扩展到另一个设备,以便增强,增加和/或消除头显设备和便携式电子设备之间的冗余功能。


19. 《
Apple Patent | Virtual Paper(虚拟报纸)

在一个实施例中,包括一个或多个处理器、非瞬时存储器和一个或多个显示器的设备执行将立体虚拟内容混合到有界表面中的操作。相关方法包括,在本机用户计算机生成现实环境中显示有界曲面,其中根据表征本机用户计算机生成现实环境的第一组世界坐标来显示有界表面。所述方法同时包括在有界表面的第一侧周长内显示第一立体虚拟对象。其中,根据与表征本机用户计算机生成现实环境的第一组世界坐标不同的第二组世界坐标来显示第一立体虚拟对象。


20. 《
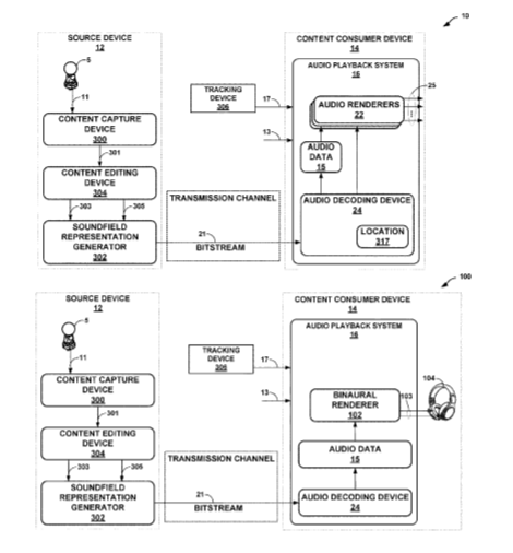
Qualcomm Patent | Rendering Metadata To Control User Movement Based Audio Rendering(渲染元数据以控制基于用户移动的音频渲染)

专利描述的技术用于渲染元数据以控制基于用户移动的音频呈现。包括存储器和一个或多个处理器的设备可以配置来执行所述技术。存储器可以配置成存储代表声场的音频数据。一个或多个处理器可以耦合到存储器,并且配置成根据用户移动的指示、用于渲染表示声场的音频数据的指示来获得指示用于启用或禁用适配的渲染元数据。


21. 《
Sony Patent | Quantization Step Parameter For Point Cloud Compression(用于点云压缩的量子步长参数)

专利描述了一种参数化点云压缩算法属性编码量化方案的技术。所述算法基于定点算法,在给定用户输入量化参数(QP)的情况下,以定点表示法计算量化步长(QS)。


22. 《
Sony Patent | Head-Mountable Display System(头戴式显示系统)

专利描述一种生成用于相对于虚拟显示屏位置显示的立体图像的方法,所述方法包括设置用于显示立体图像的虚拟显示屏位置,使得一个或多个虚拟显示屏的深度简档近似于要由所述立体图像显示的虚拟场景中的一个或多个对象的深度简档,以及生成具有适合于由设置步骤设置的虚拟显示屏位置的图像视差以用于显示的立体图像。


23. 《
Sony Patent | Method And System For Generating An Image(用于生成图像的方法和系统)

专利描述了一种从虚拟camera视角生成图像的方法和系统,所述方法包括获得被摄体的多个源图像,捕捉源图像的每个源摄像头的姿态数据,以及虚拟camera的姿态。每个源图像基于对应源摄像头的姿态和虚拟camera的姿态的差异而失真。基于对应源摄像头的姿态和虚拟camera的姿势之间的相似性,为每个失真图像确定权重。然后根据权重将失真的图像混合在一起,并从虚拟camera的角度形成被摄体的图像。


24. 《
Sony Patent | Point Cloud Global Tetris Packing(点云全局方块打包)

专利描述了一种将三维点云数据映射到二维表面以进一步有效地进行时间编码的方法。点云全局方块打包利用三维曲面片来表示点云,并执行三维面片表面数据到二维画布图像的时间一致性全局映射。


25. 《
Sony Patent | Point Cloud Geometry Padding(点云几何填充)

专利描述了一种点云几何填充方法。所述方法在压缩的占用映射中搜索重建点以执行几何填充,而不是使用未压缩的占用映射。


26. 《
Sony Patent | Varying Effective Resolution By Screen Location By Altering Rasterization Parameters(通过变更光栅化参数来改变屏幕位置的有效分辨率)

在图形处理中,接收表示虚拟空间场景的一个或多个顶点数据。在顶点执行Primitive Assembly,从而计算顶点从虚拟空间到视口的投影。扫描转换确定多个像素中的哪个像素属于已经转换为屏幕空间坐标的图元的一部分。每个图元的粗略光栅化确定图元重叠的子部分。与基元重叠子部分相关联的元数据确定子部分的像素分辨率。元数据用于处理子部分的像素并生成用于视口的最终像素值,从而使得两个不同子部分中的部分场景具有不同的像素分辨率。


27. 《
Sony Patent | Signal Processing Device And Signal Processing Method(信号处理设备和信号处理方法)

专利描述了一种信号处理装置,其包括:显示控制单元,用于致使显示器显示与指定位置对应的图像;声音收集信号输入单元,用于输入用户声音的声音收集信号;声学信号处理单元,用于执行第一声学信号处理,从而再现用户声音的声场;以及发声控制单元,用于致使扬声器发出处理过的音频信号。


28. 《
Sony Patent | Establishing And Using Virtual Assets On Tangible Objects In Augmented Reality (Ar) And Virtual Reality (Vr)(在增强现实和虚拟现实中建立虚拟asset并将其用于有形对象之上)

一种方法包括识别有形对象,并以用户可见的方式在所述有形对象建立虚拟叠加层。检测用户与虚拟叠加层的交互,并使用所述交互作为输入。一种系统包括显示器和与显示器通信的装置。


29. 《
Sony Patent | Input Device(输入设备)

专利描述的输入装置包括具有一个外表面并设有多个发光部分的目标追踪部分;构成目标追踪部分外表面的外壳;第一基板;至少一个光源安装在第一基板;以及第一导光构件,所述第一导光构件将来自至少一个光源的光引导到所述壳体外表面上的多个发光部分。


30. 《
Sony Patent | Eye Tracking To Adjust Region-Of-Interest (Roi) For Compressing Images For Transmission(索尼专利|眼睛跟踪调整感兴趣区域(Roi)压缩图像传输)

注视点追踪数据可以表示用户的一个或多个感兴趣区域。选择性地压缩发送的一个或多个图像,使得对于一个或多个感兴趣区域之外的图像部分用更少的比特进行数据传输。


31. 《
Sony Patent | Heads-Up Display System And Method(头戴式显示系统和方法)

专利描述了一种用于通过平视显示器向用户提供信息的系统,所述系统包括第一显示器,第一显示器用于向用户显示第一内容的图像。所述系统包括注视点追踪单元,其可用于识别用户相对于第一内容的一个或多个元素的注视方向。所述系统同时内容生成单元,其可操作为根据所识别的注视方向生成第二内容并向用户显示。所述系统同时包括可操作用于向用户显示第二内容的平视显示器。


32. 《
Sony Patent | Image Display Apparatus(图像显示装置)

根据本技术实施例的图像显示设备包括显示表面、图像显示部分、获取部分和遮光部分。显示表面具有透明度。图像显示部分在显示表面显示显示图像。获取部分获取关于用户眼睛的眼睛信息。遮光部分根据获得的眼睛信息和关于显示图像的信息,在与显示图像显示区域相对应的区域中形成遮光区域。


33. 《
Intel Patent | Hybrid Stereo Rendering For Depth Extension In Dynamic Light Field Displays(用于在动态光场显示器扩展深度的混合立体感渲染)

专利描述了一种用于混合渲染的组件和方法。例如,一个实施例包括:识别用户眼睛的左视图和右视图;生成用于左视图和右视图的至少一个深度图;计算深度固定阈值,包括最小深度值和最大深度值;根据最小深度值和最大深度值变换深度图;以及执行视图合成,使用变换后的深度图来渲染左视图和右视图。


34. 《
Intel Patent | Technology To Encode 360 Degree Video Content(360度视频内容编码技术)

专利描述的方法可以根据每个摄像头确定相对于全景视频内容的兴趣水平,识别多个摄像头中的兴趣水平低于阈值的摄像头子集,并降低所述摄像头的功耗。另外,专利描述的技术可以确定与全景视频内容相关联的投影格式,识别投影格式中的一个或多个不连续边界,并根据不连续边界来修改与全景视频内容相关联的编码方案。另外,可以将编码帧分配给时间可伸缩性层,所述时间可伸缩性层的优先级高于分配了异步空间扭曲帧的层的优先级。另外,专利描述的技术可以降低鱼眼内容中活动区域和非活动区域之间的边界的编码复杂度。


35. 《
Intel Patent | Compensating For High Head Movement In Head-Mounted Displays(补偿头显的高速头部运动)

当头部运动速度超过系统的处理能力时,显示缩小的描述。作为一个例子,可以使用粗略像素着色来降低分辨率,以便以头部移动的速度创建新的描绘。根据另一实施例,仅以全分辨率处理用户正在注视的区域,并且以较低分辨率处理描绘其余部分。在另一个实施例中,可以模糊或灰化背景描绘以减少处理时间。


36. 《
Nvidia Patent | Foveated Display For Augmented Reality(用于增强现实的注视点显示器)

专利描述的增强现实显示系统包括用于注视点图像区域的第一光束路径、用于外围显示图像区域的第二光束路径,以及瞳孔位置追踪逻辑。追踪逻辑产生控制信号以设置通过全息光学元件感知的注视点位置和外围区域。

0

  1. This post has no comment yet

发表回复

您的邮箱地址不会被公开。 必填项已用 * 标注