/ Nweon / 0浏览

2020年09月18日美国专利局新申请AR/VR专利报告



映维网
2020年09月18日

)近期美国专利及商标局公布了一批全新的AR/VR专利,以下是映维网的整理(详情请点击专利标题),一共30篇。更多专利披露请访问映维网专利板块
https://patent.nweon.com/
进行检索,你同时可以加入映维网AR/VR专利交流微信群。


1. 《
Magic Leap Patent | Eyelid Shape Estimation Using Eye Pose Measurement(利用眼睛姿态测量来估计眼脸形状)

专利描述估计眼脸形状的系统和方法。在接收眼睛图像后,确定眼睛的眼睛姿势。根据眼睛姿势,可以利用眼脸形状映射模型来估计(上眼睑或下眼睑)的眼睑形状。眼睑形状映射模型涉及眼睛姿势和眼睑形状。另外,可以通过神经网络训练眼睑形状映射模型。


2. 《
Facebook Patent | Waveguide With Coherent Interference Mitigation(具有相干干扰抑制的波导)

专利描述了一种适合与相干光源一起工作的光瞳复制波导。波导体具有用于引导成像光光束的相对表面。耦出元件设置在光束的光路中。电极耦合到波导体的至少一部分,并用于调制光束的光程长度,从而在由耦出元件耦合的光束输出部分之间产生时变相位延迟。


3. 《
Facebook Patent | Optical Assembly Having A Housing For Mounting Optical Lenses(包含用于装接光学透镜的外壳的光学组件)

专利描述了一种用于装接第一透镜和第二透镜的壳体组件。所述壳体组件包括采用环形结构的第一透镜支架。所述环形结构配置成装接所述第一透镜。所述外壳组件同时包括采用杯形结构的第二透镜支架。所述杯形结构包括上部和下部,上部配置成装接所述第一透镜坞座,下部配置成装接第二透镜。


4. 《
Facebook Patent | System And Method For Automatic Lens Assembling And Testing(用于自动透镜装配与测试的系统和方法)

专利描述了一种装配第一透镜和第二透镜的方法。所述方法包括对所述第一透镜或所述第二透镜中的至少一个进行光学中心测量,并且当所述光学中心测量不满足预定光学中心条件时执行光学中心调整。所述方法同时包括,对所述第一透镜或所述第二透镜中的至少一个进行偏振测量,并且当所述偏振测量不满足预定的偏振条件时执行偏振角度调整。所述方法还包括装配第一透镜和第二透镜以形成光学组件。


5. 《
Microsoft Patent | 360 Degree Camera(360度相机)

专辑描述的相机系统包括第一成像传感器,第一成像传感器具有具有第一对角线长度的第一成像表面,第一透镜布置成引导第一图像形成光通量朝向第一成像表面,所述第一图像形成光通量在第一成像表面具有等于或大于所述第一对角线长度的宽度。所述的相机系统包括第二成像传感器,第二成像传感器具有具有第二对角线长度的第二成像表面,第二透镜布置成引导第二图像形成光通量朝向第二成像表面,所述第二图像形成光通量在第二成像表面具有等于或大于所述第二对角线长度的宽度。第一透镜和第二透镜朝向相反的方向。


6. 《
Microsoft Patent | Monitoring Support Element Strain To Determine Real-Time Positional Relationships Between Positionally Sensitive Device Components(监控支撑元件应变,以确定位置敏感设备组件之间的实时位置关系)

计算设备监控支撑元件的应变,这样当位置相关组件之间的实时位置关系在操作过程中出现波动时,其能够联合部署位置相关组件。一种示例性计算设备包括第一组件和第二组件,它们都安装在支撑元件之上。在操作期间,计算设备可能受到机械载荷的影响,并可能导致应力进入支撑元件,从而影响位置相关部件之间的标称定位。计算设备包括位移传感器,其用于生成说明组件之间的实时位置关系的位移数据。这种实时位置关系可以在实现所需功能的同时得到补偿。通过这种方式,计算设备可以承受来自众多典型用例的应力和应变,同时积极监控和补偿传感器组件之间的位置关系以实现期望的功能。


7. 《
Microsoft Patent | Representation Of User Position, Movement, And Gaze In Mixed Reality Space(混合现实空间中用户位置,运动和注视表示)

控制混合现实,虚拟现实或增强现实的环境可视化可能涉及从多个数据源获取多个传感器数据。使用多个数据分析器处理获得的多个传感器数据,以识别至少一个特征;生成多个带注释的数据集,其中带注释的数据集包含至少一个特征的注释;聚合多个带注释的数据集,以使共同特征相关联; 根据共同特征,提供表示混合现实,虚拟现实或增强现实环境的可视化输出。


8. 《
Microsoft Patent | Reality-Guided Roaming In Virtual Reality(虚拟现实中的现实引导漫游)

在各种实施例中,耦合到头显的计算设备从各种传感器接收传感器数据。计算设备可以根据接收到的传感器数据生成虚拟场景,其中虚拟场景包括虚拟路径的至少一部分。所述虚拟路径与基于传感器数据确定的可导航路径的至少一部分对应。所述计算设备可以修改虚拟场景,所述虚拟场景包括与传感器检测到的物理对象相对应的虚拟障碍物。系统将修改后的虚拟场景呈现给用户,从而帮助用户可以安全地穿越物理环境,并同时沉浸在虚拟环境之中。


9. 《
Microsoft Patent | Pixel Sampling For Spatial Light Modulator(像素采样空间光调制器)

专利描述的图像形成系统包括包括多个像素的空间光调制器(SLM)。每个像素配置成对入射光进行衍射并使衍射光离开SLM,其中从SLM出射的第一衍射级的光通过第一光瞳,从SLM出射的更高衍射级的光通过与第一光瞳位置不同的附加光瞳。耦合到多个像素的控制逻辑配置成控制每个像素,从而控制其对入射到像素的光线的调制,并且致使多个像素在每个光瞳位置共同形成图像。光源配置成向SLM发射入射光。重采样层配置为以每像素两个或更多个样本对每个像素电极进行二次采样,从而增加每个光瞳之间的间距。


10. 《
Microsoft Patent | Holographic Image Generated Based On Eye Position(基于眼睛位置的全息图像生成)

全息光追踪器包括一个用于确定眼睛动态位置的光追踪器,以及一个配置为确定眼睛动态位置的全息图像系统。数字动态全息图配置为接收来自光源的图像光。数字动态全息图同时配置成根据目标图像对图像光进行空间调制,从而在眼睛形成重建图像。根据人眼特征的位置,重建图像包含在重建图像不均匀分布的噪点。


11. 《
Microsoft Patent | Diffractive Optical Elements With Asymmetric Profiles(非对称轮廓衍射光学元件)

在包括具有多个衍射光学元件的波导的光学显示系统中,一个或多个衍射光学元件中的光栅可以具有非对称轮廓。衍射光学元件中的非对称光栅可以减少显示为暗条纹的光干涉所导致的“带状”,从而提高光学显示系统中的显示均匀性。当聚合物材料用于衍射光学元件的批量生产以使系统重量最小化时,带状效应可能更为明显,但与其他材料(如玻璃)相比,其具有较低的最佳光学性能。对于厚度、表面粗糙度和光栅几何结构等在制造过程中不易控制的变化,非对称光栅可进一步令光学系统具有更大的耐受性,特别是因为这些变化在亚微米范围内。


12. 《
Apple Patent | 3d Audio Rendering Using Volumetric Audio Rendering And Scripted Audio Level-Of-Detail(使用体音频渲染和脚本音频LOD的三维音频渲染)

专利描述的音频引擎以声学方式呈现三维虚拟环境。音频引擎使用几何体积来表示声源和任何声音阻挡器。体积响应根据从体积声源投射到听者的声音而产生,并同时考虑到两者之间的任何体积遮挡物。音频引擎同时可以根据听者和声源之间的距离随时间改变声音的LOD。


13. 《
Apple Patent | Displaying Applications(显示应用程序)

专利描述了在模拟现实环境中显示应用程序的技术。所述技术包括确定物理对象在物理表面上的位置,在模拟现实设置中显示应用程序的表示,以及响应于检测到物理对象变化而修改表示的属性。在一些实施例中,表示的属性是基于物理表面上的物理对象的位置或者虚拟对象在物理表面的表示上的位置。


14. 《
Apple Patent | Postponing The State Change Of An Information Affecting The Graphical User Interface Until During The Condition Of Inattentiveness(将影响图形用户界面的信息的状态更改推迟到不受注意的情况下)

触发状态改变包括基于第一设置配置显示一系列帧的第一版本;获得系列帧的第二设置配置;响应于获得第二设置配置,监视眼睛状态的改变;以及响应于检测眼睛状态的改变,根据第二个设置配置显示系列帧的第二版本。


15. 《
Apple Patent | Attention Direction On Optical Passthrough Displays(光学透视显示器的注意引导)

在一种实现方式中,设备包括一个或多个处理器、非瞬时存储器、场景摄像头和光学透视显示器,并用于执行引导用户注意力的方法。所述方法包括使用场景摄像头捕捉场景的图像。所述方法同时包括,所述一个或多个处理器根据场景的图像来确定一个或多个attention-indirection区域。所述方法同时包括,光学透视显示器包括在一个或多个attention-indirection区域显示包含遮罩图案的遮罩图像。


16. 《
Sony Patent | Information Processing Apparatus, Information Processing Method, And Program(索尼专利:信息处理装置,信息处理方法及程序)

专利描述的信息处理装置包括获取关于包括一个或多个真实对象的三维信息的获取单元,以及控制用户与映射到并显示在真实对象的表面之上的虚拟对象之间的交互方法的控制单元。


17. 《
Sony Patent | Virtual Character Inter-Reality Crossover(虚拟角色跨现实交叉)

专利描述的方法包括以下操作:在显示设备呈现包括虚拟角色的虚拟场景;通过头戴式显示器提供本地环境的视图;设置虚拟角色的动画,并显示虚拟角色从虚拟场景移动到通过头戴式显示器查看的本地环境中。


18. 《
Sony Patent | Telepresence Of Users In Interactive Virtual Spaces(交互式虚拟空间中的用户远程呈现)

远程呈现通信使用由第一捕获设备捕获的第一用户信息,以及由第二捕获设备捕获的第二用户信息来生成对应于第一用户的第一虚拟化身和对应于第二用户的第二虚拟化身。场景可以在本地或由远程服务器呈现,其中第一虚拟化身和第二虚拟化身都在虚拟空间中呈现。第一虚拟化身渲染为根据第一用户在第一捕获设备捕获时所做的运动,并且第二虚拟化身渲染为根据第二用户在第二捕获设备捕获时所做的运动。虚拟化身可以是真实的,基于化身模板或其某种组合。渲染场景可以包括允许虚拟化身交互的虚拟交互对象。


19. 《
Sony Patent | Information Processing Apparatus, Method For Processing Information, And Computer Program(信息处理装置,用于处理信息的方法及计算机程序)

专利描述的信息处理装置包括信息获取单元,信息获取单元获取与第一信息相关联的第一位置的位置信息,多个第一用户中每个用户的位置信息和方向信息,以及通过第一输出单元并根据每个第一用户的第一位置信息和方向信息输出控制器控制输出。


20. 《
Sony Patent | Transmission Apparatus, Transmission Method, Reception Apparatus, And Reception Method(传输装置,传输方法,接收装置及接收方法)

与广角图像的各个分割区域(分区)相对应的编码流与每个分割区域的像素数目和帧速率信息一起发送。在接收侧,根据解码容量以及广角图像的像素数目和每个分割区域的帧速率的信息,可以将对应于显示区域的要解码分割区域的数目设置为可解码的最大值。所以,可以尽可能减少随着显示区域的移动而切换编码流的频率,并且可以改进VR再现中的显示性能。


21. 《
Sony Patent | Head-Mountable Display System(头戴式显示系统)

用于生成用于相对于虚拟显示屏的立体图像的方法和设备包括:设置用于在虚拟场景中显示对象的立体图像的虚拟显示屏位置,虚拟显示屏具有近似于对象的深度轮廓的深度轮廓;生成用于在虚拟场景内的虚拟显示屏显示的立体图像;以及根据用户看到立体图像的视点变化来控制虚拟显示屏的配置。


22. 《
Sony Patent | Augmenting Virtual Reality Video Games With Friend Avatars(通过友人虚拟化身来增强虚拟现实游戏)

专利描述了通过真人虚拟化身来增强游戏的方法和系统。所述方法包括,识别游戏内的普通观众,并确定与普通观众相关联的虚拟坐标。所述方法同时包括,接收与现实世界真人虚拟化身相关联的数据,并以三维方式在游戏中进行显示。


23. 《
Sony Patent | Systems And Methods For Training An Artificial Intelligence Model For Competition Matches(训练比赛用人工智能模型的系统和方法)

专利描述了一种训练游戏角色的方法。所述方法包括生成游戏的一个或多个场景的显示。一个或多个场景包括角色和虚拟对象。所述方法还包括接收用于由用户控制角色以与虚拟对象交互的输入数据,并分析输入数据以识别角色在一个或多个场景中的交互模式。交互模式定义了训练与用户帐户相关联的人工智能模型的输入。所述方法包括允许角色能够与基于人工智能模型的新场景进行交互。所述方法包括通过角色跟踪与新场景的交互,并对人工智能模型进行附加训练。


24. 《
Sony Patent | Systems And Methods For Predicting States By Using A Distributed Game Engine(使用分布式游戏引擎预测状态的系统和方法)

专利描述了一种减少游戏执行延迟的方法。所述方法包括通过计算机网络接收与游戏相关联的用户输入,并从用户输入中确定游戏的当前状态。在确定游戏的当前状态的同时,所述方法包括根据用户输入和一个或多个预测的用户输入来预测游戏的下一个状态。所述方法同时包括从下一状态生成一个或多个预测图像帧,确定是否通过计算机网络接收到所述一个或多个预测的用户输入,以及响应于接收到所述一个或多个预测用户输入而发送所述一个或多个预测图像帧,从而减少游戏执行中的延迟。


25. 《
Sony Patent | Methods And Systems For Spectating Characters In Follow-Mode For Virtual Reality Views(以虚拟现实视图跟随模式观察角色的方法和系统)

专利描述了一种观看视频游戏直播的方法和系统。在一个实施例中,提供一种用于执行对玩家的自动跟随方法。所述方法包括提供用于在客户端设备呈现游戏的第一视图的界面,其中第一视图具有第一有利视点并且包括目标玩家。所述方法包括在界面内提供传送门的操作,并用于呈现目标对象的第二视图,所述第二视图具有第二有利视点。所述方法还包括将第二有利点向传送门内的目标对象移动的操作。另外,所述方法同时提供了一个清除传送门的操作。


26. 《
Sony Patent | Methods And Systems For Spectating Characters In Virtual Reality Views(以虚拟现实视图观看角色的方法和系统)

专利描述了一种观看游戏直播的方法和系统。在一个方法实施例中,操作包括提供用于在头显呈现游戏交互环境的俯视图的界面。所述方法同时提供一种提供用于显示交互环境的放大视图的放大窗口操作,其中放大视图与比俯视图的第一有利视点更接近交互环境的第二有利视点相关联。所述方法同时提供了一种用于跟随观众控制器的真实位置并移动放大窗口的位置以对应于控制器的真实世界位置的操作。


27. 《
Sony Patent | Near Real-Time Augmented Reality Video Gaming System(近乎实时的增强现实游戏系统)

一个或多个用户佩戴各自的无线头显,并允许用户看到模拟用户所在的物理空间的三维渲染虚拟现实环境。用户玩游戏时可以在物理空间中自由移动。为ae用户呈现的虚拟现实环境是以用户的物理运动作为基础。为用户呈现的虚拟现实环境显示了相应物理对象所在的虚拟对象,以便当用户在虚拟环境中围绕对象移动时,用户同时是围绕物理空间中的物理对象移动。


28. 《
Sony Patent | Entertainment System, Robot Device, And Server Device(娱乐系统,机器人设备和服务器设备)

一种娱乐系统包括:能够在真实世界中以自主动作模式动作的机器人装置;配置成使与机器人装置相关联的虚拟机器人在虚拟世界中活动的服务器装置;以及能够显示虚拟机器人在虚拟世界的图像的终端装置。服务器设备向终端设备提供虚拟世界的映像。服务器设备将来自虚拟机器人的请求传输到机器人设备。当机器人设备从虚拟机器人获取请求时,机器人设备以与虚拟机器人协调的动作运动。


29. 《
Intel Patent | Camera Feature Removal From Stereoscopic Content(从立体内容中移除相机特征)

在具有宽视场的立体相机中,相机镜头的一部分可以在照相机捕捉立体内容时被捕捉。这些镜头伪影可能会分散用户观看捕捉到的立体内容的注意力。可以生成修改后的立体内容。其中,将立体内容的左图像和右图像中的镜头伪影替换为与图像的其余部分混合的图像内容。随着镜头伪影的去除,修改后的立体内容为观众提供了一种更具沉浸感的观看体验


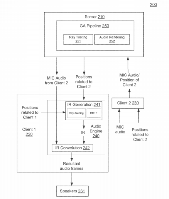
30. 《
Nvidia Patent | Application Of Geometric Acoustics For Immersive Virtual Reality (Vr)(几何声学在沉浸式虚拟现实中的应用)

专利描述了一种虚拟现实音频呈现系统和方法,其包括根据VR设置将捕捉到的真实世界声音空间化的麦克风。在游戏流媒体系统中,当玩家通过麦克风讲话时,通过为虚拟场景配置的几何声学模拟来处理语音,从而添加特定于场景的空间音频效果。算法模拟可以包括使用声音传播模拟和基于动态HRTF的侦听器方向生成脉冲响应。当播放经过几何声学处理的播放器声音时,本地玩家或其他玩家可以听到它,就像声音是在场景中传播一样。

0

  1. This post has no comment yet

发表回复

您的邮箱地址不会被公开。 必填项已用 * 标注