(
映维网
2020年08月28日
)近期美国专利及商标局公布了一批全新的AR/VR专利,以下是映维网的整理(详情请点击专利标题),一共37篇。更多专利披露请访问映维网专利板块
https://patent.nweon.com/
进行检索,你同时可以加入映维网AR/VR专利交流微信群。
1. 《
Magic Leap Patent | Blue Light Adjustment For Biometric Security(Magic Leap专利:用于安全生物识别的蓝光调整)
》
专利描述了提供了一种利用可穿戴显示系统进行蓝光调节的系统和方法。一个实施例可以包括接收暴露于蓝光的眼睛图像;对比接收的眼睛图像与第一图像,从而检测瞳孔反应的变化;确定瞳孔反应是否对应于人类个体的生物特征;根据确定允许其访问生物识别应用程序。
2. 《
Magic Leap Patent | Virtual And Augmented Reality Systems And Methods(Magic Leap专利:虚拟现实和增强现实系统及方法)
》
专利描述了一种制造液晶器件的方法,所述方法包括在基板沉积一层液晶材料,以及使用压印模板在液晶材料层压印图案。可以对液晶材料进行喷射沉积。压印模板可以包括表面浮雕特征、Pancharatnam-Berry Phase Effect (PBPE) 结构或衍射结构。所述方法制造的液晶器件可用于操纵光,如用于光束控制、分离波长和/或偏振、以及组合不同波长和/或偏振等。
3. 《
Facebook Patent | Head Mounted Display With Wide Field Of View And Inset Display(Facebook专利:具有宽视场和嵌入式显示器的头显)
》
专利描述了具有宽视场的显示器。透明显示器提供具有比所述宽视视场窄的视场的嵌入显示光。在入射到头显用户的眼睛之前,显示光的至少一部分通过透明显示器传播。
4. 《
Facebook Patent | Tracking Positions Of Portions Of A Device Based On Detection Of Magnetic Fields By Magnetic Field Sensors Having Predetermined Positions(Facebook专利:根据通过具有预定位置的磁场传感器所检测到的磁场来追踪设备的位置)
》
专利描述的可穿戴装置包括多个磁场发生器。所述磁场发生器发射磁场,所述磁场由具有彼此已知位置的多个磁场传感器感测。所述可穿戴设备可具有放置在与手指和手掌部分相对应的追踪点的磁场发生器,以及位于预定位置的磁场传感器。位置分析器根据磁场传感器的输出信号确定手掌追踪点,以及手指追踪点的空间位置。根据所确定的空间位置,手势识别系统确定相对应的手势。
5. 《
Facebook Patent | Super-Resolution Scanning Display For Near-Eye Displays(Facebook专利:用于近眼显示器的超级分辨率扫描显示器)
》
专利所述的扫描显示器包括光源,调节组件和扫描镜组件。光源配置为从沿着第一维度形成的多列发射器发射源光。调节组件接收并调节光源。扫描镜组件沿第二维度扫描调节后的光,以在第一位置生成图像的一部分。
6. 《
Facebook Patent | Corrective Optics For Reducing Fixed Pattern Noise In Head Mounted Displays(Facebook专利:减少头戴式显示器固定图案噪点的校正光学元件)
》
电子显示组件包括显示元件和耦合到显示元件的校正元件。显示元件具有第一类型的第一多个子像素和第二类型的第二多个子像素。第一多个子像素的两个相邻子像素由子像素距离分隔开。校正元件具有多个特征,其配置成漫反射由第一多个子像素发射的光,使得在第一类型的两个相邻子像素之间的视距离小于子像素距离。
7. 《
Facebook Patent | Near-Eye Display System Having Optical Combiner(Facebook专利:具有光学合路器的近眼显示系统)
》
专利描述了一种光波导。所述光波导包括基底结构和设置在所述基底结构上的多个光栅结构。光栅结构包括多个耦入光栅结构,其配置成将多个光耦合到光波导中。所述光栅结构同时包括多个耦出光栅结构,所述多个耦出光栅结构配置成将光耦出光波导。
8. 《
Facebook Patent | Variable-Etch-Depth Gratings(Facebook专利:可变蚀刻深度光栅)
》
专利描述的技术可用于制造直的或倾斜的可变刻蚀深度光栅。一种用于在基底中制造可变刻蚀深度光栅的光刻胶材料对波长小于300nm的光敏感,其蚀刻速率与基底的蚀刻速率相当。包括光刻胶材料的光刻胶材料层的暴露部分深度与曝光剂量相关。对厚度不均匀的光刻胶材料层和底层基底采用直刻蚀或斜刻蚀工艺,从而在基底形成直刻蚀或斜刻蚀的可变刻蚀深度光栅。
9. 《
Microsoft Patent | Mixed-Reality Guide Data Collection And Presentation(微软专利:混合现实指南数据收集和演示)
》
专利描述的技术通常用于混合现实装置。在一个实施例中,混合现实装置能够在提供混合现实视图的同时操作第一混合现实指南。例如:当第一混合现实指南导航到步骤集合的一个步骤时,混合现实视图包括将要执行与步骤相关工作的全息图。根据至少第一混合现实指南的使用,接收混合现实数据。混合现实数据包括为第一混合现实指南的至少一个步骤收集的空间遥测数据。第一混合现实指南能够根据混合现实数据进行修改。
10. 《
Microsoft Patent | Ergonomic Mixed Reality Step-By-Step Instructions Tethered To 3d Holograms In Real-World Locations(微软专利:为叠加在现实世界位置的3D全息图提供符合人体工学的混合现实步骤式指令)
》
专利描述的技术通常用于混合现实装置。在一个实施例中,向操作员提供混合现实视图,其中混合现实视图包括操作员的真实世界环境和全息图。操作员能够在任务的多个步骤之间导航,使得当操作员导航到任务的一个步骤时,混合现实视图纳入与所述步骤相关联的至少一个指令。混合现实视图包括将要执行与步骤相关工作的全息图。混合现实视图持续地纳入相关信息与现实世界位置的视觉系链。
11. 《
Microsoft Patent | Mixed Reality Spatial Instruction Authoring And Synchronization(微软专利:混合现实空间指令创作与同步)
》
专利描述的技术通常用于混合现实装置。在一个实施例中,作者可以将指南与真实环境相匹配。作者至少可以为指南的一个步骤编辑混合现实视图。作者可以查看与步骤关联的混合现实视图。混合现实视图包括现实世界环境和全息元素。作者可以将全息指示卡放置在真实世界环境中的某个位置。全息指示卡包括与步骤相关联的至少一个文本指令。作者可以将第一三维全息图放置在真实世界环境中的另一个位置。作者能够在混合现实视图中编辑第一三维全息图的至少一个视觉元素。
12. 《
Microsoft Patent | Ergonomic Mixed Reality Information Delivery System For Dynamic Workflows(微软专利:用于动态工作流的人体工学混合现实信息传递系统)
》
专利描述的技术通常用于混合现实装置。在一个实施例中,向操作员提供混合现实视图。混合现实视图包括真实世界环境和全息元素。当操作员导航到任务的一个步骤时,混合现实视图纳入步骤卡,步骤卡包括至少一个与步骤相关联的指令。操作员可以调整与步骤卡关联的状态。进行与操作员注视点相关联的注视确定;并且响应于注视确定,步骤卡移动到与操作员所注视的真实世界相关位置。
13. 《
Microsoft Patent | Connecting Spatial Anchors For Augmented Reality(微软专利:连接增强现实空间锚)
》
专利描述的计算设备配置成通过摄像头捕捉成像第一物理世界位置的第一图像数据;根据第一图像数据创建第一物理世界位置的第一空间表示;接收定义第一虚拟空间锚定点的姿态的用户输入;追踪用户移动到第二物理世界位置;捕获成像第二物理世界位置的第二图像数据;接收定义第二虚拟空间锚定点的姿态的用户输入;发送到远程计算设备;表示第一空间表示、第一空间锚定点的姿态、第二空间表示、第二空间锚定点的姿态,以及第一和第二空间锚定点之间的位置关系数据。
14. 《
Microsoft Patent | Automatic Orientation For Mixed Reality Information Delivery System(微软专利:用于混合现实信息传输系统的自动定位)
》
在技术的一个实施例中,向操作者提供混合实景视图。混合实境视图包括操作者的真实世界环境和全息元素。全息元素包括至少第一全息图。第一全息图用第一全息图菜单显示,使得第一全息图菜单包括与第一全息图相关联的可见可选菜单选项。在混合现实视图中,当操作者移动时,第一全息图菜单旋转以面对操作者,使得第一全息图菜单以曲线方式围绕第一全息图旋转,如同第一全息图菜单旋转一样。响应于操作者在第一全息图菜单的选择,混合实景视图中的第一全息图根据选择而改变。
15. 《
Microsoft Patent | Mixed Reality Device Gaze Invocations(微软专利:混合现实设备注视调用)
》
专利描述的技术通常用于混合现实、增强现实和/或虚拟现实设备。在一个实施例中,将第一全息图显示给具有与第一可选选项相关联的第一注视选择区域的操作员。评估与操作者的注视点相关联的注视位置。响应于与第一全息图的第一注视选择区域一致的注视位置,开始第一注视停留计时器。根据位于特定部分中的注视位置来调整第一注视停留计时器的总持续时间。响应于注视停留计时器完成,选择第一个可选择的选项。
16. 《
Microsoft Patent | Mixed Reality Intelligent Tether For Dynamic Attention Direction(微软专利:用于动态注意力引到的混合现实智能系链)
》
专利描述的技术通常用于混合现实装置。在一个实施例中,向操作员提供混合现实视图。混合现实视图包括真实世界环境和全息元素。混合现实视图包括到系链位置的可视系链。进行与操作者的注视点相关联的注视确定。响应于注视的确定,视觉系链产生脉冲。
17. 《
Microsoft Patent | Displaying Holograms Via Hand Location(微软专利:通过手部位置显示全息图)
》
在一个示例中,计算设备致使显示系统显示与全息体相关联的全息对象,所述全息对象遮挡未显示的被遮挡全息对象。从传感器接收手的至少一部分的位置数据。手的位置数据用于定位全息体中的切片平面或切片体。根据切片平面或切片体的位置,通过显示系统显示被遮挡全息对象的至少一部分。
18. 《
Microsoft Patent | Device Mount For Mixed-Reality Capture(微软专利:用于混合现实捕捉的设备坞)
》
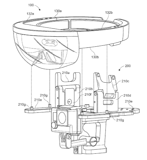
专利描述的设备包括固定支撑可穿戴设备的第一支撑件,所述可穿戴设备包括基本透明的显示屏;物理耦合到第一支撑件,并用于支撑摄像头的第二支撑件;以及物理耦合到第一支撑件和对于第二支撑件,并用于将设备可拆卸地连接到摄像头支撑系统的接口。
19. 《
Microsoft Patent | Hmd Visor Assembly(微软专利:头显遮阳板组件)
》
专利描述的头显遮阳板组件包括一个模制的遮阳板,遮阳板耦合到面向用户的槽。遮阳板包括耦合到红外光发射部分的红外光不透明部分和可见光不透明部分。槽包括允许红外光发射部分,但不包括可见光不透明部分和可见光法神部分。
20. 《
Microsoft Patent | Micro Led Display System(微软专利:MicroLED显示系统)
》
MicroLED阵列为头显图像源提供了一个小尺寸的解决方案,因为它们不需要单独的照明光学元件。专利描述了一种MicroLED显示系统,所述系统包含多个单色投影仪以生成三个单色图像,并将其分别输入到头显的单个波导中,然后组合成一个图像,显示给用户。
21. 《
Microsoft Patent | Integrated Depth Sensor Window Lens And Method(微软专利:集成深度传感器窗口透镜和方法)
》
专利描述了一种制作集成深度传感器窗口透镜的方法,如用于增强现实头显的深度传感器窗口透镜。所述深度传感器窗口透镜包括由不透明挡板隔开的传感器透镜和照明透镜。所述方法使用两次注射成型工艺,第一次注射包含光学透明聚合物材料以形成传感器透镜和照明透镜,第二次注射包含不透明聚合物材料以形成二者的分离器。
22. 《
Apple Patent | Point Cloud Geometry Compression(苹果专利:点云几何压缩)
》
专利描述的设备包括配置为压缩包括多个点的点云的编码器,其中每个点包括该点的空间信息。编码器配置为对点进行二次采样并确定二次采样点的细分位置。编码器配置为针对各个细分位置确定是否要相对于细分位置包含,不包含或重新定位点。编码器对子采样点的空间信息进行编码,并对细分位置点的包含/重定位信息进行编码,以生成压缩点云。解码器根据包含/重定位信息来重新创建原始点云的原始或近似副本。
23. 《
Apple Patent | Rendering Objects To Match Camera Noise(苹果专利:匹配摄像头噪点的对象渲染)
》
对于专利描述的各种实现,其使用与虚拟内容图像中的噪点相似或更优匹配的噪点来渲染虚拟内容。一些实现包括识别图像的噪点数据,根据噪点数据创建参数化噪点模型,使用参数化噪点模型生成近似于图像的噪点图案,然后渲染内容,所述内容包括基于所述噪点图案添加噪点的图像和虚拟内容。
24. 《
Apple Patent | Point Cloud Occupancy Map Compression(苹果专利:点云占用映射压缩)
》
专利描述的一种系统包括:编码器,其配置为压缩点云的属性信息和/或空间;和/或解码器,其配置为解压缩点云的压缩属性和/或空间信息。为了压缩属性和/或空间信息,编码器配置为将点云转换为基于图像的表示。另外,解码器配置为根据基于图像的表示来生成解压缩的点云。块/子块组织基模编码用于压缩点云的占用映射的块和子块。根据块/子块是否包含patch,将二进制值分配给块/子块。选择遍历路径,其利用运行长度编码策略来减小占用映射的大小。
25. 《
Apple Patent | Movement Within An Environment(苹果专利:在环境中的运动)
》
从第一位置显示计算机生成现实(CGR)环境的放大部分和未放大部分。响应于接收输入,在第二位置以小于所述放大部分的放大倍数,以及大于所述放大部分视场的视场来显示CGR环境的第二放大部分。在第三位置以大于第二放大部分视场的视场显示CGR环境的第一未放大部分。
26. 《
Apple Patent | Adjustable Lens Systems(苹果专利:可调透镜系统)
》
专利描述的可调透镜可以是液晶透镜。头显的摄像头和其他传感器可以监视用户的眼睛并收集其他信息。头显中的控制电路可根据用户眼睛的测量特性来控制可调节透镜。控制电路可以使两个可调透镜之间的距离与测量的瞳孔间距相匹配,并且可以将透镜中心与测量的视角对准。可调透镜可具有透明电极,其由控制电路提供时变控制信号。
27. 《
Google Patent | Video Frame Codec Architectures(谷歌专利:视频帧编解码器架构)
》
专利描述了的技术和装置可用于视频帧编解码器架构。帧解压缩器解压缩压缩帧,以产生解压缩帧。帧解压缩器控制组件调解对帧解压缩器的共享访问。片上系统的多个核心请求通过帧解压缩器控制组件从帧解压缩器接收解压缩帧。帧解压缩器控制组件可以实现请求队列,并且可以根据请求或请求优先级来对请求的服务进行排序。帧解压缩器控制组件同时可以建立用于多个核心访问的时间共享协议。在一些实施例中,视频解码器与帧解压缩器进行逻辑集成,并将解压缩帧的一部分存储在视频缓冲器中,并且显示控制组件使用同步机制检索用于显示的部分。通过类似的方式,帧压缩器控制组件调解多个核心对帧压缩器的共享访问。
28. 《
Google Patent | Directing User Attention(谷歌专利:引导用户注意力)
》
专利描述了通过插入内容引起用户注意的系统和方法。例如,插入的内容可以包括插入到物理空间中的增强现实内容或物理空间的表示,例如图像。示例性系统和方法可以包括接收图像并识别要在图像显示的内容。所述系统和方法同时可以包括识别图像内用于显示内容的位置和识别内容的关注点。另外,示例系统和方法可以包括,根据注视点来触发叠加在图像的内容的显示,使用第一着色参数渲染所述内容,以及使用第二着色参数渲染以外的内容。
29. 《
Google Patent | Positional Recognition For Augmented Reality Environment(谷歌专利:增强现实环境的位置识别)
》
一种方法包括:在第一设备中接收物理标记的相对描述文件,所述相对描述文件定义每个物理标记相对于至少另一个物理标记的相对位置;首先,通过使用第一设备的图像传感器捕获任意一个第一物理标记,从而定位第一设备的位置;并且,识别任意一个第二物理标记和第二物理标记的位置,使用相对描述文件识别第二物理标记。
30. 《
Google Patent | Shadows For Inserted Content(谷歌专利:用于插入性内容的阴影)
》
专利描述了为插入性内容生成阴影的系统和方法。插入性内容可以包括插入至物理空间图像中的增强现实内容。示例方法可以包括确定图像内的可插入位置。插入内容可以包括来自骨骼动画系统的骨架关节。所述示例方法可以包括,根据骨架关节在平面生成边界框,并基于骨架关节确定平面的阴影中心点位置。例如,可以基于图像识别平面。所述示例方法同时可以包括,根据边界框和阴影中心点位置在平面生成阴影实体,并且使用至少部分地基于阴影中心点位置而确定的像素值来渲染阴影实体。
31. 《
Google Patent | Shake Event Detection System(谷歌专利:抖摇事件检测系统)
》
在一个实施例中,示例性方法包括由一个或多个计算设备接收指示用于引起虚拟camera运动的用户输入的数据。所述方法同时包括,一个或多个计算设备至少部分地根据所述虚拟camera的运动来检测与用户接口相关联的抖摇事件。在所述用户界面中,至少包括一个或多个与所述操作相关联的设备执行所述操作。
32. 《
Qualcomm Patent | Augmented Reality Language Translation(高通专利:增强现实语言翻译)
》
专利描述了语言翻译的方法、系统和设备。专利描述的设备可以识别来自增强现实环境的声音信号。声音信号可以包括语言的表示。响应于声音信号的接收,设备可部分基于声音信号的一组测量值,并将来自至少一组特征的一个或多个特征应用于声音信号的输出,并在设备提供声音信号的自然呈现。
33. 《
Qualcomm Patent | Systems And Methods For Providing Immersive Extended Reality Experiences On Moving Platforms(高通专利:在移动平台提供沉浸式扩展现实体验的系统和方法)
》
专利描述了在移动平台上提供用于沉浸式扩展现实体验的系统、方法和计算机可读媒体。在一个示例中,所述方法可以包括从移动平台的一个或多个传感器获得传感器测量值,传感器测量值包括与移动平台和用户相关联的运动参数;识别移动平台和移动平台外部环境的特征;使用传感器测量值追踪移动平台相对于外部环境的第一姿态;使用传感器测量值追踪用户相对于移动平台的至少一个特征的第二姿态;以及根据第一姿态和第二姿态,追踪相对于移动平台外部环境的至少一个特征的用户第三姿态。
34. 《
Sony Patent | Transfer Function Dataset Generation System And Method(索尼专利:传递函数数据集生成系统和方法)
》
专利描述了用于生成头相关传递函数HRTF数据集的系统。所述系统包括HRTF数据集选择单元,所述单元可用于选择两个或多个HRTF数据集。所述系统同时包括一个特征识别单元,其用于识别所选HRTF数据集的特征。所述系统同时包括HRTF数据集修改单元,其用于根据HRTF数据集的已识别特征中的偏差来修改一个或多个HRTF数据集的一个或多个元素。所述系统同时包括一个HRTF数据集生成单元,所述HRTF数据集生成单元可用于生成至少包含所述修改的HRTF元素的HRTF数据集。
35. 《
Sony Patent | Optimized Shadows In A Foveated Rendering System(索尼专利:注视点渲染系统中的优化阴影)
》
专利描述了一种实现图形管道的方法。所述方法包括建立高分辨率的第一阴影贴图,以及基于低分辨率的第一阴影贴图建立第二阴影贴图。所述方法包括确定影响虚拟场景的光源,以及从第一视点将虚拟场景的对象几何图形投影到显示器的多个像素上。所述方法包括在渲染图像时确定注视点区域。所述方法包括确定将第一组几何图形绘制到第一像素,根据光源确定第一组几何图形处于阴影中,并且确定第一组几何图形位于注视点区域之外。所述方法包括使用第二个阴影贴图渲染第一组几何体。
36. 《
Sony Patent | Display Control Apparatus, Display Control Method, And Recording Medium(索尼专利:显示控制装置,显示控制方法和记录介质)
》
专利描述的显示控制装置包括:头戴式显示信息获取模块,其配置成获取指示头显位置的信息;输入装置信息获取模块,其配置成获取指示输入装置的位置信息以供用户使用;指令输入获取模块,其配置成获取指示输入到输入装置中的指令的信息;以及图像生成模块,其配置成根据指令生成显示在头显的图像。
37. 《
Sony Patent | Transactional Memory Synchronization(索尼专利:事务性内存同步)
》
专利描述了一种在线游戏服务,所述在线游戏服务具有两个或多个服务器,所述两个或多个服务器位于两个或多个数据中心中。其包括:跨两个或多个服务器实现的事务层,其用于处理由两个或多个服务器分别执行的游戏的不同会话之间的同步。其中,游戏的不同会话分别配置为通过各自的客户端设备来提供对虚拟空间的浏览。事务层配置为识别提供虚拟空间的邻近区域浏览的会话,并对所标识的会话进行事务性内存同步,以便在每个标识的会话中同步由会话生成的虚拟空间中的事件。
0