/ Nweon / 0浏览

Facebook新AR专利提出用于近眼波导显示器的VBG体布拉格光栅



映维网
2020年07月20日

)对于增强现实领域,衍射光栅是常用的耦入器和耦出器,而主要的类型包括表面浮雕光栅(Surface-Relief Gratings)和体布拉格光栅(Volume Bragg Gratings;VBG)。

表面浮雕光栅是指在光波导表面雕刻出光栅。由于折射率和色彩表现可以,以及光电子及相关产业的技术积累,量产成本较低,表面浮雕光栅目前主导了AR眼镜市场。例如,
微软
HoloLens

Magic Leap
都采用了SRG。

体布拉格光栅是通过紫外光的热加工作用,引起光敏玻璃折射率的永久性改变,从而在其内部形成一定规律的折射率分布。

体布拉格光栅有着高光谱选择性和卓越的透明质量,但光谱选择性导致显示光利用效率较低,而且它们对诸如温度或湿度等环境刺激相对更为敏感。

正在大力发展VBG的包括
苹果
收购的Akonia和DigiLens等公司。根据映维网的专利跟踪,Facebook同样开始积极地探索VBG在AR头显/眼镜方面的应用。

美国专利商标局在2020年已经公布了两份与之相关的专利申请。第一份是于2018年10月提交,并在今年4月公布的
“Waveguide Including Volume Bragg Gratings(包含体布拉格光栅的波导)”
;第二份则是在2019年12月提交,并在7月公布的
“Volume Bragg Gratings For Near-Eye Waveguide Display(用于近眼波导显示器的体布拉格光栅)”

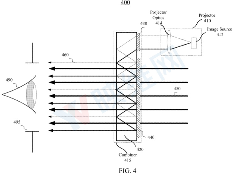
对于在日前公布的“Volume Bragg Gratings For Near-Eye Waveguide Display”专利申请,Facebook主要描述了一种用于近眼波导显示器的体布拉格光栅。

专利描述的波导显示器包括对可见光透明的基板;配置成将显示光耦合到基板中以使得显示光通过全内反射而在基板内传播的耦合器;位于基板之上的第一复用VBG和第二复用VBG。第二复用VBG与第一复用VBG在波导显示器的至少一个透明区域内重叠。第一复用VBG配置成将显示光衍射到第二复用VBG的两个或多个区域,并且第二复用VBG配置成将显示光衍射到波导显示器的视窗的两个或多个区域。

在一些实施例中,第一多路复用VBG可以包括通过少于100次曝光记录的少于100个VBG,如通过少于50次曝光记录的少于50个VBG。在一些实施例中,第一复用VBG厚度小于100μm,如小于50μm。第二复用VBG可以包括通过少于100次曝光记录的少于100个VBG,如通过少于50次曝光记录的少于50个VBG。

在一些实施例中,波导显示器同时可以包括位于基板之上的第三复用VBG,第三复用VBG可以配置成衍射耦合到第一复用VBG中的显示光。在一些实施例中,第三复用VBG可以包括多个VBG,其中每个VBG可以具有与第一个复用VBG中的各个VBG的光栅矢量相同的各自光栅矢量。在一些实施例中,第一多路复用VBG和第三多路复用VBG通过相同次数的曝光记录。

在一些实施例中,波导显示器可进一步包括基板之上的第三复用VBG和第四复用VBG。第三多路复用VBG可配置成衍射耦合到第一复用VBG的显示光的第一部分。第四多路复用VBG可以配置成衍射耦合到第一复用VBG的显示光的第二部分。在一些实施例中,显示光的第一部分和第二部分可以对应于不同的波长范围或不同的视场。在一些实施例中,第一多路复用VBG可以包括第一组VBG和第二组VBG。第三多路复用VBG可以包括第三组VBG,其中第三组VBG中的每个VBG可以具有与第一组VBG中的相应VBG的光栅矢量相同的各自光栅矢量。第四复用VBG可以包括第四组VBG,其中第四组VBG中的每个VBG可以具有与第二组VBG中的相应VBG的光栅矢量相同的各自光栅矢量。第一组VBG和第二组VBG可以在第一多路复用VBG的不同区域中。在一些实施例中,第三复用VBG和第四复用VBG可以在基板表面的不同区域中,或者位于基板的不同层或表面上。

在波导显示器的一些实施例中,耦合器可以包括衍射耦合器、折射耦合器或反射耦合器。在一些实施例中,第一复用VBG可以配置成在第一方向上扩展显示光,并且第二复用VBG可以配置成在第二方向上扩展显示光。

使用波导显示器显示图像的方法可以包括,通过耦合器将显示光耦合到对可见光透明的基板中;通过基板引导显示光在基板内传播;通过第一复用VBG的两个或多个区域将显示光衍射到第二复用VBG的两个或多个区域;并且,通过第二复用VBG的两个或多个区域将来自第一复用VBG的显示光衍射到波导显示器的视窗的两个或多个区域。在波导显示器的至少一个透明区域中,第二复用VBG可以与第一复用VBG重叠。

在一些实施例中,所述方法可以包括第三复用VBG将第一波长范围内显示光的衍射到第一多路复用VBG,并且第四多路复用VBG将第二波长范围内显示光的衍射到第一多路复用VBG。

在一些实施例中,将第一波长范围内的显示光衍射到第一复用VBG可以包括将第一波长范围内的显示光衍射到第一复用VBG的第一区域。将第二波长范围内的显示光衍射到第一复用VBG可以包括将第二波长范围内的显示光衍射到第一复用VBG的第二区域。


相关专利


Volume Bragg Gratings For Near-Eye Waveguide Display

需要注意的是,“Volume Bragg Gratings For Near-Eye Waveguide Display(用于近眼波导显示器的体布拉格光栅)”的文件只是一份专利申请,尚不确定Facebook是否会或将于何时商业化所述的发明技术。

0

  1. This post has no comment yet

发表回复

您的邮箱地址不会被公开。 必填项已用 * 标注