/ Nweon / 0浏览

2020年06月19日美国专利局新申请AR/VR专利报告



映维网
2020年06月17日

)近期美国专利及商标局公布了一批全新的AR/VR专利,以下是映维网的整理(详情请点击专利标题),一共38篇。更多专利披露请访问映维网专利板块
https://patent.nweon.com/
进行检索,也可加入映维网AR/VR专利交流微信群。


1. 《
Magic Leap Patent | Mixed Reality Spatial Audio(Magic Leap专利:混合现实空间音频)

专利描述了一种向混合现实环境用户呈现音频信号的方法。检测与混合现实环境相关联的音频事件。音频事件与第一音频信号相关联。确定用户相对于混合现实环境的位置。识别与用户的位置相关联的声学区域。确定与第一声学区域相关联的第一声学参数。使用第一声学参数确定传递函数。传递函数被应用于第一音频信号以产生第二音频信号,然后将其呈现给用户。


2. 《
Magic Leap Patent | Systems And Methods For Sign Language Recognition(Magic Leap专利:手语识别系统和方法)

用于混合现实设备的传感眼戴系统可以促进用户与其他人或环境的交互。作为一个示例,传感眼戴系统可以识别和解释手语,并将翻译后的信息呈现给混合现实设备的用户。可穿戴式系统同时可以在用户环境中识别文本,修改文本,以及渲染修改后的文本并用气遮挡原始文本。


3. 《
Magic Leap Patent | Systems And Methods For Augmented Reality(Magic Leap专利:用于增强现实的系统和方法)

发明所述的增强现实显示系统包括电磁场发射器,用于在已知的坐标系中发射已知的磁场。系统同时包括电磁传感器,用于测量与已知磁场产生的磁通量相关参数。系统同时包括深度传感器,用于测量已知坐标系中的距离。另外,系统包括控制器,用于至少部分地根据磁通量相关参数和由测量距离来确定电磁传感器相对于电磁场发射器的姿势信息。另外,系统包括显示系统,用于至少部分地根据姿势信息来向用户显示虚拟内容。


4. 《
Facebook Patent | Optical Microphone For Eyewear Devices(Facebook专利:用于眼戴设备的光学麦克风)

专利描述的音频系统包括换能器组件、光学传感通路、激光器、检测器组件和控制组件。换能器组件耦合到用户耳朵,并根据音频指令产生声波压力波。光学传感通路至少部分地随着检测到的声波压力波而移动。激光器发出的光分离成参考光束和传感光束,参考光束耦合到光学传感通路中。检测到的声波压力波与传感光束相互作用以改变光路长度。检测器组件从光学传感通路检测参考光束和传感光束,并根据参考光束和传感光束之间的光路长度变化来测量检测到的声波压力波。控制组件根据声波压力波的测量结果调整音频指令。


5. 《
Facebook Patent | Dynamically Programmable Image Sensor(Facebook专利:动态可编程图像传感器)

专利描述的设备包括:包含像素单元阵列、具有光电二极管和用于生成图像数据的电路的像素单元、形成在第一半导体基板中的光电二极管的图像传感器;以及形成在一个或多个第二半导体基板中的控制器。所述第二半导体基板包括像素单元阵列的电路,所述第一和第二半导体基板形成堆叠并封装在半导体封装内。控制器配置成:确定由图像传感器生成的第一图像数据是否包含对象特征;根据第一图像数据是否包含对象的特征,生成图像传感器的编程信号;并且根据编程信号控制图像传感器生成第二图像数据。


6. 《
Facebook Patent | Programmable Pixel Array(Facebook专利:可编程像素阵列)

专利描述了用于执行光测量的方法和系统。在一个示例中,一种装置包括像素单元阵列,所述像素单元阵列中的每个像素单元配置为执行光测量操作,并生成光测量操作的数字输出。所述装置同时包括外围电路。外围电路配置为:接收包括针对每个像素单元的编程数据的像素阵列编程图,以及根据针编程数据在每个像素单元配置光测量操作。所述装置同时包括图像处理器,所述图像处理器配置为根据像素单元阵列的数字输出来生成图像帧。


7. 《
Facebook Patent | Reduction Of Surface Recombination Losses In Micro-Leds(Facebook专利:减少Micro-LED的表面复合损耗)

专利描述了用于减少Micro-LED表面复合损耗的系统和方法。在一些实施例中,一种方法包括在半导体层外部区域注入离子,从而减少横向流子扩散。半导体层包括有源发光层。半导体层耦出表面的直径小于10μm。半导体层的外部区域从半导体层外表面延伸到半导体层的中心区域,所述中心区域在离子注入期间被掩模遮蔽。


8. 《
Facebook Patent | Holographic Pattern Generation For Head-Mounted Display (Hmd) Eye Tracking Using A Prism Array(Facebook专利:用棱镜阵列为头显眼动追踪生成全息图案)

专利描述了一种用于制作全息介质的系统,所述系统包括配置成提供光的光源和配置成将光分离成光线第一部分和光线第二部分的分束器。系统同时包括配置成传输光线第一部分以为光学可记录介质提供第一宽场光束的第一组光学元件;配置成将传输光线第二部分以为光学可记录介质提供第二宽场光束的第二组光学元件;以及与第二组光学元件耦合并配置成接收第二宽场光束,同时将多个独立的光图案投射到光学可记录介质以形成全息介质的多个棱镜。


9. 《
Facebook Patent | Holographic Pattern Generation For Head-Mounted Display (Hmd) Eye Tracking Using A Lens Array(Facebook专利:用透镜阵列为头显眼动追踪生成全息图案)

专利描述了一种用于制作全息介质的系统,所述系统包括配置成提供光的光源和配置成将光分离成光线第一部分和光线第二部分的分束器。系统同时包括配置成传输光线第一部分以为光学可记录介质提供第一宽场光束的第一组光学元件;配置成将传输光线第二部分以为光学可记录介质提供第二宽场光束的第二组光学元件;以及与第二组光学元件耦合并配置成接收第二宽场光束,同时将多个独立的光图案投射到光学可记录介质以形成全息介质的多个透镜。


10. 《
Facebook Patent | Holographic Pattern Generation For Head-Mounted Display (Hmd) Eye Tracking Using A Fiber Exposure(Facebook专利:用光纤为头显眼动追踪生成全息图案)

专利描述了一种用于制作全息介质的系统,所述系统包括配置成提供光的光源和配置成将光分离成光线第一部分和光线第二部分的分束器。系统同时包括配置成传输光线第一部分以为光学可记录介质提供第一宽场光束的第一组光学元件;配置成将传输光线第二部分以为光学可记录介质提供第二宽场光束的第二组光学元件;以及与第二组光学元件耦合并配置成接收第二宽场光束,同时将多个独立的光图案投射到光学可记录介质以形成全息介质的多个光纤。


11. 《
Facebook Patent | Holographic Pattern Generation For Head-Mounted Display (Hmd) Eye Tracking Using A Diffractive Optical Element(Facebook专利:用衍射光学元件为头显眼动追踪生成全息图案)

专利描述了一种用于制作全息介质的系统,所述系统包括配置成提供光的光源和配置成将光分离成光线第一部分和光线第二部分的分束器。系统同时包括配置成传输光线第一部分以为光学可记录介质提供第一宽场光束的第一组光学元件;配置成将传输光线第二部分以为光学可记录介质提供第二宽场光束的第二组光学元件;以及与第二组光学元件耦合并配置成接收第二宽场光束,同时将多个独立的光图案投射到光学可记录介质以形成全息介质的多个衍射光学元件。


12. 《
Facebook Patent | Holographic Pattern Generation For Head-Mounted Display (Hmd) Eye Tracking Using An Array Of Parabolic Mirrors(Facebook专利:用抛物面镜为头显眼动追踪生成全息图案)

专利描述了一种用于制作全息介质的系统,所述系统包括配置成提供光的光源和配置成将光分离成光线第一部分和光线第二部分的分束器。系统同时包括配置成传输光线第一部分以为光学可记录介质提供第一宽场光束的第一组光学元件;配置成将传输光线第二部分以为光学可记录介质提供第二宽场光束的第二组光学元件;以及与第二组光学元件耦合并配置成接收第二宽场光束,同时将多个独立的光图案投射到光学可记录介质以形成全息介质的多个抛物面镜。


13. 《
Facebook Patent | Wide-Field Holographic Pattern Generation For Head-Mounted Display (Hmd) Eye Tracking(Facebook专利:用于头显眼动追踪的宽场全息图案生成)

一种方法包括提供来自光源的光,并将光分离为光线第一部分和光线第二部分。所述方法同时包括通过第一组光学元件发射光线第一部分以提供第一宽场光束,通过第二组光学元件发射光线第二部分以提供第二宽场光束,以及通过第三组光学元件发射第二宽场光束以提供多个单独的光图案。所述方法同时包括将第一宽场光束和多个单独的光图案同时投影到光学可记录介质以形成全息介质。


14. 《
Facebook Patent | Optical System Using Segmented Phase Profile Liquid Crystal Lenses(Facebook专利:使用分段相位剖面液晶透镜的光学系统)

专利描述的光学系统包括电子显示器、自适应透镜组件和
眼动追踪
装置。电子显示器为光学系统的用户显示虚拟场景;自适应透镜组件在电子显示器和用户眼睛之间光学地耦合到电子显示器;眼动追踪装置提供用户眼睛的眼动追踪信息。自适应透镜组件包括排列成阵列的多个可调节液晶透镜,并且可调节液晶透镜根据眼动追踪信息单独激活。


15. 《
Facebook Patent | Waveguide With Coherent Interference Mitigation(Facebook专利:具有相干干扰抑制的波导)

专利描述了一种适合与相干光源一起工作的光瞳复制波导。波导体具有用于引导成像光光束的相对表面。耦出元件设置在光束的光路中。电极耦合到波导体的至少一部分,并用于调制光束的光程长度,从而在由耦出元件耦合的光束输出部分之间产生时变相位延迟。


16. 《
Facebook Patent | Display Having Expanded Field Of View With Selectable Optical Element(Facebook专利:通过可选择光学元件来扩展视场的显示器)

头显包括第一显示像素、第二显示像素和第三显示像素。第二显示像素布置在第一显示像素和第三显示像素之间。第一显示像素和第二显示像素在用户第一眼睛的第一视场内,第二显示像素和第三显示像素在用户第二眼睛的第二视场内。可选择光学元件驱动至第一状态和第二状态,并使得来自第二显示像素的第二显示光在第一时间段对第一眼睛可见,并且在第二时间段对第二眼睛可见,从而扩展用户视场。


17. 《
Facebook Patent | Holographic In-Field Illuminator(Facebook专利:全息场内照明器)

专利描述的眼动追踪系统包括全息照明器和检测器。全息照明器包括配置成提供光的光源,以及与光源光学耦合的全息介质。全息介质配置成接收从光源提供的光,并同时向眼睛投射多个独立的光图案。检测器配置成检测从眼睛反射的多个独立光图案的至少一个子集的反射,从而确定眼睛瞳孔的位置。


18. 《
Facebook Patent | Angle Compensating Lens And Display(Facebook专利:角度补偿透镜和显示器)

显示器包括显示像素阵列和光弯曲组件。显示像素阵列配置为产生显示光。光弯曲组件设置在显示像素阵列上,接收显示光并生成补偿显示光。光弯曲组件根据光入射到光弯曲组件的入射位置来弯曲显示光的给定光线。


19. 《
Microsoft Patent | Pupil Expander With Improved Color Uniformity(微软专利:改善了颜色均匀度的光瞳扩展器)

光波导包括一个或多个upstream衍射光栅以及重叠的第一和第二downstream衍射光栅。一个或多个upstream衍射光栅包括第一upstream衍射光栅,其配置成接收显示光并释放沿第一轴扩展的显示光。第一和第二downstream衍射光栅配置成接收沿第一轴扩展的显示光,并协同释放沿第二轴进一步扩展的显示光。第一downstream衍射光栅设置在光波导的平面上,并且进一步配置成沿着第一轴进一步扩展显示光。


20. 《
Microsoft Patent | Natural Language Input Disambiguation For Spatialized Regions(微软专利:用于空间化区域的自然语言输入消歧)

专利描述的计算系统包括配置成执行一个或多个程序的处理器。处理器配置为通过自然语言输入从用户接收命令。处理器配置成识别用户视场内或其邻近的一组候选对象,所述组候选对象具有可在其上执行命令的相关空间化区域。处理器配置为使用与候选对象相关联的视觉或音频指示器,并查询用户以获得消歧输入。处理器配置为从选择目标对象的用户接收消歧输入,对目标对象执行命令。处理器配置成使用消歧输入和关于空间化区域的数据来训练机器学习模型。


21. 《
Microsoft Patent | Head-Worn Adaptive Display(微软专利:头戴式自适应显示器)

专利描述了一种交互式头戴式目镜,其具有用于处理显示内容的集成处理器和用于将内容引入光学组件的集成图像源。用户通过光学组件浏览周围环境和显示内容。光学组件包括用于减少杂散光的吸收性偏振器或抗反射涂层。


22. 《
Microsoft Patent | Modified Slow-Scan Drive Signal(微软专利:修改慢扫描驱动信号)

专利描述的显示设备包括显示表面、激光束发射器和处理器。显示设备可以包括配置成驱动慢扫描镜的慢扫描MEMS驱动器,以及配置成驱动快扫描镜的快扫描MEMS驱动器。慢扫描镜和快扫描镜可以将激光束反射到显示表面的活动区域。慢扫描周期可以包括扫描间隔和 回程间隔。在扫描间隔中,慢扫描镜配置成以一个或多个扫描缓变率移动到最终扫描位置。在回程间隔中,慢扫描镜配置成返回到初始扫描位置。处理器可以通过修改显示表面空白区域中的初始扫描位置、最终扫描位置和扫描缓变率中的一个或多个来生成修改的慢扫描驱动信号。


23. 《
Apple Patent | Gaze-Driven Recording Of Video(苹果专利:基于注视点的视频录制)

专利描述了基于注视点的视频录制系统和方法。可以访问使用一个或多个注视点追踪传感器捕获的注视数据;对注视数据应用时间滤波器以获得平滑的注视估计;根据平滑的注视估计确定感兴趣区域,其中感兴趣区域识别视场的子集;访问视频帧;将与感兴趣区域相关联的帧的一部分记录为增强的视频帧;存储、传输或显示增强的视频帧。


24. 《
Apple Patent | Head-Mounted Display Apparatus For Retaining A Portable Electronic Device With Display(苹果专利:可容纳带有显示屏的便携式电子设备的头戴式显示装置)

专利描述了一种允许用户将手持便携式电子设备与单独的头戴式设备耦合和分离的系统和方法。便携式电子设备可以物理耦合至头显设备。便携式电子设备和头显设备可以彼此通信和操作。可以允许每个设备将其功能和/或服务扩展到另一个设备,以便增强,增加和/或消除头显设备和便携式电子设备之间的冗余功能。


25. 《
Apple Patent | Method For Representing Virtual Information In A Real Environment(苹果专利:在真实环境中表示虚拟信息的方法)

专利描述了一种在真实环境中表示虚拟信息的方法。所述方法包括以下步骤:提供真实环境和系统设置的至少一个视图,从而用于混合虚拟信息;确定系统设置的至少一部分相对于真实环境的至少一个组件的位置和方向;将真实环境的至少一部分视图细分为包括第一区域和第二区域的多个区域;当第一区域内的真实环境对象比第二区域内的真实环境对象更靠近系统设置时,并且考虑到相对位置和方向,在真实环境视图的至少一部分中混合至少一项虚拟信息。其中,虚拟信息在第一区域中的显示不同于在第二区域中的显示。


26. 《
Apple Patent | Point Cloud Compression With Closed-Loop Color Conversion(苹果专利:利用闭环颜色转换的点云压缩)

专利描述的一种系统包括:编码器,其配置为压缩点云的属性信息和/或空间;和/或解码器,其配置为解压缩点云的压缩属性和/或空间信息。为了压缩属性和/或空间信息,编码器配置为将点云转换为基于图像的表示。另外,解码器配置为根据基于图像的表示来生成解压缩的点云。闭环颜色转换过程用于改善压缩,同时考虑在整个点云压缩过程中产生的失真。


27. 《
Apple Patent | Accessing Functions Of External Devices Using Reality Interfaces(苹果专利:使用现实界面访问外部设备的功能)

当通过计算机生成现实界面访问外部设备的功能的过程中,检测一个或多个外部设备。获取由图像传感器捕获的物理环境图像数据。确定图像数据是否包括一个或多个检测到的第一外部设备表示。根据确定图像数据包括第一外部设备表示,致使显示器根据图像数据同时显示物理环境表示和与第一外部设备功能相对应的可供性。其中,用户激活使得第一外部设备执行与所述功能相对应的动作。


28. 《
Apple Patent | Pupil Expansion(苹果专利:光瞳扩展)

专利描述的设备包括具有第一波导表面和第二波导表面的波导。所述设备可以包括设置在第一波导表面和第二波导表面之间的第一体全息光耦合元件。第一体全息光耦合元件可构造成将入射光的至少一部分反射为反射光。入射光可以在全内反射(TIR)范围内相对于第一轴具有第一入射角,相对于第二轴具有第二入射角。


29. 《
Google Patent | Hand Tracking Based On Articulated Distance Field(谷歌专利:基于铰接距离场的手部追踪)

电子设备通过使用蒙皮四面体网格对符号距离场进行体三维变形,以确定能量函数的局部最小值,其中局部最小值对应于手势,从而执行手势的估计。电子设备通过将手部的隐含表面模型拟合到与手部对应的深度图像的像素点来识别手势。电子设备使用蒙皮四面体网格将空间从基本姿势转到变形姿势,以定义一个铰接符号距离场,而手部追踪模块从中推导出手部的候选姿势。然后,电子设备根据每个对应像素的距离最小化一个能量函数,以确定最接近手势的候选姿势。


30. 《
Qualcomm Patent | Soundfield Modeling For Efficient Encoding And/Or Retrieval(高通专利:用于高效编码和/或检索的声场建模)

专利描述了表征声场各部分的方法和系统。一些配置包括估计与场景空间相关联的声场的总能量,并且对于场景空间的多个区域中的至少一些区域,估计与区域相对应的声场一部分的能量,并创建相应的元数据字段。元数据字段指示区域在空间中的位置,以及估计的总能量和与区域相对应的估计能量之间的关系。


31. 《
Sony Patent | Display Control Device And Display Control Method(索尼专利:显示控制设备和显示控制方法)

专利描述的显示控制设备包括配置成获取一个或多个用户存在信息的用户信息获取单元;配置成用用户存在信息来决定显示位置的用户位置决定单元;以及配置成根据显示位置来对显示施加控制的显示控制单元。


32. 《
Sony Patent | Point Cloud Auxiliary Information Coding(索尼专利:点云辅助信息编码)

专利描述了一种三维点云数据辅助信息的编码方法。所述编码方法利用三维面片来表示点云,并将三维面片数据灵活地映射到二维画布图像中。为了从二维信息中正确识别和重建三维面片,需要传输辅助数据。使用视频编码器对辅助数据进行编码。


33. 《
Sony Patent | Information Processing Apparatus And Image Generating Method(索尼专利:信息处理装置和图像生成方法)

运动检测部分检测头显姿态。视觉线方向确定部分根据头显姿态来确定视线方向。图像生成部分根据视线方向生成图像。图像提供部分向头显提供生成图像。指令获取部分从输入设备获取用于切换视线方向的指令。当指令获取部分获取切换指令时,视线方向确定部分以预定角度改变视线方向。


34. 《
Sony Patent | System And Method For Providing Driving Assistance To Safely Overtake A Vehicle(索尼专利:为安全超车提供驾驶辅助的系统和方法)

专利描述了为安全超车提供驾驶辅助的系统和方法的各个方面。根据实施例,第一车辆中使用的电子控制单元配置成检测第一车辆前面的第二车辆。第一次确定与第一车辆相关联的第一位置和与第二车辆相关联的第二位置。可以确定第一位置和第二位置之间的横向距离是否低于预定义的阈值距离。当确定的横向距离低于预定义的阈值距离时,将生成第一个警报。生成的第一警报可以包括视觉信息、触觉信息和/或音频信息。根据实施例,可以控制在第一车辆中生成第一警报的显示。显示器可以通过平视显示器、增强现实平视显示器、透视显示器或智能眼镜显示器来控制。


35. 《
Intel Patent | Autonomous, Mobile, And Network Connected Output Devices(英特尔专利:自动的、移动的和连网的输出设备)

专利描述的可移动输出设备包括用于将所述设备耦合到墙壁或天花板的表面耦合组件,以及用于沿墙壁或天花板移动所述设备的推进系统。设备同时包括环境检测系统和生物测定检测系统,其用于收集由控制电路使用的环境和/或生物测定信息。环境和/或生物测定信息用于确定设备的路由,并确定对一个或多个输出系统参数的调整。路由和输出参数可以基于对象所做的动作、手势和类似操作。


36. 《
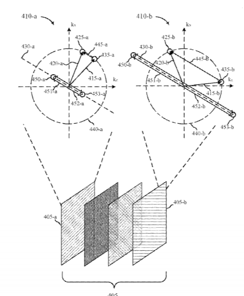
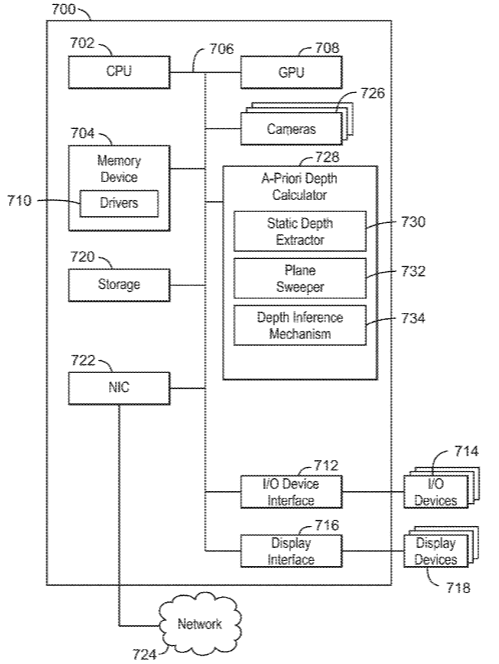
Intel Patent | Depth Based 3d Reconstruction Using An A-Priori Depth Scene(英特尔专利:使用先验深度场景进行基于深度的三维重建)

专利描述了一种利用先验深度场景进行基于深度的三维重建的系统。所述方法包括为多个camera视图的场景提取静态场景深度映射的静态深度映射提取器。系统同时包括一个动态场景平面扫描器,所述扫描器根据静态场景中的深度映射来扫描动态场景的深度平面,从而为每个camera视图推断动态场景的深度映射。系统同时包含一个融合机制,其从每个camera视图的动态场景深度映射中融合三维点云。


37. 《
Intel Patent | 360 Neighbor-Based Quality Selector, Range Adjuster, Viewport Manager, And Motion Estimator For Graphics(英特尔专利:基于邻近图块的质量选择器,范围调整器,视口管理器和运动估计器)

一个实施例可以包括显示处理器,用于存储与360度视频投影相对应的2D帧的存储器,以及用于根据2D帧的相邻图块的质量信息来为其选择质量因子的质量选择器。所述系统同时可以包括范围调整器,其根据2D帧的搜索区域来调整2D帧的搜索范围。视口管理器确定对2D帧的视口请求是否超出2D帧的第一边缘,并使用环绕图像信息填充请求的视口。所述系统同时可以包括运动估计器,其根据颜色信息和深度信息估计运动信息。


38. 《
AMD Patent | Slice Size Map Control Of Foveated Coding(AMD专利:注视点编码的图块大小映射控制)

专利描述了根据每个图块到焦点区域的距离来调整帧块压缩级别的系统、设备和方法。系统包括通过无线链路向接收器发送视频流的发射器。发射器在将帧发送到接收器之前压缩视频流的帧。对于帧的每个像素块,发射器根据从图块到焦点区域的距离选择要应用于图块的压缩级别,距离越远,压缩级别增加。发射器用选定的压缩级别对每个图块进行编码,然后将编码图块传送到要显示的接收器。

0

  1. This post has no comment yet

发表回复

您的邮箱地址不会被公开。 必填项已用 * 标注