(
映维网
2020年06月17日
)近期美国专利及商标局公布了一批全新的AR/VR专利,以下是映维网的整理(详情请点击专利标题),一共31篇。更多专利披露请访问映维网专利板块
https://patent.nweon.com/](https://patent.nweon.com/)
进行检索,也可加入映维网AR/VR专利交流微信群。
1. 《
Magic Leap Patent | Determining Proximity Of Transmitter Antennas Of Portable Devices To A Human Body For Limiting Transmitter Output Power To Meet Specific Absorption Rate (Sar) Requirements(Magic Leap专利:确定便携式设备的发射天线与人体的接近程度,从而限制发射器输出功率并满足电磁波吸收比值要求)
》
专利描述了一种用于调节发射器输出功率的方法,其包括通过通达耦合至发射组件的接近传感器来感测对象是否接近发射组件。所述方法同时包括:当接近传感器感测到接近发射组件的对象时,分析摄像头图像并确定发射组件是否接近人体的一部分。所述方法同时包括:当确定发射组件接近人体一部或无法确定发射组件是否接近人体一部分时,将发射器输出功率调整为小于或等于电磁波吸收比值阈值输出功率。
2. 《
Facebook Patent | Image Sensor With Switchable Optical Filter(Facebook专利:包含可切换光学滤波器的图像传感器)
》
在一个实例中,图像传感器包括像素单元、可切换光学滤波器和控制器。可切换光学滤波器配置成选择光学频率范围并允许所选光学频率范围的入射光到达像素单元。控制器配置成操作可切换光学滤波器,从而使得像素单元能够在不同时间接收与不同光学频率范围的入射光相关的信息,并在不同时间产生不同光学频率范围的入射光的强度测量。
3. 《
Facebook Patent | Digital Pixel With Extended Dynamic Range(Facebook专利:具有扩展动态范围的数字像素)
》
在各种实施例中,Pancake透镜模块可包括:第一复合延迟器,所述第一复合延迟器包括分别朝向多个第一定向轴定向的第一多个延迟器,其中第一复合延迟器配置为选择性地透射所发射光线的一部分;部分反射器,所述部分反射器接收来自第一复合延迟器的部分发射光,并透射一部分发射光;第二复合延迟器,所述第二复合延迟器包括第二多个延迟器;以及反射型偏振器,其配置为将由第二复合延迟器选择性透射的一部分发射光反射回第二复合延迟器。
4. 《
Facebook Patent | Calibrating Brightness Variation In A Display(Facebook专利:校准显示器中的亮度不均)
》
专利描述了用于校准显示器中的亮度不均的方法和系统。所述方法包括测量发光器的亮度水平。根据亮度水平将发光器分为不同的组别。每个组别分配一个子帧持续时间。与具有较低亮度的组别相比,具有较高亮度的组别分配较短的子帧持续时间。存储用于驱动发光器的校准信息,从而在与对应子帧持续时间的持续时间内激活发光器。
5. 《
Facebook Patent | Near-Eye Display Assembly With Adjustable Resolution And Frame Rate(Facebook专利:支持可调分辨率和帧率的近眼显示组件)
》
近眼显示器包括电子显示器,光学组件,扫描组件和控制组件。控制组件部分地根据内容来生成显示指令。显示说明描述了分辨率可调范围内的分辨率和帧速率可调范围内的帧速率。电子显示器根据显示指令以帧频发射多条光线。扫描组件根据显示指令移动多条光线中的至少一条的方向。光学组件控制视窗位置的视场,并且将光线引向视窗。
6. 《
Facebook Patent | Systems And Methods For Delivering Augmented Reality Content(Facebook专利:传递增强现实内容的系统和方法)
》
专利描述的方法可以包括:内容传递网络识别由内容传递网络管理并且分布在多个物理位置中的一组边缘节点,以及增强现实数据集合;指示边缘节点集合中的每个边缘节点存储增强现实数据集合的子集;检测移动设备对增强现实数据项的请求;至少部分地根据所述节点与移动设备的接近度来选择边缘节点集合中的节点;指示所述节点将增强现实数据项发送到移动设备。
7. 《
Facebook Patent | Folded Laser Emitters For Structured Light Applications(Facebook专利:用于结构光应用的折叠激光发射器)
》
深度摄像头组件包括照明源和成像组件。照明源包括位于单个基板上的一个或多个发射器,以及一个或多个折叠元件,所述折叠元件折叠来自每个发射器的投影光的至少一条光路。每个发射器发射各自的光束。成像组件捕获由照明源的光线照亮的局部区域的图像。在一些实施例中,深度摄像头组件包括控制器,所述控制器将图像提供给主机,主机部分地根据由局部区域的图像来确定深度信息,并且部分地根据深度信息来生成虚拟对象。
8. 《
Facebook Patent | Optical Measurement System(Facebook专利:光学测量系统)
》
专利描述了量化瞳孔游离及补偿瞳孔游离的方法。在一个实施例中,目标图像显示在头戴式显示器的显示器中。在头显的出射光瞳位置,相对于头显光学模块的光轴并从多个位置捕获目标图像的图像。目标图像包括特征,以及特征观察位置和预期位置之间的差异。根据所述差异,重建光学块的波前,并利用波前生成光学块的畸变校正。当应用于虚拟场景时,畸变校正添加由光学块的光学缺陷所抵消的预畸变。
9. 《
Facebook Patent | Methods, Devices, And Systems For Creating Localized Haptic Stimulations On A User(Facebook专利:用于创建局部触觉刺激的方法,设备和系统)
》
专利描述了一种产生触觉刺激和结构信息的方法。所述方法涉及一种可穿戴设备,所述可穿戴设备包括多个换能器,每个换能器可以产生一个或多个波能。所述方法包括,根据从远程设备接收的指令,激活多个换能器中的一个或多个第一换能器。由激活的一个或多个第一换能器产生的波能提供触觉刺激。所述方法同时包括,激活多个换能器中的一个或多个第二换能器。 当由多个换能器中的一个或多个换能器接收到波能时,由激活的一个或多个第二换能器产生的波能提供结构信息。
10. 《
Facebook Patent | Tracking Portions Of A User’S Face Uncovered By A Head Mounted Display Worn By The User(Facebook专利:追踪未被头显遮盖的用户脸部)
》
虚拟现实系统包括具有一个或多个面部传感器的头戴式显示器和安装在头显表面的照明源。例如,面部传感器是耦合到头显底部的图像捕获组件。照明源照亮用户面部,而面部传感器捕获用户面部照亮部分的图像。控制器接收捕获图像,并通过识别图像中的用户面部标记,并执行其他合适的图像处理方法来生成用户面部部分的表示。根据所述表示,所述控制器或虚拟现实系统的另一组件生成内容并呈现给用户。
11. 《
Facebook Patent | Corrective Optics For Reducing Fixed Pattern Noise In Head Mounted Displays(Facebook专利:减少头戴式显示器固定图案噪点的校正光学元件)
》
电子显示组件包括显示元件和耦合到显示元件的校正元件。显示元件具有第一类型的第一多个子像素和第二类型的第二多个子像素。第一多个子像素的两个相邻子像素由子像素距离分隔开。校正元件具有多个特征,其配置成漫反射由第一多个子像素发射的光,使得在第一类型的两个相邻子像素之间的视距离小于子像素距离。
12. 《
Facebook Patent | Reactivity Enhancement In Ion Beam Etcher(Facebook专利:增强离子束蚀刻机中的活性)
》
专利描述了用于制造倾斜结构的技术。在一个实施例中,在材料层中制造倾斜结构的方法包括,将第一活性气体注入到活性离子源发生器;在活性离子源发生器产生包括活性离子的等离子体;从等离子体中提取至少一定的活性离子,以形成准直的反应离子束;并将第二活性气体注入到材料层。准直的活性离子束和第二活性气体物理地和化学地蚀刻材料层。以形成倾斜的表面浮雕结构。
13. 《
Microsoft Patent | Saving Augmented Realities(微软专利:保存增强现实)
》
保存增强现实的方法包括利用增强现实设备采集对物理空间的观察信息,以及利用增强现实设备获取与物理空间相关联的增强内容。增强现实设备可视地呈现包括增强视觉表示的物理空间增强视图,并且保存所述增强视图以用于后续播放。
14. 《
Microsoft Patent | Peer To Peer Remote Localization For Devices(微软专利:设备的P2P远程定位)
》
专利主要描述的对等设备的远程定位。具体来话,远程定位技术使用作为可用信息的关键帧子集来识别虚拟现实/增强现实场景中的用户位置。当第一显示设备不确定其在VR/AR场景内的位置时,第一显示器可以生成在一个或多个第二显示设备之间共享的单个关键帧,使得接收显示设备可以相对于客户端映射内的空间锚定位关键帧,进而识别用户在VR/AR场景内的位置,并将所述位置发送回创建关键帧的第一头显设备。基于位置信息,第一头显设备可以与共享场景或共享映射内的第二头显设备同步影像。
15. 《
Apple Patent | Head-Mounted Display Apparatus For Retaining A Portable Electronic Device With Display(苹果专利:可容纳带有显示屏的便携式电子设备的头戴式显示装置)
》
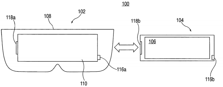
专利描述了一种允许用户将手持便携式电子设备与单独的头戴式设备耦合和分离的系统和方法。便携式电子设备可以物理耦合至头显设备。便携式电子设备和头显设备可以彼此通信和操作。可以允许每个设备将其功能和/或服务扩展到另一个设备,以便增强,增加和/或消除头显设备和便携式电子设备之间的冗余功能。
16. 《
Google Patent | Navigation In Augmented Reality Environment(谷歌专利:增强现实环境中的导航)
》
专利描述的一种方法包括:在设备中接收定义增强现实环境的数据,所述数据指定AR环境中的第一AR对象的位置;确定设备的物理倾斜度;将感知倾向分配给AR环境的映射,所述感知倾向基于所确定的物理倾斜度;在设备显示器触发映射的渲染和AR环境的一个方面,其中在映射中标记第一AR对象的位置,并且映射看起来具有关于显示的感知倾向。
17. 《
Qualcomm Patent | Methods And Systems Of Reducing Latency In Communication Of Image Data Between Devices(高通专利:减少设备间图像数据通信延迟的方法和系统)
》
专利描述了用于处理由第一设备捕获的图像数据以在第二设备显示的方法。例如,可以确定第二设备预测方向的范围。然后可以确定第二设备的预测视场。预测的视场对应于第二设备预测方向的范围。所预测的视场可以传送到第一设备。然后,可以从第一设备接收剪切的图像数据。可以确定第二设备的更新方向,并且可以确定与更新方向相对应的剪切图像数据内的更新视场。
18. 《
Qualcomm Patent | Disabling Augmented Reality (Ar) Devices At Speed(高通专利:快速禁用增强现实设备)
》
专利描述的系统和方法用于根据AR设备的各种速度限制AR显示器的信息。当用户在开车、跑步、甚至走路时,信息往往会分散注意力。所以,所描述的系统、设备和方法旨在根据三个或更多级别的运动(如静止、行走、驾驶)限制AR显示器所显示的信息,以便当实际世界活动需要更高级别的注意力时减少用户分心的情况。
19. 《
Sony Patent | Sound Output Device, Sound Output Method, And Sound Output System For Sound Reverberation(索尼专利:用于声音混响的声音输出装置、声音输出方法和声音输出系统)
》
专利描述的声音输出装置包括获取从环境声音生成的声音信号的声音获取部分;对声音信号执行混响处理的混响处理部分;在用户耳朵附件输出从经过混响处理的声音的声音输出部分。这一配置允许用户实时听到所需混响的声音。
20. 《
Sony Patent | Varying Effective Resolution By Screen Location By Altering Rasterization Parameters(索尼专利:通过变更光栅化参数来改变屏幕位置的有效分辨率)
》
在图形处理中,接收表示虚拟空间场景的一个或多个顶点数据。在顶点执行Primitive Assembly,从而计算顶点从虚拟空间到视口的投影。扫描转换确定多个像素中的哪个像素属于已经转换为屏幕空间坐标的图元的一部分。每个图元的粗略光栅化确定图元重叠的子部分。与基元重叠子部分相关联的元数据确定子部分的像素分辨率。元数据用于处理子部分的像素并生成用于视口的最终像素值,从而使得两个不同子部分中的部分场景具有不同的像素分辨率。
21. 《
Sony Patent | Image Processing Apparatus, Image Processing Method, And Program(索尼专利:图像处理装置,图像处理方法及程序)
》
专利描述的图像处理装置包括显示控制部分,所述显示控制部分配置成根据动捕提取的姿势显示人体虚拟对象图像,所述人体虚拟对象图像是识别目标相对应的待处理对象。
22. 《
Sony Patent | Head-Mounted Display, Display Control Method, And Program(索尼专利:头戴式显示器,显示控制方法及程序)
》
专利描述了一种头戴式显示器,一种显示控制方法,以及一种便于用户理解用户和用户周围对象之间的接近度的程序。显示模块设置在佩戴头显的用户眼前。根据用户和用户周围对象之间的接近度,头显控制显示模块,以便用户在视觉上识别显示模块的正向方向。
23. 《
Sony Patent | Use Of Eye Tracking To Adjust Region-Of-Interest (Roi) For Compressing Images For Transmission(索尼专利:为压缩图像传输而利用眼动追踪调整感兴趣区域)
》
注视追踪数据可以表示用户相对于传输图像的注视,通过对其进行分析可以确定一个或多个感兴趣区域。选择性地压缩一个或多个传输图像。与一个或多个感兴趣区域内的图像相比,所述部分需要的比特数更少。
24. 《
Sony Patent | Tracking System For Head Mounted Display(索尼专利:用于头显的追踪系统)
》
专利描述了一种追踪头显位置并生成附加虚拟现实场景数据的系统和方法。当用户与虚拟现实场景交互并相对于虚拟现实场景移动时,为用户提供无缝的虚拟现实体验。头显的初始位置和姿态是通过头显搭载的摄像头或类似传感器来确定。当头显移动到第二位置和姿势时,摄像头或传感器捕获两个或更多固定点的图像,以确定头显的位置和姿势差异。利用头显的位置和姿态差异预测虚拟现实场景中的相应运动,生成相应的附加虚拟现实场景数据,并在头显进行渲染。
25. 《
Sony Patent | Wearable Display, Casing For A Wearable Display, And Manufacturing Method For A Wearable Display(索尼专利:可穿戴显示器、可穿戴显示器外壳和可穿戴显示器的制造方法)
》
专利描述的可穿戴显示器包括第一光学部分、主体和夹具接收器。第一光学部分发光。主体包括连接到第一光学部分并向外发射图像光的第二光学部分,以及支撑第二光学部分的外壳。夹具接收器包括支撑夹具第一突出物的第一导轨、支撑夹具第二突出物的第二导轨和支撑夹具第三突出物的第三导轨。夹具接收器设置在外壳中,使得第一、第二和第三导轨中的至少两个在第一轴方向彼此间隔,并且第一、第二和第三导轨中的至少两个在第三轴方向彼此间隔。
26. 《
Sony Patent | Image Generation Apparatus And Image Generation Method(索尼专利:图像生成装置和图像生成方法)
》
专利描述的方法和设备提供用于获取用户头部位置和旋转中的至少一个的相关信息;使用与在特定时间点获取的位置和旋转相关信息中的至少一个来生成头显图像;校正过程包括接收与在不同时间点的位置和旋转相关信心的至少一个的更新信息,并使用更新信息校正生成图像。生成图像包括使用与第一频率中的位置和旋转相关信息中的至少一个;校正包括以与头显帧速率相对应的第二频率中接收位置和旋转相关信息的至少一个。所述校正包括使用第二频率中的多个更新信息对在第一频率中生成的图像进行多次校正。
27. 《
Sony Patent | Display Device And Electronic Apparatus(索尼专利:显示设备和电子装置)
》
专利描述的显示装置包括:形成在基板上的多个发光部分;以及设置在发光部分上的滤色器。发光部分和滤色器的布置使得,在显示表面的至少一部分区域中,发光部分的发光表面中心和与滤色器中心之间产生相对未对准。
28. 《
Sony Patent:Active Window For Vehicle Infomatics And Virtual Reality(索尼专利:用于汽车信息与虚拟现实的活动窗口)
》
车辆的摄像头捕获周围环境的图像,并且所述图像呈现在由诸如
OLED
显示器或透明LCD显示器之类的透明显示器所建立的车辆窗口中。根据摄像头相对于车辆的角度在显示器图像。在其它实施例中,来自数据库的图像叠加到通过窗口看到的背景对象的窗口上。
29. 《
Intel Patent | Voxels Sparse Representation(英特尔专利:体三维稀疏表示)
》
专利描述的装置包括将点云数据集的体三维投影到多自由度空间中的处理器,以及通信地耦合到处理器的存储器。
30. 《
Intel Patent | Method and System of Recurrent Semantic Segmentation for Image Processing(英特尔专利:图像处理的循环语义分割方法和系统)
》
专利描述的方法和系统主要是通过因式分解历史语义分割来进行图像处理的循环语义分割。
31. 《
Intel Patent | Immersive Gaming(英特尔专利:沉浸式游戏)
》
专利描述了用于提供沉浸式游戏的各种系统和方法。一种提供沉浸式体验的便携式计算系统包括显示器;在显示器向用户呈现沉浸式体验的图形单元;确定耦合到便携式计算系统的资源级别的通信子系统;其中,图形单元呈现资源表示在沉浸式体验中对用户的级别;其中,通信子系统检测资源被替换资源替换,是用户与资源的真实交互引起的替换;并确定替换资源的替换资源级别;其中,图形单元在显示器呈现沉浸式体验中的替换资源级别的表示。
0