(
映维网
2020年05月27日
)近期美国专利及商标局公布了一批全新的AR/VR专利,以下是映维网的整理(详情请点击专利标题),一共45篇。更多专利披露请访问映维网专利板块
https://patent.nweon.com/
进行检索,也可加入映维网AR/VR专利交流微信群。
1. 《
Magic Leap | Eyelid Shape Estimation Using Eye Pose Measurement(Magic Leap专利:利用眼睛姿态测量来估计眼脸形状)
》
专利描述估计眼脸形状的系统和方法。在接收眼睛图像后,确定眼睛的眼睛姿势。根据眼睛姿势,可以利用眼脸形状映射模型来估计(上眼睑或下眼睑)的眼睑形状。眼睑形状映射模型涉及眼睛姿势和眼睑形状。另外,可以通过神经网络训练眼睑形状映射模型。
2. 《
Magic Leap Patent | Eye Tracking Calibration Techniques(Magic Leap专利:眼动追踪校准方法)
》
专利描述了用于可穿戴系统的
眼动追踪
校准系统和方法。所述可穿戴系统能够呈现三维虚拟内容,并且允许用户使用眼睛注视与3D虚拟内容交互。在眼动追踪校准期间,可穿戴系统可以在获取眼动追踪数据的同时验证用户是否确实注视校准目标。验证可以根据与用户的头部姿势和前庭-眼反射相关数据来执行。
3. 《
Magic Leap Patent | Massive Simultaneous Remote Digital Presence World(Magic Leap专利:同时远程呈现的大型数字世界)
》
专利描述的方法和设备用于允许一个或多个用户能够与虚拟现实或增强现实环境交互。示例系统包括计算网络,其中计算机服务器通过高带宽接口与网关互连,从而处理数据和/或实现服务器与一个或多个本地用户接口设备之间的数据通信。服务器包括存储器、处理电路和软件,其用于设计和/或控制虚拟世界,以及存储和处理用户数据和系统其他组件提供的数据。一个或多个虚拟世界可以通过用户设备呈现给用户。大量用户可以各自使用一个设备同时与一个或多个数字世界进行交互,使用设备相互观察和交互,并与数字世界中产生的对象进行交互。
4. 《
Magic Leap Patent | Configuring Optical Layers In Imprint Lithography Processes(Magic Leap专利:在压印光刻过程中配置光学层)
》
配置光学层的压印光刻方法包括,选择要应用到基板上的纳米层的一个或多个参数,以改变基板的有效折射率,并将纳米层压印在基板上,以改变基板的有效折射率。可透过基板的相对光量改变选定量。
5. 《
Magic Leap Patent | Three Dimensional Virtual And Augmented Reality Display System(Magic Leap专利:三维虚拟现实和增强现实显示系统)
》
系统可以包括选择性透明的投影设备,并从相对于用户眼睛的空间中的投影设备位置向用户眼睛投射图像,所述投影设备在不投影图像时保持基本透明的状态;所述系统同时可以包括遮挡掩模设备,其耦合至投影设备,并配置成以与投影设备投影图像相关联的遮挡图案;所述系统同时可以包括边界板衍射图案形成设备,其位于用户眼睛和投影设备之间,并且配置成致使来自投射设备的光线在行进至眼睛时通过具有可选几何形状的衍射图案。
6. 《
Facebook Patent | Determination Of Acoustic Parameters For A Headset Using A Mapping Server(Facebook专利:使用映射服务器确定头显的声学参数)
》
专利描述了一种头显声学参数的确定方法。可以根据存储在映射服务器中的物理位置的虚拟模型来确定声学参数集。虚拟模型描述多个空间和所述空间的声学特性,其中虚拟模型中的位置对应于头显的物理位置。根据描述从头显接收并描述局部区域至少一部分的信息来确定头显在虚拟模型中的位置。根据虚拟模型中确定的位置和与所确定位置相关联的任何声学参数,确定与头显物理位置相关联的声学参数集部分。头显使用从映射服务器接收的一组声学参数来呈现音频内容。
7. 《
Facebook Patent | Virtual Microphone(Facebook专利:虚拟麦克风)
》
专利描述的计算机实现方法可以包括建立和实现虚拟麦克风。所述方法可以包括接收指定虚拟麦克风位置的输入,所述虚拟麦克风配置为捕获音频。接下来,所述方法可以包括初始化物理麦克风,并开始捕捉位于指定位置的音频。然后,所述方法可以包括组合来自物理麦克风的音频流,并生成组合音频信号。
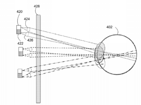
8. 《
Facebook Patent | Apparatuses, Systems, And Methods For Determining Interpupillary Distances Of Head-Mounted Displays(Facebook专利:确定瞳孔间距的头戴式显示器的设备、系统和方法)
》
头戴式显示系统可以包括:支撑组件;一对可移动地耦合到支撑组件的显示组件,这样显示组件可以在对应于多个用户瞳孔间距的多个位置之间移动。显示组件可以包括透镜和显示屏。头戴式显示系统同时可以包括检测子系统,检测子系统具有至少一个位置传感器,以及根据由至少一个位置传感器获得的测量确定显示组件之间的位置关系的确定模块。
9. 《
Facebook Patent | Apparatus, System, And Method For Image Normalization For Adjustable Head-Mounted Displays(Facebook专利:可调头显的图像归一化装置、系统和方法)
》
用于头戴式设备的装置可以包括:柔性平面支撑架;耦合到柔性平面支撑架左侧的左眼罩和耦合到柔性平面支撑架右侧的右眼罩;安装到柔性平面支撑架的左眼显示区域和和右眼显示区域,其中左眼显示区域向左眼罩定义的左眼孔投射,右眼显示区域向右眼罩定义的右眼孔投射;以及耦合到柔性平面支撑架的偏转传感器,其产生描述支撑架弯曲程度的偏转信号。由左眼和右眼显示屏区域显示的图像根据偏转信号归一化。还公开了各种其它装置、系统和方法。
10. 《
Facebook Patent | Enhanced Spatial Resolution Using A Segmented Electrode Array(Facebook专利:利用分段电极阵列提升空间分辨率)
》
专利描述了一种光强度调制器阵列,其包括具有二维电极阵列的第一基板;具有一个或多个电极的第二基板;位于第一基板和第二基板之间液晶。二维电极阵列布置在第一方向和第二方向上,第二方向不平行于第一方向。二维电极阵列的相应电极不同,并且与二维电极阵列的第一相邻电极和第二相邻电极分开。第一相邻电极在第一方向上与相应电极相邻,第二相邻电极在第二方向上与相应电极相邻。专利同时描述了一种利用包括光强度调制器阵列的组件来追踪眼睛的方法。
11. 《
Facebook Patent | Wide Angle Beam Steering For Virtual Reality And Augmented Reality(Facebook专利:用于虚拟现实和增强现实的广角光束控制)
》
光束控制装置包括第一基板;与第一基板不同的第二基板;位于第一基板和第二基板之间并靠近第一基板的第一对准层,以及位于第一基板和第二基板之间并靠近第二基板的第二对准层。第一对准层具有第一周期圆形图案,第二对准层具有与第一周期圆形图案相对应的第二周期圆形图案。光束控制装置同时包括位于第一对准层和第二对准层之间的向列液晶和一个或多个延迟补偿器。
12. 《
Facebook Patent | Optical Assembly With Waveplate Configuration For Ghost Image Reduction(Facebook专利:具有波片配置并用于减少拖影的光学组件)
》
透镜组件包括第一光学元件和第二光学元件。第一光学元件包括部分反射层和波片。第二光学元件包括反射偏振器。反射偏振器构造成将显示光的第一偏振方向反射回第一光学元件,并透射显示光的第二偏振方向。
13. 《
Facebook Patent | Systems And Methods For Altering An Alignment Of Light From A Light Projector With A Waveguide(Facebook专利:使用波导管改变来自光线投射器的光线校准的系统和方法)
》
专利描述的系统可以包括:投射二维图像的光投影仪;在从光波导发射至少一部分光之前从光投影仪携带至少一部分光的光波导;接收从光波导管发射的至少一部分光的一种二维光检测器;以及一种控制器。控制器其使光投影仪从多个像素中的至少一个投影光;根据接收到的光从二维光检测器接收信息;并且根据信息致使光投影仪的光线校准相对于光波导管发生改变。
14. 《
Microsoft Patent | Optimized Object Scanning Using Sensor Fusion(微软专利:使用传感器融合优化对象扫描)
》
传感器融合可用于头显等电子设备中。所述设备具有配备不同传感器的传感器封装,其提供的信息可用于补充现实世界环境的2D图像,并用于确定立体图像的优化变换,并丢弃错误数据。这样的补充信息可以包括世界位置,世界旋转,来自扩展视场图像数据或深度图数据中的一个或多个。
15. 《
Microsoft Patent | No Miss Cache Structure For Real-Time Image Transformations With Multiple Lsr Processing Engines(微软专利:使用多LSR处理引擎进行实时图像转换的缓存结构)
》
专利描述了优化的高速缓存结构和方法,其可以最佳地调整大小以支持预定范围的后期调整,其中系统智能地从DRAM中读取图像数据,并以这样的方式进行高速缓存,以免除从DRAM重新获取输入图像数据的需要,并最小化DRAM带宽和功率。
16. 《
Microsoft Patent | Customizing Appearance In Mixed Reality(微软专利:在混合现实中定制外观)
》
专利描述了在混合现实中定制外观的技术。根据一组实施例,混合现实设备可以检测现实世界个体的存在,并且确定所述个体是否与一个或多个自定义外观相关联。如果是,则混合现实设备可以呈现一个或多个外观定制。
17. 《
Microsoft Patent | Surface Reconstruction For Environments With Moving Objects(微软专利:包含移动对象的环境的表面重建)
》
专利描述了用于重建几何表面的优化。创建环境的多个深度映射,不同深度映射对应于环境的不同视角。将运动状态标识符分配给与移动对象相对应的至少一些深度映射中的至少一些像素。通过合并来自深度映射的像素信息,同时省略由运动状态标识符标识为与运动对象关联的像素信息,使用多个深度映射中的至少一些深度映射来构建复合3D网格。
18. 《
Microsoft Patent | Anchor Graph(微软专利:锚点图)
》
专利描述的计算机系统包括至少一个配置为收集物理环境的成像数据的成像传感器。所述计算系统可以进一步包括处理器,所述处理器配置为根据成像数据生成包括通过第一多个锚点的第一锚点图。第一多个锚点中的每个锚点可以说明物理环境中的相应估计位置。处理器可以进一步配置为检测第一多个锚点中的至少一个锚点相对于至少一个成像传感器的估计位置变化。根据估计位置的变化,处理器可以相对于至少一个成像传感器重新定位第一锚点图。
19. 《
Microsoft Patent | Virtual Object Movement(微软专利:虚拟对象移动)
》
用于移动虚拟对象的方法包括,显示虚拟对象并根据用户输入移动虚拟对象。特别地,专利描述了一种用于当对象移动与障碍物移动约束冲突时移动虚拟对象的方法。当违反障碍物的移动约束时(如用户试图通过另一个对象移动虚拟对象),显示输入指示符和遵守移动约束的碰撞指示符。这可以帮助用户将虚拟对象移动到期望的位置。
20. 《
Microsoft Patent | Automatic Orientation For Mixed Reality Information Delivery System(微软专利:用于混合现实信息传输系统的自动定位)
》
在技术的一个实例中,向操作者提供混合实景视图。混合实境视图包括操作者的真实世界环境和全息元素。全息元素包括至少第一全息图。第一全息图用第一全息图菜单显示,使得第一全息图菜单包括与第一全息图相关联的可见可选菜单选项。在混合现实视图中,当操作者移动时,第一全息图菜单旋转以面对操作者,使得第一全息图菜单以曲线方式围绕第一全息图旋转,如同第一全息图菜单旋转一样。响应于操作者在第一全息图菜单的选择,混合实景视图中的第一全息图根据选择而改变。
21. 《
Microsoft Patent | Human-Machine Interface For Presenting A User Interface On A Virtual Curved Visual Surface(微软专利:在虚拟曲面视觉表面呈现的用户人机界面)
》
专利描述了在三维虚拟环境中呈现用户界面的技术,其涉及将一个或多个UI元素定位在虚拟环境中的弯曲表面的第一位置,其中一个或多个UI元素与曲面相切。弯曲表面由到参考点的第一距离限定。对于UI元素中的至少一个,计算UI元素在曲面上的第二位置,并将UI元素移动到曲面上的第二位置。
22. 《
Microsoft Patent | Text Entry Interface(微软专利:文本输入界面)
》
一种方法包括显示以曲线或线性方式顺序排列的一组字符,使得可以通过连续且一致的用户输入来识别选择字符集中的任何一个字符。所述方法同时包括以这样的方式显示字符集中的多个字符,其中每个给定字符以给定字符是用户选择下一个字符的概率所确定的显著性水平进行显示。所述方法同时包括以连续和统一的方式从用户接收用户输入,并用于识别字符集中的字符。所述方法同时包括接收选择所识别字符的用户输入。所述方法同时包括将标识的字符添加到字符串中。
23. 《
Microsoft Patent | Refining Virtual Mesh Models Through Physical Contacts(微软专利:通过物理接触来细化虚拟网格模型)
》
专利描述了通过物理接触来细化虚拟网格模型的方法和系统。例如,诸如可穿戴手套之类的手持式移动设备可以用于在物理环境的虚拟网格模型内创建和/或强调特定点。可以经由移动设备的触控传感器来获得移动设备界面与物理对象进行物理接触的指示。可以根据从一个或多个定位传感器获得的传感器数据来识别在物理接触期间移动设备界面的位置和/或方向。说明位置的位置数据可以存储在数据存储设备中。在一个示例中,可以根据位置数据来优先确定包含物理对象的物理环境的虚拟网格模型的细化。
24. 《
Microsoft Patent | Vestibular Anchoring(微软专利:前庭锚定)
》
用于渲染虚拟现实图像的方法和设备可以包括,从追踪用户头部位置和取向的位置追踪系统接收头部运动信息,以及接收独立于头部运动信息的虚拟运动信息并用于虚拟现实模拟。所述方法和设备可以包括根据虚拟运动信息和头部运动信息生成虚拟现实模拟的第一场景。所述方法和设备同时可以包括根据头部运动信息生成一组视觉提示,并且渲染包括所述视觉提示和虚拟现实模拟的第一场景的帧。所述方法和设备可以包括发送虚拟现实模拟的帧并显示设备中进行呈现。
25. 《
Microsoft Patent | See-Through Dimming Panel(微软专利:透视调光面板)
》
透视调光面板包括第一和第二透明基板层,以及位于其间的悬浮粒子装置层。第一透明导体层位于第一透明基板层和悬浮粒子装置层之间,第二透明导体层位于第二透明基板层和悬浮粒子装置层之间。第一电极与第一透明导体层电耦合。第二和第三电极电耦合到第二透明导体层的相对端。施加在第一和第二电极之间的电位差控制悬浮粒子装置层的透射率水平。当施加在第一和第二电极控制之间的电位差减小时,施加在第二和第三电极之间并产生横向电场的电位差控制悬浮粒子装置层的透射率水平的降低速度。
26. 《
Microsoft Patent | Identification Of Augmented Reality Image Display Position(微软专利:增强现实图像显示位置的识别)
》
头显设备可以包括至少部分透视的显示器,一个或多个位置传感器,通信单元和处理器。头显设备可以至少确定一个或多个位置传感器在物理环境中的位置。通信单元可以从物理环境中的至少一个对等头显设备中接收位置数据。头显设备的处理器可以确定头显设备的视场,识别头显设备和至少一个对等头显设备在物理环境中显示增强现实图像的显示位置。
27. 《
Microsoft Patent | Diffractive Optical Elements With Asymmetric Profiles(微软专利:非对称轮廓衍射光学元件)
》
在包括具有多个衍射光学元件的波导的光学显示系统中,一个或多个衍射光学元件中的光栅可以具有非对称轮廓。衍射光学元件中的非对称光栅可以减少显示为暗条纹的光干涉所导致的“带状”,从而提高光学显示系统中的显示均匀性。当聚合物材料用于衍射光学元件的批量生产以使系统重量最小化时,带状效应可能更为明显,但与其他材料(如玻璃)相比,其具有较低的最佳光学性能。对于厚度、表面粗糙度和光栅几何结构等在制造过程中不易控制的变化,非对称光栅可进一步令光学系统具有更大的耐受性,特别是因为这些变化在亚微米范围内。
28. 《
Microsoft Patent | Optical Waveguide Using Overlapping Optical Elements Coupling Light Beam(微软专利:使用重叠光学元件耦合光束的光波导)
》
专利描述了一种利用两个衍射光学元件同时进行光耦入和光耦出的光波导。每个光学元件都是一个衍射光栅,可应用于光波导的同一或不同表面。衍射光栅重叠形成两个重叠区域。第一重叠区将光耦入到波导中,第二重叠区将光从光波导中耦出。由于光波导只使用两个光栅,因此只有两个光栅矢量,所以这种光波导比具有更多光栅矢量的光波导更容易制造。
29. 《
Apple Patent | Coordinated Tracking For Binaural Audio Rendering(苹果专利:用于双耳音频渲染的协调追踪)
》
专利描述了双耳声音再现系统,以及通过双耳声音再现系统来动态地为虚拟声源重新居中参考帧的方法。双耳声音再现系统可以包括具有参考传感器的参考设备(如移动设备),参考传感器提供与参考设备方向相对应的参考方向数据。双耳声音再现系统同时可以包括具有设备传感器的头戴式设备(如头显),设备传感器提供与头戴式设备方向相对应的设备方向数据。系统可以使用参考方向数据来确定头戴式设备是否处于静态或动态使用情况,并且可以相应地调整音频输出,以在调整的声源方向呈现虚拟声源。
30. 《
Apple Patent | Method And System For Analyzing An Image Generated By At Least One Camera(苹果专利:用于分析由至少一个摄像头生成的图像的方法和系统)
》
专利描述了一种用于分析由至少一个摄像头生成的真实对象图像的方法。所述方法包括以下步骤:由捕捉至少一个真实对象的摄像头生成至少一个第一图像,定义包含真实对象的多个数据集的第一搜索域,每个数据集说明真实对象的各个部分,并且相对于第一搜索域分析第一图像的至少一个特征属性,从而确定所述至少一个特征属性是否对应于所述第一搜索域的数据集中的至少一个的信息。如果确定是,则定义仅包含所述数据集中的特定一个的第二搜索域,并且所述第二搜索域用于分析所述第一图像和/或至少第二图像。
31. 《
Apple Patent | Postponing The State Change Of An Information Affecting The Graphical User Interface Until During The Condition Of Inattentiveness(苹果专利:将影响图形用户界面的信息的状态更改推迟到不受注意的情况下)
》
触发状态改变包括基于第一设置配置显示一系列帧的第一版本;获得系列帧的第二设置配置;响应于获得第二设置配置,监视眼睛状态的改变;以及响应于检测眼睛状态的改变,根据第二个设置配置显示系列帧的第二版本。
32. 《
Google Patent | Fast And Memory Efficient Encoding Of Sound Objects Using Spherical Harmonic Symmetries(谷歌专利:利用球谐函数对称对声音对象进行快速且节省内存的编码)
》
专利描述了一种编码声音对象的方法,其包括接收一组单声道声音输入。每一组单声道声音输入包括声音对象相对于源位置的位置和方向信息。根据球谐函数数据集,将单声道声输入的集合编码成球谐函数域中的Higher Order Ambisonic (HOA) 声场,所述球谐波数据集包括用于给定方位角和仰角子集的所有球谐系数子集。
33. 《
Google Patent | Objective Quality Metrics For Ambisonic Spatial Audio(谷歌专利:用于 Ambisonic 空间音频的客观质量指标)
》
计算设备包括处理器和存储器。处理器配置为使用短时傅立叶变换为参考和测试混响信号的多个通道生成频谱图。
34. 《
Google Patent | Time-Warping Adjustment Based On Depth Information In A Virtual/Augmented Reality System(谷歌专利:基于深度信息的时间扭曲调整)
》
专利描述的技术包括确定每个像素的深度值,对帧图块的深度值进行下采样,从而获得多个下采样的深度值。根据多个下采样的深度值确定头部姿态的变化,并根据头部姿态的变化和下采样的深度值确定顶点的调整位置。根据调整后的顶点位置对帧进行调整深度的时间扭曲,从而获得深度经过调整的时间扭曲帧,并显示深度经过调整后的时间扭曲帧。
35. 《
Google Patent | Methods Of Determining Handedness For Virtual Controllers(谷歌专利:为虚拟控制器确定用手习惯的方法)
》

手臂模型等不同的模型来在虚拟环境中呈现用户的手臂/手。在选择正确的模型前,VR系统需要确定哪只手正在握持控制器。本专利描述了一种为虚拟控制器确定用手习惯的方法。
36. 《
Qualcomm Patent | System For Eye Tracking(高通专利:用于眼动追踪的系统)
》
系统可以包括配置成发射光的发射器。系统可以包括配置成将光指向眼睛瞳孔的光波导。光波导可以包括配置成传播光的定向部分。光波导可以包括转动部分,其配置成接收来自定向部分的光并将光朝向眼睛的瞳孔,并且配置成接收来自眼睛瞳孔的反射光,然后将反射光朝向定向部分。系统可以包括接收器,其配置成从光波导接收反射光。系统可以包括处理器,处理器配置成至少部分地根据接收器接收到的反射光来确定眼睛瞳孔的注视方向。
37. 《
Sony Patent | Electronic Apparatus And Method Of Providing Image On A Wearable Optical Device(索尼专利:在可穿戴光学设备提供图像的电子设备和方法)
》
根据不同情况增强可穿戴光学设备提供的图像的可见性。专利描述的电子设备包括照明度信息获取单元,其配置成从真实空间获取指示入射到可穿戴光学设备并朝向用户的光线的照明度信息。电子设备同时包括配置成获取指示可穿戴光学设备周围情况的情况信息获取单元,配置成确定可穿戴光学设备发射的光线亮度的亮度确定单元,以及配置成控制可穿戴光学设备发射具有确定亮度的光线的控制器。
38. 《
Sony Patent | Information Processing Apparatus And Information Processing Method For Displaying Virtual Objects In A Virtual Space Corresponding To Real Objects(索尼专利:在虚拟空间中相对于真实对象显示虚拟对象的信息处理装置和信息处理方法)
》
专利描述的一种信息处理装置包括生成单元。根据在虚拟空间中检测到的与虚拟对象相对应的第一真实对象的第一操作信息,及检测到的与第二真实对象相对应的第二操作信息,所述生成单元生成用于显示虚拟空间的显示控制信息。
39. 《
Sony Patent | Information Processing System, Information Processing Apparatus, Output Apparatus, Program, And Recording Medium(索尼专利:信息处理系统、信息处理装置、输出装置、程序和记录介质)
》
专利描述的一种输出装置包括每一像素包含多个子像素的显示部分,及设置在显示部分的显示表面侧的透镜。输出装置输出表示透镜光轴与显示部分中心之间的位置偏移信息。根据从输出装置输出的误差信息,信息处理装置产生校正图像数据。
40. 《》
专利描述了一种在虚拟现实中编辑三维数字内容的方法。所述方法包括接收数字内容的交互式VR场景序列;将交互式VR场景序列放置在3D编辑空间内;将包括至少一个3D编辑空间的视图发送到头显并供用户浏览。所述方法包括从用户设备接收至少一个输入编辑命令;根据编辑命令修改交互式VR场景的序列。
41. 《
Sony Patent | Data Processing(索尼专利:数据处理)
》
专利描述的系统包括显示对象,显示对象的显示特征配置成在定时校准操作中随时间变化;系统同时包括配置成捕捉显示对象图像的多个摄像头,以及一种数据处理装置。数据处理装置包括检测器,检测器配置成在多个摄像头拍摄图像中检测指示显示对象的特性改变的定时差,并将检测到的定时差作为定时校正应用。
42. 《
Sony Patent | Image Display Apparatus And Image Display Method(索尼专利:图像显示装置和图像显示方法)
》
显示图像以优选的方式叠加并显示在外部图像上。光学系统将显示图像叠加到外部图像上,并将显示图像引导到用户眼睛。显示控制单元控制显示图像的显示尺寸和显示位置,使得显示图像显示在从外部图像检测到的图像叠加区域(平坦区域)中。例如,显示控制单元根据外部图像中的图像叠加区域状态来控制显示图像的显示状态。另外,显示控制单元根据用户视线在视线区域内或视线区域外来选择性地显示显示图像。
43. 《
Sony Patent | Augmenting Virtual Reality Video Games With Friend Avatars(索尼专利:通过友人虚拟化身来增强虚拟现实游戏)
》
专利描述了通过真人虚拟化身来增强游戏的方法和系统。所述方法包括,识别游戏内的普通观众,并确定与普通观众相关联的虚拟坐标。所述方法同时包括,接收与现实世界真人虚拟化身相关联的数据,并以三维方式在游戏中进行显示。
44. 《
Sony Patent | Information Processing Apparatus, Information Processing Method, And Program(索尼专利:信息处理装置,信息处理方法和程序)
》
专利描述的信息处理装置包括:配置成根据一个或多个传感器数据来获取多个指针信息的采集单元;配置成基于多个指针信息的特征来确定与每个指针对应的输入设备的确定单元;以及配置成在指针的位置满足预定条件情况下生成预定触觉刺激信号,从而输出到与指针对应的输入装置的生成单元。
45. 《
Sony Patent | Active Retroreflectors For Head-Mounted Display Tracking(索尼专利:用于头显追踪的主动回射器)
》
专利描述的头显包括:配置成将扫描光束发射到交互环境中的发射器;用于检测由多个调制回射器中的每一个将扫描光束反射回头显的反射的检测器;用于分析检测到的以识别产生反射的调制回复反射器,并进一步确定反射发生时间的处理器。其中,反射发生时间和产生反射的调制回反器的标识用于确定头显在交互环境中的位置或方向。
0