(
映维网
2020年05月20日
)近期美国专利及商标局公布了一批全新的AR/VR专利,以下是映维网的整理(详情请点击专利标题),一共30篇。更多专利披露请访问映维网专利板块
https://patent.nweon.com/
进行检索,也可加入映维网AR/VR专利交流微信群。
1. 《
Oculus Patent | Techniques For Selecting A Direct Path Acoustic Signal(Oculus专利:选择直通声信号的技术)
》
专利描述的一个实施例阐述了一种计算机实现方法,其包括从第一麦克风接收第一输入声信号,从至少第一输入声信号生成第一音频频谱,其中第一音频频谱包括一组时频bin,以及根据为第一时频bin计算的第一局部空间域距离从集合中选择第一时频bin。
2. 《
Magic Leap Patent | Method And System For Multiple F-Number Lens(Magic Leap专利:用于多焦比透镜的方法和系统)
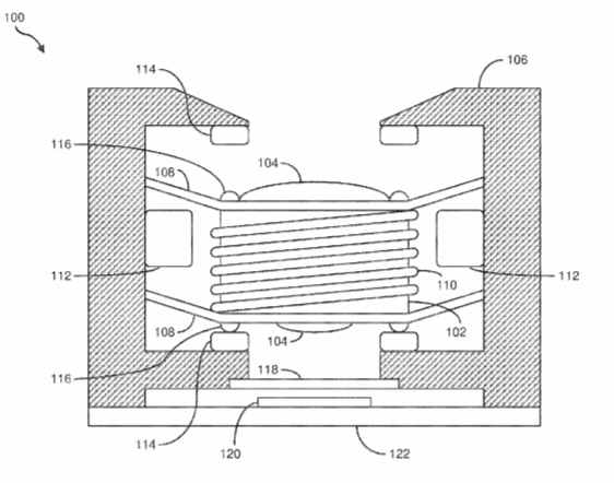
》
成像透镜包括一个或多个透镜元件,其配置成在从一个或多个第一对象反射到图像平面的第一波长范围内接收和聚焦光,并且在从一个或多个第二对象反射到图像平面的第二波长范围内接收和聚焦光。成像透镜同时包括孔径阑和位于孔径阑的滤波器。滤波器包括中心区域和围绕中心区域的外部区域。滤波器的中心区域具有第一波长范围内的第一传输带和第二波长范围内的第二传输带。
3. 《
Magic Leap Patent | Room Layout Estimation Methods And Techniques(Magic Leap专利:房间布局估算方法与技术)
》
专利描述了用于估计房间布局的系统和方法。房间布局可以包括地板、一个或多个墙壁和天花板的位置。在一个方面,神经网络可以分析一部分房间的图像,从而确定房间的布局。神经网络可以包括具有编码器子网络、解码器子网络和侧子网络的卷积神经网络。神经网络可以利用与房间类型相关联的二维有序关键点来确定三维房间布局。
4. 《
Facebook Patent | Cartilage Transducer(Facebook专利:软骨换能器)
》
专利描述的设备具有支撑结构和耦合到支撑结构的换能器。换能器可配置成响应于音频输入信号而产生运动。所述设备同时可以具有耦合到换能器的运动传导元件。所述运动传导元件可配置成将所生成的运动应用于用户耳朵的顶部。所述运动传导元件可以保持与用户耳朵顶部的接触。
5. 《
Facebook Patent | Panoramic Camera Systems( Facebook专利:全景相机系统)
》
相机系统捕获来自一组摄像头的图像,以生成环境的双目全景视图。摄像头在相机系统中定向。为了校准系统,识别图像之间的匹配特征,并用于估计相机系统外部的三维点。修改校准参数以改善三维点估计。当捕获图像时,系统管道使用来自相邻摄像头的重新投影视图,以及图像金字塔来为每个摄像头生成深度图。可以使用图像通过生成对应于深度图的深度表面,并混合深度表面,从不同的角度(相对于图像捕获位置)生成环境的视图。
6. 《
Facebook Patent | Positional Tracking Assisted Beam Forming In Wireless Virtual Reality Systems(Facebook专利:无线虚拟现实系统中的由位置追踪提供辅助的波束形成)
》
专利描述的实施例支持无线耦合到主机的头显。头显包括位置追踪系统,光束控制器和收发器。位置追踪系统追踪头显的位置,并产生描述头显追踪位置的位置信息。收发器根据通信指令并通过无线信道与主机通信,所述通信指令致使收发器通过多个定向波束的一个定向波束进行通信。光束控制器确定位置信息的变化。根据位置信息的改变,波束控制器确定多个定向波束的定向波束。波束控制器同时产生识别所确定的定向波束的通信指令,并将通信指令提供给收发器。
7. 《
Facebook Patent | Calibration Of Bone Conduction Transducer Assembly(Facebook专利:骨导换能器组件的校准)
》
专利描述了一种为利用骨传导向用户提供音频内容头显进行校准的方法。通过空气传导换能器向用户呈现具有不同频率的多个音调的第一音调。通过骨传导换能器向用户呈现与第一音调具有相同频率的对应音调。调整相应的音调,使得响度水平在第一音调的响度水平的阈值范围内。记录由第一音调产生的耳道声压,并向骨传导换能施加电压以产生经调整的相应音调。均衡滤波器部分根据耳道声压和电压生成,均衡滤波器用于滤波音频信号以通过骨传导换能器呈现。
8. 《
Facebook Patent | Marker Based Tracking(Facebook专利:基于马克点的追踪)
》
追踪系统将图像转换为3D空间中的一组点。图像是包含标记的可穿戴项目图像,点集包括标记的表示。使用一组点从多个视图中选择一个视图,并且所选视图包括一个或多个表示。根据所选视图和一组点生成深度映射,并且深度映射包括一个或多个表示。神经网络使用模型将标签映射到深度映射中的一个或多个表示。使用映射的标签确定关节参数。使用关节参数来更新模型,并且提供给可穿戴物品的用户。
9. 《
Facebook Patent | Systems And Methods For Content Streaming(Facebook专利:内容流式传输的系统和方法)
》
专利描述的系统,方法和非暂时性计算机可读介质可以获取球形媒体内容项,其捕获来自多个不同位置的至少一个场景。确定具有在一点会聚的多个面的三维对象,球形媒体内容项的至少第一部分映射至多个面中的至少第一面。
10. 《
Facebook Patent | Apparatus, Systems, And Methods For Sensing Biopotential Signals Via Compliant Electrodes(Facebook专利:通过兼容电极感应生物电位信号的设备、系统和方法)
》
专利描述的交互系统可包括:配置为传导由用户身体产生的生物电位信号的面部耦合子系统;与面部耦合子系统电连接且配置为经由面部耦合子系统的顺应电极从用户身体接收生物电位信号的接收子系统,和与接收子系统电连接并配置成确定生物电位信号的特性,使用生物电位信号的特性来确定用户眼睛的注视方向和/或用户的面部姿势的检测子系统。
11. 《
Facebook Patent | Wavefront Sensing In A Head Mounted Display(Facebook专利:头戴式显示器的波前传感)
》
头戴式显示器包括眼动传感器、光学模块和显示器。眼动传感器包括检测器和可调谐透镜。可调谐透镜具有微透镜状态和中性状态。在微透镜状态下,眼动传感器充当调节传感器,在中性状态下,眼睛传感器充当
眼动追踪
传感器。眼动传感器可以通过调节可调谐透镜的状态来替代眼动追踪或调节传感器的功能。在一个实施例中,调节传感器与眼动追踪器分离,并且使用分束器将反射光向两个传感器分离。
12. 《
Facebook Patent | System For Discharging Heat Out Of Head-Mounted Display Based On Hybrid Fan And Heat Pipe(Facebook专利:基于混合型风扇和导热管的头显散热系统)
》
专利所述的头显包括混合型风扇,具有一个或多个电子部件的印刷电路板,以及和导热管。混合型风扇从头显后侧抽出空气。导热管的一端连接到PCB。导热管部分围绕混合型风扇的外围并且将PCB的热量导走。头显同时包括侧盖和前盖。侧盖包围混合型风扇,PCB和热管。前盖附接到侧盖,前盖外边缘和侧盖外边缘之间具有切口,用于混合型风扇排出空气。
13. 《
Facebook Patent | Apparatuses, Systems, And Methods For A Multistable Lens Actuator Providing Multiple Stabilized Discrete Positions(Facebook专利:提供多个稳定离散位置的多稳态透镜致动器的设备、系统和方法)
》
专利描述的设备可包括:包括至少一个固定在透镜筒内的透镜的摄像头透镜组件;固定在透镜筒的导电线圈;至少部分包围导电线圈和透镜筒的外壳;将透镜筒保持在外壳内,并允许透镜筒沿着镜光轴在稳定的离散位置之间移动的至少一个机械弯曲器;以及与导电线圈隔开并耦合到外壳的磁铁,以便响应导电线圈中的电流,导电线圈和磁铁之间的电磁相互作用而使得透镜筒从稳定离散位置的第一位置移动到稳定离散位置的第二位置。
14. 《
Microsoft Patent | Systems And Methods Of Head-Mounted Devices With Mixed Capacity Cells(微软专利:包含混合容量电池的头戴式设备系统和方法)
》
专利描述了一种包括镜框和电池的头戴式设备系统与方法。镜框配置为佩戴在用户头上。电池由镜框支撑,并包括电气并联的第一电池和第二电池。第一电池具有第一容量,第二电池具有不同于第一容量的第二容量。
15. 《
Apple Patent | Point Cloud Geometry Compression(苹果专利:点云几何压缩)
》
专利描述的设备包括配置为压缩包括多个点的点云的编码器,其中每个点包括该点的空间信息。编码器配置为对点进行二次采样并确定二次采样点的细分位置。编码器配置为针对各个细分位置确定是否要相对于细分位置包含,不包含或重新定位点。编码器对子采样点的空间信息进行编码,并对细分位置点的包含/重定位信息进行编码,以生成压缩点云。解码器根据包含/重定位信息来重新创建原始点云的原始或近似副本。
16. 《
Apple Patent | Light Field Capture(苹果专利:光场捕捉)
》
专利描述的方式利用摄像头阵列捕获场景图像,并根据用户视点(POV)处理所捕获图像,并将其用于沉浸式增强现实,头戴式显示器, 视频会议和类似应用程序。在一个实现中,系统组合由摄像头阵列捕获的图像并向用户提供完整视图。在另一实现中,追踪用户从一个位置移动到另一个位置时的POV并根据变化显示图像。POV的变化包括X,Y和Z维度的变化。
专利描述的仿佛包括提供由第一摄像头拍摄的真实对象至少一部分的第一图像,将至少一部分确定为对象图像区域,确定相对于第一摄像头的第一3D平面,第一摄像头处于拍摄第一图像的位置,提供与第一图像中的真实对象相关的至少一个图像特征,提供至少一条穿过第一摄像头的光学中心的第一光线,所述光学中心位于拍摄第一图像和至少一个图像特征的位置,根据第一3D平面的第一平面法线向确定第一3D平面与至少一条第一光线之间的至少一个第一角度,提供由第二摄像头拍摄的真实环境第二图像,确定相对于第二摄像头的第二3D平面,第二摄像头处于拍摄第二图像的位置,在视点捕捉的真实环境的视图中,将对象图像区域的至少一部分映射到目标空间,其中将至少一个图像特征映射到视图坐标系中的至少一个目标位置,根据第二3D平面的第二平面法线向确定第二3D平面与至少一条第二光线之间的至少一个第二角度,确定至少一个目标位置,其中,至少一个图像特征映射到至少一个目标位置,使得至少一个第一角度和至少一个第二角度之间的差异最小化。
18. 《
Google Patent | Non-Planar Computational Displays(谷歌专利:非共面计算型显示器)
》
发明描述的近眼显示系统包括一个或多个非共面显示面板和小透镜阵列。近眼显示系统同时包括用于渲染元素图像阵列的渲染组件。
19. 《
Google Patent | Video Frame Codec Architectures(谷歌专利:视频帧编解码器架构)
》
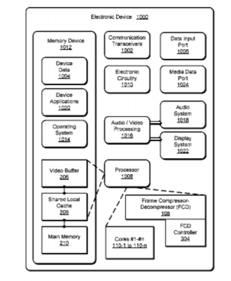
专利描述了的技术和装置可用于视频帧编解码器架构。帧解压缩器解压缩压缩帧,以产生解压缩帧。帧解压缩器控制组件调解对帧解压缩器的共享访问。片上系统的多个核心请求通过帧解压缩器控制组件从帧解压缩器接收解压缩帧。帧解压缩器控制组件可以实现请求队列,并且可以根据请求或请求优先级来对请求的服务进行排序。帧解压缩器控制组件同时可以建立用于多个核心访问的时间共享协议。在一些实施例中,视频解码器与帧解压缩器进行逻辑集成,并将解压缩帧的一部分存储在视频缓冲器中,并且显示控制组件使用同步机制检索用于显示的部分。通过类似的方式,帧压缩器控制组件调解多个核心对帧压缩器的共享访问。
20. 《
Qualcomm Patent | Enhanced High-Level Signaling For Fisheye Virtual Reality Video(高通专利:鱼眼虚拟现实视频的增强型高级信令)
》
专利描述了一种处理清单文件的方法,所述清单文件包括适应集级别语法结构中的一个或多个语法元素,所述清单元素指定相应适应集的一个或多个表示的属性,所述一个或多个表示包括鱼眼镜头视频数据。根据一个确定 一个或多个语法元素,确定包括鱼眼视频数据的一个或多个表示的属性,并根据所述确定检索一个表示的片段的至少一部分。所述片段包括一个可独立检索的媒体文件。
21. 《
Qualcomm Patent | Audio Parallax For Virtual Reality, Augmented Reality, And Mixed Reality(高通专利:用于虚拟现实、增强现实和混合现实的音频视差)
》
示例性音频解码设备包括处理电路和耦合到处理电路的存储器组件。处理电路配置成在比特流中接收三维声场的音频对象的编码表示,接收与比特流相关联的元数据,从接收到的元数据中获取与一个或多个音频对象相关联的一个或多个传输因子,以及将传输因子应用于一个或多个音频对象,从而获得3D声场的经视差调整的音频对象。存储器设备配置成存储3D声场的接收比特流、接收元数据或经视差调整的音频对象的至少一部分。
22. 《
Sony Patent | Information Processing Device, Information Processing Method, And Program(索尼专利:信息处理设备、信息处理方法及程序)
》
专利描述了一种方便用户感知立体视觉对象的信息处理装置、信息处理方法及程序。所述信息处理装置包括显示控制单元。所述显示控制单元配置成根据指定信息的模式来执行立体视觉对象从不同于目标深度的起始深度到目标深度的运动控制。在一个示例方法中,根据指定信息的模式,对用户感知的立体视觉对象执行从不同于目标深度的起始深度到目标深度的运动控制。
23. 《
Sony Patent | Image Generating Apparatus And Image Display Control Apparatus(索尼专利:图像生成装置和图像显示控制装置)
》
专利描述得图像生成装置包括全景图像生成单元,全景图像生成单元配置为生成全景图像。专利描述的方法包括,将至少一个分割区域从通过分割具有至少一部分场景而获得的八个分割区域中变换而生成全景图像,三个平面穿过球体的中心并且相互正交,使得对应于相等纬度的像素数量逐渐减少到更高的纬度,并且将变换后的区域放置在一个平面,然后输出生成的全景图像。
24. 《
Sony Patent | Display Panel, Display Device, And Electronic Device(索尼专利:显示面板,显示组件和电子设备)
》
专利描述的显示组件包括:显示面板,显示面板包括显示元件,每个显示元件包括发光单元和驱动发光单元的驱动电路,所述显示元件在基板上以二维矩阵排列。显示组件同时包括亮度校正单元,所述亮度校正单元用于校正所述显示元件在显示图像时的亮度,其中在显示面板的相邻发光单元之间设置有用于将杂散光从发光单元引导到显示面板的光学传感器分区,亮度校正单元根据未校正视频信号的灰度值和来自光学传感器的检测结果校正与每个显示元件相关联的视频信号灰度值。
25. 《
Sony Patent | Dynamic Entering And Leaving Of Virtual-Reality Environments Navigated By Different Hmd Users(索尼专利:用于不同头显用户导航的虚拟现实环境动态进出)
》
专利描述了头显用户加入虚拟现实场景的处理操作系统和方法。计算机实现的方法包括向第一用户的第一头显提供VR场景的第一透视图,并接收第二用户请求加入所述VR场景的指示。所述方法同时包括获取第二头显相对于第一头显的实际位置和方向数据,然后根据所述数据提供VR场景的第二视角。所述方法同时规定,在查看VR场景时,第一视点和第二视点分别由各自的位置和方向变化控制。
26. 《
Sony Patent | Method And Apparatus For Point Cloud Color Processing(索尼专利:用于点云颜色处理的方法和装置)
》
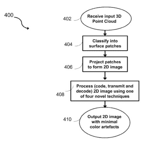
专利描述了一种减少由3D点云投影处理形成的图像的漏色伪影方法,所述方法包括:接收包含3D点云的输入图像;将云分类为多个表面片;将片投影到一个平面以形成第一2D图像;编码,发送和解码处理第一2D图像以形成最终的2D图像;并提供最终的2D图像作为输出。处理包括:减少片间的颜色泄漏;在片间填充像素以减少片间的颜色泄漏;根据深度和颜色值应用色度下采样方案,以减少片内颜色泄漏;执行后滤波以检测潜在的片内颜色泄漏,并采用减少片内颜色泄漏的自适应色度上采样方案。
27. 《
Sony Patent | Localisation And Mapping(索尼专利:定位与映射)
》
一种方法从从不同camera姿态捕获的区域连续图像生成三维映射。所述方法捕获区域的连续图像,检测每个捕获图像的重力垂直方向,检测捕获图像中的特征点,并将捕获图像的子集指定为一组关键帧。所述方法同时包括,从图像中检测到的特征点导出camera姿态;使用为图像和参考关键帧导出的camera姿态将重力垂直方向旋转到参考关键帧的坐标;以及将旋转方向与参考关键帧的实际重力垂直方向进行比较,以检测图像的质量。
28. 《
Sony Patent | Information Processing Device, Information Processing Method, And Program(索尼专利:信息处理设备、信息处理方法和程序)
》
专利描述了一种能够执行图像跟随式音频控制或图像非跟随式音频控制的设备和方法。在显示单元选择性地显示不同方向的图像,并且根据图像显示来控制输出音频。根据显示单元的显示图像的移动,数据处理单元执行移动音频源方向的图像跟随式音频控制。数据处理单元从MP4文件或媒体呈现描述(MPD)文件获取音频控制信息,并根据音频控制信息执行图像跟随式音频控制或图像非跟随式音频控制。
29. 《
Sony Patent | Variable Magnetic Field-Based Position(索尼专利:基于可变磁场的定位)
》
为了获取三轴(或更多轴)磁力计/加速度计装置的三维位置和方向,可使用旋转磁场区分和去除旋转磁场中的外部(地球)磁场。这可以减少使用校准表(或公式)确定磁场源距离的问题。
30. 《
Intel Patent | Surface Reconstruction For Interactive Augmented Reality(英特尔专利:用于交互式增强现实的表面重建)
》
半导体封装装置的实施例可以包括执行深度传感器融合以确定表面的深度信息;利用具有带宽估计自动调整的自适应平滑来平滑表面的深度信息并保留表面的边缘信息;基于条件迭代流形插值来迭代地移除表面孔洞;根据三角形边缘收缩减少对应于表面的文件大小和数据内存存储大小中的一个或多个;根据对应于表面可见部分的数据构建3D模型。专利描述了其他实施例。
0