/ Nweon / 0浏览

2020年05月13日美国专利局新批准AR/VR专利报告



映维网
2020年05月13日

)近期美国专利及商标局公布了一批全新的AR/VR专利,以下是映维网的整理(详情请点击专利标题),一共37篇。更多专利披露请访问映维网专利板块
https://patent.nweon.com/
进行检索,也可加入映维网AR/VR专利交流微信群。


1. 《
Magic Leap Patent | Systems And Methods For Augmented Reality(Magic Leap专利:用于增强现实的系统和方法)

在一些实施例中,用来自第二传感器的修正数据输入点更新从第一传感器输入的数据。通过定期更新或调整收集到的噪声数据,可以防止过大的误差或漂移对系统性能或对所述数据的解释产生负面影响。


2. 《
Magic Leap Patent | Current Drain Reduction In Ar/Vr Display Systems(Magic Leap专利:减少AR/ VR显示系统中的电流消耗)

在一些实施例中,在AR或VR显示系统使用
眼动追踪
来确定显示系统的用户是否眨眼或无法看见。 作为响应,可以使与显示器相关联的光源变暗或关闭,或者通过将图形驱动器配置为跳过指定数量的帧,或通过减少与显示器相关联的光源的电流消耗或功率使用,或在指定的时间段内降低刷新率。


3. 《
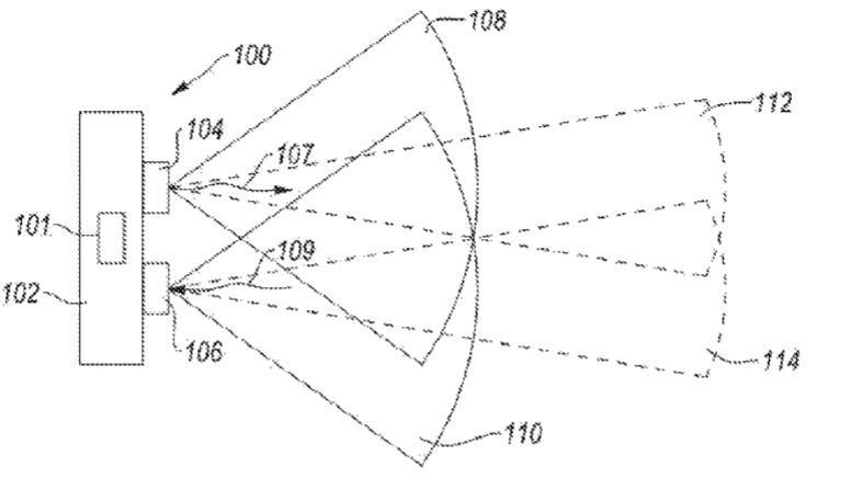
Magic Leap Patent | System For Detecting Six Degrees Of Freedom Of Movement By Tracking Optical Flow Of Backscattered Laser Speckle Patterns(Magic Leap专利:通过追踪反向散射激光斑点图案的光学流动来检测六自由度的系统)

增强现实头显包括透明显示器,器允许用户同时查看现实世界和定位在现实世界中的虚拟内容。增强现实头显进一步包括至少一个相干光源和至少一个传感器阵列,后者用于在相干光到达环境表面时,在一系列时间内感应产生的斑点图案。提供用于感应斑点图案的偏移的电路,并确定引起斑点图案偏移的运动,以及调整虚拟对象的显示以补偿所述运动。


4. 《
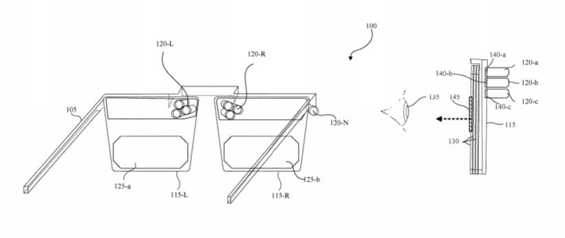
Magic Leap Patent | Virtual Or Augmented Reality Headsets Having Adjustable Interpupillary Distance(Magic Leap专利:具有可调节瞳孔间距离的虚拟现实或增强现实头头显)

专利描述的头显具有一个框架,一对目镜和一个瞳孔间距离调节机制。框架包括对立的臂部,以及设置在对立臂部之间的桥架。调节机制与目镜耦合,并可操作地同时移动目镜,从而调节目镜的瞳孔间距离。


5. 《
Magic Leap Patent | Beam Angle Sensor In Virtual/Augmented Reality System(Magic Leap专利:虚拟现实/增强现实系统的光束角度传感器)

专利描述的虚拟图像生成系统包括:配置为生成准直光束的投影子系统;配置为响应准直光束发射光线并向最终用户显示图像帧像素的显示器的显示器。所述虚拟图像生成系统同时包括:配置为感测光线发射角度的传感组件;配置为生成定义像素位置的图像数据,并根据像素的定义位置和感测到的参数控制光束发射角度的控制子系统。


6. 《
Magic Leap Patent | Outcoupling Grating For Augmented Reality System(Magic Leap专利:用于增强现实系统的耦出光栅)

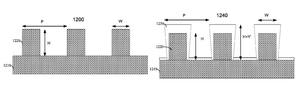
目镜包括传播光线的波导,以及光学耦合到波导的衍射光学元件。衍射光学元件包括从波导的一个表面突出的多个第一脊。多个第一脊中的每个第一脊具有第一高度和第一宽度。衍射光学元件进一步包括复数个第二脊。复数个第二脊中的每一个从各自的第一脊突出,并且具有大于第一高度和小于第一宽度的第二高度和第二宽度。衍射光学元件配置为将入射到衍射光学元件的光束的一部分向眼球衍射。


7. 《
Magic Leap Patent | Fixed-Distance Virtual And Augmented Reality Systems And Methods(Magic Leap专利 :固定距离的虚拟现实和增强现实系统及方法)

一种固定距离显示系统包括配置为产生光束的光源。所述系统同时包括光引导光学元件,光学元件配置为通过内全反射传播光束的至少一部分。所述系统进一步包括第一惯性测量单元,所述惯性测量单元配置成测量用于计算用户头部姿态的第一值。所述系统同时包括配置成捕获图像的摄像头。显示系统配置为仅在单个预定光平面的公差范围内显示虚拟图像。


8. 《
Facebook Patent | Facial-Interface Cushion, System, And Method For Head-Mounted Displays(Facebook专利:头显的面部界面衬垫,系统和方法)

专利描述了一种用于面部界面衬垫的制造方法:将泡沫层定位在模具组件的凹入模具构件和插入模具构件之间;在朝向所述凹入模具构件的方向上迫使所述插入模具构件抵靠泡沫层,从而形成包括第一端部的成形泡沫元件;通过加热软化成形泡沫元件并将成形泡沫元件的第一端部结合到成形第二端部以形成面部界面衬垫。


9. 《
Facebook Patent | In-Band Signaling For Display Luminance Control(Facebook专利:用于显示亮度控制的带内信令)

视频编码器配置成编码视频数据,其中,编码的视频数据中的一个或多个像素用于带内信令的亮度调整值,从而配置视频的整体亮度。另外,根据亮度调整值对视频数据的像素点进行缩放,以补偿改变后的整体亮度。显示设备可以提取和解析信令的亮度调整值,并控制显示设备的一个参数以实现由亮度调整值指示的整体亮度水平。


10. 《
Facebook Patent | Rendering 360 Depth Content(Facebook专利:渲染360度深度内容)

用户设备可以接收和显示360度深度格式的360度全景内容。360度深度内容可以包括360度全景图像数据和相应的深度信息。为了显示360度深度内容,用户设备可以根据360度深度内容和当前用户视点来生成3D环境。用户设备的内容显示模块可以使用配置为渲染360度深度内容的标准3D渲染管道来渲染360度深度内容。内容显示模块可以使用3D渲染管道的顶点着色器或片段着色器将360度深度内容的深度信息解释为3D环境。


11. 《
Facebook Patent | Image Segmentation In Virtual Reality Environments(Facebook专利:虚拟现实环境中的图像分割)

在一个实施例中,一种方法包括在虚拟现实环境中的二维图像中划定区域,基于在划定区域中检测到的对象生成遮罩,以及在虚拟现实环境中生成虚拟物体。可以包括接收用户输入以划定区域。划定区域可包括检测对象并确定检测到的对象的周长。检测到的对象可以分类成对应于指定的对象类型。


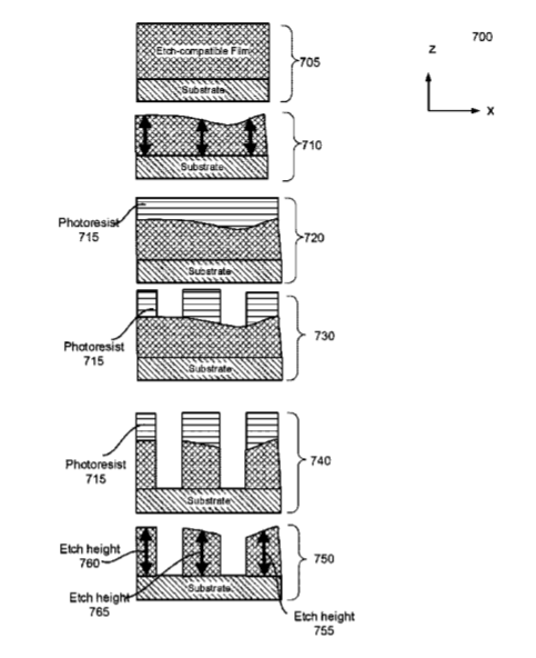
12. 《
Facebook Patent | Gratings With Variable Etch Heights For Waveguide Displays(Facebook专利:用于波导显示器并包含可变蚀刻高度的光栅)

一种制造系统在基材进行蚀刻相容性薄膜的沉积蚀刻相容性薄膜包括第一表面和与第一表面相对的第二表面。制造系统执行蚀刻相容性薄膜的部分去除,以在第一表面形成具有相对于基材的多个蚀刻高度的表面轮廓。制造系统执行在所述表面轮廓执行光刻胶的平版印刷图案化,以获得多个蚀刻高度和对应于蚀刻相容性薄膜的一个或多个占空比。


13. 《
Facebook Patent | Duty Cycle, Depth, And Surface Energy Control In Nano Fabrication(Facebook专利:纳米制造中的占空比,深度和表面能控制)

专利描述了用于制造倾斜式表面浮雕结构的技术。在一些实施例中,一种用于制造目标倾斜式表面浮雕结构的方法包括制造包括多个脊的初步表面浮雕结构并修改初步表面浮雕结构的参数。所述参数包括多个脊的每一个的宽度,多个脊的每一个的高度,初步表面浮雕结构的表面能或多个脊的边缘的倾斜角。修改参数包括在初步表面浮雕结构上沉积材料层,并对材料层进行蚀刻或表面处理。


14. 《
Facebook Patent | Fluidic Switching Devices(Facebook专利:射流开关组件)

射流组件控制从源到管通道中的流体流动。在一些实施例中,射流组件包括栅极,通道和阻挡物。栅极包括至少一个腔室,其容积随流体压力而增加。栅极的高压状态对应于第一腔室尺寸,栅极的低压状态对应于小于第一腔室尺寸的第二腔室尺寸。阻挡物基于栅极中的流体压力控制通道内的流体流动速率。根据栅极的低压状态,阻挡物在通道中至多引起流体的第一流速,并且根据栅极的高压状态,阻挡物至少在通道中引起流体的第二流速。


15. 《
Microsoft Patent | Structured Light 3d Sensors With Variable Focal Length Lenses And Illuminators(微软专利:具有可变焦距透镜和照明器的结构化光3D传感器)

用于三维成像的方法包括:利用结构化光照明器以结构化光模式发射输出光;接收触发命令;改变照明器的照明视场;以及改变成像传感器的视场。视场与照明场链接在一起,因此成像传感器的视场与照明器在近程视场和远程视场时的照明场相同。所述方法同时包括利用成像传感器检测反射光并通过计算结构光图案的畸变来测量深度值。


16. 《
Microsoft Patent | Color Management Of Display Device(微软专利:显示设备的色彩管理)

专利描述了一种MicroLED显示系统,所述系统包括多个单色投影仪(如三个MicroLED投影仪)以产生三个单色图像(如红、蓝、绿图像。所述图像分别输入到头显的单一波导中,并组合成一个图像显示给用户。通过利用包括多个空间分离的输入区域(如用于输入蓝光的区域、用于输入红光的区域、用于输入绿光的区域)的单一波导,MicroLED显示系统可以减少头显的形状参数。


17. 《
Microsoft Patent | Seamless Switching Between An Authoring View And A Consumption View Of A Three-Dimensional Scene(微软专利:创作视图和浏览视图之间的无缝切换)

专利描述的平台配置为以不同的模式操作,以支持用户在创作视图和浏览视图之间进行无缝切换。 第一模式包括创作模式,其中用户可以经由计算设备添加和/或编辑在三维场景中显示的内容。第二模式包括浏览模式,其中创作用户可以经由头显预览和/或共享在三维场景中显示的内容。所以,相同的平台可允许用户在两种不同模式之间切换。


18. 《
Microsoft Patent | Systems And Methods Of Distance-Based Shaders For Procedurally Generated Graphics(微软专利:用于程序生成图形的基于距离的着色器系统和方法)

一种用于向用户显示视觉信息的电子系统包括一个头戴式显示器。头显包括一个近视显示器(NED),一个与NED进行数据通信的微处理器,以及一个与微处理器进行数据通信的存储组件。所述方法包括确定一个原点和目标点,并计算在三维空间中原点和目标点之间的对象距离。对象距离用于调整距离测试的阈值。所述方法进一步包括确定目标点的着色器值,并将着色器应用于目标点以创建阴影虚拟对象。然后将阴影虚拟对象显示给用户。


19. 《
Microsoft Patent | Representation Of User Position, Movement, And Gaze In Mixed Reality Space(微软专利:混合现实空间中用户位置,运动和注视表示)

控制混合现实,虚拟现实或增强现实的环境可视化可能涉及从多个数据源获取多个传感器数据。使用多个数据分析器处理获得的多个传感器数据,以识别至少一个特征;生成多个带注释的数据集,其中带注释的数据集包含至少一个特征的注释;聚合多个带注释的数据集,以使共同特征相关联; 根据共同特征,提供表示混合现实,虚拟现实或增强现实环境的可视化输出。


20. 《
Microsoft Patent | Dynamic Soft Shadow(微软专利:动态柔和阴影)

可以在不依靠计算昂贵的多次渲染遍历和采样的情况下生成动态柔和阴影。专利描述的系统和方法可以在单通道中渲染动态柔和阴影。在一些实施例中,脚本可与着色器一起使用,以根据阴影投射元件和光矢量的位置和大小来渲染具有真实大小,形状,位置,渐变因子和清晰度的阴影。


21. 《
Microsoft Patent | Presenting Applications Within Virtual Environments(微软专利:在虚拟环境中呈现应用程序)

专利描述了在虚拟环境中呈现应用程序的技术。根据这种技术,虚拟环境可以定义应用程序在虚拟环境中的区域,并在虚拟环境中标识用户的视图。虚拟环境可以说明应用程序的应用程序区域和用户的视图,这可以使得应用程序能够从用户的视图生成应用程序的应用程序视图。虚拟环境可以从用户视图接收应用程序的应用程序视图,将应用程序的应用程序视图插入到虚拟环境的应用程序区域中,并将包括应用程序区域的虚拟环境呈现给用户。


22. 《
Microsoft Patent | Authentication-Based Presentation Of Virtual Content(微软专利:基于认证的虚拟内容展示)

专利描述的技术能够允许系统根据用户标识来限制和/或定制显示的虚拟内容。诸如登录名,身份验证凭据等用户信息可用于确定和/或验证通过头显设备进入和/或消费体验的用户的标识。 用户标识可用于确定哪些虚拟内容可以作为体验一部分并显示给用户。所以,可以为不同用户提供不同的虚拟内容。


23. 《
Microsoft Patent | Control Interface For A Three-Dimensional Graphical Object(微软专利:用于三维图形对象的控制界面)

专利描述了用于在虚拟绘图空间中操纵三维图形对象的控制接口。可以通过选择一个或多个图形对象来激活控件。当选择多个对象时,操纵可以作为一个组进行。在一个方面,操纵发生在三维图形对象或对象组的质心周围。操纵可以包括在虚拟绘图空间中旋转、大小调整和位置调整。控制界面包括围绕x轴、y轴或z轴旋转对象的控件。


24. 《
Microsoft Patent | Ground Plane Adjustment In A Virtual Reality Environment(微软专利:虚拟现实环境中的地平面调整)

头显配置为垂直调整渲染虚拟现实环境的地平面,以便设备用户可以自由导航和探索环境,并且始终正确地位于虚拟地面之上。当用户没有进行某种形式的运动时,头显设备不是连续地调整虚拟现实地平面,而是在用户周围建立一个阈值半径。在所述半径范围内不执行虚拟地平面调整。用户可以在阈值半径内移动,无需头显设备移动虚拟地形。当用户移动超过阈值半径时,设备将根据需要进行调整,以使虚拟现实环境的地平面与真实世界的地板相匹配。


25. 《
Apple Patent | Method Of Providing A Descriptor For At Least One Feature Of An Image And Method Of Matching Features(苹果专利:为图像的至少一个特征提供描述符的方法和特征匹配方法)

专利描述了一种为图像的至少一个特征提供描述符的方法,其包括以下步骤:提供由捕获设备捕获的图像,从图像中提取至少一个特征,并将描述符分配给至少一个特征。所述描述符取决于指示方向的至少一个参数。其中,至少一个参数是根据由追踪系统测量的捕获设备方向来确定。


26. 《
Google Patent | Volumetric Multi-Selection Interface For Selecting Multiple Objects In 3d Space(谷歌专利:用于在三维空间中选择多个对象的体三维多项选择界面)

用于在三维空间中选择多个对象的体三维多项选择界面系统与方法。示例方法包括在三维空间内生成选择区域,并接收用户输入以定义选择路径。这个方法同时包括根据选择区域和选择路径定义来选择volume,并根据选择volume在三维空间内选择实体。在一些实施例中,在定义选择路径的同时接收改变选择区域的用户输入。系统可以根据这一用户输入改变选择区域的大小或形状。


27. 《
Qualcomm Patent | Systems And Methods Of Signaling Of Regions Of Interest(高通专利:感兴趣区域的信令系统和方法)

专利描述了处理视频数据的技术和系统。在一个例子中,可以获得与360度视频数据相关联的媒体文件。360度视频数据可以包括场景的球形表示。媒体文件可以包括与感兴趣区域(ROI)相对应的视区的第一信令信息和第二信令信息。第一信令信息可以包括视区的中心位置和尺寸。第二信令信息可以指示包括视区图像的区域。可以根据第一信令信息和第二信令信息从图片的数据中提取与视区相对应的像素,并用于渲染。


28. 《
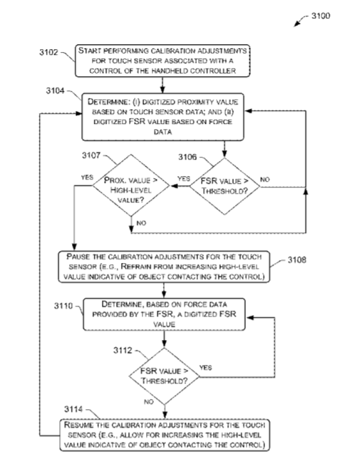
Valve Patent | Sensor Fusion Algorithms For A Handheld Controller That Includes A Force Sensing Resistor (Fsr)(Valve专利:包括力传感电阻器的手持式控制器的传感器融合算法)

手持式控制器的逻辑可以实现基于力传感电阻器(FSR)提供的力数据和触控传感器提供的触控传感器数据的传感器融合算法。例如,传感器融合算法可用于暂停针对触控传感器的校准调整,以响应用户以高于阈值的力按压手持控制器的控制。例如,可以响应于从低于阈值到高于阈值的跨阈值而暂停相对于高级值的校准调整,并且可以响应于相反方向的跨阈值而恢复校准调整。


29. 《
Sony Patent | Information Processing Apparatus, Stereoscopic Display Method, And Program(索尼专利:信息处理装置,立体显示方法及程序)

专利描述的装置和方法提供用于处理信息的逻辑。在一个实施例中,一种装置可以包括确定单元,所述确定单元配置为确定操作工具一部分的第一空间位置。所述装置同时可以包括控制单元,所述控制单元配置为生成第一信号,并在第一显示位置向用户显示立体图像。第一显示位置可以设置在第一空间位置的预定距离内。


30. 《
Sony Patent | Information Processing Device And Information Processing Method(索尼专利:信息处理设备和信息处理方法)

信息处理设备包括显示控制单元。当在虚拟空间中定义的内容的位置和在虚拟空间中定义的视点的位置具有第一位置关系时,显示控制单元执行显示控制,使得与内容对应的第一虚拟对象包含在渲染图像中;当内容的位置和视点的位置具有第二位置关系时,显示控制单元执行显示控制,使得与内容相对应的第二虚拟对象包含在渲染图像中。第二位置关系中的位置之间的距离小于第一位置关系中的位置之间的距离,并且第二虚拟对象的可见性低于第一虚拟对象的可见性。


31. 《
Sony Patent | Optimized Shadows In A Foveated Rendering System(索尼专利:注视点渲染系统中的优化阴影)

专利描述了一种实现图形管道的方法。所述方法包括建立高分辨率的第一阴影贴图,以及基于低分辨率的第一阴影贴图建立第二阴影贴图。所述方法包括确定影响虚拟场景的光源,以及从第一视点将虚拟场景的对象几何图形投影到显示器的多个像素上。所述方法包括在渲染图像时确定注视点区域。所述方法包括确定将第一组几何图形绘制到第一像素,根据光源确定第一组几何图形处于阴影中,并且确定第一组几何图形位于注视点区域之外。所述方法包括使用第二个阴影贴图渲染第一组几何体。


32. 《
Sony Patent | Apparatus And Method For Estimating Eye Gaze Location(索尼专利:用于估计眼睛注视点位置的装置和方法)

专利描述了一种追踪眼球运动的方法。所述方法的一个实施例包括从配置成检测注视位置的第一传感器接收第一测量,至少基于第一测量确定初始注视位置,从第二传感器接收眼动幅度和眼动方向测量中的至少一个,以及至少基于初始注视位置和眼动幅度和眼动方向中的至少一个来确定估计的注视位置。


33. 《
Sony Patent | Enhancing Information In A Three-Dimensional Map(索尼专利:提升三维映射的信息)

专利描述的发明涉及增强三维映射中的信息。在一些实现中,方法包括使用客户端设备确定与用户相关联的用户信息。所述方法同时包括基于用户信息生成物理环境的3D映射。所述方法同时包括基于用户信息确定相关信息。所述方法同时包括在客户端设备的用户界面中显示3D映射中的相关信息。


34. 《
Intel Patent | Shared Display Links In A User System(英特尔专利:用户系统中的共享显示链接)

专利描述的系统包括通信聚合器,所述通信聚合器具有用于通过第一协议的第一链路与主机通信的第一接口,耦合到第一接口以通过第一协议的第二链路与显示设备通信的第二接口,以及耦合到第一接口以通过第三链路与传感器通信的第三接口。另外,主机通过基于第一协议的第一链路和基于第一协议的第二链路与显示设备通信;传感器通过基于第二协议的第三链路和基于第一协议的第一链路与主机通信。


35. 《
Intel Patent | Apparatus And Method For Foveated Rendering, Bin Comparison And Tbimr Memory-Backed Storage For Virtual Reality Implementations(英特尔专利:用于虚拟现实实现的注视点渲染、Bin比较和Tbimr内存支持存储的设备和方法)

虚拟现实装置的一个实施例包括:包括多个图形处理级的图形处理引擎,用于在头显左右显示器呈现多个图像帧的图形处理引擎;以及注视点控制硬件逻辑。注视点控制硬件逻辑根据从眼动追踪模块接收到的反馈独立地控制多个图形处理级中的两个或多个。


36. 《
Intel Patent | Compensating For High Head Movement In Head-Mounted Displays(英特尔专利:补偿头显的高速头部运动)

当头部运动速度超过系统的处理能力时,显示缩小的描述。作为一个例子,可以使用粗略像素着色来降低分辨率,以便以头部移动的速度创建新的描绘。根据另一实施例,仅以全分辨率处理用户正在注视的区域,并且以较低分辨率处理描绘其余部分。在另一个实施例中,可以模糊或灰化背景描绘以减少处理时间。


37. 《
Nvidia Patent | Near-Eye Optical Deconvolution Displays(英伟达专利:近眼光学反卷积显示器)

在本发明的实施例中,设备可以包括包括多个像素的显示器。所述设备同时可包括与显示器耦合的计算机系统,其可操作性用于指示显示器显示与目标图像对应的非卷积图像。其中,当显示器显示位于用户近眼范围内的非卷积图像时,用户可在感知对焦的目标图像。

0

  1. This post has no comment yet

发表回复

您的邮箱地址不会被公开。 必填项已用 * 标注