(
映维网
2020年05月08日
)近期美国专利及商标局公布了一批全新的AR/VR专利,以下是映维网的整理(详情请点击专利标题),一共24篇。更多专利披露请访问映维网专利板块
https://patent.nweon.com/
进行检索,也可加入映维网AR/VR专利交流微信群。
1. 《
Magic Leap Patent | Polarizing Maintaining Optical Fiber In Virtual/Augmented Reality System(Magic Leap专利:虚拟现实/增强现实系统中的保偏光纤)
》
用于生成虚拟图像的显示子系统,括显示器、具有偏振保持(PM)传输光纤部分和非PM扫描光纤部分的光纤、用于将线性偏振光注入传输光纤部分的光源。这样,线性偏振光从扫描光纤部分发射,而显示器用于接收扫描的光束并向最终用户生成图像。
2. 《
Magic Leap Patent | Depth Sensing Systems And Methods(Magic Leap专利:深度感应系统和方法)
》
深度感应系统包括具有第一和第二传感器像素的传感器,其用于接收来自表面的光。所述系统同时包括过滤器,其允许全光谱光透射到第一传感器像素,而可见光透射到第二传感器像素,同时防止红外光透射到第二传感器像素。所述系统同时包括处理器,其用于分析全光谱光和可见光并确定表面的深度。过滤器设置在传感器和表面之间。
3. 《
Magic Leap Patent | Virtual Reality, Augmented Reality, And Mixed Reality Systems Including Thick Media And Related Methods(Magic Leap专利:包括厚介质的虚拟现实,增强现实和混合现实系统及相关方法)》
》
专利描述的头戴式成像系统包括配置为产生光束的光源。所述系统同时包括导光光学元件,所述导光光学元件的厚度在0.1至1.5mm之间,并且配置为通过全内反射来传播光束的至少一部分。所述系统同时包括导光光学元件的入射部分和出射部分。
4. 《
Magic Leap Patent | Systems And Methods For Optical Systems With Exit Pupil Expander(Magic Leap专利:用于具有光瞳扩展器的光学系统的系统和方法)
》
专利描述了用于扩展出射光瞳的架构。各种实施例包括一种含有一个或多个波导的显示装置。一个或多个波导的一个或多个物理/光学参数和/或输入到所述波导的光线波长可以随着入射角度的变化而变化,从而保持不同子光束之间的相位相关。
5. 《
Magic Leap Patent | Diffraction Gratings Formed By Metasurfaces Having Differently Oriented Nanobeams(Magic Leap专利:由包含不同取向的纳米束的超表面形成的衍射光栅)
》
超表面在头显系统中提供紧凑的光学元件。所述超表面可以由多个重复的晶胞形成,每个晶胞包括在交叉方向伸长的两组或更多组纳米束。超表面可以在入射角范围内为圆偏振的入射光提供具有高衍射角和高衍射效率的光衍射。
6. 《
Facebook Patent | Image Sensor Post Processing(Facebook专利:图像传感器后处理)
》
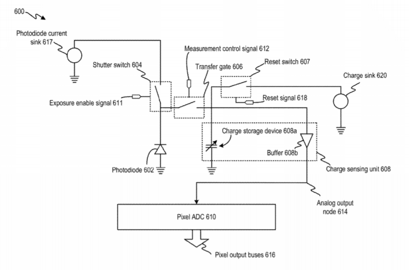
专利描述的一种设备包括图像传感器,所述图像传感器配置为根据第一关系生成第一原始输出以表示入射光的第一强度,并且根据第二关系生成第二原始输出以表示入射光的第二强度。所述设备同时包括后处理器,所述后处理器配置为:根据第一原始输出和第一关系来生成第一后处理输出,使得第一后处理输出根据第三关系与第一强度线性相关;根据第二原始输出和第二关系来生成第二后处理输出,使得第二后处理输出根据第三关系与第二强度线性相关。
7. 《
Facebook Patent | Display Engine For Post-Rendering Processing(Facebook专利:用于后渲染处理的显示引擎)
》
在一个实施例中,一种方法包括访问人造现实场景的一个或多个表面。一个或多个表面基于以第一速率渲染的一个或多个人造现实场景图像和基于第一观看位置生成。所述方法包括以高于第一速率的第二速率生成子帧。通过确定第二观看位置、从第二观看位置确定人造现实场景的一个或多个表面的可见性,根据确定的一个或多个表面的可见性生成与显示器输出位置相对应的子帧的颜色值来生成每个子帧,以及提供子帧的颜色值以供显示。
8. 《
Facebook Patent | Passthrough Visualization(Facebook专利:透视可视化)
》
在一个实施例中,一种方法包括接收与用户外部环境相对应的图像数据。在第一时间捕获图像数据,并且图像数据包括用户的身体部分。所述方法包括接收基于由至少一个与身体部分相关联的运动传感器在第一时间进行的测量而生成的第一追踪数据;至少根据图像数据生成与身体部分相关联的模型表示;接收根据由运动传感器在第二时间进行的测量而生成的第二追踪数据;根据所述第一追踪数据和所述第二追踪数据确定与所述身体部分相关联的模型表示的变形;以及显示所述变形。
9. 《
Facebook Patent | Parallel Texture Sampling(Facebook专利:并行纹理采样)
》
在一个实施例中,计算系统可以接收组织成包括多个子阵列的texel阵列的多个texel。系统可以确定多个texel子集,其中每个子集中的texel在其各自的子阵列中具有相同的位置。系统可以将texel子集分别存储到多个缓冲块中,每个缓冲块存储一个texel子集。系统可以从缓冲块中检索采样texel阵列,从而并行地确定多个采样点的像素值。采样texel数组的每个texel可以从不同的缓冲块中检索。
10. 《
Facebook Patent | Detecting Augmented-Reality Targets(Facebook专利:检测增强现实目标)
》
在一个实施例中,一种方法包括接收深度学习(DL)特征表示和局部特征描述符,其中,DL特征表示和局部特征描述符从包括真实世界对象的第一描述的图像中提取;根据所接收的DL特征表示和与多个增强现实目标相关联的存储DL特征的比较,识别一组潜在匹配的DL特征表示;从与一组潜在匹配的DL特征表示相关联的一组潜在匹配AR目标中,根据接收到的一个或多个本地特征描述符和与一组潜在匹配AR目标相关联的存储本地特征描述符比较,匹配AR目标。向客户端计算设备发送配置为呈现与匹配AR目标相关联的AR效果信息。
11. 《
Facebook Patent | Light Source With Plurality Of Waveguides(Facebook专利:多个波导的光源)
》
第一波导管发射第一光,第二波导管发射第二光。滤波器配置成反射第二光并将第一光传递到第二波导的入口面。
12. 《
Facebook Patent | Waveguide Display With A Small Form Factor, A Large Field Of View, And A Large Eyebox(Facebook专利:小形状参数,大视场,大视窗的波导显示器)
》
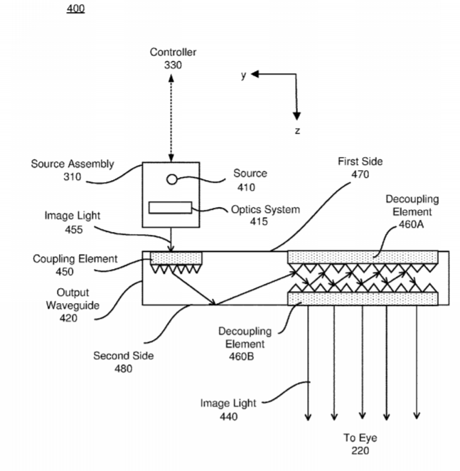
专利描述的波导显示器用于向用户呈现媒体内容。波导显示器包括光源组件,输出波导和控制组件。光源组件包括至少沿一个维度投射图像光的一个或多个投影仪。输出波导包括具有两个相对表面的波导体。输出波导包括:第一光栅,接收沿输入波矢传播的图像光;第二光栅;以及第三光栅,第三光栅与第二光栅相对,并输出具有与输入波矢相匹配的波矢扩展图像光。控制组件控制一个或多个源组件的扫描以形成二维图像。
13. 《
Facebook Patent | Focus Adjusting Multiplanar Head Mounted Display(Facebook专利:支持焦点调整的多平面头显)
》
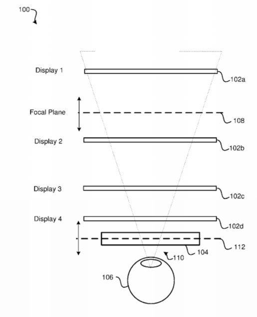
多平面头显包括两个或多个用于眼睛的人造显示平面,所述人造显示平面位于光学距离处,所述光学距离可以动态调整。根据用户正在观看的对象,可以使用变焦系统来调整将图像光从电子显示元件引导到用户眼睛的光学块的焦距。
14. 《
Microsoft Patent | Augmented Reality Immersive Reader(微软专利:增强现实沉浸式阅读器)
》
移动设备访问由移动设备的图像传感器生成的图像。移动设备检测图像中的文本内容。移动设备访问用户的阅读偏好,并根据阅读偏好格式化文本内容。然后,移动设备在显示器中生成并显示格式化文本内容。
15. 《
Microsoft Patent | Wearable Device Enabling Multi-Finger Gestures(微软专利:支持多指手势的可穿戴设备)
》
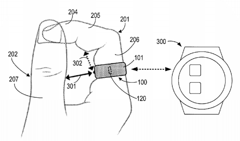
专利描述的可穿戴设备通常包括第一传感器、第二传感器和控制组件。第一传感器可以检测用户第一个手指的第一组一个或多个运动。所述第二传感器能够检测用户第二手指的第二组一个或多个运动。控制组件配置成根据第一和第二运动组确定第一手指和第二手指之间的相对运动,从而检测多指手势,并且控制与基于多指手势的可穿戴设备相关联的终端设备。
16. 《
Microsoft Patent | Electromagnetically Actuating A Haptic Feedback System(微软专利:电磁驱动触觉反馈系统)
》
专利描述的触觉致动器包括一个感应线圈、一层可压缩材料、以及定位在可压缩材料层之上的磁铁。在将控制信号应用于电感线圈时,磁铁能够通过压缩可压缩材料而相对于电感线圈可移动。
17. 《
Sony Patent | Display Control System And Method To Generate A Virtual Environment In A Vehicle(索尼专利:在车内生成虚拟环境的显示控制系统和方法)
》
一种在车辆中生成虚拟环境的显示控制系统包括:电子控制单元,其配置为接收与要在车辆中的显示介质中显示视频的对应输入。在车辆的当前行驶路线和与所选视频相关联的行驶路线之间确定相关因子。在车辆沿当前行驶路线运动的情况下确定相关因子。根据所确定的相关因子来调整所选视频的一个或多个视频参数,然后控制所选视频在车内显示介质中的显示。
18. 《
Sony Patent | Information Processing Device, Information Processing Method, And Computer Program(索尼专利:信息处理组件,信息处理方法及计算机程序)
》
专利描述的信息处理装置包括控制显示的显示控制单元。在用户选择第一真实对象作为待操作对象的情况下,所述显示控制单元使得存在于真实空间中的第一真实对象和第二真实对象的显示识别为待操作对象的候选者。根据用户的选择,在与第一真实对象的位置相对应的真实空间第一位置显示与第一真实对象相对应的第一虚拟对象,并且在用户选择第二真实对象作为要操作的对象的情况下,根据用户的选择,在与第二真实对象位置相对应的真实空间第二位置显示与第二真实对象相对应的第二虚拟对象。
19. 《
Sony Patent | Head Mounted Display(索尼专利:头戴式显示器)
》
在一个示例中,头显具有外壳和浏览端口。浏览端口有一个用于渲染虚拟现实场景的屏幕。头显具有用于通过网络交换数据的通信组件。头显具有集成在外壳中的深度照摄像头,并且定向于捕捉外壳前面的环境的深度数据。头显同时包含一个处理器,所述处理器配置成使用由深度照摄像头捕获的深度数据来识别环境中的真实对象。将真实对象渲染到虚拟现实场景中。追踪真实对象,使真实对象的运动在虚拟现实场景中显示为虚拟运动。
20. 《
Intel Patent | System And Method Of Limiting Processing By A 3d Reconstruction System Of An Environment In A 3d Reconstruction Of An Event Occurring In An Event Space(英特尔专利:在事件空间中发生的事件三维重建中,通过环境的三维重建系统限制处理的系统和方法)
》
专利描述了一种在事件的三维重建中由环境的三维重建系统限制处理的方法。所述方法包括由细分模块将体三维分割成子体三维;从每个camera投影每个子体三维以创建相对于每个camera的一组子体三维遮罩;为每个camera创建成像遮罩;通过细分模块将每个camera的各个成像掩模与相应的子体三维掩模进行比较,并从至少一个成像掩模中提取至少一个特征;通过细分模块将至少一个特征保存到子空间分割掩模;使用子空间分割掩模从成像帧裁剪至少一个特征;并且仅处理用于3D重建的至少一个特征。所述系统包括用于在成像帧中记录事件的camera;以及用于将体三维划分为子体三维的细分模块。
21. 《
Intel Patent | Haptic Gloves For Virtual Reality Systems And Methods Of Controlling The Same(英特尔专利:虚拟现实系统触觉手套及其控制方法)
》
专利描述了用于虚拟现实系统的触觉反馈手套和相关方法。一种示例性装置包括穿戴在用户手上的手套,设置在手套内表面的超声波阵列,及用于激活超声波阵列装置以在用户手上生成触觉反馈的控制单元。
22. 《
Intel Patent | Mechanisms For Reducing Latency And Ghosting Displays(英特尔专利:减少延迟和拖影显示的机制)
》
专利描述了用于减少延迟和拖影的一个机制。在一个实施例中,发明所述装置具有由基板制成的集成电路,布置在基板之上的至少三个发光器,以及位于集成电路之上的驱动器电路。所述的驱动器电路用于驱动超低视觉暂留显示器,从而移除拖影和晕眩。
23. 《
Nvidia Patent | Application Of Geometric Acoustics For Immersive Virtual Reality (Vr)(英伟达专利:几何声学在沉浸式虚拟现实中的应用)
》
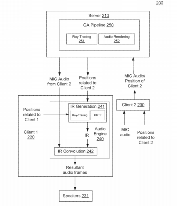
专利描述了一种虚拟现实音频呈现系统和方法,其包括根据VR设置将捕捉到的真实世界声音空间化的麦克风。在游戏流媒体系统中,当玩家通过麦克风讲话时,通过为虚拟场景配置的几何声学模拟来处理语音,从而添加特定于场景的空间音频效果。算法模拟可以包括使用声音传播模拟和基于动态HRTF的侦听器方向生成脉冲响应。当播放经过几何声学处理的播放器声音时,本地玩家或其他玩家可以听到它,就像声音是在场景中传播一样。
24. 《
Nvidia Patent | Method And System For Immersive Virtual Reality (Vr) Streaming With Reduced Audio Latency(英伟达专利:更低音频延迟的沉浸式虚拟现实流媒体方法和系统)
》
专利描述了一种虚拟现实音频呈现系统。在虚拟现实系统中,当检测到用户位置变化时,客户端根据新位置确定适当的HRTF,并将其与服务器基于先前位置生成的一组音频帧进行卷积,从而产生用于渲染的修改帧。同时,客户端将新的位置传播到服务器,以生成用于校正位置的后续音频帧。
0