/ Nweon / 0浏览

2020年04月29日美国专利局新批准AR/VR专利报告



映维网
2020年04月29日

)近期美国专利及商标局公布了一批全新的AR/VR专利,以下是映维网的整理(详情请点击专利标题),一共39篇。更多专利披露请访问映维网专利板块
https://patent.nweon.com/
进行检索,也可加入映维网AR/VR专利交流微信群。


1. 《
Magic Leap Patent | Devices, Methods And Systems For Biometric User Recognition Utilizing Neural Networks(Magic Leap专利:利用神经网络进行生物特征用户识别的装置,方法和系统)

专利描述的用户识别系统包括图像识别网络,其用于分析图像数据并根据图像数据生成形状数据。所述系统同时包括通用网络,其用于分析形状数据并根据形状数据生成通用类别数据。所述系统同时包括专门网络,其用于将通用类别数据与特征进行比较并生成窄类别数据。


2. 《
Magic Leap Patent | Viewpoint Dependent Brick Selection For Fast Volumetric Reconstruction(Magic Leap专利:用于快速体三维重建的视点相关块图选择)

专利描述了一种剔除3D重建体三维的一部分的方法。所述方法使得各种移动XR应用可以获得最新的,准确的和全面的3D重建数据。所述方法包括针对深度图剔除3D重建体三维的一部分。深度图具有多个像素。在一些实施例中,所述方法包括相对于平截头体剔除3D重建体三维的一部分。平截头体来自图像传感器的视场,根据所述视场传感器可获得用于创建3D重建的图像数据。


3. 《
Magic Leap Patent | System And Method For Augmented And Virtual Reality(Magic Leap专利:用于增强现实和虚拟现实的系统和方法)

专利描述的一个实施例涉及一种用于允许两个或更多个用户能够在虚拟世界中进行交互的系统。所述系统包括具有一个或更多个计算设备的计算机网络。一个或更多个计算设备包括存储器,处理电路,以及存储在存储器并由处理电路执行的软件。虚拟世界数据的至少第一部分源自第一用户的本地虚拟世界。计算机网络可以将第一部分发送给第二用户设备,这样第二用户就可以从第二用户的位置体验第一部分,从而使得第一用户虚拟世界的各个方面能够有效地传递给第二用户。


4. 《
Facebook Patent | Generating A Modified Audio Experience For An Audio System(Facebook专利:为音频系统生成优化的音频体验)

音频系统配置成呈现经修改的音频体验。所述音频系统包括声学传感器阵列、控制组件和再现装置阵列。为了产生修改后的音频体验,声传感器阵列接收来自一个或多个非目标音频源的声波,识别音频源,确定音频源的空间位置,确定音频源的类型,生成音频指令,并将修改后的音频体验呈现给用户。修改后的音频体验可以执行主动噪声抵消、环境声音掩蔽和/或中性声音掩蔽以补偿从非目标音频源接收的声波。音频系统可以是头戴式设备的一部分。


5. 《
Facebook Patent | Optimization Of Microphone Array Geometry For Direction Of Arrival Estimation(Facebook专利:用于到达方向估计的麦克风阵列几何优化)

系统执行优化算法并优化麦克风阵列的两个或多个声学传感器。系统获得用于麦克风阵列的多个声学传感器组合的阵列传递函数(ATF)。在一个实施例中,算法优化眼镜设备的有源声学传感器组。在另一个实施例中,算法优化放置在眼镜设备的两个或多个声学传感器的位置。每个声学传感器的组合可以表示声学传感器在麦克风阵列中的不同布置。在每个实施例中,系统评估所获得的ATF,并根据评估为麦克风阵列选择声学传感器的组合。


6. 《
Facebook Patent | Display With Gaze-Adaptive Resolution Enhancement(Facebook专利:包含注视点自适应分辨率增强的显示器)

专利描述了一种显示设备,其包括像素化显示器,
眼动追踪
系统,以及耦合至眼动追踪系统且可以选择性增强有效图像分辨率的分段式分辨率增强组件。分段式分辨率增强组件可以包括与偏振光栅串联的偏振开关。


7. 《
Facebook Patent | Wearable Devices With Fluidic Mechanisms(Facebook专利:包含流体机制的可穿戴设备)

专利描述了一种提供触觉刺激的可穿戴设备。所述可穿戴设备包括:可附着于用户身体一部分的可穿戴结构;与所述可穿戴结构集成,并配置成根据每个流体压力膨胀和收缩的多个囊袋。当所述多个囊袋扩张阈值量时,其能够向用户传送触觉刺激。所述可穿戴设备同时包括至少一个导管,所述导管配置成将流体从流体源输送至所述多个囊袋的一个或多个囊袋。


8. 《
Facebook Patent | Generating Graphical Representation Of A User’S Face And Body Using A Monitoring System Included On A Head Mounted Display(Facebook专利:使用头戴式显示器所搭载的监控系统来生成用户面部和身体的图形表示)

专利描述的虚拟现实或增强现实头显包括各种图像捕获组件,其用于捕获用户面部和身体部分的图像。通过图像分析,从图像中识别出用户面部和身体各部分的点,并追踪其运动。识别出的点映射到面部的三维模型和身体的三维模型。根据所识别的点,为每个捕获图像确定描述各个点位置的动画参数。从动画参数和图像到三维的变换映射,改变人脸的三维模型和人体的三维模型来渲染用户的面部和身体运动。


9. 《
Facebook Patent | Generating A Graphical Representation Of A Face Of A User Wearing A Head Mounted Display(Facebook专利:生成头显用户面部的图形表示)

专利描述的虚拟现实或增强现实头显包括各种面部传感器,例如摄像头。面部传感器捕获用户未被头显遮挡的面部部分图像。通过图像分析,从图像中识别出用户面部的各个点,并对其运动进行追踪。识别出的点被映射到人脸的三维模型上。另外,为每个捕获图像确定用户面部的参数化表示,从而产生说明用户面部表情的各种表示。从获取的图像到三维的参数化表示和变换,使用一个渲染模型并将其应用到人脸三维模型,从而渲染用户的面部表情。。


10. 《
Facebook Patent | Augmented Reality Mapping Systems And Related Methods(Facebook专利:增强现实映射系统及相关方法)

专利描述的方法可以包括,从设备接收与环境相关联的实时数据。所述方法同时可以包括,根据实时数据确定当前映射和对象数据。当前映射数据可以包括用于环境的坐标数据,并且当前对象数据可以包括用于环境对象的状态数据和关系数据。所述方法同时可以包括,确定当前映射数据和基础映射数据之间的映射增量,以及确定当前对象数据和事件图之间的对象增量。事件图可以包括对象的先前状态数据和先前关系数据。所述方法同时包括,根据增量更新基础映射数据和事件图,以及将更新的基础映射数据和事件图数据发送到设备。


11. 《
Facebook Patent | Gesture-Based Casting And Manipulation Of Virtual Content In Artificial-Reality Environments(Facebook专利:在虚拟现实环境中基于手势的虚拟内容投射和操纵)

专利描述的技术主要用于向用户显示人造现实内容,并根据用户执行的手势来操纵所显示的内容项的近眼显示器(NED)系统。用户可以执行手势模拟操作,从而在NED系统显示的人工现实环境中将对象“投射”到目标位置。手势可以包括第一部分和第二部分。在第一部分中,用户手部“抓”/“捏”与内容项相对应的虚拟对象,并相对于其身体向后移动;第二部分,用户手部相对于其身体向前移动并释放虚拟对象。可以根据与第一部分的向后运动相关联的轨迹来识别目标位置。


12. 《
Facebook Patent | Magnetic User Input Assembly Of A Controller Device(Facebook专利:控制器设备的磁性用户输入组件)

拇指摇杆组件配置为接收用户输入。拇指摇杆组件通过按下拇指摇杆,拇指摇杆横向旋转或其某种组合来接收输入。指摇杆第一表面,杆,球形磁体。第一表面与用户皮肤接触。杆包括联接到第一表面的第一端和联接到球形磁体的第二端。拇指摇杆组件同时包括杯状物和环形磁铁。杯状物构造成接收球形磁体,其中球形磁体构造成绕杯状物内的枢转点移动。环形磁体围绕杯状物的外表面定位,并且配置为向球形磁体的运动提供恢复扭矩。拇指摇杆组件包括一个或多个传感器,器用于检测拇指摇杆相对于杯状物的运动。


13. 《
Facebook Patent | Apparatus, Systems, And Methods For Facilitating User Interaction With Electronic Devices(Facebook专利:促进用户与电子设备交互的设备、系统和方法)

专利描述了一种用于促进用户与电子设备交互的方法,其可以包括:经由耦合至人体的子系统的至少一个主电极向用户身体施加与身体相关的信号;子系统的至少一个次级电极接收人体约束信号;确定所接收的人体约束信号的至少一个特征;以及根据接收的特征来识别人体姿态。


14. 《
Facebook Patent | Bend Angle Sensing Mechanism For Wearable Device(Facebook专利:可穿戴设备的弯曲角度传感机制)

专利描述的可穿戴设备包括磁场发生器、磁场传感器和控制组件。控制组件指示磁场发生器产生磁场,指示磁场传感器测量传感器信号,并根据测量的传感器信号确定身体部位的位置。磁场传感器可以包括多个传感器元件,它们彼此具有已知或求解的位置。可穿戴设备可以是手套。控制组件可以确定手指的弯曲角度或两个手指之间的角度。


15. 《
Facebook Patent | Eye Tracking Based On Polarization Volume Grating(Facebook专利:基于偏振体三维光栅的眼动追踪)

根据一些实施例,用于确定眼睛瞳孔位置的方法包括接收在第一方向上从眼睛反射的第一光,将光谱范围内的第一光的第一部分重定向,并将第一圆偏振作为第二方向上的第二光,使得第二光与第一方向形成钝角。所述方法还包括将第一光的第二部分作为第三光在第一方向上发射。第三光包括光谱范围之外的光和具有与第一圆偏振相反的第二圆偏振的光。所述方法同时包括使用第二光形成眼睛图像和基于所述图像确定眼睛瞳孔的位置。


16. 《
Facebook Patent | Liquid Lens Structure With Adjustable Optical Power(Facebook专利:可调光学倍率的液体透镜结构)

专利描述的液体透镜结构具有可调节且连续的光学倍率范围。液体透镜结构包括基板层和包围液体的可变形膜。基板层在光学带中至少部分透明。所述可变形膜包括底层、两层膜和两个导电层。两个导电层中的每一个控制施加到其中一个膜层的电压,其中每个膜层响应于施加的电压而变形。两个膜层的变形调整可变形膜的曲率,所述可变形膜为液体透镜结构提供可调节的连续光学倍率范围。


17. 《
Facebook Patent | Customizing Head-Related Transfer Functions Based On Monitored Responses To Audio Content(Facebook专利:根据对音频内容的响应定制头相关传递函数)

音频系统首先经由头显的一个或多个扬声器向使用用户呈现音频内容,所述音频内容是使用一组HRTF生成。音频系统监测用户对音频内容的响应。音频系统根据响应为用户定制HRTF集。音频系统使用定制的HRTF集更新音频内容。音频系统通过扬声器向用户显示更新的音频内容。


18. 《
Facebook Patent | Dynamic Adjustment Of Signal Enhancement Filters For A Microphone Array(Facebook专利:麦克风阵列信号增强滤波器的动态调整)

音频组件包括麦克风组件、控制组件和扬声器组件。麦克风部件检测音频信号。检测到的音频信号来自位于本地区内的音频源。每个音频源与各自的波束形成滤波器相关联。控制组件使用与每个音频源相关联的波束形成滤波器确定波束形成数据,并且使用波束形成数据确定每个音频源的相对贡献。控制组件部分根据音频源的相对声学贡献、音频源的当前位置以及与音频源产生的音频信号相关联的传输函数,为每个音频源生成更新的波束形成滤波器。控制组件使用更新的波束形成滤波器来生成更新的波束形成数据,并部分根据更新的波束形成数据执行动作。


19. 《
Microsoft Patent | Flexible Battery With Liquid Metal Electrode(微软专利:带液态金属电极的柔性电池)

发明描述了一种电化学能量存储单元,其包括柔性正电极和柔性负电极,所述柔性负电极包括分散在柔性金属丝网上的镓基液态金属。电化学能量存储单元同时包括膜,该膜具有与柔性正电极接触的一个面和与柔性负电极接触的相对面。


20. 《
Microsoft Patent | Input Scaling To Keep Controller Inside Field Of View(微软专利:通过输入比例缩放将控制器保持在视场之内)

用于缩放虚拟运动的方法和设备可以包括:从位置追踪系统接收用户身体部位的当前物理位置,以向虚拟现实模拟提供输入。所述方法和设备可以包括至少根据用户的当前物理位置来确定开始位置,从而缩放虚拟现实模拟中与用户身体运动相对应的虚拟运动。所述方法和设备可以包括确定缩放因子,所述缩放因子将从起始位置应用于物理运动,以生成物理运动的缩放虚拟运动。


21. 《
Microsoft Patent | Mems Line Scanner And Silicon Photomultiplier Based Pixel Camera For Low Light Large Dynamic Range Eye Imaging(微软专利:基于MEMS线扫描仪和硅光电倍增管的像素摄像头,适用于低光大动态范围眼睛成像)

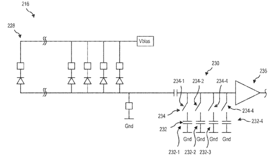
光传感电路包括与电容器或电阻器阵列电连通的光电倍增器。阵列中的每个电容器或电阻器具有相关的开关,并且具有与阵其他电容器或电阻器不同的电容或电阻。每个开关具有打开状态和闭合状态,因此每个电容器或电阻器能够与光电倍增器电连通或隔断。可切换阵列可以与模数转换器(ADC)或跨阻放大器(TIA)电连通。可切换阵列使得ADC或TIA对低值信号敏感,并在大动态范围内工作,同时以快速速率运行。


22. 《
Apple Patent | Systems And Methods For Determining Estimated Head Orientation And Position With Ear Pieces(苹果专利:用耳塞确定估计头部方位和位置的系统和方法)

专利描述了技术可用于利用耳塞确定用户头部的估计方位和/或位置,并利用估计的头部方位和/或位置向用户提供信息。在一个示例性方法中,可以分别确定第一耳塞和第二耳塞的第一和第二空间位置。至少部分地根据第一和第二空间位置来确定用户头部的估计方向。所述方法同时可以包括请求至少部分根据用户头部的估计方位向用户提供信息,并响应于所述请求向用户提供情景信息。


23. 《
Google Patent | Avatars In Virtual Environments(谷歌专利:虚拟环境中的虚拟化身)

在虚拟现实系统中生成虚拟环境的技术包括,在第二用户的用户界面内改变代表第一用户的虚拟化身的属性,同时保持与第一用户交互的对象的空间位置。这样,第二用户可以仅在其用户界面内看到不具威胁性或愉快的虚拟化身,而其他用户不会感知在其在不同用户界面中 的任何改变。


24. 《
Google Patent | Displaying And Interacting With Scanned Environment Geometry In Virtual Reality(谷歌专利:扫描环境几何图形在虚拟现实中的显示与交互)

在头显中显示虚拟环境的技术涉及在虚拟环境中生成照明方案。当用户沉浸在虚拟环境中时,所述方案响应于房间中的用户与真实对象之间的距离减小而显示房间中的真实对象。这样的照明方案保护用户免受与房间中真实物体碰撞造成的伤害。


25. 《
Google Patent | Location Globe In Virtual Reality(谷歌专利:虚拟现实中的定位地球仪)

专利描述的系统和方法可允许用户在虚拟现实或增强现实环境中导航。具体来说,虚拟或增强环境中的第一对象可用于在虚拟或增强环境中的第二个对象中导航。第一对象可以是第二对象的较小版本。由于第二对象与第一对象相比可能相对较大,因此可能难以在虚拟或增强现实环境中直接导航。第一对象由于其相对较小的尺寸,可能是一个更容易导航的对象,并支持用户与之交互以在第二对象中导航。在一些实现中,第一对象可以是地球的微型地球仪,第二个对象可以是整个地球的表示。


26. 《
Google Patent | Context Sensitive Hand Collisions In Virtual Reality(谷歌专利:虚拟现实中的情景敏感手碰撞)

专利描述了一种用于在虚拟环境中接收虚拟用户输入的方法和系统。所述输入可以根据由用户执行的多个动作。所述方法和系统可以包括检测虚拟用户的至少一部分位于碰撞区域的阈值距离内,而所述碰撞区域与至少一个虚拟对象相关联。所述方法和系统同时可以包括根据所述至少一部分和所述至少一个虚拟对象为所述虚拟用户选择碰撞模式,并根据所选择的碰撞模式动态地修改所述虚拟用户。


27. 《
Valve Patent | Dynamic Sensor Assignment(Valve专利:动态传感器分配)

专利描述的方法包括,接收与控制器附近的一个或多个对象相对应的数据,确定控制器配置的分数、对控制器配置的分数进行排序、在控制器配置中选择控制器配置,以及根据所选择的控制器配置来配置控制器的触控传感器。


28. 《
Sony Patent | Information Processing Device And Information Processing Method For Stereoscopic Image Calibration(索尼专利:立体图像校准信息处理组件及信息处理方法)

专利描述的信息处理设备致使信息处理部分根据由输入信息获取部分接收到的用户操作和由立体摄像头获取的图像来执行游戏的信息处理。信息处理设备致使输出数据生成部分将信息处理的结果输出到显示设备。此时,追踪处理部分从立体图像中检测对应的标记图像,并且根据它们之间的视差获得关于目标对象的位置信息。根据标记图像之间的垂直位置偏差,校准确定部分确定是否需要摄像头校准,并请求输出数据生成部分将所确定的需要通知用户。


29. 《
Sony Patent | Information Processing Device And Information Processing Method(索尼专利:信息处理设备和信息处理方法)

专利提供的信息处理设备包括接收来自通信目的地的数据的接收单元;使用多个通信目的地的捕获图像生成放置在三维空间中的空间图像信息的生成单元;以及执行控制以便在显示单元显示空间图像信息的显示控制单元。


30. 《
Sony Patent | Head-Mounted Display(索尼专利:头戴式显示器)

专利描述的头显包括显示单元,检测器和第一控制单元。所述显示单元可安装在用户头部,并能够向用户提供真实空间的视场。检测器检测显示单元围绕至少一个轴的方位角。第一控制单元包括区域限制器,存储单元和显示控制单元。区域限制器能够在围绕显示单元的三维坐标中沿一个轴限制视场的显示区域。存储单元存储图像。显示控制单元配置为根据检测器的输出在视场中显示与方位角相对应的图像。


31. 《
Sony Patent | Display Element, Method For Driving Display Element, Display Device, And Electronic Device To Display Image With Reduced Luminance Unevenness(索尼专利:用于降低亮度不均匀显示图像的显示元件、驱动显示元件、显示设备和电子设备及方法)

显示元件包括发光单元和驱动发光单元的驱动电路,其中驱动电路包括至少一个驱动晶体管和电容器,并且驱动晶体管配置成向一个源提供电压,所述发光单元连接有另一源,与电容器保持的电压相对应的电流经由驱动晶体管流过发光单元。


32. 《
Sony Patent | Image Processing Apparatus, Image Processing Method, And Computer-Readable Storage Medium For Displaying Three-Dimensional Virtual Objects To Modify Display Shapes Of Objects Of Interest In The Real World(索尼专利:用于显示三维虚拟对象以修改现实世界中目标对象的显示形状的图像处理设备、图像处理方法和计算机可读存储介质)

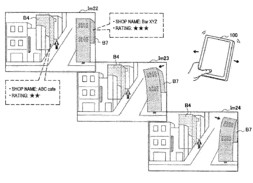
专利描述了一种显示物理对象的方法。所述方法包括捕获物理对象的输入图像,并将三维模型与物理对象匹配。所述方法同时包括,通过修改匹配的三维模型的一部分或使用匹配的三维模型修改从输入图像提取的部分图像中,从而生成修改的部分图像。所述方法同时包括显示输出图像,所述输出图像包括叠加在输入图像之上的修改图像。


33. 《
Sony Patent | Integration Of Tracked Facial Features For Vr Users In Virtual Reality Environments(索尼专利:为虚拟现实环境中的VR用户集成追踪的面部特征)

专利描述了一种用于渲染虚拟现实场景的方法。所述方法包括利用头显的一个或多个眼动追踪传感器来检测用户的眼睛注视点。同时,使用头显的一个或多个摄像头捕获用户嘴巴的图像,其中嘴巴图像包括嘴的移动。所述方法包括生成用户的虚拟面部。虚拟面部包括虚拟眼睛运动和虚拟嘴巴运动。


34. 《
Sony Patent | Information Processing Apparatus And Information Processing Method For Guiding A User To A Vicinity Of A Viewpoint(索尼专利:引导用户到视点附近的信息处理设备和信息处理方法)

专利提供的信息处理装置能够在与真实空间中的视点对应位置叠加在虚拟对象。所述图像处理装置包括配置成显示虚拟图像并引导用户到视点附近的处理单元。


35. 《
Sony Patent | Image Processing Apparatus, Method, And Program(索尼专利:图像处理装置,方法及程序)

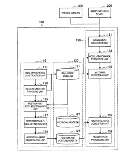
匹配单元根据输入图像的特征点检测结果和指示实际空间中地标位置的三维映射执行匹配处理,姿势估计单元根据匹配处理的结果估计姿势。三维映射更新单元根据指示识别目标的位置和形状的三维形状模型来更新三维映射。


36. 《
Intel Patent | Using Dynamic Vision Sensors For Motion Detection In Head Mounted Displays(英特尔专利:在头戴式显示器中使用动态视觉传感器进行运动检测)

可以在头显中使用一个或多个用于手势控制和追踪的立体组件。一个或多个立体组件中的每一个可以包括一对动态视觉传感器,其布置成具有互补视场,并检测在区域中移动的对象前缘和后缘中的一个或多个。动态视觉传感器基于像素的光强度变化来确定对象是如何移动,无需检测、传输或处理所有像素。


37. 《
Intel Patent | Architecture For Interleaved Rasterization And Pixel Shading For Virtual Reality And Multi-View Systems(英特尔专利:用于虚拟现实和多视图系统的交错光栅化和像素着色架构)

一个实施例提供一种图形处理设备,其包括用于光栅化与多个交织原语相关联的像素区域的第一逻辑;用于着色由多个交织原语中的一个或多个所覆盖的像素区域的第二逻辑;以及用于将第二逻辑的输出交织到单个呈现目标的第三逻辑。


38. 《
Nvidia Patent | Mixed Primary Display With Spatially Modulated Backlight(英伟达专利:包含空间调制背光的混合主显示器)

专利描述了一种产生混合主数据的方法、计算机可读介质和系统。所述方法包括接收包含多个像素的源图像、将源图像分割成多个图块、基于图像分解算法分析源图像、编码色度信息和调制信息以生成视频信号,以及将视频信号发送到混合主显示器。色度信息和调制信息对应于两个或两个以上的混合原色分量,并且由图像分解算法生成,从而最小化再现图像和源图像之间的误差。为源图像的每个图块选择的两个或多个混合原色,并且可以从能够由混合原色显示器再现的任何颜色中选择每个混合原色分量。


39. 《
Nvidia Patent | Method For Overlapping Memory Accesses(英伟达专利:重叠内存访问的方法)

专利描述了用于访问存储器的优化方法和系统。在一个实施例中,差分写入时钟信号的ture portion和complement portion用作两个单端时钟信号,并独立地控制存储器系统中的不同存储器芯片。例如,在具有两个存储器芯片的存储器系统中,一个存储器芯片配置为使用ture portion写入时钟信号,另一个存储器芯片配置为使用complement portion写入时钟信号。将差分写入时钟信号用作两个单端时钟信号,允许在多个存储器芯片重叠写入和读取操作,从而减少访问存储器所需的时间。

0

  1. This post has no comment yet

发表回复

您的邮箱地址不会被公开。 必填项已用 * 标注