/ Nweon / 0浏览

2020年04月24日美国专利局新申请AR/VR专利报告



映维网
2020年04月24日

)近期美国专利及商标局公布了一批全新的AR/VR专利,以下是映维网的整理(详情请点击专利标题),一共33篇。更多专利披露请访问映维网专利板块
https://patent.nweon.com/
进行检索,也可加入映维网AR/VR专利交流微信群。


1. 《
Magic Leap Patent | Detailed Eye Shape Model For Robust Biometric Applications(Magic Leap专利:用于稳健生物识别应用的详尽眼形模型)

专利描述了通过详尽眼形模型来实现稳健生物识别应用的系统和方法。在一个方面,在接收眼睛的眼睛图像(如通过增强现实显示设备的
眼动追踪
仪)之后, 利用级联形状回归方法计算眼睛图像(如上眼睑或下眼睑,虹膜或瞳孔)。然后可以确定与估计眼睛形状相关的眼睛特征,并将其用于生物特征应用,如注视点估计或生物特征识别/认证。


2. 《
Magic Leap Patent | Methods And Systems For Detecting And Combining Structural Features In 3d Reconstruction(Magic Leap专利:在3D重构中检测和组合结构特征的方法和系统)

一种用于形成重构3D网格的方法包括:接收与场景相关联的一组捕获深度映射;执行与所述深度映射相关联的初始camera姿态对准;以及将所述深度映射覆盖在参考帧中。所述方法同时包括在深度映射的叠加集合中检测一个或多个形状,并更新初始camera姿态对准以提供形状感知camera姿态对准。所述方法同时包括执行形状感知的体三维融合,并形成与场景相关联的重构3D网格。


3. 《
Magic Leap Patent | Camera Calibration System, Target, And Process(Magic Leap专利:摄像头校准系统,目标和过程)

专利描述了一种用于执行摄像头校准的改进方法。其中,将摄像头安装到移动的输送组件以捕获多平面校准目标的图像。通过减少捕获的图像数量并同时保持总体信息密度,可以优化校准过程。


4. 《
Magic Leap Patent | System And Method For Augmented And Virtual Reality(Magic Leap专利:用于增强现实和虚拟现实的系统和方法)

专利描述的一个实施例涉及一种用于允许两个或更多个用户能够在虚拟世界中进行交互的系统。所述系统包括具有一个或更多个计算设备的计算机网络。一个或更多个计算设备包括存储器,处理电路,以及存储在存储器并由处理电路执行的软件。虚拟世界数据的至少第一部分源自第一用户的本地虚拟世界。计算机网络可以将第一部分发送给第二用户设备,这样第二用户就可以从第二用户的位置体验第一部分,从而使得第一用户虚拟世界的各个方面能够有效地传递给第二用户。


5. 《
Magic Leap Patent | Continuous time warp and binocular time warp for virtual and augmented reality display systems and methods(Magic Leap专利用于虚拟现实和增强现实系统与方法的连续时间扭曲和双目时间扭曲)

发明所述的实施例涉及连续和/或双目时间扭曲方法。连续时间扭曲允许图像从用户的第一视角转换至第二视角,不必从第二视角重新渲染图像。双目时间扭曲是指,与包括左显示单元和右显示单元的显示设备结合使用的后帧时间扭曲(late-frame time warp),其中分别对左显示单元和右显示单元执行后帧时间扭曲。扭曲图像将发送至左显示单元和右显示单元,期间产生光子并朝用户的各个眼睛发射,从而同时在左显示单元和右显示单元显示图像。


6. 《
Facebook Patent | Display Fabrication Microassembly System(Facebook专利:显示器制造微组装系统)

专利描述的示例性装配系统包括一个拾取头,所述拾取头具有布置在透明表面之上的粘接元件。粘性元件的粘性足以令粘性元件粘附在发光结构,从而能够从制造基板拾取发光结构并将发光结构放置到背板。


7. 《
Facebook Patent | Head-Related Impulse Responses For Area Sound Sources Located In The Near Field(Facebook专利:近场区域声源的头相关脉冲响应)

虚拟现实设备用于显示虚拟场景。所述场景包括区域声源,所述区域声源位于预定近场距离内(如小于一米)。设备从区域声源中选择采样点源,并将来自每个采样的音频数据投影到环绕用户的虚拟球体。虚拟球体包括从侦听器延伸的多个同心球壳。所述设备针对每个采样确定采样对两个相应连续球壳的能量贡献。所述设备通过组合相关的能量贡献来确定头相关脉冲响应。设备通过组合确定的球壳头相关脉冲响应来确定虚拟场景的整体头相关脉冲响应。设备将音频数据与整个HRIR卷积在一起,并将卷积的音频数据发送到虚拟现实设备的发声组件。


8. 《
Facebook Patent | Field Of View Expansion By Color Separation(Facebook专利:通过颜色分离扩展视场)

第一显示器配置为向左眼显示第一图像的第一颜色通道和第二颜色通道,第一颜色通道的一个视场在第一方向偏离第二颜色通道的一个视场。第二显示器配置为向右眼显示第二图像的第一和第二颜色通道,第一颜色通道的一个视场在第二方向偏离第二颜色通道的一个视场。


9. 《
Facebook Patent | Micron-Sized Light Emiting Diode Designs(Facebook专利:微米级发光二极管的设计)

一种发光二极管包括外延式结构,所述外延式结构定义基体和基体的凸面。基体定义发光二极管的发光面。基体包括电流扩散层。凸面层包括厚束缚层,厚束缚层具有发光区,发光区具有薄束缚层,薄束缚层具有接触层,接触层定义凸面的顶部。反射接触层设有反射接触层,以反射从发光区发出的一部分光,反射的光在凸面准直,并引导通过基体并达至发光面。


10. 《
Facebook Patent | Manufacture Of Semiconductor Display Device(Facebook专利:半导体显示组件的制造)

在一个实施例中,所述方法包括 在初始基板形成多个LED芯片,其中每个LED芯片包括一个器件侧凸块;使用拾取工具将初始基板和多个LED芯片向背板移动。背板包括多个背板侧凸块;在多个LED芯片的器件侧凸块和背板的背板侧凸块之间建立导电键;操作拾取工具并释放初始基板,从而使多个LED芯片转移到背板之上。


11. 《
Facebook Patent | Optical Element Fabrication With Optical Scanner Feedback(Facebook专利:包含光学扫描反馈的光学元件制造技术)

专利描述的制造方法包括启动光学扫描器并获得多层薄膜的光学层的光学测量。然后,根据光学测量结果确定要从所述多层薄膜切割光学元件的旋转方向。所述方法同时包括启动切割仪器,并在所述旋转方向切割光学元件。


12. 《
Microsoft Patent | Interpreting Eye Gaze Direction As User Input To Near-Eye-Display (Ned) Devices For Enabling Hands Free Positioning Of Virtual Items(微软专利:将眼睛注视方向解释为用户对近眼显示器设备的输入,以实现虚拟物品的免手操作定位)

近眼显示器设备置利用眼动追踪将注视方向解释为用户输入,从而实现虚拟物品的免手操作定位。所述设备包括用于监视注视方向的眼动追踪系统和显示组件。显示组件在用户的物理真实世界视场内渲染虚拟物品。近眼显示器接收用户希望调整虚拟物品位置的指示。作为响应,近眼显示设备根据用户注视方向来动态改变显示组件渲染虚拟项目的位置。


13. 《
Microsoft Patent | Calibration Of Laser Power Monitor In An Imaging System Of A Wearable Head Mounted Display(微软专利:可穿戴头显成像系统中的激光强度监测器校准)

专利描述的可穿戴显示器包括左、右显示透镜系统。每个显示透镜系统具有配置成用于增强现实成像的成像单元。成像单元包括发射器结构、一个或多个光学元件、显示光学元件、电可变扫描光学元件和校准光传感器。发射器结构具有一个或多个配置为发光的光源。光学元件将光沿着成像单元中的光路引导。扫描光学元件接收来自光学元件的光,并将其引导至显示光学元件。扫描光学元件在一个或多个维度扫描,以将光引导到显示光学元件的成像光学元件。校准光传感器位于发射器结构和扫描光学元件之间,并且用于接收部分光线。


14. 《
Microsoft Patent | Efficiency Enhancements To Construction Of Virtual Reality Environments(微软专利:虚拟现实环境的构建效率提升)

一种可穿戴式显示器包括左显示透镜系统和右显示透镜系统,每个透镜系统都具有增强现实成像单元。成像单元包括发射器结构、一个或多个光学元件、一个或多个显示光学元件、一个显示光学元件、一个扫描光学元件和一个校准光传感器。发射器结构具有一个或多个配置为发射光的光源。光学元件将光沿着成像单元中的光路引导光。扫描光学元件接收来自光学元件的光,并将其引导至显示光学元件。扫描光学元件在一个或多个维度上扫描,以将光线引导通过成像光学元件并达至显示光学元件。校准光传感器位于沿发射器结构和扫描光学元件之间的光路的一个点,并接收来自其中一个光学元件的一部分光。


15. 《
Microsoft Patent | Camera Pose Estimation Using Obfuscated Features(微软专利:使用模糊特征的camera姿态估计)

一种用于估计camera姿态的方法包括识别代表物理环境的三维映射。三维映射包括定义为3D点的三维映射特征。接收模糊化的图像表示,所述表示包括多个模糊特征,每个模糊特征包括二维线,所述二维线穿过未模糊图像中的一个2D点,并在2D点检测到图像特征。每个模糊特征同时包括特征描述符,所述特征描述符描述与2D点相关联的图像特征。在模糊特征与三维映射特征之间确定对应关系。根据确定的对应关系,估计camera在物理环境中的六自由度姿态。


16. 《
Microsoft Patent | Depth Map With Structured And Flood Light(微软专利:具有结构光和泛光照明的深度图)

专利描述的一种方法包括:接收由预定结构光图案和泛光照明两者照明的场景图像;根据接收到的场景图像生成场景的活动亮度图像;以及根据接收到的图像和活动亮度图像生成场景的深度图。


17. 《
Microsoft Patent | Adjustable Virtual User Input Devices To Accommodate User Physical Limitations(微软专利:可调节以适应用户物理限制的虚拟用户输入设备)

可调节的虚拟用户输入设备可以沿着预先设定的通道进行调节,所述预设定通道可以锚定在虚拟空间的特定点。可调节的虚拟用户输入设备可以沿垂直方向弯曲,沿水平面弯曲,或进行其他类似的弯曲、歪斜或翘曲调整。


18. 《
Microsoft Patent | User-Specific Eye Tracking Calibration For Near-Eye-Display (Ned) Devices(微软专利:近眼显示器设备的用户眼动追踪校准)

设备可按顺序向用户展示不同的虚拟刺激,并同时捕获眼动追踪数据实例。眼动之宗数据揭示了唯一对应于单个虚拟刺激的校准椭圆中心。校准椭圆中心可用于定义一个与传感器平面相关联的多边形网格。所得的多边形网格在操作期间用于插值用户的实时注视方向。例如,可以分析实时眼动追踪数据实例,以确定实时椭圆中心落在多边形网格的哪个特定多边形内。然后,可以确定实时椭圆中心与特定多边形的顶点之间的距离。然后,根据距离确定一个比例系数,并用于插值用户的实时眼动注视。


19. 《
Microsoft Patent | Translating Combinations Of User Gaze Direction And Predetermined Facial Gestures Into User Input Instructions For Near-Eye-Display (Ned) Devices(微软专利:将用户注视方向和预判的面部动作组合转化为近眼显示器设备的用户输入指令)

所述的近眼显示设备包括眼动追踪系统和显示器,所述显示器在用户的视场内渲染计算机生成图像。眼动追踪系统可以持续地以高精确度追踪用户的眼睛运动。眼动追踪系统同时可以识别各种面部动作,例如左眼眨眼和/或右眼眨眼。通过这种方式,近眼显示设备能够识别用户的注视方向和预定的面部动作的组合,并将识别组合转化为对应于特定计算机生成图像的用户输入指令。


20. 《
Microsoft Patent | Eye Tracking Systems And Methods For Near-Eye-Display (Ned) Devices(微软专利:近眼显示设备的眼动追踪系统及方法)

用于近眼显示设备的眼动追踪系统包括传感器,传感器朝向眼睛并与用户眼睛成角度偏移,致使使用户眼睛的圆形特征在与单个传感器相对应的传感器平面内以椭圆方式呈现。眼动追踪系统确定与椭圆相关联的参数,然后使用所述参数从椭圆产生三维传播,并将其传回用户的眼睛。通过分析三维传播,眼动追踪系统确定定义用户眼睛物理特征的瞳孔定向参数。然后,瞳孔方向参数可用于确定用户视觉轴从眼窝延伸的瞳孔间距离和/或视觉轴的交点。


21. 《
Microsoft Patent | Actuator Frame For Scanning Mirror(微软专利:用于扫描镜的致动框架)

在一个实施例中,用于扫描镜组件的致动器框架包括安装构件,安装构件包括第一侧和相对的第二侧。第一可移动构件包括第一内侧,第一内侧定义与安装构件第一侧的第一间隙和第二间隙。第二可移动构件包括第二内侧,第二内侧定义与安装构件第二侧的第三间隙和第四间隙。第一铰链将安装构件的中心部分与第一可移动构件连接,第二铰链将安装构件的中心部分与第二可移动构件连接。


22. 《
Microsoft Patent | Real-Time Computational Solutions To A Three-Dimensional Eye Tracking Framework(微软专利:三维眼动追踪帧的实时计算解决方案)

用于近眼显示设备的眼动追踪系统包括传感器,传感器朝向眼睛并与用户眼睛成角度偏移,致使使用户眼睛的圆形特征在与单个传感器相对应的传感器平面内以椭圆方式呈现。眼动追踪系统确定与椭圆相关联的参数,然后使用所述参数从椭圆产生三维传播,并将其传回用户的眼睛。通过分析三维传播,眼动追踪系统确定定义用户眼睛物理特征的瞳孔定向参数。然后,瞳孔方向参数可用于确定用户视觉轴从眼窝延伸的瞳孔间距离和/或视觉轴的交点。


23. 《
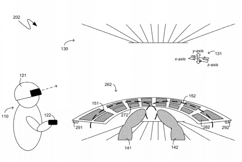
Google Patent | Freeform Head Mounted Display(谷歌专利:自由形式头戴式显示器)

专利描述了用于近眼显示器的光学设备,所述光学二设备包括:发射图像光的微型显示器;以及一个或多个从微型显示器接收图像光的场透镜。一个或多个场透镜具有组合的光学倍率以形成弯曲的中间图像。自由形式组合器定位成接收来自一个或多个场透镜的图像光并反射图像光。


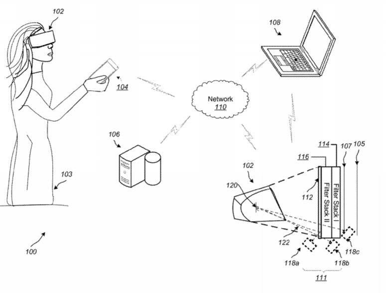
24. 《
Google Patent | Compact Eye Tracking Using Folded Display Optics(谷歌专利:使用折叠式显示光学元件的紧凑型眼动仪)

专利描述了在虚拟现实和增强现实环境中使用的光学组件。光学组件可以包括透镜,滤光片叠,摄像头和图像投影装置。例如,光学组件可以包括至少一个透镜,在至少一个透镜与图像投影装置之间的第一滤光器叠层,在第一滤光器堆叠与图像投影装置之间的第二滤光器叠层,以及配置为捕获场景的摄像头。


25. 《
Sony Patent | Information Processing System, Information Processing Device, Server Device, Image Providing Method And Image Generation Method(索尼专利:信息处理系统,信息处理设备,服务器设备,图像提供方法和图像生成方法)

位置数据获取单元获取说明真实对象位置的位置数据。延迟导出单元导出信息处理系统中的延迟时间。运动预测单元预测对象的运动,并根据由位置数据在未来时间识别对象位置。图像生成单元生成反映未来时刻对象位置的预测图像。显示图像提供单元获取生成的预测图像,并将预测图像提供给头显。


26. 《
Sony Patent | Optimized Deferred Lighting In A Foveated Rendering System(索尼专利:注视点渲染系统中的最佳延迟照明)

专利描述了一种实现图形管道的方法。所述方法包括确定影响虚拟场景的多个光源。从第一视角来看,对象的几何形状投影到显示器的多个像素。像素划分为多个图块。为显示的图像定义最高分辨率的注视点区域,其中第一像素子集分配到注视点区域;第二像素子集分配到注视点区域之外的外围区域。从多个光源中确定第一组光源,所述光源影响在外围区域中的第一个图块中显示的一个或多个对象。当在第一图块的像素中渲染图像时,来自第一组的至少两个光源聚集成影响第一图块的第一聚集光源。


27. 《
Sony Patent | Video Signal Processing Apparatus, Video Signal Processing Method, And Program(索尼专利:视频信号处理装置,视频信号处理方法和程序)

专利描述了一种视频信号处理装置,其包括:配置为获取在第一动态范围内成像的第一视频信号的第一接口;配置为获取用于指定第一视频信号部分区域的信息的第二接口;以及配置为计算出部分区域亮度代表值,根据代表值压缩第一视频信号的动态范围,并生成第二视频信号的算术处理电路。


28. 《
Sony Patent | Image Generating Apparatus And Image Generating Method(索尼专利:图像生成装置和图像生成方法)

图像生成装置的位置/姿态获取单元获取关于用户头部的位置和姿态信息。视屏控制单元根据用户的视角设置视屏。原始图像操作单元在虚拟空间中处理原始图像,并响应于用户视点的移动而移动其位置。另外,原始图像操作单元以使对象看起来固定的方式计算像素的位移量。由此,原始图像操作单元为图像平面的每个像素设置参考向量。原始图像操作单元通过关于未设置参考向量的像素的插值来确定参考向量。显示图像生成单元通过使用获得的参考向量来执行原始图像到视图屏幕的映射并生成显示图像。输出单元输出所显示的图像。


29. 《
Sony Patent | Information Processing Apparatus, Information Processing Method, Program, And Cell Observation System(索尼专利:信息处理设备,信息处理方法,程序和细胞观察系统)

专利描述的发明涉及一种能够从全息图中再现细胞图像的信息处理装置、信息处理方法、程序和细胞观察系统。专利描述的信息处理设备包括:计算单元和振幅替换单元。计算单元重复地执行第一光传播计算,以将第一复振幅分布从图像传感器的传感器表面传播到支撑待观察细胞的支撑表面,。计算单元重复地执行第二光传播计算,以获得第二复振幅分布。在第二光传播计算中,振幅替换单元用预定的代表振幅值替换第二复振幅分布的振幅分量至少一次。


30. 《
Sony Patent | Information Processing Device, Information Processing Method, And Program(索尼专利:信息处理组件,信息处理方法及程序)

专利描述的信息处理组件包括:可以根据语音数据的音调来确定话语范围的话语范围确定单元;获取行为信息和情景信息的态度信息的行为信息态度获取单元;以及获取情景信息的外围情景信息的外围情景信息获取单元


31. 《
Intel Patent | Rectilinear Viewport Extraction From A Region Of A Wide Field Of View Using Messaging In Video Transmission(英特尔专利:利用视频传输中的信息传递从宽视场区域提取矩形视口)

专利描述了利用视频传输领域中的信息传递从宽视域区域中提取矩形视口的技术。所述方法包括接收宽视场视频,接收来自用户设备的位置数据,根据接收到的位置数据选择视频中的目标区域,从视频中提取目标区域,生成描述目标区域的区域元数据,对目标区域进行编码,以及将具有区域元数据的编码视频传输到用户设备。


32. 《
Intel Patent | Head Mount Displays For Mixed Reality(英特尔专利:用于混合现实的头戴式显示器)

专利描述了用于混合现实的装置,系统或方法。所述装置可以包括光学结构,显示结构,以及耦合至光学结构和显示结构的控制器。光学结构可以由第一电信号控制以充当透明玻璃并呈现自然视图,或者用作放大镜以呈现虚拟视图。显示结构可以由第二电信号控制以用作不透明显示器或透明显示器。另外,控制器可以以AR模式操作所述装置以交织自然视图和虚拟视图。专利同时描述并要求保护其他实施例。


33. 《
Intel Patent | Virtual Reality (Vr) System With Nearsightedness Optometry Adjustment(英特尔专利:包含近视度数调节的虚拟现实系统)

专利描述的虚拟现实头显系统包括视觉矫正模块。所述视力矫正系统可以检测出VR系统用户的近视程度或其他视觉疾病,然后调整视力矫正镜片,从而适应用户的近视情况。

0

  1. This post has no comment yet

发表回复

您的邮箱地址不会被公开。 必填项已用 * 标注