/ Nweon / 0浏览

2020年04月17日美国专利局新申请AR/VR专利报告



映维网
2020年04月23日

)近期美国专利及商标局公布了一批全新的AR/VR专利,以下是映维网的整理(详情请点击专利标题),一共23篇。更多专利披露请访问映维网专利板块
https://patent.nweon.com/
进行检索,也可加入映维网AR/VR专利交流微信群。


1. 《
Magic Leap
Patent |
Technique For Controlling Virtual Image Generation System Using Emotional States Of User(Magic Leap专利:利用用户情感状态控制虚拟图像生成系统的技术)》

专利描述的虚拟图像生成系统方法包括:允许最终用户与包括至少一个虚拟对象的三维环境进行交互;在三维环境的环境中向终端用户呈现刺激;感测至少一个终端用户响应于刺激呈现的生物特征参数;为每个生物特征参数生成生物特征数据;根据生物特征数据确定终端用户是否处于至少一种特定的情绪状态;并至少部分地根据终端用户处于特定的情绪状态来执行最终用户可辨别的行为。


2. 《Magic Leap Patent | Methods And System For Creating Focal Planes Using An Alvarez Lens(Magic Leap专利:使用阿尔瓦雷斯透镜创建焦平面的方法和系统)》

专利描述了用于向用户呈现虚拟现实和增强现实体验的配置。所述系统可包括透镜组件,透镜组件包括两个透射板,两个透射板中的第一个包括至少部分地基于三次函数的第一表面凹陷,同时包括用于将图像信息引导到用户眼睛的DOE。其中DOE放置在透镜组件的两个透射板之间,并且DOE用三次函数的反函数进行编码;这样,由编码DOE产生的波前由第一透射板产生的波前补偿,从而准直与传送至DOE的虚拟内容相关联的光线。


3. 《Magic Leap Patent | Methods And Apparatuses For Casting Polymer Products(Magic Leap专利:高分子产品的铸造方法和装置)》

在形成波导薄膜的一个示例性方法中,将光固化材料分配到第一模具部分和第二模具部分之间的空间中。进一步地,调整第一模具部分表面和第二模具部分表面之间的相对间隔。用可以将可光固化材料光固化以形成固化波导薄膜的辐射照射可光固化材料。在照射可光固化材料的同时,改变第一模具部分表面和第二模具部分表面之间的相对距离,和/或改变照射可光固化材料的辐射强度。


4. 《Facebook Patent | Apparatus, System, And Method For Mitigating Motion-To-Photon Latency In Headmounted Displays(Facebook专利:减缓头显运动到光子延迟的装置、系统及方法)》

专利描述的专用硬件装置可包括图像信号处理器,图像信号处理器接收由头显摄像组件捕获的至少一个图像帧。专用硬件装置同时可包括接收计算机生成图像的输入格式化部件。专用硬件装置可进一步包括混合组件,混合组件通过将计算机生成图像叠加到图像帧来生成至少一个混合现实帧。专用硬件装置可进一步包括帧输出接口,接口将由混合组件生成的混合现实帧馈送至头显的显示组件。


5. 《Facebook Patent | Waveguide For Conveying Multiple Portions Of Field Of View(Facebook专利:用于传输多个视场部分的波导)》

专利描述的波导用于传输携带图像的图像光。所述波导包括第一和第二输入端口,并用于接收分别携带图像视场第一部分和第二部分的第一光束和第二光束。波导的衍射光栅配置成沿第一轴展开第一光束和第二光束。第一光束和第二光束从波导上耦出,以便用户观察图像视场的第一部分和第二部分。


6. 《Facebook Patent | Display Waveguide Assembly With Color Cross-Coupling(Facebook专利:包含彩色交叉耦合的显示波导组件)》

专利描述的波导显示器包括用于发射多色图像光的显示投影仪,以及用于将图像光传输到光瞳的波导组件。波导组件包括两个或更多叠置在一起的波导叠置,每个波导具有一个与其它耦入器对齐的入耦合器和一个与其它耦出器对齐的偏移耦出器。组件配置成使图像光的至少一个彩色通道沿至少两个波导传播到光瞳。


7. 《Facebook Patent | Display Waveguide Assembly With Color Cross-Coupling(Facebook专利:包含彩色交叉耦合的显示波导组件)》

专利描述的波导显示器包括用于发射多色图像光的显示投影仪,以及用于将图像光传输到光瞳的波导组件。波导组件包括两个或更多叠置在一起的波导叠置,每个波导具有一个与其它耦入器对齐的入耦合器和一个与其它耦出器对齐的偏移耦出器。组件配置成使图像光的至少一个彩色通道沿至少两个波导传播到光瞳。


8. 《Facebook Patent | Waveguide Including Volume Bragg Gratings(Facebook专利:包含体三维布拉格光栅的波导)》

专利描述了一种用于输送图像光的波导。所述波导包括一个输入端口,其用于接收在一个波长带中携带图像光的第一光束。所述波导的第一衍射光栅包括多个Volume Bragg Gratings (VBG;体三维布拉格光栅),其配置为沿第一轴扩展第一光束,并将第一光束向波导的第二衍射光栅重定向。第二衍射光栅包括多个VBG,其配置成接收来自第一衍射光栅的第一光束,并沿第二轴耦出第一光束的第一波段的不同部分,从而沿第二轴扩展第一光束,以便用户观察图像。


9. 《Microsoft Patent | Polarization-Based Dynamic Focuser(
微软
专利:基于偏振的动态聚焦器)》

基于偏振的动态聚焦器包括第一偏振器,第一偏振器配置为将入射到第一偏振器的环境光进行偏振,从而使穿过第一偏振器并朝向用户眼睛的环境光具有第一极性。图像源定位在用户眼睛和第一偏光片之间。图像源对环境光透明,并且配置为向用户眼输出图像显示光,其中至少部分图像显示光具有第二极性。动态透镜定位在用户眼睛和图像源之间,并配置为选择性地将具有第二极性的入射光以可控虚拟距离聚焦到用户眼睛,其中动态透镜不影响具有第一极性的入射光。


10. 《Apple Patent | Displays With Multiple Scanning Modes(苹果专利:包含多种扫描模式的显示器)》

专利描述的电子设备可以包括诸如LED显示器的显示器。所述电子设备可以是为用户提供虚拟现实或增强现实环境的头戴式设备。为了减少显示器中的伪影,显示器可以在正常扫描模式和部分扫描模式下操作。在正常扫描模式下,显示器的每一行可以在每一帧中发光。在部分扫描模式中,显示器的子集在每一帧中发光。在部分扫描模式下,显示器的刷新率可以比正常扫描模式下的刷新率高。


11. 《Apple Patent | Method And System To Control A Workflow And Method And System For Providing A Set Of Task-Specific Control Parameters(苹果专利:控制工作流程的方法和系统及提供一组特定任务控制参数的方法和系统)》

专利描述了一种控制工作流程的系统和方法。所述工作流程包括由一个人执行的至少一个任务。提供与工作流程中的至少一个特定对象相关的信息。采集至少一只眼睛的眼睛数据。根据眼睛数据和关于至少一个特定对象的信息检查是否满足至少一个任务条件,所述任务条件包括是否已经执行至少一个任务和/或任务是否允许执行。


12. 《Apple Patent | Optical System With Dispersion Compensation(苹果专利:包含色散补偿的光学系统)》

一种电子设备可以包括显示器,如发光二极管显示器。所述电子设备可以是向用户提供虚拟现实或增强现实环境的头戴式设备。为了减少显示器中的伪影,显示器可以以正常扫描模式和部分扫描模式操作。在正常扫描模式中,显示器的每一行都可以在每一帧中启用并发射光。在部分扫描模式中,显示器只有某一行的子集可以在一帧中发光。在部分扫描模式下,显示器的刷新率可能高于普通扫描模式下的刷新率。为了确保整个显示器的晶体管应力均匀,显示器的扫描驱动器可以在部分扫描模式下扫描即便没有用于发光的禁用行。


13. 《Google Patent | Related Content Suggestions For Augmented Reality(谷歌专利:增强现实的相关内容建议)》

一种示例性方法包括一种计算设备:其接收由头显图像捕获组件生成的视点图像数据;使用图像数据中检测到的一个或多个现实世界方面作为确定头显情景的基础;对头显情景是否适合于在头显中显示媒体内容进行阈值确定;以及当确定适合时,选择用于显示的第一媒体内容,以及发送指示并在头显中播放第一媒体内容。


14. 《Google Patent | Near-Eye System Having Polarization Waveguide(谷歌专利:具有偏振波导的近眼系统)》

专利描述的近眼显示系统包括一个偏振波导,偏振波导具有一个靠近第一端的耦入接口和一个靠近第二端的耦出接口。所述偏振波导配置成在光线穿过偏振波导时致使光线发生多次偏振状态改变来将入射在耦入接口的光传送到耦出接口。偏振状态变化中的至少一个子集致使光线在偏振波导内反射,不依赖全内反射(TIR)。


15. 《
Valve
Patent | Dynamic Panel Masking(Valve专利:动态面板掩模)》

可以根据需要动态调整(增加和减小)头显显示面板呈现的面板掩模,以从视图中隐藏不需要的视觉伪影。例如,如果使用重投影在头显显示面板渲染帧,则可以根据头显旋转来调整与面板掩模至少一部分关联的尺寸值,从而隐藏不需要的视觉伪影。如果重投影停止和/或头部旋转停止或减慢,则面板遮罩一部分的尺寸会在一段时间内减小。


16. 《Sony Patent | Information Processing Apparatus And Method, Display Control Apparatus And Method, Reproducing Apparatus And Method, And Information Processing System(索尼专利:信息处理装置和方法,显示控制装置和方法,再现装置和方法,及信息处理系统)》

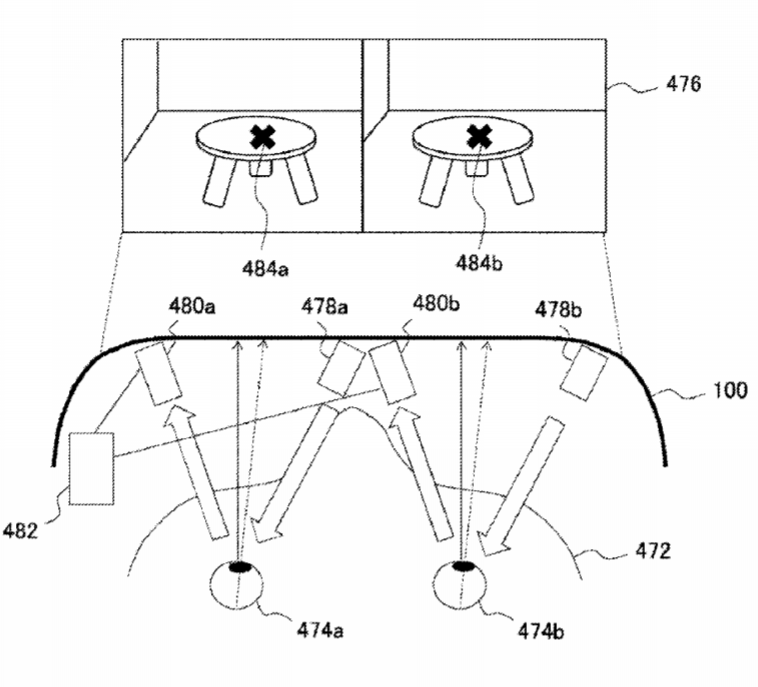
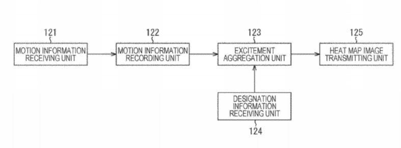
所述的信息处理组件包括:获取单元,获取单元获取与虚拟现实设备使用有关的兴奋信息,或与第一用户行为有关的信息; 输出控制单元。在显示单元显示内容期间,输出控制单元根据兴奋信息或与行为相关信息执行降低第一用户沉浸度的显示控制。


17. 《Sony Patent | Image Generating Device, Image Display System, And Image Generating Method(索尼专利:图像生成设备,图像显示系统和图像生成方法)》

当用户的主导眼是右眼时,图像生成装置以标准分辨率为右眼生成图像,并以较低的分辨率为左眼生成显示图像。在主导眼为左眼时,图像生成装置以标准分辨率为左眼生成图像(278),并以较低的分辨率为右眼生成显示图像。


18. 《Sony Patent | Information Processing Apparatus, Information Processing Method, And Program(索尼专利:信息处理装置,信息处理方法及程序)》

获取与目标用户外观相关联的外观信息,根据所获取的外观信息在虚拟空间内生成代表目标用户的虚拟化身,并根据浏览用户虚拟化身的浏览者与目标用户之间的关系改变用户虚拟化身的外观。


19. 《Sony Patent | Image Generating Apparatus, Image Generating System, Image Generating Method, And Program(索尼专利:图像生成装置,图像生成系统,图像生成方法及程序)》

专利描述地图像生成装置包括对虚拟空间对象和真实空间对象进行渲染的渲染单元;将计算机图形图像叠加在摄影图像地叠加单元;根据深度信息对计算机图形图像进行色键处理并生成色键图像的一个色键生成单元;以及通过对色键图像应用遮罩而生成增强现实图像的合成单元。


20. 《Sony Patent | Information Processing Device, Information Processing System, And Image Processing Method(
索尼
专利:信息处理设备,信息处理系统和图像处理方法)》

信息处理设备的图像数据采集单元从成像组件获取移动图像的帧数据。图片数据存储单元存储至少一个预定数量的过去帧数据。图像添加单元通过将过去帧和当前帧图像逐像素值相加而得到的总和图像。图像分析单提取特征点和获取位置信息,并对获取的位置信息进行整合。信息处理单元利用位置信息进行信息处理,输出单元将结果输出到显示装置。


21. 《Sony Patent | Information Processing Apparatus, Information Processing Method, And Information Processing System(索尼专利:信息处理装置,信息处理方法和信息处理系统)》

专利描述了一种信息处理装置、一种信息处理方法和一种信息处理系统,所述方法能够实现安全、受周围环境影响较小的导航。信息处理装置包括控制组件,控制组件指定目的地与第一用户目的地相同的第二用户,并输出用于识别第二用户的识别信息。


22. 《Sony Patent | Object Control System And Object Control Method(索尼专利:对象控制系统和对象控制方法)》

专利描述的系统包括:推理出用户感觉的一个感觉推理单元。根据用户感觉管理对象内部状态的内部状态管理单元。根据对象内部状态确定一个动作的动作管理单元。致使对象执行由动作管理单元确定的动作的输出处理单元。


23. 《Intel Patent | Real Time Holography Using Learned Error Feedback(英特尔专利:使用习得的错误反馈的实时全息技术)》

专利描述了与生成全息图像相关的技术。这种技术包括将预训练的深度神经网络应用到目标全息图像,以在迭代传播反馈模型中生成误差反馈强度值,并通过应用基于目标全息图像的迭代传播反馈模型,利用反馈强度值生成与目标全息图像相对应的衍射图案图像。

0

  1. This post has no comment yet

发表回复

您的邮箱地址不会被公开。 必填项已用 * 标注