/ Nweon / 0浏览

2020年04月15日美国专利局新批准AR/VR专利报告



映维网
2020年04月15日

)近期美国专利及商标局公布了一批全新的AR/VR专利,以下是映维网的整理(详情请点击专利标题),一共36篇。更多专利披露请访问映维网专利板块
https://patent.nweon.com/
进行检索,也可加入映维网AR/VR专利交流微信群。


1. 《
Magic Leap Patent | Deep Learning System For Cuboid Detection(Magic Leap专利:用于立方体检测的深度学习系统)

专利描述了用于立方体检测和关键点定位的系统和方法。在一个方面,可以使用深立方体检测器来同时执行单眼图像中的立方体检测和关键点定位。深度立方体检测器可以包括经过训练卷积神经网络的卷积层和非卷积层,并用于从输入图像中确定卷积特征图。深度立方体检测器的区域求解网络可以使用卷积特征图来确定立方体周围的边界框。深度立方体检测器的池化层和回归层可以实现迭代特征池化,并确定一个细化的分界框和一个参数化的立方体表示。


2. 《
Facebook Patent | Augmented Reality For Data Curation(Facebook专利:用于数据管理的增强现实)

专利描述的实施例可以接收由移动计算设备周期性地检测到的信号,并由环境内的多个固定位置信号源传输。其中,移动计算设备包括至少一个摄像头。根据检测到的信号确定信号强度的空间分布,并利用空间分布确定移动计算设备的相对位置。系统可以接收并分析由摄像头捕捉到的环境图像,并利用图像分析结果校准相对位置。通过将信号强度的空间分布与校准后的相对位置相关联,绘制出信号强度的空间分布图。


3. 《
Facebook Patent | Compression Of Captured Images Including Light Captured From Locations On A Device Or Object(Facebook专利:压缩捕捉到的图像,包括从设备或对象位置捕捉到的光线)

一种成像组件捕获头显或其它对象的图像,包括提供光的定位器。成像组件通过识别具有至少一个阈值亮度的像素和位于阈值距离内的额外像素来压缩所捕获的定位器图像。为了生成压缩的图像,成像组件对识别像素和额外像素以外的像素执行run-length编码。压缩后的图像由成像设备提供给主机或其他计算设备。在一些实施例中,成像组件同时确定一段相邻像素是否高于阈值亮度,并将一段相邻像素设置为特定值,同时对高于阈值亮度的一段相邻像素执行run-length编码编码。


4. 《
Facebook Patent | Camera Calibration System(Facebook专利:摄像头校准系统)

专利描述的摄像头校准系统用于校准摄像头系统中的多个摄像头。摄像头校准系统获取关于多个摄像头的配置信息,如每个摄像头相对于其他摄像头的位置和方向。摄像头校准系统根据所获取的配置信息估算多个摄像头的校准参数,如旋转和平移。摄像头校准系统接收由多个摄像头捕获的测试对象2D图像,并获取关于测试对象的已知信息,如测试对象的位置,大小,纹理和详细信息。然后根据接收的2D图像,以及估算的校准参数,摄像头校准系统生成测试对象的3D模型。与实际测试对象进行比较,评估生成的3D模型,从而确定校准误差,并更新摄像头的校准参数以减少多个摄像头的校准误差。


5. 《
Facebook Patent | Video Messaging Device Having A Levitating Camera(Facebook专利:具有悬浮式摄像头的视频通讯设备)

专利描述的视频信息传送设备包括一个悬浮装置和一个底座,其各自具有一个或多个电磁铁。当设备激活时,电磁铁相互排斥,从而使得包括摄像头的悬浮装置悬浮在底座之上。悬浮装置可包括顶部构件和底部构件,其中顶部构件配置成相对于悬浮装置的底部构件旋转,以抵消底部构件相对于基座单元的垂直轴旋转。可选地,悬浮装置可包括配置为捕捉360度视场的摄像头,并且可使用软件来消除摄像头围绕垂直轴旋转的影响。


6. 《
Facebook Patent | Reduction Of Surface Recombination Losses In Micro-Leds(Facebook专利:减少Micro-LED的表面复合损耗)

专利描述了用于减少Micro-LED表面复合损耗的系统和方法。在一些实施例中,一种方法包括在半导体层外部区域注入离子,从而减少横向流子扩散。半导体层包括有源发光层。半导体层耦出表面的直径小于10μm。半导体层的外部区域从半导体层外表面延伸到半导体层的中心区域,所述中心区域在离子注入期间被掩模遮蔽。


7. 《
Facebook Patent | Systems And Methods For Generating Content(Facebook专利:用于生成内容的系统和方法)

可以使用样本内容项生成一组聚类,其中样本内容项表示一组用户特征,所述样本内容项至少部分地基于它们之间的相似性进行聚类;获得一个或多个内容项,其中捕获一组对应于给定用户的用户特征;至少部分地根据用户特征确定用户对应于聚类中的给定聚类;并将与所述聚类相关联的虚拟化身分配给用户。


8. 《
Facebook Patent | Processor Thermal Management For Liquid Crystal Temperature Regulation(Facebook专利:用于液晶温度调节的处理器热管理技术)

热控制逻辑接收代表液晶显示器温度的温度信号。热控制逻辑配置为选择性地驱动运动致动器,以将热传导元件与接收来自一个或多个处理器热量的热传导层耦合。热传导元件耦合到热沉降层和液晶显示器之间。


9. 《
Facebook Patent | Devices And Methods For Lens Position Adjustment Based On Diffraction In A Fresnel Lens(Facebook专利:基于菲涅尔透镜中的衍射的透镜位置调整组件及方法)

一种方法包括在显示屏幕显示高对比度图像;以及通过菲涅尔透镜投射高对比度图像,从而提供调整菲涅尔透镜位置的提示。专利同时描述了一种用于确定和/或调整菲涅尔透镜偏移的组件。所述组件包括菲涅尔透镜,以及配置为通过菲涅尔透镜投射高对比度图像的显示屏幕。所述方法包括接收通过菲涅尔透镜传输的高对比度图像投影;以及根据高对比度图像的投影来调整菲涅尔透镜的位置。


10. 《
Microsoft Patent | Head-Up Multiplex Display With Redirection Optic(微软专利:包含重定向光学元件的平视多路显示器)

专利描述的平视显示系统包括一个微型投影仪、第一和第二浏览器元件、重定向光学元件和电子控制器。可在第一光学状态和第二光学状态之间进行电子切换,重定向光学元件配置为接收来自微型投影仪的显示图像,在第一光学状态下将显示图像传送至第一浏览器元件,并在第二光学状态下将显示图像传送至第二浏览器元件。电子控制器配置为,在第一时间内将重定向光学元件切换并维持在第一光学状态,并致使微投影仪根据第一图像数据形成显示图像。电子控制器进一步配置为,在第二时间内将重定向光学元件切换并维持在第二光学状态,并致使微投影仪根据第二图像数据形成显示图像。


11. 《
Microsoft Patent | Image Processing For Person Recognition(微软专利:人员识别的图像处理)

专利描述了一种图像处理系统,所述系统具有存储至少一个图像的存储器,所述存储器保存有至少一个图像,所述图像描绘至少一个图像处理系统从未识别过的人员。系统具有一个经过训的概率模型,所述模型描述了图像特征、情景、身份和人名之间的关系,其中至少一个身份可以识别图像中描绘的人。系统具有一个特征提取器并用于从图像中提取特征。系统具有一个处理器,其利用提取的特征和概率模型预测图像中的人员身份。


12. 《
Microsoft Patent | Navigating A Holographic Image(微软专利:导航全息图像)

专利描述了实现全息图像导航的技术。追踪一个移动的对象,如手部,并识别一个手势。为了响应于识别手势,在识别位置处创建一个虚拟形状。全息图像根据对象相对于虚拟形状的当前位置移动。


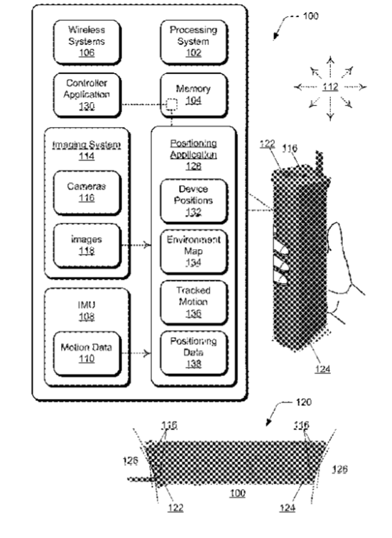
13. 《
Microsoft Patent | Position-Determining Input Device(微软专利:位置确定输入组件)

在一个实施例中,输入组件包括惯性测量单元,惯性测量单元收集与速度和加速度相关联的运动数据。输入组件同时包括至少两个可视光摄像头,后者用于捕获环境中的图像。接收来自惯性测量单元的运动数据,并接收来自至少两个视觉光摄像头的环境图像。然后,定位应用程序可以根据运动数据和与图像确定输入组件的位置,并根据位置追踪输入组件在环境中的运动。


14. 《
Microsoft Patent | Displacement Oriented Interaction In Computer-Mediated Reality(微软专利:计算机介导现实中的位移定向交互)

专利描述了在计算机介导环境中与对象进行位移定向交互的计算机系统和方法。在一个实施例中,系统检测到可穿戴设备以横向移动到纵向轴的位移来移动。如果系统确定位移在与可操作项目相关联的位移范围内,则可以选择可操作项目或激活与可操作项目相关联的操作,如在计算机介导现实环境中修改对象。


15. 《
Microsoft Patent | Waveguide For Generating Overlapping Images In A Display Module(微软专利:用于在显示模块中生成重叠图像的波导)

专利描述了波导,和/或相关联的显示组件。波导包括:多个光输入端口,其配置为接收光学光;至少一个光学输出端口,其配置为输出光学光的修改部分;以及多个传输通道,其中每个通道耦合到多个光学中的一个。输入端口配置为将光学光从相应的光学输入端口传输到至少一个光学输出端口。多个传输通道布置成使得从多个传输通道中的第一个传输通道中衍射的光学光在至少一个光学输出端口位置与从多个传输通道的第二个传输通道衍射的光学光部分重叠。


16. 《
Microsoft Patent | Geometrically Multiplexed Rgb Lasers In A Scanning Mems Display System For Hmds(微软专利:用于头显扫描性MEME显示系统中的几何多路复用RGB激光器)

专利描述的系统和方法可用于在MEMS显示系统中执行几何多路复用,所述MEMS显示系统利用RGB激光二极管和MEMS反射镜来补偿RGB光线之间的角距,而不是为每个相应的激光二极管采用单独的准直透镜。通过将时间缓冲器应用于RGB激光源脉冲,可以补偿由角距产生的空间偏移,从而使得RGB光线实现水平和垂直对准。


17. 《
Microsoft Patent | Controller With Haptic Feedback(微软专利:包含触觉反馈的控制器)

专利描述了一种控制器,后者可以通过控制静止部分和可移动部分的分离来向用户提供触觉反馈,可移动部分的一个示例是可移动臂。传感器可以嵌入至静止部分,并感测用户的拇指是否接近拇指托。可以根据用户的拇指是否不靠近传感器或靠近传感器来设置不同的触觉交互模式。


18. 《
Google Patent | Position-Based Location Indication And Device Control(谷歌专利:基于位置的位置指示和设备控制)

专利描述了用于识别位置和控制设备的系统和方法。例如,用户可以通过用眼睛瞄准所述位置来说明位置。用户同时可以通过瞄准设备来识别要控制的可控设备。示例系统和方法包括确定三维空间内的第一位置,接收第一方向输入,以及根据第一位置和第一方向输入确定第一射线。示例系统和方法同时包括确定三维空间内的第二位置,接收第二方向输入,以及根据第二位置和第二方向输入确定第二射线。示例系统和方法同时可以包括根据第一射线和第二射线识别三维空间内的位置。


19. 《
Google Patent | Input Controller Stabilization Techniques For Virtual Reality Systems(谷歌专利:用于虚拟现实系统的输入控制器稳定技术)

专利描述的技术可以包括,在物理环境中确定输入控制器在物理环境中的累计运动;根据输入控制器在物理环境中的累计运动确定一个缩放系数;确定输入控制器于某一时段在物理环境中的当前运动,以及根据缩放系数在虚拟环境中登记当前运动的一部分。


20. 《
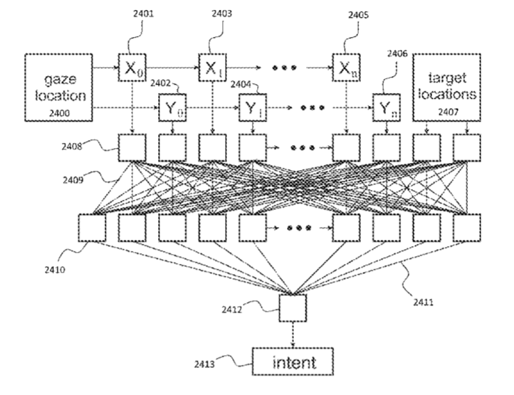
Google Patent | Systems And Methods For Biomechanically-Based Eye Signals For Interacting With Real And Virtual Objects(谷歌专利:基于生物力学的眼球信号与真实和虚拟对象交互的系统和方法)

专利描述了主要根据眼睛运动来识别用户意图的系统和方法。系统可以执行
眼动追踪
和控制屏幕显示。系统同时可以利用远程眼动眼动摄像头、远程显示器和/或其他辅助输入。优化屏幕布局,以便于快速眼球信号的形成和可靠检测。眼睛信号的检测是基于追踪眼睛的生理运动。眼睛信号检测所导致的动作与可穿戴式计算和各种显示设备兼容。


21. 《
Google Patent | Rendering Content In A 3d Environment(谷歌专利:在三维环境中渲染内容)

在一些实施例中,系统包括存储器子系统、通信接口、渲染引擎、输入处理组件和虚拟对象管理器。存储器子系统配置成存储第一数据,第一数据定义三维环境,并且识别三维环境中的虚拟对象。通信接口配置为通过网络传输第三方内容的请求,从而在三维环境中与虚拟对象一起显示第三方内容,并接收响应于请求的第三方内容。渲染引擎配置为使用来自存储器子系统的第一数据来渲染三维环境并在显示设备显示。


22. 《
Qualcomm Patent | Fisheye Image Stitching For Movable Cameras(高通专利:用于移动摄像头的鱼眼图像拼合)

专利描述了将圆形图像中的基元映射到各自网格模型的实例。所述基元由补偿摄像头旋转的纹理坐标生成,以生成代表360度视频或图像的图像。将矩形图像的部分混合以生成拼合的矩形图像,并根据拼合的矩形图像生成用于显示的图像内容。


23. 《
Qualcomm Patent | Viewport-Aware Quality Metric For 360-Degree Video(高通专利:360度视频的视口感知质量指标)

专利描述了用于处理360度视频数据的技术和系统。例如,可以获得360度视频数据,数据包括表示体,表示体包括球面视频数据映射到几何体的面。表示体包括与360度场景中的一个方向对应的视口。可以在对应于视口球形表示体确定一个窗口。窗口根据与表示体对应的几何体正面来确定。然后可以在360度场景的球形表示体上确定一个视口感知质量度量的窗口。


24. 《
Valve Patent | Using Pupil Location To Correct Optical Lens Distortion(Valve专利:使用瞳孔位置纠正光学透镜畸变)

专利描述的技术主要通过实际或预测的瞳孔位置信息来校正光学畸变。所述技术可包括识别和映射特定于光学透镜和显示组件的光学畸变,并至少部分地根据瞳孔位置来校正显示给用户的图像。


25. 《
Sony Patent | Head-Mounted Apparatus(索尼专利:头戴式装置)

从头显摄像头图像中检测与用户身体第一部位对应的第一图像部分,并在检测到的第一图像部分中获取预定的特征量。另外,指定包含所述第一图像部分的区域,在所述区域内连续改变预定的特征量,并从指定区域内的图像部分检测与身体第二部位不同的第二图像部分。


26. 《
Sony Patent | Main Beam Direction Determining Device, Head-Mounted Display, Main Beam Direction Determining Method, And Program(索尼专利:主光束方向判断装置、头戴式显示器、主光束方向判断方法及程序)

专利描述了一种主光束方向确定组件、一种主光束方向确定方法,以及一种能够缩短确定主光束方向所需时间的程序。根据头显的通信质量,第二候选扇区选择单元选择一个或多个第一候选区的第二数或第三数作为第二候选区,第二数小于第一数,第三数小于第二数。第一扇区扫描过程执行单元确定第二候选者或候选者中的一个作为主光束方向。


27. 《
Sony Patent | Reconstructing Three-Dimensional (3d) Human Body Model Based On Depth Points-To-3d Human Body Model Surface Distance(索尼专利:根据深度点到三维人体模型表面距离重建三维人体模型)

基于虚拟现实的设备包括存储器、深度传感器和电路。深度传感器从单个视点捕获人体的多个深度数据点。存储器存储一个变形的三维人体模型。电路计算从深度数据点到多个三角形面的第一距离。电路计算从深度数据点到多个边缘的第二距离。电路进一步计算从深度数据点到多个顶点的第三距离。电路同时将计算出的第一距离、第二距离和第三距离中的最小距离确定为点到表面的距离,从而以高精度重构三维人体模型。


28. 《
Sony Patent | Venue Mapping For Virtual Reality Spectating Of Live Events(索尼:专利:用于实况活动VR观影的场地映射)

通过网络从客户端设备接收由观众通过头显观看现场事件的请求;将虚拟现实观众分配给现场事件的场地座位;接收来自定位在现实场地中的多个摄像头的多个视频馈送;访问与所述座位相关联的视频处理参数;使用视频处理参数来选择和拼接视频源中的选定视频源,从而生成复合视频;通过网络将复合视频传输到客户端设备并渲染到用户头显。


29. 《
Sony Patent | Information Processing Apparatus And Operation Reception Method(索尼专利:信息处理装置和操作接收方法)

布置图标,并且包括当在用户前方的视线矢量水平平面内。在本实施例中,根据与用户头部相关的姿势信息将用户面部的法线矢量确定为视线,在视线周围的垂直平面内设置屏幕,并将虚拟空间对象投射到屏幕,从而绘制出菜单屏幕。


30. 《
Sony Patent | Gaming Device With Rotatably Placed Cameras(索尼专利:包含可旋转放置的摄像头的游戏设备)

专利描述了一种识别手指位置的方法。所述方法包括使用头显摄像头捕捉第一手部的图像。所述方法包括,在头显渲染虚拟环境的会话期间,重复捕获第一手部的额外图像。所述方法包括,将捕获的图像数据流发送到与头显接口的计算设备。计算设备配置为处理捕获的图像数据并识别第一手部的手指位置变化。


31. 《
Sony Patent | Head Mounted Display, Mobile Information Terminal, Image Processing Apparatus, Display Control Program, Display Control Method, And Display System(索尼专利:头戴式显示器,移动信息终端,图像处理组件,显示控制程序,显示控制方法和显示系统)

专利描述的方法和装置根据从手持式输入组件接收的输入操作;以及输入组件的位置和姿态中的至少一个来生成图像。所述的方法装置同时将图像显示在穿戴于用户头上的头戴式显示器中。


32. 《
Sony Patent | Methods For Providing Interactive Content In A Virtual Reality Scene To Guide An Hmd User To Safety Within A Real World Space(索尼专利:在虚拟现实场景中提供交互式内容以引导头显用户停留在安全地真实世界空间中)

一个示例性方法包括在现实世界空间中追踪头显用户。所述方法同时包括确定现实世界空间和现实世界空间内的安全区域,以便用户通过头显与虚拟现实空间进行交互。然后,检测用户在现实世界空间中的运动情况。所述方法同时包括将内容集成到虚拟现实空间中,以引导用户停留在现实世界空间的安全区域内。


33. 《
Intel Patent | Hybrid Stereo Rendering For Depth Extension In Dynamic Light Field Displays(英特尔专利:用于在动态光场显示器扩展深度的混合立体感渲染)

专利描述了一种用于混合渲染的组件和方法。例如,一个实施例包括:识别用户眼睛的左视图和右视图;生成用于左视图和右视图的至少一个深度图;计算深度固定阈值,包括最小深度值和最大深度值;根据最小深度值和最大深度值变换深度图;以及执行视图合成,使用变换后的深度图来渲染左视图和右视图。


34. 《
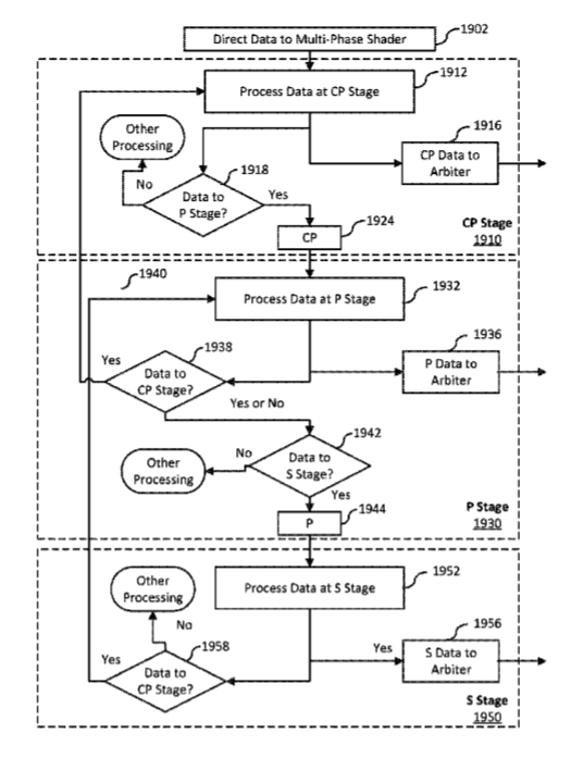
Intel Patent | Multi-Phase Architecture For Multiple Rate Pixel Shading(英特尔专利:多速率像素着色的多相位架构)

一种装置的一个实施例包括一个或多个处理核心,所述一个或多个处理核心包括图形管道,以及用于存储用于图形处理的数据的存储器。图形管道包括用于处理像素数据的多相位着色器,所述多相位着色器包括多个渲染阶段,所述渲染阶段包括至少一个第一颗粒度的第一阶段和一个不同颗粒度的第二阶段。第二渲染颗粒度为比第一渲染颗粒度具有更细的颗粒度。多相位着色器提供用于图像渲染的层次结构,其中,像素数据由具有最粗渲染粒度的渲染阶段接收,剩余的像素数据通过层次结构提供给具有更细渲染粒度的一个或多个渲染阶段。


35. 《
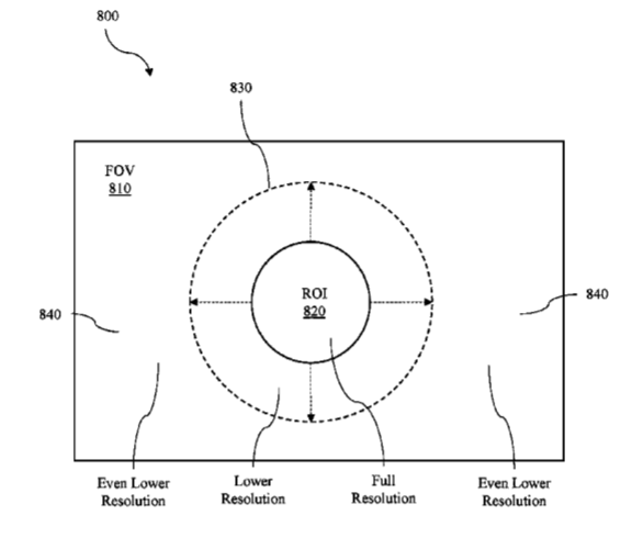
Intel Patent | Systems And Methods For 360 Video Capture And Display Based On Eye Tracking Including Gaze Based Warnings And Eye Accommodation Matching(英特尔专利:根据眼动追踪的360度视频采集和显示系统及方法,包括基于注视的警告和眼睛适应性匹配)

专利描述的系统和方法用于捕获360度视频,以及根据视场(FOV)和感兴趣区域(ROI)对视频进行多分辨率编码、处理和显示。ROI可以根据眼动追踪信息(ETI)确定,并且可以对中心视场内的场景以高分辨率进行编码,对其他视场以较低分辨率进行编码。视频中的ROI可以以高分辨率编码,而ROI以外的区域可以以较低分辨率编码。ETI可以根据用户的注视情况选择性地显示一个或多个警告,从而提高警告的效率。具有可变透镜的3D眼镜可根据立体距离线索调整虚拟显示的焦距,从而匹配对象的虚拟距离。


36. 《
Intel Patent | Wireless Communication Management For Virtual Reality Devices(英特尔专利:虚拟现实设备的无线通信管理)

专利描述了用于虚拟现实系统的无线通信管理方法和装置。虚拟现实子系统,接入点和虚拟现实设备配置为与接入点交互,从而确保分配适当的带宽并且保证虚拟现实设备与在主计算机上运行的虚拟现实应用之间的等待时间。接入点配置有虚拟现实流量处理器,以从虚拟现实子系统接收策略并确保足够的带宽和延迟。

0

  1. This post has no comment yet

发表回复

您的邮箱地址不会被公开。 必填项已用 * 标注