/ Nweon / 0浏览

2020年04月10日美国专利局新申请AR/VR专利报告



映维网
2020年04月10日

)近期美国专利及商标局公布了一批全新的AR/VR专利,以下是映维网的整理(详情请点击专利标题),一共24篇。更多专利披露请访问映维网专利板块
https://patent.nweon.com/
进行检索,也可加入映维网AR/VR专利交流微信群。


1. 《
Magic Leap Patent | Interaural Time Difference Crossfader For Binaural Audio Rendering(Magic Leap专利:用于双声道音频渲染的跨声道时差分频器)

专利描述了向头显用户呈现音频信号的系统和方法。根据一个示例性方法,接收第一输入音频信号,所述第一输入音频信号对应于虚拟环境中的源位置;处理第一输入音频信号以产生一个左输出音频信号和一个右输出音频信号。左输出音频信号通过左扬声器呈现给用户左耳。右输出音频信号通过右扬声器呈现给用户右耳。处理第一输入音频信号,包括对第一输入音频信号应用延迟处理以产生左音频信号和右音频信号;调整左音频信号的一个增益;调整右音频信号的一个增益;对左音频信号应用第一头部相关转移函数(HRTF)以产生左输出音频信号;以及对右音频信号应用第二HRTF以产生右输出音频信号。对第一输入音频信号应用延迟处理,包括对第一输入音频信号应用听觉间时间延迟(ITD),所述ITD根据信号源位置确定。


2. 《
Magic Leap Patent | Emphasis For Audio Spatialization(Magic Leap专利:音频空间化的强调)

专利描述了向头显用户呈现音频信号的系统和方法。根据一个实施例的方法,接收第一输入音频信号。对第一输入音频信号进行处理以产生第一输出音频信号。第一输出音频信号通过与一个或多个扬声器呈现。处理第一输入音频信号,包括对第一输入音频信号应用预加重滤波器;调整第一输入音频信号的增益;以及对第一音频信号应用去加重滤波器。对第一输入音频信号应用预失重滤波器,包括衰减第一输入音频信号的低频分量。在第一输入音频信号应用去失重滤波器,包括衰减第一输入音频信号的高频分量。


3. 《
Magic Leap Patent | Near-Field Audio Rendering(Magic Leap专利:近场音频渲染)

专利描述了向头显用户呈现音频信号的系统和方法。根据一个实施例的方法,确定与音频信号对应的源位置。确定与音频信号相对应的声学轴。对于用户左耳和右耳中的每一个,确定其与声学轴之间的角度。对于用户左耳和右耳中的每一个,在虚拟扬声器阵列中确定一个虚拟扬声器位置。虚拟扬声器阵列包括多个虚拟扬声器位置,多个虚拟扬声器位置中的每个虚拟扬声器位置位于与用户头部同心的球体表面之上。对于用户左耳和右耳中的每一个,确定对应于虚拟扬声器位置的头相关转移函数(HRTF);根据确定的角度确定一个源辐射滤波器;处理音频信号以产生用于耳朵的输出音频信号;以及通过一个或多个扬声器向用户耳朵呈现输出音频信号。处理音频信号,包括对音频信号应用HRTF和源辐射滤波器。


4. 《
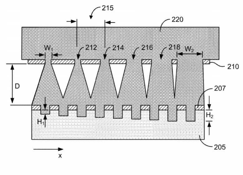
Magic Leap Patent | Method And System For Tunable Gradient Patterning Using A Shadow Mask(Magic Leap专利:用阴影掩模进行可调梯度图案化的方法和系统)

专利描述了一种制造具有不同衍射元件深度的衍射结构,所述方法包括提供阴影掩模,所述阴影掩模含有具有第一孔径尺寸的第一区域,以及具有第二孔径尺寸的第二区域。所述方法同时包括将阴影掩模定位于基板附近。基板包括对应于衍射结构的蚀刻掩模。所述方法还包括将基板暴露于蚀刻剂,通过蚀刻基板以形成与第一区域相邻的衍射元件;通过蚀刻基本以形成与第二区域相邻的衍射元件,第二区域具有小于第一区域的第一深度的第二深度。


5. 《
Magic Leap Patent | Rendering Location Specific Virtual Content In Any Location(Magic Leap专利:在任何地点渲染特定于位置的虚拟内容)

专利描述了用于在三维环境中创建、保存和渲染包括多个虚拟内容项目设计的方法。所述设计可以保存为场景,所述场景由用户从预建的子组件、已建的组件和/或先前保存的场景中构建。可以保存表示为保存的场景锚节点的位置信息,从而表示每个虚拟内容项目的位置信息。在打开场景时,保存的场景锚节点可以与用户在混合现实环境中的位置相关联。


6. 《
Magic Leap Patent | Distributed Audio Capturing Techniques For Virtual Reality (Vr), Augmented Reality (Ar), And Mixed Reality (Mr) Systems(Magic Leap专利:用于虚拟现实,增强现实和混合现实系统的分布式音频捕获技术)

专利描述的系统可以包括多个分布式监视组件,每个监视组件具有麦克风和位置追踪单元。所述系统可以捕获音频信号,同时可以捕获位置追踪信号。所述系统可以根据音频信号和位置追踪信号来生成环境中声波场的表示。所述系统同时可以根据音频信号和位置追踪信号来确定环境的一种或多种声学特性。


7. 《
Magic Leap Patent | Systems And Methods For Virtual And Augmented Reality(Magic Leap专利:用于虚拟现实和增强现实的系统和方法)

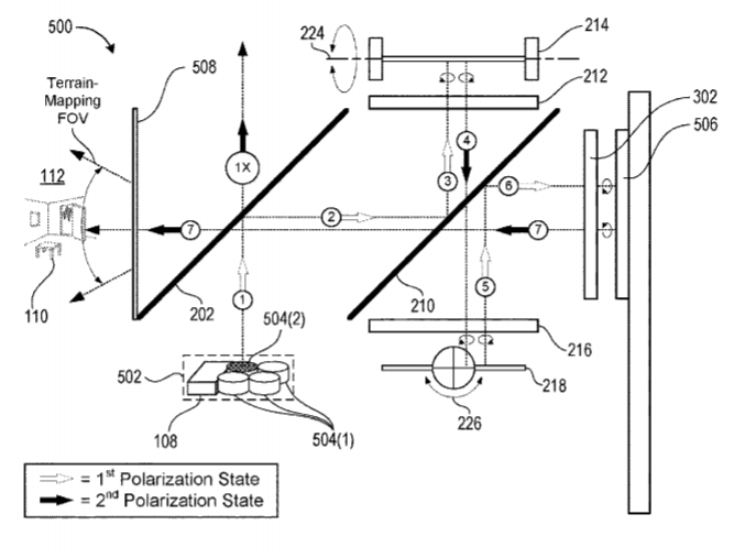
专利描述了用于生成和显示虚拟伴侣的系统和方法。在一个示例性方法中,第一传感器在第一时间接收来自用户环境的第一输入。根据第一输入确定环境中的事件发生。第二传感器接收来自用户的第二输入,根据第二输入确定用户的情绪反应。在情绪反应和事件之间确定一个关联。透视显示器在比第一时间晚的第二时间呈现环境视图。在透视显示器显示的虚拟伴侣在第二时间呈现刺激。其中,根据情绪反应和事件之间的关联确定刺激。


8. 《
Facebook Patent | Apparatus, Systems, And Methods For Display Devices Including Local Dimming(Facebook专利:用于包括局部调光功能的显示设备的装置、系统及方法)

示例性装置可包括配置为生成增强现实图像元素的电子显示器,以及配置为接收增强现实图像元素和外部环境光的光学组合器。光学组合器可配置成提供增强现实图像,其中增强现实图像元素位于由环境光形成的环境图像的一部分内。所述设备同时可包括配置为选择性地调暗环境图像的调光器。


9. 《
Facebook Patent | Apparatus, Systems, And Methods For Display Devices Including Local Dimming(Facebook专利:用于包括局部调光功能的显示设备的装置、系统及方法)

示例性装置可包括配置为生成增强现实图像元素的电子显示器,以及配置为接收增强现实图像元素和外部环境光的光学组合器。光学组合器可配置成提供增强现实图像,其中增强现实图像元素位于由环境光形成的环境图像的一部分内。所述设备同时可包括配置为选择性地调暗环境图像的调光器。


10. 《
Microsoft Patent | Display System With A Single Plate Optical Waveguide And Independently Adjustable Micro Display Arrays(微软专利:具有单板光波导和可独立调节微显示阵列的显示系统)

专利描述了具有单板光波导和可独立调节微显示器阵列的显示系统及相关方法。一种方法包括:将从第一微显示器阵列接收的第一光线部分耦合到光波导的第一输入光栅区域;将从第二微显示器阵列接收的第二光线部分耦合到光波导的第二输入光栅区域;以及从第三微显示器阵列接收的第三光线部分耦合到光波导的第三输入光栅区域。所述方法同时包括:将第一光线部分的第一衍射部分引导至第一扩展光栅,将第二光部分的第二衍射部分引导至第二扩展光栅,以及将第三光部分的第三衍射部分引导至第三扩展光栅。


11. 《
Microsoft Patent | Complexity Reduction Of Objects Via Cavity Removal(微软专利:通过移除腔径来降低对象的复杂度)

专利描述了移除三维对象细节的系统和方法。通过移除腔径来降低复杂性可以减少存储,转移和渲染成本,同时不会对质量产生不利影响,并且能够以自动化方式实现。在某些示例中,以分层的方式删除3D对象内部和外部的距离场,并通过添加新对象表面来密封腔径。这样,在众多查看角度中被遮蔽的孔洞就会实现填充(移除),从而减少了存储和处理隐藏内表面的负担。


12. 《
Microsoft Patent | Real-World Anchor In A Virtual-Reality Environment(微软专利:虚拟现实环境中的真实世界锚定)

在VR环境中渲染出与现实世界锚定对象相关联的虚拟锚定对象。锚定对象相对于计算机系统的现实世界位置进行确定,并在VR环境内的某一位置机型渲染。所述虚拟锚定对象相对于现实世界环境锁定,而不是相对于VR环境锁定。为了响应于计算机系统的移动,更新虚拟锚定对象的位置,以保持现实世界的锁定关系。具有已知属性的对象可以作为与捕捉到的图像进行比较,从而确定VR设备的相对定位。


13. 《
Microsoft Patent | Real-World Anchor In A Virtual-Reality Environment(微软专利:虚拟现实环境中的真实世界锚定)

头显配置为利用电子图像来执行摄像系统的本征和/或外征校准。使用头显的一个或多个摄像头捕获一系列图像。图像包括具有头显已知特征的标记物。所述已知特征包括已知的标记形状和若干已编码或未编码的标记。每个图像以相对于另一图像的不同角度或距离捕捉显示图像。然后,头显从系列图像中识别出标记物的二维图像位置。头显使用二维图像位置和已确定标记的三维位置来执行调整,并随后用于确定显示屏幕相对于头显的位置和角度对齐。


14. 《
Microsoft Patent | Haptic Feedback System Having Two Independent Actuators(微软专利:包含两个独立致动器的触觉反馈系统)

专利描述的触觉反馈系统包括,通过第一组两个或更多的电极耦合到控制器的第一触觉致动器,以及通过第二组两个或更多的电极耦合到第一触觉致动器并进一步耦合到控制器的第二触觉致动器。控制器配置为通过第一组两个或更多电极向第一触觉致动器提供第一驱动信号,并通过第二组两个或更多电极向第二触觉致动器提供不同于第一驱动信号的第二驱动信号。将两个触觉致动器组合在一起,这可以获得更广泛的反馈范围。


15. 《
Microsoft Patent | Holographic Display System(微软专利:全息显示系统)

专利描述的全息显示系统包括全息光学元件(HOE)。全息光学元件包括第一体三维全息图,第一体三维全息图配置为在满足第一角度条件时向耦出光线以形成第一出瞳。全息光学元件同时包含阔第二体三维全息图,第二体三维全息图配置为在满足第二角度条件时耦出光线以形成第二出瞳。光源配置为以任意一个角度范围将光引入到HOE中。光源控制器将光的电流角度设置为满足第一角度条件的第一角度以形成第一出瞳。光源控制器通过改变电流角度至满足第一角度条件的第二角度来使第一出瞳移动。光源控制器通过将电流角度设置为满足第二角度条件的第三角度来使光线重新定向,从而形成第二出瞳。


16. 《
Microsoft Patent | Compact Optical System With Mems Scanners For Image Generation And Object Tracking(微软专利:搭载微机电系统扫描仪并用于图像生成和对象追踪的紧凑光学系统)

搭载了微机电系统扫描仪的光学系统可以同时生成CG图形并扫描真实世界环境。照明引擎沿着共同的光路向光学组件发射第一光谱带宽和第二光谱带宽。接下来,光学组件通过将第一光谱带宽引导至图像生成光学路径,并将第二光谱带宽引导到映射光学路径上来分离光谱带宽。光学系统通过引导图像生成光路中的第一光谱带宽来部署微机电系统扫描仪以产生CG图像,同时通过在映射光路内引导第二光谱带宽来照射环境。因此,发明所述的方法能够大大减少系统的重量和成本,如增强现实系统和虚拟现实系统。


17. 《
Microsoft Patent | Complexity Reduction Of Objects Via Hole Filling(微软专利:通过孔洞填充来降低对象的复杂性)

专利描述了去除三维对象细节的系统和方法,如孔洞。孔洞移除能够降低存储、传输和渲染成本,同时不会对质量产生不利影响,并且可以以自动化的方式实现。在某些示例中,扩张和侵蚀3D对象,并去除不需要的厚边,以保留更高的外部细节百分比。这样,在众多查看角度中被遮蔽的孔洞就会实现填充(移除),从而减少了存储和处理隐藏内表面的负担。


18. 《
Apple Patent | Quantized Depths For Projection Point Cloud Compression(苹果专利:投影点云压缩的量化深度)

专利描述的系统包括配置为压缩点云的属性信息和/或空间信息的编码器,和/或配置为解压点云的压缩属性和/或空间信息的解码器。编码器配置为将点云转换为基于图像的表示。编码器将补丁图像打包到图像帧中,并且用填充物填充图像帧中的空隙。编码器同时配置成确定补丁图像在图像帧中的量化最小深度和/或最大深度。


19. 《
Apple Patent | Point Cloud Compression Using Fixed-Point Numbers(苹果专利:使用固定点数的点云压缩技术)

专利描述的系统包括配置为压缩点云的属性信息和/或空间信息的编码器,和/或配置为解压点云的压缩属性和/或空间信息的解码器。至少一个起始点的属性值包含在压缩的属性信息文件中,并且属性修正值包含在压缩的属性信息文件中。属性值至少部分地根据相邻点的属性值来预测属性值。将预测的属性值与压缩前的点云属性值进行比较,从而确定属性修正值。为了提高计算效率和/或可重复性,在确定预测的属性值和属性修正值时使用固定点数表示法。解码器遵循与编码器相似的预测过程,并使用属性修正值和固定点数表示法对预测值进行修正。


20. 《
Apple Patent | Relative Intertial Measurement System(苹果专利:相对惯性测量系统)

用于相对惯性测量的方法和系统可以包括:配置为与用户身体耦合并且在用户乘坐车辆时测量用户身体或身体一部分的运动的用户设备。二第二惯性测量组件可以配置为随车辆一起移动,但不随用户身体在车辆内的移动而移动。一个或多个处理器可以从第一惯性测量组件和第二惯性测量组件接收惯性测量,并通过比较接收到的惯性测量来确定用户身体或用户身体的一部分相对于车辆的运动。


21. 《
Qualcomm Patent | Six Degrees Of Freedom And Three Degrees Of Freedom Backward Compatibility(高通专利:六自由度和三自由向后兼容性)

专利描述了用于虚拟现实、混合现实、增强现实、计算机视觉和图形系统的向后兼容方法。所述方法允许支持较少自由度的设备渲染具有更多自由度的音频数据。在一个实施例中,设备包括存储器。存储器配置为存储代表在多个捕获位置捕获的声场音频数据、使音频数据渲染为支持N个自由度的元数据、以及使音频数据渲染为支持M个自由度的自适应元数据。所述设备同时包括耦合到存储器的一个或多个处理器,所述一个或多个处理器配置成根据自适应元数据来自适应音频数据并提供M个自由度,并且根据自适应音频数据生成扬声器馈送。


22. 《
Valve Patent | Motion Smoothing For Re-Projected Frames(Valve专利:用于再投影帧的运动平滑)

专利描述了用于显示系统的运动平滑技术。例如,可将与两个先前渲染帧相关联的第一像素数据和第二像素数据作为输入,并提供给GPU。GPU的视频编码器可以处理输入的像素数据并生成运动向量数组,所述运动向量数组用于修改再投影帧的第三像素数据。修改后的第三像素数据可实现“运动平滑化”,并由显示器进行渲染,从而减轻运动或动画对象的抖动。


23. 《
Sony Patent | Main Beam Direction Determining Device, Main Beam Direction Determining Method, And Program(索尼专利:主光束方向判断装置、主光束方向判断方法及程序)

专利描述了一种主光束方向确定组件、一种主光束方向确定方法,以及一种能够缩短确定主光束方向所需时间的程序。根据头显的通信质量,第二候选扇区选择单元选择一个或多个第一候选区的第二数或第三数作为第二候选区,第二数小于第一数,第三数小于第二数。第一扇区扫描过程执行单元确定第二候选者或候选者中的一个作为主光束方向。


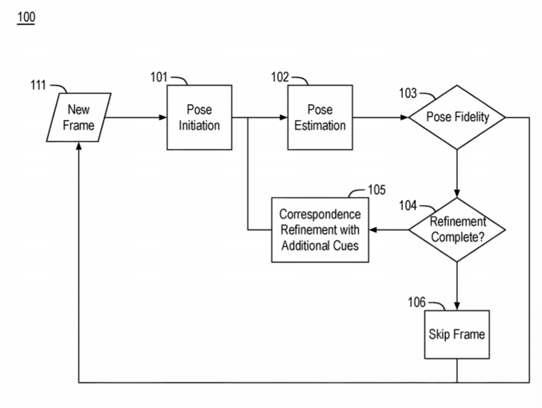
24. 《
Intel Patent | Adaptive Virtual Camera For Indirect-Sparse Simultaneous Localization And Mapping Systems(英特尔专利:用于间接-稀疏即时定位与地图构建系统的自适应虚拟Camera)

专利描述了与间接-稀疏即时定位与地图构建系统有关的技术。所述技术包括自适应地将虚拟camera相对于待测绘环境中的物理camera的估计位置进行自适应定位,将深度误差投射到与自适应camera位置相对应的图像平面上,并利用投射的深度误差更新环境的映射。

0

  1. This post has no comment yet

发表回复

您的邮箱地址不会被公开。 必填项已用 * 标注