/ Nweon / 0浏览

2020年04月08日美国专利局新批准AR/VR专利报告



映维网
2020年04月08日

)近期美国专利及商标局公布了一批全新的AR/VR专利,以下是映维网的整理(详情请点击专利标题),一共30篇。更多专利披露请访问映维网专利板块
https://patent.nweon.com/
进行检索,也可加入映维网AR/VR专利交流微信群。


1. 《
Magic Leap Patent | Mixed Reality Spatial Audio(Magic Leap专利:混合现实空间音频)

专利描述了一种向混合现实环境用户呈现音频信号的方法。检测与混合现实环境相关联的音频事件。音频事件与第一音频信号相关联。确定用户相对于混合现实环境的位置。识别与用户的位置相关联的声学区域。确定与第一声学区域相关联的第一声学参数。使用第一声学参数确定传递函数。传递函数被应用于第一音频信号以产生第二音频信号,然后将其呈现给用户。


2. 《
Magic Leap Patent | Integrating Point Source For Texture Projecting Bulb(Magic Leap专利:用于纹理投影灯泡的积分点源)

纹理投射灯泡包括位于积分器内的扩展光源。积分器包括至少一个孔,其配置为允许光传播出积分器的内部。在各种实施例中,积分器的内部可以是漫反射表面,并且积分器可以配置为在孔处产生均匀的光分布以近似点光源。在各种实施例中,灯泡外壳可以包括透明和不透明区域,其配置为投射可见光和/或红外光的结构化图案。


3. 《
Magic Leap Patent | Augmented Reality Display System For Evaluation And Modification Of Neurological Conditions, Including Visual Processing And Perception Conditions(Magic Leap专利:用于评估和改善神经病症的增强现实显示系统,包括视觉处理和感知症状)

在一些实施例中,头戴式显示系统配置为执行神经学分析,并根据与神经病症相关联的环境触发来提供感知辅助。对于执行神经学分析,可以根据传感器接收的数据确定用户对刺激的反应,并确定与反应相关的神经病症。


4. 《
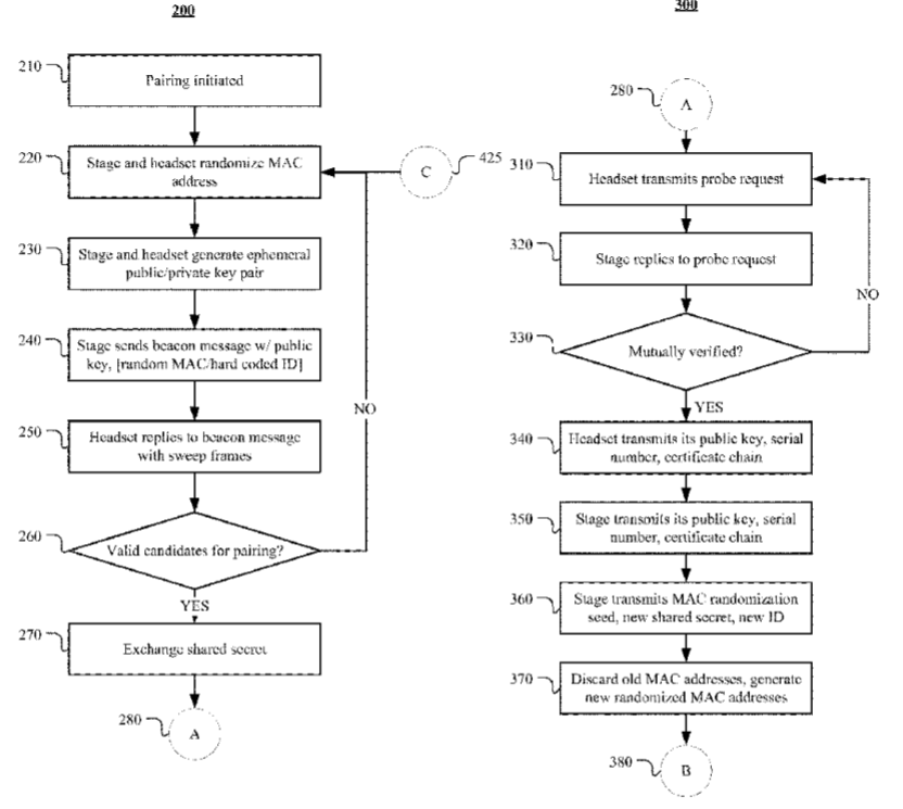
Facebook Patent | Devices And Methods For Preventing Tracking Of Mobile Devices(Facebook专利:用于防止移动设备追踪的组件和方法)

在一个实施例中,由客户端设备提供的方法包括从stage device接收将在配对会话期间使用的第一随机化stage地址;向stage device发送将在配对会话期间使用的第一随机化客户端地址,使用第一随机化stage地址和第一随机化客户端地址与stage device通信,以验证stage device拥有由客户端设备的共享秘密数据,并与stage device建立至少一个共同随机化参数。根据至少一个共同随机化参数,定期生成第二随机化stage地址和第二随机化客户端地址;以及使用第二随机化stage地址和第二随机化客户端地址在配对通信会话中与stage device通信。


5. 《
Facebook Patent | Estimating Room Acoustic Properties Using Microphone Arrays(Facebook专利:使用麦克风阵列估算房间的声学特性)

音频分析系统从原始音频组件接收语音信号的第一记录,并从音频接收组件接收语音信号的第二记录。语音信号源自始发音频组件的说话用户,并且第二记录由另一用户操作的音频接收组件记录。 源音频组件和音频接收组件都位于一个房间内。音频分析系统选择第一记录中的一个或多个音频帧和第二记录中的一个或多个音频帧,其中它们都在同一时间段内发生。音频分析系统部分地根据所述一个或多个音频帧来确定房间的传递函数。


6. 《
Facebook Patent | Optical Microphone For Eyewear Devices(Facebook专利:用于眼戴设备的光学麦克风)

专利描述的音频系统包括换能器组件、光学传感通路、激光器、检测器组件和控制组件。换能器组件耦合到用户耳朵,并根据音频指令产生声波压力波。光学传感通路至少部分地随着检测到的声波压力波而移动。激光器发出的光分离成参考光束和传感光束,参考光束耦合到光学传感通路中。检测到的声波压力波与传感光束相互作用以改变光路长度。检测器组件从光学传感通路检测参考光束和传感光束,并根据参考光束和传感光束之间的光路长度变化来测量检测到的声波压力波。控制组件根据声波压力波的测量结果调整音频指令。


7. 《
Facebook Patent | Generating A Representation Of An Object From Depth Information Determined In Parallel From Images Captured By Multiple Cameras(Facebook专利:根据从多个摄像头图像并联确定的深度信息生成对象表示的方法)

不同方向的多个摄像头捕获相对于目标位置对象的图像。对来自每个摄像头的图像进行并行处理,从而根据图像内不同区域之间的对应关系来确定深度信息。根据阴影信息和立体信息来并行修改来自深度信息。对深度信息进行细化修正。将修正后的深度信息组合起来,并在目标位置产生对象的重构。


8. 《
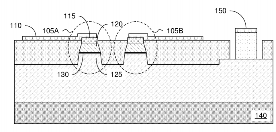
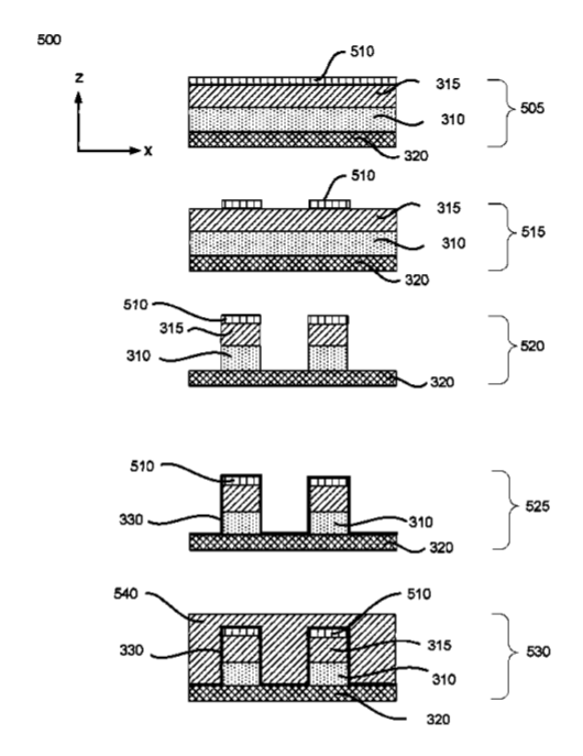
Facebook Patent | Self-Alignment Of Micro Light Emitting Diode Using Planarization(Facebook专利:利用平面化技术实现微型发光二极管的自动对齐)

专利描述了一种制造发光二极管(LED)的方法。在p型半导体沉积一层金属层。所述p型半导体位于n型半导体之上。对金属层进行图案化处理并定义P型金属。使用p型半导体作为蚀刻掩膜,对p型半导体进行蚀刻。同样,使用p型金属和p型半导体作为蚀刻掩膜来刻蚀n型半导体,从而定义单个LED。


9. 《
Facebook Patent | Eye Tracking System With Single Point Calibration(Facebook专利:包含单点校准的眼动追踪系统)

专利描述的头显包含配置为执行校准过程的
眼动追踪
系统。所述眼动追踪系统包括确定瞳孔轴和/或确定瞳孔轴与眼睛真实视线之间的角度偏移。眼动追踪系统获取眼睛模型。在一些实施例中,校准过程是基于用户眼睛的单一图像,并且只执行一次。例如,所述过程可以在用户第一次使用头显时执行,而头显可以将用户的校准数据存储在存储器中以备将来使用。


10. 《
Facebook Patent | Millimeter Wave Hand Tracking(Facebook专利:毫米波手部追踪)

专利描述的一种系统包括可定位手套和姿势确定组件。可定位手套包括手套主体和多个定位应答器。定位应答器在耦合到手套主体,并且每个都重新发射接收到的信号。姿势确定组件包括多个天线和控制器件。每个天线都配置为接收由定位应答器重新发射的信号。天线彼此分开。控制器件通信地耦合到多个天线。


11. 《
Facebook Patent | High Refractive Index Gratings For Waveguide Displays Manufactured By Self-Aligned Stacked Process(Facebook专利:通过自对准堆叠工艺制造的高折射率波导显示器用光栅材料)

专利描述了一种用于制造具有可变折射率的自对准光栅元件的制造系统,其包括图案化系统、沉积系统和蚀刻系统。制造系统执行一个或多个光刻胶的平版印刷图案化,从而在基板上形成堆叠。制造系统执行在所述堆叠上的保护性涂层保形沉积。制造系统执行在保护性涂层上沉积具有第一折射率的第一光刻胶。制造系统执行去除第一光刻胶以实现第一厚度的阈值。制造系统执行在第一光刻胶上沉积具有第二折射率的第二光刻胶。第二折射率大于第一折射率。制造系统执行去除第二光刻胶以实现第二厚度的阈值,从而形成光学光栅的一部分。


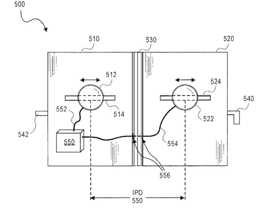
12. 《
Facebook Patent | Transition Feature For Framing Multizone Optics(Facebook专利:用于限定多区域光学元件的过渡特征)

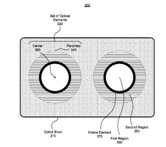
专利描述了一种具有限定元件的光学模块。光学模块包括一组具有第一区域和第二区域的一个或多个光学元件。第一区域具有高于质量阈值的第一光学质量;第二区域具有低于质量阈值的第二光学质量。限定元件耦合到第一区域和第二区域之间的质量阈值边界,并且在一组或多个光学元件和一个或多个光学元件和一个视场之间。限定元件将用户的注意力引导至具有第一光学质量的一个或多个光学元件组的第一区域,并引导至远离具有第二光学质量的一个或多个光学元件组的第二区域。


13. 《
Facebook Patent | Near-Eye Display Assembly With Enhanced Display Resolution(Facebook专利:具有增强显示分辨率的近眼显示器组件)

专利描述的近眼显示组件包括电子显示屏、光学组件和扫描组件。电子显示屏具有第一分辨率。光学组件控制视场位置的视场,并将从电子显示屏发出的多个光束朝视窗引导。扫描组件根据发射指令移动至少一条光束的方向,从而向视窗呈现出虚拟显示。所述虚拟显示具有大于第一分辨率的第二分辨率。


14. 《
Facebook Patent | Ultra-Wide Field-Of-View Scanning Devices For Depth Sensing(Facebook专利:用于深度感知的超宽视场扫描组件)

一种用于确定局部区域内对象深度信息的深度摄像头组件包括:光发生器、摄像头和控制组件。光发生器根据来自控制组件的发射指令用结构光照亮局部区域。光发生器包括一个照明源、一个声光偏转器(AOD)和一个带有液晶光栅(LCG)的液晶组件(LCD)。AOD的功能是作为动态衍射光栅,并根据来自控制组件的发射指令对从照明源发射的光束进行衍射,从而形成衍射扫描光束。LCD中的每个LCG配置成进一步从AOD衍射光,以产生投射到局部区域的结构光。摄像头捕捉从对象反射的结构光的部分图像。控制组件根据捕获的图像确定对象的深度信息。


15. 《
Facebook Patent | Tileable Structured Light Projection System(Facebook专利:瓦片式结构光投射系统)

头显系统包括配置成向局部区域内的一个或多个对象发射结构光(SL)图案的投影仪系统,投影的SL图案包括至少一个第一SL图案。第一SL图案具有对应于第一可贴合边界的第一视场(FOV),第二SL图案具有对应于第二可贴合边界的第二FOV。成像组件捕获包括第一SL图案或第二SL图案的局部区域图像。根据图像确定第一和第二SL图案的边界位置。根据第一和第二SL图案的位置生成局部区域的深度信息。


16. 《
Facebook Patent | Actuation For A Focus Adjusting Head Mounted Display(Facebook专利:可调节焦距的头显的驱动装置)

头显包括配置为向用户显示虚拟场景的电子显示器、光学模块、眼动追踪系统和变焦致动装置,所述变焦致动装置用于机械地改变光学模块和电子显示器之间的距离。变焦致动装置配置为根据用户的眼睛位置改变头显的焦距,并且包括马达、与致动马达耦合的动力螺杆,以及与电子显示屏耦合的螺母滑块。所述动力螺杆配置为响应于致动马达的致动而转动,而螺母滑块配置成沿动力螺钉的长度来回移动。


17. 《
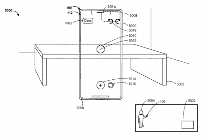
Apple Patent | Devices And Methods For Measuring Using Augmented Reality(苹果专利:利用增强现实进行测量的设备和方法)

专利所述的电子设备以第一放大倍率显示摄像头视场,并根据摄像头检测到的变化更新显示视场。视场包括三维空间的视图。响应于第一触控输入,设备在与视场中的第一位置添加第一测量点;随着摄像头的移动,设备在第一位置显示测量点;响应于第二触控输入,在视场中的第二位置添加并显示第二测量点;显示连接第一测量点和第二测量点的第一测量段。


18. 《
Microsoft Patent | Gesture Parameter Tuning(微软专利:手势参数调整)

在一个实施例中涉及一种头显,所述头显包括多个传感器、配置为显示用户界面的显示器、逻辑机和存储机。存储机储存可由逻辑机执行的指令,并根据从多个传感器中的第一传感器接收到的信息检测手势,执行响应于手势的动作,并确定手势是否与预定的手势输入匹配。如果确定检测到的手势与预定的手势输入不匹配,可以更新定义预定手势输入的手势参数。


19. 《
Google Patent | Hand Tracking Based On Articulated Distance Field(谷歌专利:基于铰接距离场的手部追踪)

电子设备通过使用蒙皮四面体网格对符号距离场进行体三维变形,以确定能量函数的局部最小值,其中局部最小值对应于手势,从而执行手势的估计。电子设备通过将手部的隐含表面模型拟合到与手部对应的深度图像的像素点来识别手势。电子设备使用蒙皮四面体网格将空间从基本姿势转到变形姿势,以定义一个铰接符号距离场,而手部追踪模块从中推导出手部的候选姿势。然后,电子设备根据每个对应像素的距离最小化一个能量函数,以确定最接近手势的候选姿势。


20. 《
Qualcomm Patent | Color Normalization For A Multi-Camera System(高通专利:多摄像头系统的色彩归一化技术)

专利描述的设备配置为确定第一图像和第二图像之间的重叠区域,根据包含在第一图像中的颜色数据确定与重叠区域相对应的第一直方图,并根据包含在第二图像中的颜色数据确定与重叠区域相对应的第二直方图。处理器配置为根据第一直方图和第二直方图确定一个映射函数,所述映射函数实质上将第二直方图映射到第一直方图,并将映射函数应用到第二图像,以生成相对于第一图像的归一化第二图像。


21. 《
Sony Patent | Reconfigurable Multi-Mode Camera(索尼专利:可重新配置的多模式摄像头)

专利描述了一种可重新配置的成像装置。所述装置包括平台。每个平台容纳一个或多个光学传感器。一个枢轴连接器与至少两个平台连接,并支持这样的平台相对于彼此的相对运动。通过这样的方式,平台可以根据枢轴连接器在不同的布置间切换,从而允许装置的重新配置。在一个示例性安排中,光学传感器指向不同的方向以覆盖不同的视场,从而支持单视镜图像。在另一示例性安排中,光学传感器指向基本相同的方向,以覆盖基本相同的视场,从而支持立体图像。


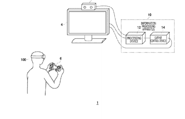
22. 《
Sony Patent | Information Processing Apparatus, Information Processing Method, And Program For Displaying A Virtual Object On A Display(索尼专利:信息处理装置、信息处理方法及在显示器显示虚拟对象的程序)

专利描述的装置包括配置为接收包括对象的视频,确定装置与对象之间的位置关系,以及当装置与对象之间的位置关系发生变化时,改变叠加在视频上的图像与对象之间的位置关系。


23. 《
Sony Patent | Information Processing Apparatus And Image Generating Method(索尼专利:信息处理装置和图像生成方法)

运动检测部分检测头戴式显示装置的姿态。视觉线方向确定部分根据检测到的姿态确定视觉线方向。图像生成部分根据确定的视觉线方向生成图像。图像提供部分向头戴式显示装置提供所生成的图像。指令获取部分从输入设备获取用于切换视觉线方向的指令。当指令获取部分获取到切换指令时,视觉线方向确定部分以预定角度改变视觉线方向。


24. 《
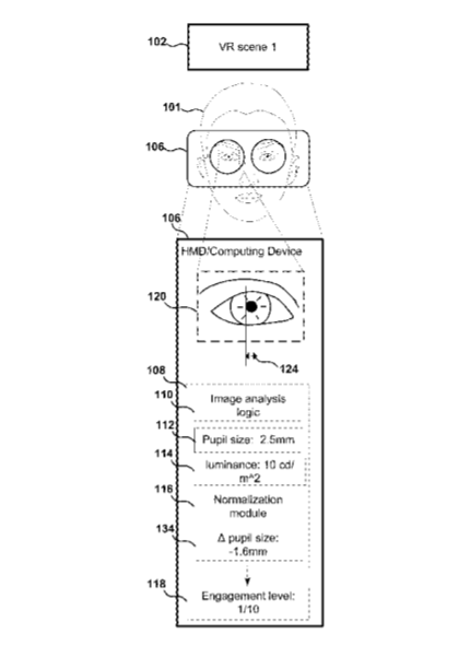
Sony Patent | Quantifying User Engagement Using Pupil Size Measurements(索尼专利:利用瞳孔测量量化用户的参与度)

一种计算机实现方法包括通过头显向用户呈现VR场景,并在用户佩戴头显和时捕获眼睛的一个或多个图像。所述方法同时包括用于分析一个或多个图像以获得眼睛瞳孔大小测量的操作,以及获得可用于将瞳孔大小测量与用户参与度相关联的瞳孔大小指示器。所述方法同时可根据瞳孔大小测量和瞳孔大小指示器确定用户参与度。


25. 《
Sony Patent | Information Processing System, Information Processing Apparatus, Output Apparatus, Program, And Recording Medium(索尼专利:信息处理系统、信息处理装置、输出装置、程序和记录介质)

专利描述的输出装置包括显示部分,以及布置在显示部分的显示表面一侧的透镜。信息处理装置根据从输出装置输出的误差信息产生通过校正图像数据。


26. 《
Sony Patent | Varying Effective Resolution By Screen Location By Changing Active Color Sample Count Within Multiple Render Targets(索尼专利:通过改变多个渲染目标内的有效颜色样本数来改变屏幕位置的有效分辨率)

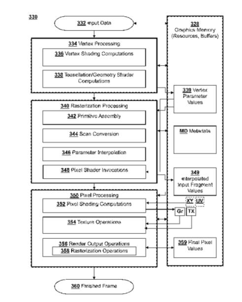
图形处理单元配置为接收元数据,元数据指定显示设备的多个区域中的一个或多个像素的采样配置,并接收特定区域中的一个或多个像素的像素数据。像素数据为每个像素指定相同数量的颜色样本。对于特定区域中的每个像素,GPU仅对配置为活动样本的颜色样本调用像素着色器。


27. 《
Sony Patent | Temperature Controlled Headset Apparatus(索尼专利:温控式头显装置)

专利描述的头显包括布置在光学透镜后面的显示屏幕,以便当用户佩戴头显时,光学透镜位于显示屏幕和用户的眼睛之间。显示屏幕配置成用于渲染VR内容。头显包括配置成在用户佩戴时围绕着用户头部贴合的支撑结构。其中,光学透镜和显示屏幕布置在支撑结构内,以使显示屏幕在用户佩戴头显时位于眼睛的前方。头显包括布置在支撑结构中的热能组件。其中,热能组件可控制地提供热量,从而响应于显示屏幕所显示的VR内容环境线索。


28. 《
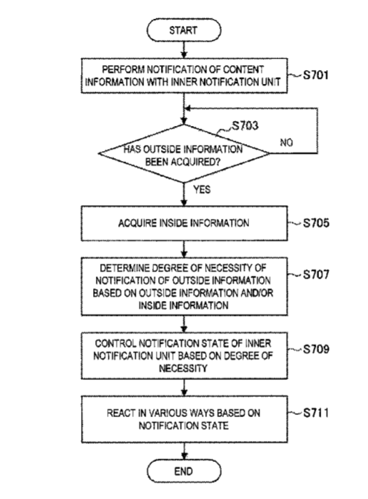
Sony Patent | Information Processing Device, Notification State Control Method, And Program(索尼专利:信息处理装置、通知状态控制方法及程序)

专利描述的信息处理装置包括:必要性程度确定单元和通知状态控制单元。必要性程度确定单元配置为根据用户外部信息确定向用户通知所述信息必要程度。通知状态控制单元配置为根据确定的必要性程度切换外部信息的通知状态。


29. 《
Sony Patent | Display Device With Transmissivity Controlled Based On Quantity Of Light(索尼专利:基于光量控制透射率的显示组件)

专利描述的显示装置包括第一图像显示装置。所述第一图像显示装置包括导光板、调光器和光控制装置。光线控制装置配置为确定显示装置接收到的光量变化的开始时间,并根据光量控制调光器的透射率在开始时间过后的预定时间后控制调光器的透射率。


30. 《
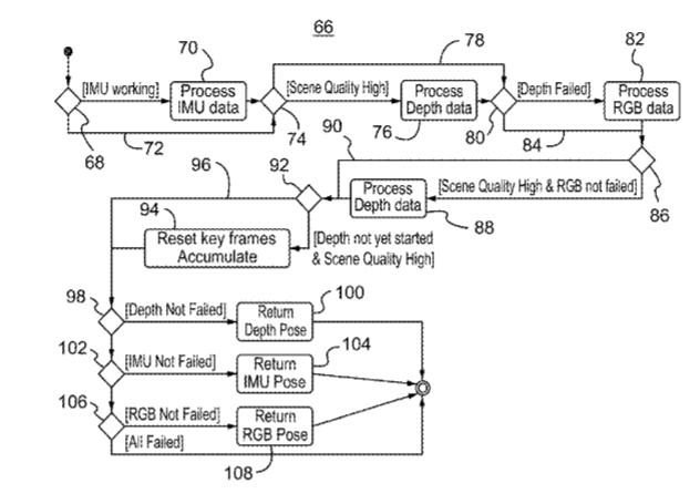
Intel Patent | Multi-Modal Real-Time Camera Localization And Environment Mapping(英特尔专利:多模态实时摄像头定位和环境映射)

专利描述了对深度定位模式、颜色定位模式和惯性定位模式进行质量评估的方法和系统。所述方法同时可以根据质量评估选择深度定位模式、颜色定位模式或惯性定位模式中的一种作为主动定位模式。另外,可以根据主动定位模式确定camera姿态相对于三维环境的姿态。

0

  1. This post has no comment yet

发表回复

您的邮箱地址不会被公开。 必填项已用 * 标注