/ Nweon / 0浏览

最新高通VR专利提出『远程渲染的异步空间扭曲』解决方案



映维网
2020年04月08日

)相信不少VR从业者都不会对异步空间扭曲技术感到陌生。这项技术在
Oculus
的推广下得到了相当的普及。异步空间技术主要是通过插入前一帧的扭曲帧来将PC帧率提高一倍。这样,较低配置的PC设备都都能渲染出VR内容,从而达到流畅体验所需的90fps。

根据美国专利商标局日前公布的专利申请,
高通
同样有探索类似的发明技术。

高通指出,计算设备通常利用图形处理单元(GPU)来加速图形数据的渲染。通常,GPU配置为执行图形处理管道中的处理过程。但随着无线通信和小型手持式设备的出现,人们对改进图形处理的需求越来越大。

尤其是随着一体机的发展,远程VR渲染的要求越来越高。所以,高通为其提出了一份名为“Asynchronous Space Warp For Remotely Rendered Vr”的异步空间扭曲技术。

文件描述的装置可以配置为通过第一设备从第二设备接收对应于第二设备第一方向的第一位置信息。所述装置同时可以配置成由第一设备生成基于第一位置信息的第一图形内容。

另外,所述装置可进一步配置成由第一设备生成用于扭曲第一图形内容的运动信息。所述装置可进一步配置为由第一设备对第一图形内容进行编码。而且,所述装置可配置成由第一设备向第二设备提供运动信息和编码后的第一图形内容。

所述的装置可以是GPU。

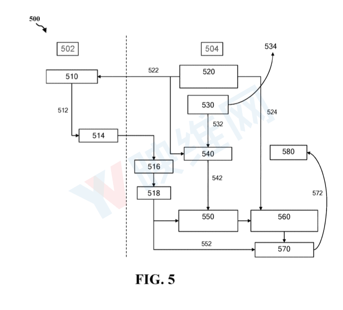
图5是内容生成和编码系统500的一个实施例。更具体地说,图5是异步空间扭曲(ASW)生成和编码系统的一个示例。如图5所示,系统500包括服务器502和客户端504。服务器502包括渲染器510和编码器514。客户端504包括解码单元516、解码帧518、头部追踪系统520、缓冲器530、异步时间扭曲(ATW)单元540、运动矢量计算单元550、运动矢量滤波和外推单元560、扭曲单元570和显示单元580。

在图5的实施例中,服务器502可以生成与接收姿势522相对应的眼缓冲区,并将所述帧传送到头显或客户端504。客户端504可以将先前渲染的姿态和帧存储在缓冲器530中。在一些实施例中,ATW单元540可以将先前的帧与渲染的姿态对齐,并且可以在客户端504计算出接收帧与对齐帧之间的运动矢量。由于客户端504可能不具有关于场景的几何信息,所以运动矢量可以由计算机算法来确定。在某些方面,储存先前解码的帧,并据此计算运动矢量。由于显示帧的当前姿态可能与上次接收帧的姿态不同,所以可以将运动向量推断为当前姿态。进一步地,可以对计算出的网格运动矢量进行滤波和外推,并将计算出的网格运动矢量应用于接收帧的顶点网格。

总的来说,可以对通过外推运动矢量所接收到的最后帧进行扭曲来获得显示帧。高通指出,ASW可以帮助平滑对象运动并显示出最小的抖动。


相关专利


Asynchronous Space Warp For Remotely Rendered Vr

名为“Asynchronous Space Warp For Remotely Rendered Vr”的专利申请最初于2019年5月提交,并在日前由美国专利商标局公布。

0

  1. This post has no comment yet

发表回复

您的邮箱地址不会被公开。 必填项已用 * 标注