/ Nweon / 0浏览

2020年03月20日美国专利局新申请AR/VR专利报告



映维网
2020年03月20日

)近期美国专利及商标局公布了一批全新的AR/VR专利,以下是映维网的整理(详情请点击专利标题),一共25篇。更多专利披露请访问映维网专利板块
https://patent.nweon.com/
进行检索,也可加入映维网AR/VR专利交流微信群。


1. 《
Magic Leap Patent | Display For Three-Dimensional Image(Magic Leap专利:显示三维图像的显示器)

专利描述了用于显示对象3D表示的设备和方法。所述设备包括可旋转结构,电动机,以及设置在可旋转结构之上的多个光场子显示器。所述设备可以存储要显示的光场图像。处理器可以驱动电动机旋转可旋转结构,并部分地根据旋转角度将光场图像映射到每个光场子显示器,并且部分地根据映射的光场来照亮光场子显示器。所述设备同时可以包括显示面板,其中显示面板从垂直于基准查看方向的平面弯曲。所述设备同时包括布置在显示面板上的多个光场子显示器 。


2. 《
Magic Leap Patent | Cross Reality System(Magic Leap专利:跨现实系统)

通过存储有关一个或多个用户设备可以访问的物理空间的持久性空间信息,专利描述的跨现实系统可以确定一个物理世界中的位置,并且应用程序可以予以访问以指定虚拟对象在所述物理世界中的位置,从而提供沉浸式用户体验 。持久性空间信息允许用户在与跨现实系统进行交互时可以共享虚拟的和物理的体验。


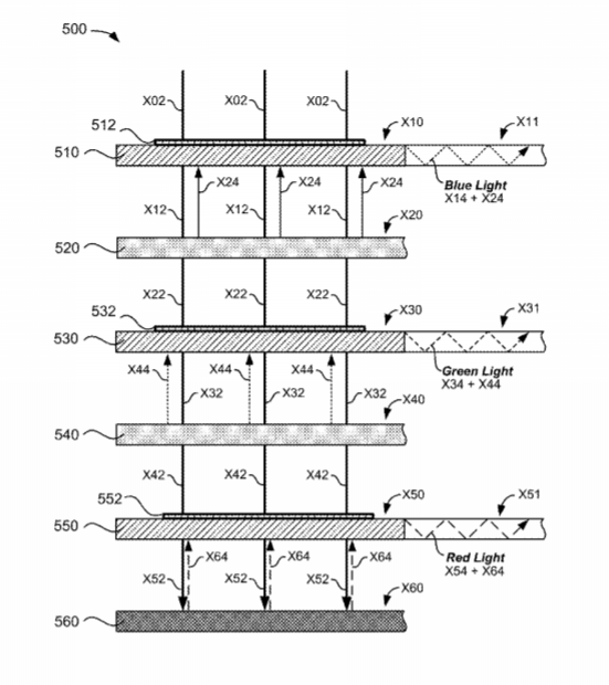
3. 《
Magic Leap Patent | Color Separation In Planar Waveguides Using Dichroic Filters(Magic Leap专利:使用二向色滤光片在平面波导中进行颜色分离)

专利所述的目镜包括位于第一横向平面的第一平面波导,位于与第一横向平面相邻的第二横向平面中的第二平面波导,以及位于 与第二横向平面相邻的第三横向平面中的第三平面波导。第一波导包括与其耦合并设置在横向位置的第一衍射光学元件(DOE)。第二波导包括与其耦合并设置在横向位置的第二DOE。第三波导包括与其耦合并设置在横向位置的第三DOE。目镜同时包括位于第一波导和第二波导之间的第一滤光器,以及位于第二波导和第三波导之间的第二滤光器。


4. 《
Facebook Patent | Light-Emitting Structure Alignment Preservation In Display Fabrication(Facebook专利:显示器制造中的发光结构对准保持)

专利描述了用于在背板形成框架的技术,所述框架包括至少部分地外接或封闭背板金属触点的结构。在一些实施例中,框架可以包括光致抗蚀剂。框架的尺寸和结构完整性可以帮助防止在发光结构与背板粘合的过程中出现发光结构未对准和/或损坏。


5. 《
Facebook Patent | Reconstruction Of Essential Visual Cues In Mixed Reality Applications(Facebook专利:混合现实应用中的基本视觉提示重构)

混合现实模拟系统包括主机和头显。混合现实系统使用头显的外置立体摄像头捕获现实世界的立体图像。混合现实系统对立体图像进行预处理以使对比度最大化,然后从图像中提取一组包括边缘或角的特征。对于每个特征,混合现实系统都会生成一个或多个二维折线。然后,混合现实系统在右侧图像中找到的二维折线和左侧图像中找到的相应二维折线进行三角剖分,并生成一组三维折线。混合现实系统在三维折线中包含的三维顶点之间进行插值或对其他三维顶点进行插值,从而生成真实环境的几何重构。混合现实系统可以以快于基于几何重建更新的速度来将真实世界环境纹理映射到几何表示。


6. 《
Facebook Patent | Display Opacity Control For Preventing View Occlusion In Artificial Reality(Facebook专利:用于防止视图遮挡的显示器不透明度控制)

在一个实施例中,人造现实系统向第一用户显示虚拟内容。虚拟内容具有第一不透明度。所述系统确定第一用户的第一聚散距离,并将第一用户的第一聚散距离与虚拟内容和第一用户之间的第一距离进行比较。根据确定第一用户的第一聚散距离比第一距离大第一阈值距离,系统将虚拟内容调整为具有比低于第一不透明度的第二不透明度。


7. 《
Facebook Patent | Depth Measurement Assembly With A Structured Light Source And A Time Of Flight Camera(Facebook专利:具有结构化光源和飞行时间摄像头的深度测量组件)

深度测量组件(DMA)包括照明源,所述照明源以时间脉冲频率将光脉冲投射到局部区域中。DMA包括传感器,所述传感器捕获从局部区域反射的光脉冲图像,并使用所捕获图像中的一个或多个来确定光脉冲的一个或多个飞行时间相移。DMA包括控制组件,所述控制组件耦合到传感器并配置为根据一个或多个飞行时间相移来确定到局部区域中的对象的第一组估计径向距离。控制组件根据结构光和捕获图像中的编码来确定到对象的第二估计径向距离。控制组件从第一组径向距离中选择估计的径向距离。


8. 《
Facebook Patent | Augmented Reality Mapping Systems And Related Methods(Facebook专利:增强现实映射系统及相关方法)

专利描述的方法可以包括,从设备接收与环境相关联的实时数据。所述方法同时可以包括,根据实时数据确定当前映射和对象数据。当前映射数据可以包括用于环境的坐标数据,并且当前对象数据可以包括用于环境对象的状态数据和关系数据。所述方法同时可以包括,确定当前映射数据和基础映射数据之间的映射增量,以及确定当前对象数据和事件图之间的对象增量。事件图可以包括对象的先前状态数据和先前关系数据。所述方法同时包括,根据增量更新基础映射数据和事件图,以及将更新的基础映射数据和事件图数据发送到设备。


9. 《
Facebook Patent | Magnetic User Input Assembly Of A Controller Device(Facebook专利:控制器设备的磁性用户输入组件)

拇指摇杆组件配置为接收用户输入。拇指摇杆组件通过按下拇指摇杆,拇指摇杆横向旋转或其某种组合来接收输入。指摇杆第一表面,杆,球形磁体。第一表面与用户皮肤接触。杆包括联接到第一表面的第一端和联接到球形磁体的第二端。拇指摇杆组件同时包括杯状物和环形磁铁。杯状物构造成接收球形磁体,其中球形磁体构造成绕杯状物内的枢转点移动。环形磁体围绕杯状物的外表面定位,并且配置为向球形磁体的运动提供恢复扭矩。拇指摇杆组件包括一个或多个传感器,器用于检测拇指摇杆相对于杯状物的运动。


10. 《
Facebook Patent | Eye Tracking Using Reverse-Biased Light-Emitting Diode Devices(Facebook专利:使用反向偏置发光二极管组件进行眼动追踪)

专利描述了使用反向偏置发光二极管组件进行
眼动追踪
的技术。在一些实施例中,设备包括位于眼睛视场内的反向偏置发光二极管组件。反向偏置发光二极管组件接收从眼睛反射的光,并根据接收到的光生成信号。所产生的信号用于确定眼睛的位置。


11. 《
Facebook Patent | Vergence Determination(Facebook专利:眼睛会聚确定)

在一个实施例中,人工现实系统确定眼动追踪系统的性能指标低于第一性能阈值。眼动追踪系统与用户佩戴的头戴式显示器相关联。人造现实系统接收与用户身体相关联的第一输入,并根据接收到的第一输入来确定用户正在注视的区域。系统至少根据与用户身体相关联的第一输入,用户正在注视的区域,以及头戴式显示器所显示的一个或多个对象位置来确定用户的会聚距离。系统根据所确定的会聚距离来调整头戴式显示器的一个或多个配置。


12. 《
Microsoft Patent | Predictive Server-Side Rendering Of Scenes(微软专利:服务器端的场景预测性渲染)

专利描述的服务器设备可以包括处理器和存储组件。存储组件保存用于由处理器执行的应用程序的指令,以便在应用程序通过网络从客户端设备接收导航输入流中的当前导航输入时,系统能够根据当前导航输入和应用程序的当前应用状态来计算预测的未来导航输入,根据预测的未来导航输入来将未来场景渲染到渲染表面,并将渲染表面通过网络发送给客户端设备。


13. 《
Microsoft Patent | Generating Synthetic Digital Assets For A Virtual Scene Including A Model Of A Real-World Object(微软专利:为虚拟场景生成包括真实对象模型的合成数字资产)

专利描述了训练机器学习模型以识别现实世界对象的方法。获取代表真实世界对象的数字化3D模型,并围绕3D模型构建虚拟场景。通过改变一个或多个特征来产生多个虚拟场景变化。生成每个虚拟场景变体,其包括能够在虚拟场景变体中标识3D模型的标签。可以根据多个虚拟场景变化来训练机器学习模型。


14. 《
Apple Patent | Scalability Of Multi-Directional Video Streaming(苹果专利:多向视频流的可扩展性)

专利描述的技术用于减少延迟,并改善从多向视频通信提取的视口的图像质量。根据这样的技术,从视频源接收编码视频数据的第一数据流。第一数据流包括用于表示多向视频的每一个图块的编码数据。其中,第一数据流中的每个图块对应于多向视频的预定空间区域,并且多个图块中的至少一个图块包含接收器的当前视口位置。所述技术包括解码第一数据流,并显示包含当前视口位置的图块。当接收器的视口位置改变为包括多个图块中的新图块时,检索和解码所述新图块的第一数据流,显示针对变化视口位置的解码内容,并将位置发送给源。


15. 《
Apple Patent | Scanning Display Systems(苹果专利:扫描显示系统)

显示系统可以显示图像帧。系统可以包括多组激光管芯。每组激光管芯可以将各自的光束发射到光子集成电路。每组光束可以包括至少三个波长范围内的光,所述波长范围包括可见和/或红外波长。光子集成电路中的通道可以以第一节距接收光束组,并且可以以比第一节距更细的第二节距发射所述光束组。


16. 《
Apple Patent | Tracking And Drift Correction(苹果专利:追踪和漂移校正)

第一设备具有图像传感器和显示器,第一设备可以通过显示器来呈现虚拟环境。根据显示在第二设备所搭载的显示器中的标记,第一设备使用图像传感器来确定第二设备的相对位置和方向。第一设备使用确定的相对位置来显示第二设备的表示。所述表示包括代替标记的虚拟内容。


17. 《
Apple Patent | Waveguided Display Systems(苹果专利:波导显示系统)

电子设备可以具有发射图像光的显示器,波导,以及将图像光耦合到波导中的耦入器。分束器结构可以嵌入在波导内。分束器结构可以多次部分地反射图像光,并且可以用于产生耦出波导的复制光束。分束器结构可以在二维上复制光束,从而为视窗提供均匀强度的光。分束器结构可以包括堆叠的部分反射分束器层,具有不同折射率的夹层透明基板层,位于基板层之间的厚体全息层。分束器结构的反射率可以在波导的横向区域上离散地或连续地变化。


18. 《
Apple Patent | Display Devices With Multimodal Audio(苹果专利:具有多模式音频的显示设备)

专利描述的头戴式显示系统包括: 与壳体相关联的视觉系统;可连接到壳体的可穿戴支撑件;可枢转地连接到支撑件,并能够在第一位置和第二位置之间移动的音频部件。在第一位置中,音频部件与支撑件大致对准;在第二位置中,音频部件与支撑件大致不对准。从第一位置到第二位置的移动将音频分量从第一模式转变为第二模式。在第一模式中,声音通过与驱动通信的第一端口向用户投射。在第二模式中,声音通过与驱动通信的第二端口向用户投射。


19. 《
Apple Patent | Electronic Device With Inner Display And Externally Accessible Input-Output Device(苹果专利:带有内部显示器和外部可访问的输入输出组件的电子设备)

电子设备可以具有安装在壳体中的内部显示器,内部显示器的图像可通过透镜呈现给视窗并供用户查看。电子设备可以具有可在电子设备外表面操作的输入输出组件。当用户未将电子设备佩戴在头部时,输入输出组件可以收集用户输入以控制外部设备。输入输出组件可以包括触控屏显示器,按钮和其他输入输出部件。


20. 《
Apple Patent | Scanning Display Systems(苹果专利:扫描显示系统)

显示系统可以显示图像帧。所述系统可以包括扫描镜和交错发光元件的阵列。发光元件可以发射图像光,并且准直光学器件可以将光引导到扫描镜,扫描镜在绕轴旋转的同时反射图像光。控制电路可以选择性地激活发光元件,并同时控制扫描镜跨矢状轴进行扫描。


21. 《
Google Patent | Fine-Motion Virtual-Reality Or Augmented-Reality Control Using Radar(谷歌专利: 采用无线电进行精细虚拟现实或增强现实运动控制)

专利描述了利用无线电进行精细运动控制的技术。雷达发射元件配置为提供雷达场。雷达场配置为至少部分地从目标对象反射。雷达场同时可以配置为穿透织物或其他障碍物并从人体组织反射。天线接收射频信号。数字信号处理器数字地捕获和处理信号。


22. 《
Qualcomm Patent | Systems And Methods Of Generating Augmented Reality (Ar) Objects(高通专利|:生成增强现实对象的系统和方法)

专利描述了用于生成增强现实对象的方法和系统。所述方法可以包括捕获一个或多个目标对象的图像,其中一个或多个目标对象位于预定的背景内。所述方法同时可以包括将图像分割成与一个或多个目标对象相对应的一个或多个区域,和与预定背景相对应的一个或多个区域。所述方法可以包括将与一个或多个目标对象相对应的一个或多个区域转换为数字图像。所述方法可以进一步包括至少部分地根据数字图像来生成与一个或多个目标对象相对应的一个或多个AR对象。


23. 《
Sony Patent | Virtual Reality(索尼专利:虚拟现实)

专利描述的虚拟现实设备包括用于显示视频内容的头戴式显示器;用于检测头显当前方向的方向检测器;用于生成视频内容的显示生成器。


24. 《
Sony Patent | Information Processing Device, Information Processing System, And Information Processing Method(索尼专利:信息处理组件,信息处理系统,信息处理方法和计算机程序)

在信息处理设备中,拍摄图像获取单元获取通过头显摄像头拍摄的图像。区域确定单元预测显示图像中用户注视的区域。图像分析单元具有第一精细度处理单元和第二精细度处理单元,其中前者以比后者更高的精细度来分析与注视区域相对应的区域。信息处理单元通过使用分析结果来执行信息处理。图像生成单元具有第一精细度处理单元和第二精细度处理单元,其中前者在注视区域生成具有比后者更高精细度的显示图像。输出单元将显示图像的数据发送到头显。


25. 《
Sony Patent | Display Control Device, Display Control Method, And Program(索尼专利:显示控制组件,显示控制方法及程序)

专利描述的显示控制组件包括:配置为控制与目标对象有关信息的显示的显示控制单元。其中,当目标对象被另一对象遮蔽,显示控制单元控制与所述目标对象有关的图像显示,并使得在视场中被遮蔽的目标对象以不同的形式显示。

0

  1. This post has no comment yet

发表回复

您的邮箱地址不会被公开。 必填项已用 * 标注