/ Nweon / 0浏览

2020年03月13日美国专利局新申请AR/VR专利报告



映维网
2020年03月13日

)近期美国专利及商标局公布了一批全新的AR/VR专利,以下是映维网的整理(详情请点击专利标题),一共27篇。更多专利披露请访问映维网专利板块
https://patent.nweon.com/
进行检索,也可加入映维网AR/VR专利交流微信群。


1. 《
Magic Leap Patent | Interactions With 3d Virtual Objects Using Poses And Multiple-Dof Controllers(Magic Leap专利:通过姿势和多自由度控制器与3D虚拟对象交互)

专利描述的可穿戴系统可包括:配置为在三维空间中呈现虚拟内容的显示系统;配置为接收用户输入的用户输入设备;以及配置为检测用户姿势的一个或多个传感器。可穿戴系统可以基于情景信息支持用户与环境对象进行各种用户交互。


2. 《
Magic Leap Patent | Efficient Data Layouts For Convolutional Neural Networks(Magic Leap专利:卷积神经网络的高效数据布局)

专利描述了用于有效实现卷积神经网络卷积层的系统和方法。在一方面,内核的权重值可以重新排序为图块布局。卷积层的输入激活图的像素值可以重新排序为包括多个输入激活图像素簇的交错布局。可以使用输入激活图像素的像素簇和内核逐图块地确定输出激活图。


3. 《
Magic Leap Patent | Selecting Virtual Objects In A Three-Dimensional Space(Magic Leap专利:在三维空间中选择虚拟对象)

专利描述了使用可穿戴系统在三维空间中与虚拟对象进行交互的系统和方法。可穿戴系统可以配置为允许用户使用用户输入设备和姿势来与虚拟对象进行交互。可穿戴系统同时可以自动确定情景信息,如用户环境中的虚拟对象的布局,并根据情景信息切换用户输入模式。


4. 《
Magic Leap Patent | Beam Angle Sensor In Virtual/Augmented Reality System(Magic Leap专利:虚拟现实/增强现实系统中的光束角传感器)

专利描述的虚拟图像生成系统包括:配置为生成准直光束的投影子系统;配置为响应准直光束发射光线并向最终用户显示图像帧像素的显示器的显示器。所述虚拟图像生成系统同时包括:配置为感测光线发射角度的传感组件;配置为生成定义像素位置的图像数据,并根据像素的定义位置和感测到的参数控制光束发射角度的控制子系统。


5. 《
Magic Leap Patent | Methods And Systems For Diagnosing And Treating Eyes Using Light Therapy(Magic Leap专利:使用光疗法诊断和治疗眼睛的方法和系统)

专利描述了用于卫生系统和各种医疗保健应用的配置,如用于患者诊断,监测和/或治疗。所述的健康系统可包括:光产生模块,其用于将光或图像传输给用户;一个或多个传感器,用于检测用户身体的生理参数,包括他们的眼睛;以及处理电路,其用于分析输入并确定一种或多种健康状况或缺陷。


6. 《
Facebook Patent | Mesa Formation For Wafer-To-Wafer Bonding(Facebook专利:晶圆键合的台面形成)

专利描述了用于发光二极管的晶圆键合技术。在一些实施例中,一种制造LED的方法包括蚀刻半导体材料以形成多个相邻的台面形状。半导体材料包括一个或多个外延层。所述方法同时包括在相邻台面形状之间的间隙内形成钝化层,以及将基础晶圆键合到半导体材料的第一表面。


7. 《
Facebook Patent | Reducing Bowing Of Materials Before Wafer-To-Wafer Bonding For Led Manufacturing(Facebook专利:在晶圆键合之前减少材料的弯曲)

专利描述了用于发光二极管的晶圆键合技术。在一些实施例中,一种方法包括通过减少层状结构的弯曲。所述方法包括将基础晶圆键合到半导体材料,从半导体材料去除基板,以及形成多个沟槽以产生多个LED。


8. 《
Facebook Patent | Methods For Wafer-To-Wafer Bonding(Facebook专利:晶圆键合的方法)

专利描述了用于发光二极管的晶圆键合技术。在一些实施例中,一种制造LED的方法包括:修改半导体材料的p型层,从而形成多个交替的高电阻率区域和低电阻率区域。其中,低电阻率区域对应于发光器。将基础晶圆键合到p型层的第一表面;从半导体材料的第二表面去除基板,其中半导体材料的第二表面与p型层的第一表面相对;在每个相邻的发光器对之间形成沟槽。


9. 《
Facebook Patent | Photosensitive Polymers For Volume Holography(Facebook专利:用于体三维全息术的光敏聚合物)

专利描述了用于记录体三维全息图,各向异性体三维全息图,以及相应的体三维全息元件的光敏聚合物。


10. 《
Facebook Patent | Display Device With Varifocal Optical Assembly(Facebook专利:包含变焦组件的显示设备)

专利描述的变焦光学组件包括多个光学元件,其配置为在连续的光学级中透射光。连续光学级中的每个光学级包括多个光学元件中的至少一个光学元件,并且可配置为处于第一状态或第二状态。处于第一状态的各个光学级具有用于第一偏振光的第一相应光学倍率和用于第二偏振光的第二相应光学倍率。处于第二状态的各个光学级具有用于第一偏振光的第三光学倍率和用于第二偏振光的第四光学倍率。可通过改变一个或多个连续光学级的状态来调节变焦光学组件的光学倍率。


11. 《
Facebook Patent | Polarization-Sensitive Components In Optical Systems For Large Pupil Acceptance Angles(Facebook专利:用于大瞳孔接受角的偏振敏感组件)

近眼显示器包括配置为输出图像光的电子显示器。另外,近眼显示器包括
眼动追踪
模块和多个光学元件,后者组合形成光学系统并允许改变位置。具有可切换光学状态的光学元件可用于将光束引向用户眼睛。方向可以基于由眼动追踪模块测量的眼动追踪信息。


12. 《
Microsoft Patent | Selective Restriction Of Skeletal Joint Motion(微软专利:骨骼关节运动的选择性限制)

专利描述了一种无线可穿戴设备,所述无线可穿戴设备包括配置为穿戴于骨骼关节位置的柔性可穿戴基底;包括第一电极的静电离合器,所述第一电极具有两个或更多个第一电极片,每个第一电极片具有芯核;形成在芯核之上的导电层和形成在导电层之上的介电涂层;具有与每个第一电极片连接的公共导体;以及具有两个或多个第二电极片的第二电极;与所述静电离合器耦合的张紧器;电池;以及与所述静电离合器耦合并构造成产生控制信号的控制电路。


13. 《
Apple Patent | Augmented Virtual Display(苹果专利:增强虚拟显示器)

专利描述了用于解决车辆乘客晕车问题的VR系统。VR系统可以提供令视觉提示与身体运动相匹配的增强或虚拟视图。另外,VR系统可以通过致使车辆的加速度和运动与虚拟体验中的加速度和运动相匹配来向乘客提供优化的虚拟体验。


14. 《
Apple Patent | Location-Based Virtual Element Modality In Three-Dimensional Content(苹果专利:三维内容中基于位置的虚拟元素模态)

专利描述的各种实施例包括允许设备能够提供虚拟元素和物理环境视图的设备,系统和方法。其中,虚拟元素的呈现是相对于物理环境进行定位。在一个示例中,设备配置为检测虚拟元素的位置变,如当添加或移动虚拟元素时,又或者是周围的物理环境发生改变时。所述设备同时配置为基于虚拟元素的放置来检测物理环境的属性,并根据检测到的属性来呈现虚拟元素。


15. 《
Apple Patent | Method, Device, And System For Delivering Recommendations(苹果专利:提供建议的方法,设备和系统)

专利描述的电子设备用于:获取图像传感器捕获的透视图像数据;确定透视图像数据中的识别对象是否满足与用户特定推荐配置文件相关联的置信度分数阈值;响应于确定满足置信度得分阈值,生成与识别对象相关联的一个或多个计算机生成现实内容项;并将所述透视图像数据与所述一个或多个计算机生成现实内容项合成。其中,所述一个或多个计算机生成现实内容项在视场中最接近所识别对象。


16. 《
Apple Patent | Error Concealment For A Head-Mountable Device(苹果专利:头戴式设备的错误隐藏)

在各种实施例中,一种方法包括获得第一帧,所述第一帧具有与第一存储器分配相关联的第一分辨率。在一些实施例中,所述方法包括将第一帧从第一分辨率下转换为低于第一帧分辨率的第二分辨率,从而产生参考帧。在一些实施例中,第二分辨率与第二存储器分配相关联。在一些实施例中,所述方法包括将参考帧存储在非暂时性存储器中。在一些实施例中,所述方法包括获取以第一分辨率为特征的第二帧。在一些实施例中,所述方法包括根据存储在非暂时性存储器中的参考帧,对第二帧执行纠错操作。


17. 《
Apple Patent | Method And Appartus For Data Capture And Evaluation Of Ambient Data(苹果专利:数据采集和环境数据评估的方法和装置)

专利描述的方法包括通过场景图像记录组件从用户环境中采集环境数据,并且通过评估组件来评估所获取的环境数据,以及根据评估进行空间和/或时间选择。


18. 《
Apple Patent | Display System(苹果专利:显示系统)

头戴式显示器包括显示单元,头部支撑件,蓄电装置,以及一个或多个接收线圈。头部支撑件耦合到显示单元,并且配置为接合用户头部以。蓄电装置耦合到显示单元,并用于存储要提供给显示单元的电力。一个或多个接收线圈耦合到头部支撑件,并用于对蓄电装置进行感应充电。


19. 《
Apple Patent | Electronic Device With Adjustable Support Structures(苹果专利:包含可调结构的电子设备)

专利描述了一种可以靠在用户额头的可调节支撑结构,其中第二部分和第三部分靠在脸颊或太阳穴。所述部分可以使用伸缩层,弹性体材料和可膨胀结构的组合来进行膨胀和收缩,从而匹配用户的面形。特定区域可以在柔性构件内设置线缆,从而为贴合提供辅助。例如,对额头部分施加压力可以致使线缆将太阳穴部分拉向彼此。
苹果
指出可同时使用枢轴,从而实现更大的角度偏移。


20. 《
Apple Patent | Optical System(苹果专利:光学系统)

电子设备可以包括具有凹面的显示器。线性偏振器可以形成在凹表面上。四分之一波片可以接收来自线性偏振器的光。折反射透镜可以包括第一和第二透镜元件。第一透镜元件可以具有第一和第二相对表面。第二透镜元件可具有相对的第三和第四表面。第一表面可以是凸起并且可以面对显示器。第四表面可以是凹面。第二表面可以是凹面。第三表面可以是凸起并且可以与第二表面匹配。可以在第三表面形成附加的四分之一波片作为涂层。可以在第一表面形成部分反射涂层。反射型偏振器可以形成为第四表面的涂层。可以在反射偏振器形成附加的偏振器。


21. 《
Apple Patent | Electronic Device With A Display Attached To A Lens Element(苹果专利:透镜元件附接到显示器的电子设备)

头戴式设备可以搭载为用户显示内容的显示器。设备中的头戴式支撑结构支撑着显示器。头戴式设备可以具有将图像从显示器的左侧部分引导到左视窗的左透镜,以及将图像从显示器的右侧部分引导到右视窗的右透镜。每个透镜可以包括耦合到显示器的透镜元件。可以通过一层光学透明的粘合剂将透镜元件附接到显示器,或者可以由直接接触显示器的凝胶形成透镜元件。附接到显示器的透镜元件可具有突起或凹陷以容纳输入-输出组件。单个透镜元件可以附接到显示器的左部分和右部分。


22. 《
Apple Patent | Ultrasonic Sensor(苹果专利:超声波传感器)

系统将以宽视场模式发出第一个脉冲,从而检测范围内的对象。接下来,系统将结果用于确定如何配置第二脉冲以对检测到的未知对象进行精确成像,然后再发送第二脉冲。


23. 《
Google Patent | Loading Indicator In Augmented Reality Environment(谷歌专利:增强现实环境中的加载指示器)

专利描述的一种方法包括:在设备呈现AR环境的至少一部分视图,所述AR环境包括与物理环境第一物理位置相对应的第一AR位置;以及将代表与第一AR位置相关联的第一AR对象的第一数据下载到设备;根据所述第一AR对象的大小为所述第一AR对象的第一加载指示符分配大小参数;确定视图与第一物理位置之间的空间关系;在视图中渲染第一加载指示符。


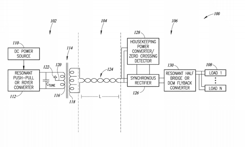
24. 《
Valve Patent | Systems And Methods For Long Reach High Efficiency Power Distribution(Valve专利:远距离高效配电的系统和方法)

通过在发送器子系统和接收器子系统之间的传输子系统上发送高频交流电,从而在相对较长距离分配能耗。功率可以通过包括第一导体和第二导体的传输子系统从发送器子系统发送到接收器子系统。发送器子系统可以利用谐振转换器来提供正弦振荡,从而减少由于负载汲取的高频电流而通常引起的无线电辐射。接收器系统可以包括谐振转换器或不连续传导模式反激转换器。


25. 《
Sony Patent | Image Processing System And Method(索尼专利:图像处理系统及方法)

专利描述了一种用于生成图像的图像处理系统,其包括:配置为接收与一个或多个声音相关的声音信息的声音输入单元;配置为分析与声音相关的声音信息的音频处理单元;配置为生成指示所分析声音信息的一个或多个图像元素的图像生成单元;以及配置为输出显示图像以显示给头戴式显示设备用户的图像输出单元。


26. 《
Sony Patent | Foveated Rendering System And Method(索尼专利:注视点渲染系统和方法)

一种用于显示内容的注视点渲染系统包括:用户配置文件获取单元,其获取包括关于用户头部运动和眼睛运动信息的配置文件;以及注视点渲染单元,其将偏向渲染处理应用于内容并根据获得的用户配置文件信息来显示内容。


27. 《
Sony Patent | Gaze Input System And Method(索尼专利:注视输入系统和方法)

用于控制所显示的内容内的视点输入系统包括:用户配置文件获取单元,其获取包括关于用户头部运动和眼睛运动信息的配置文件;输入单元,其接收与视点变化有关的用户输入;以及视点修改单元,其可根据接收到的用户输入和用户配置文件来修改显示内容中的视点。

0

  1. This post has no comment yet

发表回复

您的邮箱地址不会被公开。 必填项已用 * 标注