/ Nweon / 0浏览

最新四份苹果AR/VR专利公布,无线充电、超声波定位等



映维网
2020年03月13日


苹果
研发增强现实/虚拟现实头显已有一段时间,日前,美国专利商标局又公布了一批相关的专利申请。根据最新专利,传闻已久的苹果AR头戴式设备可能将在头带中纳入无线充电点,通过超声成像进行空间定位,同时搭配可调节的支撑结构,从而支持所有面形的用户。


1. 无线充电

在一份专利申请中,名为“Display System”的文件描述了一种能够无线充电的头显设备。苹果表示可以通过内嵌到头显的无线充电线圈来做到这一点。所述无线充电线圈将位于头戴式设备的头带后面。


相关专利


Apple Patent | Display System

文件指出,当不使用设备时,头显可以放置在带有头显形切口的基座中,所述切口将允许线圈与基座的对应充电部分对齐并进行充电。头显头带可包括诸如磁铁之类的元件,从而帮助与基座线圈的对齐。下图展示了一种VR头显充电架,包括无线充电线圈位于头带和基座皮套中的位置。

在另一个版本中,苹果指出可使用专用的支架,并允许头显通过头带元件有效地悬挂在充电支架上,并由基座承接更重的头显前端。与头带接触的支架部分包含线圈,并用于为头显充电。


2. 支撑结构

尽管大多数头显提供了为透镜距离和头带提供了可调节功能,但它们通常假定用户拥有类似的头形,而内置的缓冲设计则将用于减轻任何舒适感。在名为“Electronic Device with Adjustable Support Structures”的专利申请中,苹果指出人们具有不同大小和形状的面部,所以需要为用户提供更为灵活的调整选项。


相关专利


Apple Patent | Electronic Device With Adjustable Support Structures

所述发明提出了一种可以靠在用户额头的可调节支撑结构,其中第二部分和第三部分靠在脸颊或太阳穴。所述部分可以使用伸缩层,弹性体材料和可膨胀结构的组合来进行膨胀和收缩,从而匹配用户的面形。

上图是所述可调节元件的示意图。特定区域可以在柔性构件内设置线缆,从而为贴合提供辅助。例如,对额头部分施加压力可以致使线缆将太阳穴部分拉向彼此。苹果指出可同时使用枢轴,从而实现更大的角度偏移。


3. 超声波传感器

在使用VR时,重要的是允许用户感知周遭的环境。知晓对象在现实世界中的位置与明白虚拟对象并不存在于现实世界中一样重要。苹果专利的超声波脉冲依赖于多个围绕用户头部的传感器发射和接收信号。

部分系统确实能够向用户显示周围区域的叠加层,或者可以检测附近的物体,这对于需要包括对象识别等功能的AR系统来说非常有用。但基于摄像头的系统并不总是足够准确,例如它或许难以正确注册远处的物体,或者无法正确检测镜子的存在。

在名为“Ultrasonic Senso”的专利申请中,苹果指出可以通过传感器将超声波脉冲传输到环境中,从而处理对象检测任务。通过使用多个传感器来处理不同的视场,所述系统可以创建周围区域的详细影像。


相关专利


Apple Patent | Ultrasonic Sensor

系统将以宽视场模式发出第一个脉冲,从而检测范围内的对象。接下来,系统将结果用于确定如何配置第二脉冲以对检测到的未知对象进行精确成像,然后再发送第二脉冲。

从理论上讲,所述系统具有众多优点,包括仅受脉冲数量而非像素数限制的扩展覆盖范围,以及能够将镜面正确处理为平坦固体对象的方法。可以同时使用超声系统与基于摄像头的版本,如在用户需要能够看到真实视图的应用之中。


4. 透镜

VR或AR头戴式设备的关键组件是透镜,它主要用于允许用户聚焦离面部非常近的显示器。通过令屏幕看起来更远,透镜有助于为虚拟图像提供深度感,令原本很近的内容看成位于很远的地方,并令大脑相信这种假象。

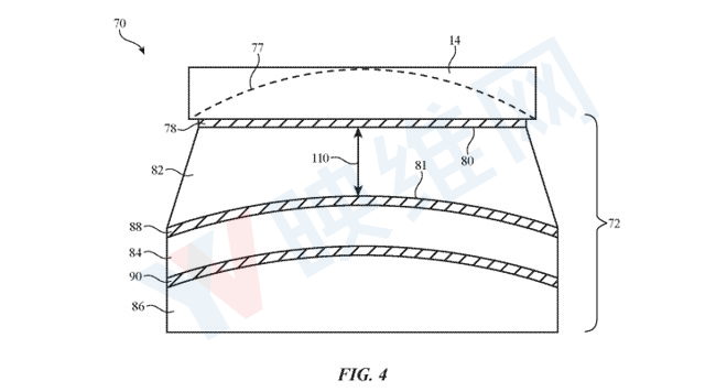
VR头显的结构通常是透镜位于眼睛和显示器之间,并提供一定的可调节性,从而提高用户的舒适感并尽可能使图像清晰。但是,有时很难制造这样一种头显,并精确对齐透镜合内置显示器。下图展示了附接到头显显示器的透镜。

在名为“Electronic Device With A Display Attached To A Lens Element”的专利申请中,苹果提出可以使用透明粘合剂或与显示器接触的凝胶透镜元件将其直接附接到显示器。专利指出,这种直接附接可以“消除显示器正面的任何空气间隙,从而可以防止灰尘或其他污染物造成显示器模糊”。


相关专利


Apple Patent | Electronic Device With A Display Attached To A Lens Element

单独的透镜元件同时可以附接到显示器的左右部分以固定瞳距,同时改善对准。苹果宝石,通过将主透镜组件转移到显示器,这有助于降低头显本身的复杂性,进而降低制造成本。

需要注意的是,苹果每周都会提交大量的专利,但不一定意味着它们最终都会实现商业化。但是,这表明了苹果探索过的方向及兴趣。

0

  1. This post has no comment yet

发表回复

您的邮箱地址不会被公开。 必填项已用 * 标注