(
映维网
2020年03月11日
)近期美国专利及商标局公布了一批全新的AR/VR专利,以下是映维网的整理(详情请点击专利标题),一共23篇。更多专利披露请访问映维网专利板块
https://patent.nweon.com/
进行检索,也可加入映维网AR/VR专利交流微信群。
1. 《
Oculus Patent | Systems And Methods For Rendering Avatars With Deep Appearance Models(Oculus专利:用Deep Appearance Models渲染虚拟化身的系统和方法)
》
专利描述的计算机系统可以包括输入模块,自动编码器和渲染模块。输入模块可以接收对象的几何信息和图像。几何信息可以说明主体几何形状随时间的变化。每个图像可以与相应的视点相关联,并且可以包括主体的视图相关纹理图。自动编码器可以编码纹理信息和几何信息并提供特征向量。 自动编码器可以使用特征向量推断几何和视图相关纹理。渲染模块可以配置为使用推断的几何和推断的视图相关纹理来渲染用于主体的重建图像。
2. 《
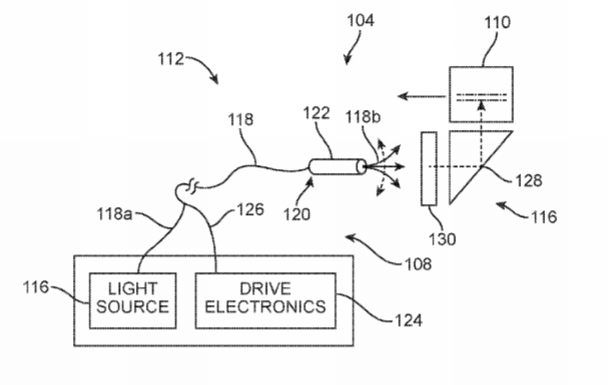
Magic Leap Patent | Polarizing Maintaining Optical Fiber In Virtual/Augmented Reality System(Magic Leap专利:虚拟现实/增强现实系统中的偏振保持光纤)
》
虚拟图像生成系统的显示子系统包括:显示器;具有偏振保持传输光纤段和非偏振保持扫描光纤段的光纤;配置为向传输光纤端注入线性偏振光束的光源 ;配置为驱动扫描光纤端进行扫描的机械扫描驱动组件;以及配置为接收扫描光束并向最终用户生成图像的显示器。
3. 《
Magic Leap Patent | System And Method For Augmented And Virtual Reality(Magic Leap专利:用于增强现实和虚拟现实的系统和方法)
》
专利描述的一个实施例涉及一种用于允许两个或更多个用户能够在虚拟世界中进行交互的系统。所述系统包括具有一个或更多个计算设备的计算机网络。一个或更多个计算设备包括存储器,处理电路,以及存储在存储器并由处理电路执行的软件。虚拟世界数据的至少第一部分源自第一用户的本地虚拟世界。计算机网络可以将第一部分发送给第二用户设备,这样第二用户就可以从第二用户的位置体验第一部分,从而使得第一用户虚拟世界的各个方面能够有效地传递给第二用户。
4. 《
Magic Leap Patent | Surface Modeling Systems And Methods(Magic Leap专利:表面建模系统和方法)
》
专利描述的方法可用于生成物理环境的表面模型。所述方法包括获取物理环境的图像。所述方法同时包括至少根据获取图像生成平面多边形网格。所述方法同时包括提取平面多边形网格的边界多边形。所述方法同时包括为表面网格的边界多边形生成凸包。所述方法包括根据凸包产生最小定向区域的边界多边形。所述方法同时可包括在平面多边形网格的边界多边形内部生成最大定向区域内部多边形。
5. 《
Facebook Patent | Waveguide Display With A Small Form Factor, A Large Field Of View, And A Large Eyebox(Facebook专利:小形状参数,大视场,大视窗的波导显示器)
》
专利描述的波导显示器用于向用户呈现媒体内容。波导显示器包括光源组件,输出波导和控制组件。光源组件包括至少沿一个维度投射图像光的一个或多个投影仪。输出波导包括具有两个相对表面的波导体。输出波导包括:第一光栅,接收沿输入波矢传播的图像光;第二光栅;以及第三光栅,第三光栅与第二光栅相对,并输出具有与输入波矢相匹配的波矢扩展图像光。控制组件控制一个或多个源组件的扫描以形成二维图像。
6. 《
Facebook Patent | Colinear Light Source With Active Optical Waveguide Coupling(Facebook专利:包含有源光波导耦合的共线光源)
》
专利描述的光源包括分别发射第一、第二和第三光线的第一、第二和第三有源光波导。第一、第二和第三有源光波导耦合在一起,从而将第一、第二和第三光线混合成共线照明光。
7. 《
Facebook Patent | Patterned Optical Filter For Eye Tracking(Facebook专利:用于眼动追踪的图案化光学滤光器)
》
专利描述的眼戴设备包含光学元件,图案化滤光器和摄像头。光学元件接收包括可见光带和红外光带的光。图案化滤光器设置在光学元件之上,并且具有滤光部分和多个非滤光部分。滤光部分透射可见光带中的光,并过滤红外光带中的光。非滤光部分透射可见带中的光,并且透射红外光带中的光。接收到的部分红外光带光线穿过非滤光部分,并用图案化地照亮用户眼睛一部分。摄像头捕获用照亮的眼睛部分图像。
8. 《
Facebook Patent | Control For A Virtual Reality System Including Opposing Portions For Interacting With Virtual Objects And Providing Tactile Feedback To A User(Facebook专利:用于虚拟现实系统的控制组件包括用于与虚拟对象进行交互并向用户提供触觉反馈的相对部分)
》
用于虚拟现实系统环境的控制组件包括一部分和一个附加部分,每个部分都配置为接触用户身体的不同部分。当用户身体的一部分向用户身体的另一部分移动时,与用户身体的移动部分接触的材料同时向与用户身体另一部分接触的材料移动 。位置相对于彼此的所述部分和附加部分可以对应于导致VR系统环境执行不同动作的不同指令。在一些实施例中,控件包括一种或多种反馈机制并能够向用户提供触觉反馈。所述触觉反馈模拟与一个或多个虚拟对象的交互。
9. 《
Facebook Patent | Shifting Diffractive Optical Element For Adjustable Depth Sensing Resolution(Facebook专利:用于可调节深度感应分辨率的衍射光学元件移动)
》
深度摄像头组件包括结构光发生器,成像装置和控制器。结构光发生器用结构光照射局部区域,并包括照明源,固定元件,以及固定在固定元件的衍射光学元件(DOE)。根据来自控制器的发射指令,固定元件可以具有相对于照明源的多个可调节位置。利用从照明源发出的光线,DOE将作为结构光投射的衍射扫描光束投射至局部区域。结构光的图案可动态调节,并且每个可调节位置对于固定元件而言都是唯一。成像装置捕获对象反射的结构光图像。控制器部分地根据捕获图像确定对象的深度信息。
10. 《
Facebook Patent | 3-D Head Mounted Display Based Environmental Modeling System(Facebook专利:基于3D头显的环境建模系统)
》
专利描述地头显动态生成区域模型。头显包括深度摄像头组件,彩色摄像头和处理电路。处理电路从深度摄像头组件接收一帧深度图像数据,基于所述帧生成区域一部分的深度图。处理电路从摄像头接收一帧彩色图像数据,在与深度图区域相对应的区域模型中确定位置,并通过将区域一部分的深度图与一个或多个其他图像组合来更新区域的模型。
11. 《
Facebook Patent | Optimizations For Dynamic Object Instance Detection, Segmentation, And Structure Mapping(Facebook专利:动态对象实例检测、分段和结构映射的优化)
》
在一个实施例中,系统访问图像中描绘身体预定部位的姿态概率模型。每个姿态概率模型配置用于确定相关联的预定身体部位在图像中位置的概率。系统确定由代表预定身体部位的候选姿态的一组坐标。系统同时根据姿态概率模型和候选姿态坐标集合来确定候选姿态的第一概率分数,并使用变换模型和候选姿态为候选姿态生成姿态表示。系统根据姿态表示概率模型确定姿态表示的第二概率分数。系统至少根据第一和第二概率分数来选择候选姿态并表示身体姿态。
12. 《
Facebook Patent | Selecting Content Items For Presentation In Conjunction With Video Content Presented To A User Based On Objects Identified In The Video Content(Facebook专利:根据视频内容中标识的对象来选择要与视频内容一起呈现的内容项目)
》
在线系统接收包括目标标准,并与通过视频内容呈现的对象相关联的内容项目。当在线系统向用户呈现视频内容时,在线系统检测视频内容中包括的对象。如果在线系统检测到视频内容中的对象与与内容项目相关联的对象匹配,则在线系统确定用户的特征是否至少满足内容项目中包括的目标标准阈值量。根据用户的特征满足目标标准的阈值量,在线系统将内容项目纳入到一个或多个选择过程中。如果选择过程选择了内容项,则在线系统将内容项与视频内容一起呈现。
总之无需过分担心啦,我们都只是小朋友,如果你愿意,一切都好说,但如果不是,那就比较麻烦了。难道不是吗
13. 《
Microsoft Patent | Curved Display On Content In Mixed Reality(微软专利:用于混合现实内容的曲面显示)
》
专利描述的实施例涉及有效地查看三维空间中的数据项。三维空间包括相对于用户控制视点凹入的弯曲表面。视点用于控制三维空间渲染视图的方向和位置。数据项具有与之相关的各个值。数据项根据值排列在表面之上,以便值根据用户查看数据项的难易程度随而有所不同。具有某些值的数据项可以布置成更易于查看。轻松查看的要素包括表面相对于视点的方向,表面曲率的方向,控制参考方向的方向,表面数据项的对齐等。
14. 《
Microsoft Patent | Responsive Spatial Audio Cloud(微软专利:响应式空间音频云)
》
根据用户情景提供与用户环境有关的空间相关信息的交互式响应表示。3D音频云系统的各个方面提取有关用户环境中实体的信息,并生成和向用户提供3D音频云。所述3D音频云呈现用户环境中实体的空间音频表示形式,从而向用户提供有关实体位置的提示。可以以描述性的方式表示实体,所述实体向用户提供相关的各种类型的信息,如形状,大小,颜色和情感等。另外,3D音频云系统的各方面根据用户的位置或方向来动态地更新3D音频云,从与3D音频云相关联的用户接收选择输入,并且根据用户的请求检索和呈现附加信息。
15. 《
Qualcomm Patent | Virtual Reality Video Signaling In Dynamic Adaptive Streaming Over Http(高通专利:动态自适应流式传输中的虚拟现实视频信令)
》
用于处理媒体数据的设备配置为接收包括虚拟现实视频数据的媒体数据;至少部分地根据自适应集级别信令数据来确定在媒体演示中使用的投影映射;根据确定的投影映射来处理媒体演示的视频表示片段。用于处理媒体数据的设备配置为生成包括VR视频数据的媒体数据,并根据媒体演示中使用的投影映射来发送媒体演示的视频表示片段。
16. 《
Qualcomm Patent | Tagging A Sound In A Virtual Environment(高通专利:在虚拟环境中标记声音)
》
专利描述的方法包括处理器生成包括虚拟对象的第一虚拟场景。所述方法同时包括生成将虚拟麦克风插入第一虚拟场景的用户选项。用户选项允许用户选择虚拟麦克风的位置。所述方法同时包括生成第二虚拟场景。所述方法同时包括,当显示设备显示第一虚拟场景时,输出与虚拟对象相关联的标记声音。所述方法同时包括,当显示设备响应于确定虚拟麦克风插入到第一虚拟场景中而显示第二虚拟场景时,输出标记的声音。标记声音的属性基于虚拟麦克风的位置。
17. 《
Sony Patent | Head Mounted Display, And Image Displaying Method In Head Mounted Display(索尼专利:头戴式显示器,及头戴式显示器中的图像显示方法)
》
专利描述了一种头戴式显示器,其包括:固定于用户头部的眼镜框状框架;图像显示组件;图像传感器;校正组件。其中图像显示组件包括图像生成组件,以及透视光导组件。透视光导组件固定在图像生成组件之上,并将图像生成组件发射的光束引导至用户瞳孔。
18. 《
Sony Patent | Wireless Head Mounted Display With Differential Rendering And Sound Localization(索尼专利:具有差分渲染和声音定位功能的无线头戴式显示器)
》
专利描述的方法包括:接收头显所在的交互式环境的捕获图像;以及从头显接收至少一个惯性传感器处理的惯性数据;分析捕获的图像和惯性数据,从而确定头显的当前位置和预测的未来位置;使用预测的未来位置来将RF收发器的波束成形方向朝向预测的未来位置;追踪用户的注视点;产生描绘用于虚拟环境视图的图像数据,其中视图的区域进行差分渲染;产生描述来自虚拟环境的音频数据,所述音频数据配置为使得用户能够对声音进行定位;通过RF收发器将图像数据和音频数据传输到头显。
19. 《
Sony Patent | Apparatus And Method For Dynamic Graphics Rendering Based On Saccade Detection(索尼专利:根据扫视检测的动态图形渲染装置及方法)
》
专利描述了一种根据扫视检测渲染计算机图形的方法。所述方法的一个实施例包括渲染用于向用户显示的计算机模拟场景,检测用户的扫视运动,以及在扫视期间减少用于渲染图像的帧的计算资源。
20. 《
Sony Patent | Information Processing Apparatus, Control Method, And Program(索尼专利:信息处理装置,控制方法及程序)
》
专利描述的信息处理设备包括电路,电路配置为根据手势操作显示从起点开始到目标点移动的虚拟对象的电路,并且在手势操作后继续以显示运动的方式显示虚拟对象。其中,虚拟对象的行进路径或虚拟物体的显示特性是根据虚拟对象与另一真实对象之间的位置关系来确定。
21. 《
Sony Patent | Head-Mounted Device(索尼专利:头戴式设备)
》
专利描述的头戴式设备包括壳体,第一成像装置和第二成像装置。所述壳体安装在用户头部之上。 第一和第二成像装置安装在壳体之上,并从不同的视角捕获图像。头戴式设备接收由第一成像装置捕获的图像,从接收到的图像中检测与用户身体部位相对应的图像部分,并且根据所述图像部分提供的信息来估计用户预定义部分可能位于第二成像装置所捕获的图像内的可能范围。
22. 《
Intel Patent | Technology To Encode 360 Degree Video Content(英特尔专利:360度视频内容编码技术)
》
专利描述的方法可以根据每个摄像头确定相对于全景视频内容的兴趣水平,识别多个摄像头中的兴趣水平低于阈值的摄像头子集,并降低所述摄像头的功耗。另外,专利描述的技术可以确定与全景视频内容相关联的投影格式,识别投影格式中的一个或多个不连续边界,并根据不连续边界来修改与全景视频内容相关联的编码方案。另外,可以将编码帧分配给时间可伸缩性层,所述时间可伸缩性层的优先级高于分配了异步空间扭曲帧的层的优先级。另外,专利描述的技术可以降低鱼眼内容中活动区域和非活动区域之间的边界的编码复杂度。
23. 《
Intel Patent | Augmented Reality Depth Sensing Using Dual Camera Receiver(英特尔专利:利用双摄像头接收器的增强现实深度感知)
》
用于深度感知的示例装置包括图像数据接收器,其可以从通信摄像头和增强现实摄像头接收图像数据。所述装置同时包括调制光检测器,以检测来自通信摄像头图像数据中的一个或多个调制光。所述装置同时包括表征生成器,用于为每个检测到的调制光生成本地图像区域的视觉表示。所述装置包括区域匹配器,用于将每个视觉表示与AR摄像头图像数据中的区域相匹配。所述装置同时包括距离估算器,用于根据视觉表示位置与匹配区域位置之间的差异来估算双摄像头接收器与一个或多个调制光之间的距离。
0