/ Nweon / 0浏览

2020年01月31日美国专利局新申请AR/VR专利报告



映维网
2020年01月31日

)近期美国专利及商标局公布了一批全新的AR/VR专利,以下是映维网的整理(详情请点击专利标题),一共25篇。更多专利披露请访问映维网专利板块
https://patent.nweon.com/
进行检索,也可加入映维网AR/VR专利交流微信群。


1. 《
Magic Leap Patent | Application Sharing(Magic Leap专利:应用分享)

具有第一处理器的主机设备经由第一处理器执行应用。主机设备确定应用程序的状态。产生与应用程序状态相对应的场景图,并将场景图呈现给具有显示器和第二处理器的远程设备。响应于接收到场景图,远程设备将与场景图相对应的视图呈现给显示器,无需经由第二处理器执行应用。


2. 《
Magic Leap Patent | Flickering Mitigation When Toggling Eyepiece Display Illumination In Augmented Reality Systems(Magic Leap专利:缓解在增强现实系统中切换目镜显示器照明时的闪烁)

专利描述一种增强现实显示系统。所述系统可以包括部分透明的目镜,环境光传感器和图像输入组件。图像输入组件可以包括光源和空间光调制器。所述系统同时可以包括控制组件,控制组件确定没有虚拟内容正在显示给用户,并且将环境光与显示光进行比较以确定是否满足光源关闭标准。光源关闭标准可以说明关闭照亮空间光调制器的光源是否将导致显示光的改变。如果满足光源关闭标准,则控制组件可以关闭光源。


3. 《
Magic Leap Patent | Pose Space Dimensionality Reduction For Pose Space Deformation Of A Virtual Character(Magic Leap专利:用于虚拟角色的姿态空间变形的姿态空间维度数减少)

专利描述了用于减少姿态空间维度数的系统和方法。多个示例姿态可以定义输入姿态空间。每个示例姿态都可以包括一组虚拟角色的关节旋转。关节旋转可以用奇性自由数学表示来表示。然后可以将多个示例姿态聚类为一个或多个聚类。可以为每个聚类确定代表性姿态。与输入姿态空间相比,可以提供具有减小维度数的输出姿态空间。


4. 《
Magic Leap Patent | Methods And Apparatuses For Determining And/Or Evaluating Localizing Maps Of Image Display Devices(Magic Leap专利:用于确定和/或评估图像显示设备的本地化映射的方法和设备)

一种配置为佩戴在用户头部的装置包括:向用户呈现图形的屏幕;配置为查看用户所处环境的摄像头系统; 配置为至少部分地根据来自摄像头系统的输出来确定映射的处理单元。其中,所述装置的处理单元同时配置为获得说明使用所述映射来对用户进行定位的成功可能性的度量,并且所述处理单元配置为通过计算所述度量或通过接收所述度量来获得所述度量。


5. 《
Magic Leap Patent | Methods And Apparatuses For Corner Detection(Magic Leap专利:拐角检测的方法和设备)

一种配置为用户头戴的装置包括:向用户呈现图形的屏幕;配置为查看用户所处环境的摄像头系统;以及耦合至摄像头系统的处理单元。所述处理单元配置为:获得具有第一分辨率的第一图像,所述第一图像具有第一角,确定具有第二分辨率的第二图像,所述第二图像具有第二角。其中,第二图像基于第一图像,第二分辨率小于第一分辨率。检测第二图像中的第二角,确定第二角在第二图像中的位置,并且至少部分地根据所确定的第二角位置来确定第一图像中的第一角位置。


6. 《
Magic Leap Patent | Thermal Management System For Electronic Device(Magic Leap专利:用于电子设备的热管理系统)

专利描述了一种用于诸如增强现实或虚拟现实设备等电子设备的热管理系统。在各种实施例中,热管理系统可以包括主动冷却机制,如通过调节风扇组件来动态地或主动地冷却设备的部件。在一些实施例中,如果基于软件的热管理设备不可操作,则可以提供硬件关闭机制以关闭设备。在一些实施例中,可以调节流入电子设备和/或在电子设备内的空气以冷却设备的各种部件。


7. 《
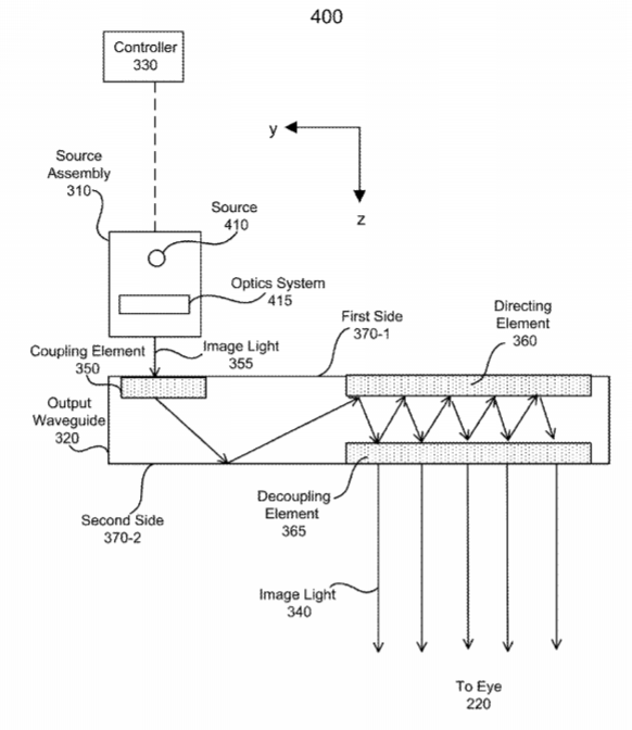
Magic Leap Patent | Diffractive Optical Elements With Mitigation Of Rebounce-Induced Light Loss And Related Systems And Methods(Magic Leap专利:减轻回弹引起的光损失的衍射光学元件及相关系统和方法)

显示装置包括具有能够减轻光线反弹的耦入光学元件的波导,从而改善总体耦入效率和/或均匀性。波导接收来自光源和/或投影光学器件的光,并且包括耦入光学元件。所述耦入光学元件将所接收的光耦合,以在波导内的传播方向上通过全内反射来传播。一旦耦合到波导中,光可经历重新反射。其中光从波导表面反射,并且在反射之后入射到耦入光学元件。在到达耦入光学元件时,光可以被光学元件部分吸收和/或出射,从而有效地减少了通过波导的耦入光量。


8. 《
Facebook Patent | Optics Formation Using Pick-Up Tools(Facebook专利:使用Pick-Up Tools进行光学元件形成)

专利描述了使用Pick-Up Tools来形成光学元件的技术。通过将Pick-Up Tools压入到沉积在发光二极管器件的光输出侧的弹性体材料来形成光学元件。将Pick-Up Tools压入到弹性材料会导致Pick-Up Tools的成型形状转移到弹性材料,从而在弹性材料中形成光学元件。


9. 《
Facebook Patent | Laser Lift-Off Masks(Facebook专利: 激光剥离掩膜)

专利描述了与激光剥离掩模有关的技术。在一些实施例中,将掩模材料施加到附接到多个半导体器件组的基板。更具体地,将掩模材料施加到半导体器件组之间的基板的一个或多个区域。当半导体器件组嵌入填充材料中时,掩膜材料可以位于基板和填充材料之间。因此,通过基板朝向半导体器件组传输光将导致基板与半导体器件组分离。然而,光会被掩模材料部分地遮挡。


10. 《
Facebook Patent | Varifocal System Using Hybrid Tunable Liquid Crystal Lenses(Facebook专利:使用混合可调液晶透镜的变焦系统)

变焦系统包括光学堆叠的第一类型液晶透镜结构和第二类型液晶透镜结构。堆叠的第一类型液晶透镜结构包括多个第一类型液晶透镜,并且第一类型液晶透镜以第一步进分辨率提供连续可变的光学状态。堆叠的第二类型液晶透镜结构包括多个第二类型液晶透镜,并以第二步进分辨率提供多个光学状态。第一步分辨率小于第二步分辨率,使得当堆叠的第二类型液晶透镜结构在两个光学状态之间切换时,第一类型液晶透镜在两个光学状态之间提供连续的光学倍率调节。堆叠的第一类型液晶透镜结构和堆叠的第二类型液晶透镜结构一起提供用于变焦光学系统的光学倍率的连续调节范围。


11. 《
Facebook Patent | Haptic Skull Cap(Facebook专利:触觉头骨帽)

触觉头骨帽向用户提供不同类型的触觉反馈,触觉头骨帽包括用户佩戴的织物帽。线性致动器物理连接到织物帽,并向用户的前额提供触觉反馈。另外,振动马达物理连接到织物帽,每个振动马达向用户头部的不同位置提供振动反馈。触觉头骨帽可以由用户连同头戴式显示器一起佩戴。因此,由触觉头骨帽提供的每种类型的触觉反馈可以与由头戴式显示器提供的视觉数据流同步。


12. 《
Facebook Patent | Bragg-Like Gratings On High Refractive Index Material(Facebook专利:高折射率材料的类布拉格光栅)

专利描述了用于制造倾斜结构的技术。在一个实施例中,一种用于在材料层制造倾斜结构的方法包括:在材料层形成掩模层;使用离子束并以大于零的倾斜角将离子注入到材料层的多个区域中。 相对于材料层的表面法线测量倾斜角。将离子注入到材料层的多个区域中会改变材料层的多个区域的折射率或蚀刻速率。


13. 《
Microsoft Patent | Spatial Mapping Fusion From Diverse Sensing Sources(微软专利:来自不同传感源的空间映射融合)

在一些实施例中,来自一个空间映射的空间映射数据可用于增强另一空间映射中的空间映射数据。 访问第一和第二空间映射数据,其中第一和第二空间映射数据两者重叠。确定第二空间映射数据是否要增强第一空间映射数据。如果是,则第二空间映射数据用于增强第一空间映射数据。否则,第二空间映射数据不用于增强第一空间映射数据。 所述确定可以至少部分地根据第一和第二空间映射数据的质量水平。


14. 《
Microsoft Patent | Controlling Content Included In A Spatial Mapping(微软专利:控制空间映射中包含的内容)

通过使用标签从混合现实场景中有选择地省略不需要的内容。一开始访问环境的空间映射。根据对所述空间映射的分析,从空间映射中识别出任何数量的分割对象。分割对象对应于实际物理对象和/或选择用于投影到混合现实场景中的虚拟对象。对于分割对象,然后访问相应的标签。然后,根据与标签相关联的属性来生成虚拟内容的子集。此后,将所选内容投影到混合现实场景。


15. 《
Microsoft Patent | Real-Time Compositing In Mixed Reality(微软专利:混合现实中的实时合成)

专利描述的系统可以包括:用于存储指令和数据的储存组件;以及用于执行储存指令的至少一个处理设备。执行指令包括:在混合现实视图中接收背景图像和要合成到背景图像的数字对象;为数字对象生成2D边界区域;以预定义的分辨率选择背景图像的版本;将2D边界区域覆盖在所选版本的背景图像。


16. 《
Microsoft Patent | Systems, Methods, And Computer-Readable Media For Improved Audio Feature Discovery Using A Neural Network(微软专利:使用神经网络改进音频特征发现的系统,方法和计算机可读介质)

一种方法包括:接收训练后的神经网络模型,训练后的神经网络配置为输出音频数据的音频特征分类;以及解构神经网络模型以产生至少一个显著图。所述至少一个显著图提供音频特征的成功分类。从神经网络模型提取音频特征的至少一个可视化,从而根据至少一个显著图进行分类。


17. 《
Microsoft Patent | Refining Virtual Mesh Models Through Physical Contacts(微软专利:通过物理接触来细化虚拟网格模型)

专利描述了通过物理接触来细化虚拟网格模型的方法和系统。例如,诸如可穿戴手套之类的手持式移动设备可以用于在物理环境的虚拟网格模型内创建和/或强调特定点。可以经由移动设备的触控传感器来获得移动设备界面与物理对象进行物理接触的指示。可以根据从一个或多个定位传感器获得的传感器数据来识别在物理接触期间移动设备界面的位置和/或方向。说明位置的位置数据可以存储在数据存储设备中。在一个示例中,可以根据位置数据来优先确定包含物理对象的物理环境的虚拟网格模型的细化。


18. 《
Apple Patent | Electronic Device System With Supplemental Lenses(苹果专利:含辅助透镜的电子设备系统)

头戴式设备可以包含为用户显示内容的显示器。设备包含头戴式支撑结构。不可移动的透镜系统可以由头戴式支撑结构支撑。头戴式支撑结构可以配置为承接可移除辅助透镜系统。可移动辅助透镜系统可用于定制头戴式显示器。有关可移动辅助透镜系统的光学特性信息和用户眼镜参数的信息等信息可以使用条形码,文本,可编程存储器或其他数据存储设备存储在可移动辅助透镜系统中。当可移除辅助透镜系统安装在头戴式设备中时,头戴式设备中的控制电路可以检索所存储的信息。 注视追踪系统或其他传感器可用于检索存储的信息。


19. 《
Qualcomm Patent | Enabling Augmented Reality Using Eye Gaze Tracking(高通专利:利用注视点追踪来支持增强现实)

专利描述了利用注视点追踪来支持增强现实应用的方法和装置。示例性方法包括:向用户显示场景图像;接收说明用户眼睛注视点的信息;根据眼睛注视点信息确定图像中的注视区域;确定图像的视场。对注视点区域的图像启动动对象识别过程,并显示对象识别过程的结果。


20. 《
Sony Patent | Image Display Apparatus(索尼专利:图像显示装置)

专利描述的图像显示装置包括:允许来自图像形成组件的图像光进入的第一聚光反射组件;以及第二聚光反射组件。第一聚光反射组件对图像光具有透射作用和聚光反射作用。第一聚光反射装组件将入射图像光的第一光聚集并朝向用户眼睛的第一转换位置反射。第二聚光反射组件至少对图像光具有聚光反射作用。第二聚光反射组件使第二光重新进入第一聚光反射组件,并向第二转换位置聚集和反射第二光。


21. 《
Sony Patent | Information Processing Apparatus, Information Processing Method, And Program(索尼专利:信息处理装置,信息处理方法及程序)

专利描述的信息处理装置检测与真实空间中的预定目标有关的目标点的运动量,并通过使用关于运动量的信息来计算虚拟对象在虚拟空间中的位置, 将虚拟对象放置在计算出的位置,并设置有关虚拟空间的信息。


22. 《
Sony Patent | Robot Interaction System And Method(索尼专利:机器人交互系统和方法)

专利描述了一种可安装在用户身体并用于模拟与虚拟环境交互的系统。所述系统包括接收与系统操作有关的信息的通信单元,以及模拟与虚拟环境中的虚拟表面接触的交互元件。


23. 《
Sony Patent | Driving Support Apparatus And Driving Support Method(索尼专利:驾驶支持装置和驾驶支持方法)

状况确定部分根据驾驶信息来确定车辆的状况。辅助图像设置部分根据情况确定部分获得的确定结果来设置辅助图像。显示控制部分执行显示控制,并在车窗玻璃显示由辅助图像设置部分设置的辅助图像。


24. 《
Sony Patent | Information Processing Apparatus, Information Processing Method, And Program(索尼专利:信息处理装置,信息处理方法及程序)

专利描述的信息处理装置包括获取单元和显示控制单元。所述获取单元能够获取通过捕获由用户眼球反射的真实空间图像而获得的第一图像,以及通过捕获与真实空间有关的图像而获得的第二图像。显示控制单元根据所获取的第一图像和所获取的第二图像来控制由预定显示单元执行的图像显示。


25. 《
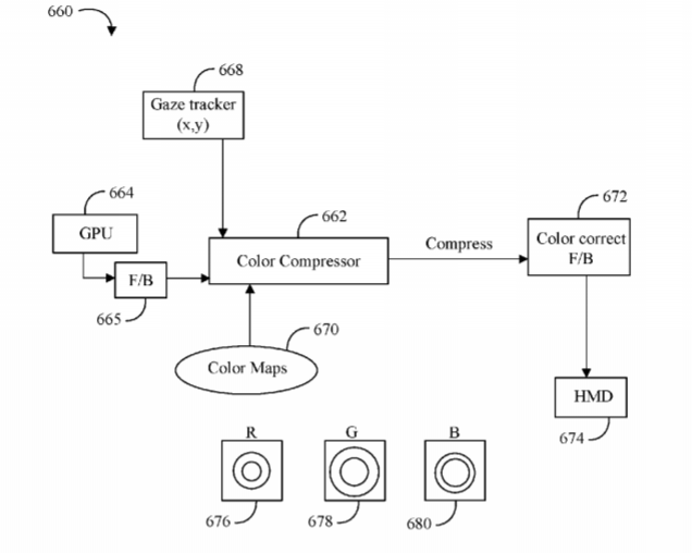
Intel Patent | Predictive Viewport Renderer And Foveated Color Compressor(英特尔专利:预测性视口渲染器和注视点颜色压缩器)

专利描述的图形设备的实施例可以包括:用于识别聚焦区域的聚焦标识符;以及根据所识别出的聚焦区域来选择性地压缩颜色数据的颜色压缩器。图形设备的另一实施例可以包括:用于检测真实对象运动的运动检测器;用于预测真实对象运动的运动预测器;以及用于根据预测运动来放置虚拟对象的对象放置器。图形设备的另一实施例可以包括:将帧划分为视口的帧划分器;对视口进行优先级排序的视口优先化器;按照视口优先级来依次渲染视口的渲染器;以及用于发送一个完整渲染视口的视点发送器。

0

  1. This post has no comment yet

发表回复

您的邮箱地址不会被公开。 必填项已用 * 标注