(
映维网
2019年12月06日
)近期美国专利及商标局公布了一批全新的AR/VR专利,以下是映维网的整理(详情请点击专利标题),一共34篇。更多专利披露请访问映维网专利板块
https://patent.nweon.com/
进行检索,也可加入映维网AR/VR专利交流微信群。
1. 《
Oculus Patent | Styluses, Head-Mounted Display Systems, And Related Methods(Oculus专利:触控笔,头戴式显示系统及相关方法)
》
触控笔可包括细长的外壳,配置为检测用户操纵触控笔的至少一个传感器,以及允许触控笔能够在虚拟现实,增强现实或混合现实环境中接受追踪的追踪组件。相应的头戴式显示系统可包括触控笔,配置为使用追踪组件追踪触控笔操纵的追踪子系统,以及配置为显示触控笔操纵的显示子系统。
2. 《
Magic Leap Patent | Method And System For Generating A Virtual User Interface Related To A Totem(Magic Leap专利:生成与图腾相关的虚拟用户界面的方法和系统)
》
波导装置包括平面波导和至少一个光学衍射元件(DOE),其在平面波导的外部和内部之间提供多个光学路径。DOE的相位剖面可以将线性衍射光栅与圆形透镜组合,以形成波前并产生具有期望焦点的光束。可以组装波导装置以产生多个焦平面。DOE可以具有低衍射效率,并且当正常观察时平面波导可以为透明,允许来自周遭环境(例如,现实世界)的光线通过。可以返回光线以暂时按顺序地通过平面波导。DOE可以为固定或可以具有动态可调节的特性。光学耦合器系统可以从投影仪将图像耦合至波导设备。
3. 《
Magic Leap Patent | Fabricating Non-Uniform Diffraction Gratings(Magic Leap专利:制造非均匀衍射光栅)
》
专利描述了一种制造非均匀光栅的方法,所述方法包括将不同密度的离子注入到基板的相应区域中,例如通过光刻在基板上的抗蚀剂层进行图案化,用图案化的抗蚀剂层蚀刻基板,然后去除抗蚀剂层。所述光栅具有与离子的不同密度有关的非均匀特性。所述方法可以进一步包括纳米压印光刻法。
4. 《
Magic Leap Patent | Compact Variable Focus Configurations(Magic Leap专利:紧凑可变焦点配置
》
一个实施例描述了一种用于将虚拟图像信息呈现给用户的头戴式组件,其包括:头戴式框架; 用于用户左眼的左光学元件,所述左光学元件耦合到头戴式框架,并且包括构造成具有机电可调焦距的左流体/薄膜透镜; 用于用户右眼的右光学元件,所述右光学元件耦合到头戴式框架,并且包括构造成具有机电可调焦距的右流体/薄膜透镜; 以及控制组件。控制组件可操作地耦合至左光学元件和右光学元件。
5. 《
Magic Leap Patent | Methods And Systems For Multi-Element Linkage For Fiber Scanning Display(Magic Leap专利:用于光纤扫描显示器的多元件链接的方法和系统)
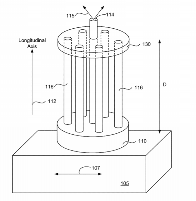
》
专利描述了一种用于扫描电磁成像辐射的多元件纤维扫描仪,其包括基底和第一光纤链路,所述第一光纤链路沿平行于纵轴的方向穿过基底。第一光纤链路可操作地耦合到至少一个电磁辐射源。所述多元件光纤扫描仪同时包括多个附加的连接件,所述附加的连接件连接到所述基座并从所述基座延伸。
6. 《
Magic Leap Patent | Current Drain Reduction In Ar/Vr Display Systems(Magic Leap专利:减少AR/ VR显示系统中的电流消耗)
》
在一些实施例中,在AR或VR显示系统使用
眼动追踪
来确定显示系统的用户是否眨眼或无法看见。 作为响应,可以使与显示器相关联的光源变暗或关闭,或者通过将图形驱动器配置为跳过指定数量的帧,或通过减少与显示器相关联的光源的电流消耗或功率使用,或在指定的时间段内降低刷新率。
7. 《
Magic Leap Patent | Augmented Reality Systems And Methods Utilizing Reflections(Magic Leap专利:利用反射的增强现实系统和方法)
》
专利描述的显示系统包括用于显示增强现实内容的可穿戴显示设备。所述显示设备包括显示区域,所述显示区域包括配置为将光线引导至用户的光重定向功能。显示区域至少是部分透明,并且配置为提供周遭环境的视图。显示设备配置为确定用户的反射位于用户视场之内。确定后,增强现实内容显示在显示区域中,而增强现实内容会增强用户的反射视图。在一些实施例中,增强现实内容可以叠加在用户的反射视图中。
8. 《
Magic Leap Patent | Homography Transformation Matrices Based Temperature Calibration Of A Viewing System(Magic Leap专利:基于单相变换矩阵的查看系统温度校准)
》
包括多个温度与多个单应变换矩阵的校准集储存在存储组件中,每个相应的应变换矩阵用于相应的温度。为与温度匹配的温度选择单应变换矩阵中的相应一个。根据所选的单应性关系计算几何变化。接收表示本地内容的数据。根据几何变化生成本地内容渲染并将其显示给用户。
9. 《
Magic Leap Patent | Matching Content To A Spatial 3d Environment(Magic Leap专利:将内容匹配至空间3D环境)
》
专利描述了当可穿戴显示设备检测到触发事件调整虚拟内容显示的系统和方法。所述方法包括:相对于第一表面显示内容;检测是运动还是内容驱动的触发;并将内容的显示调整到用户视场中的虚拟表面。
10. 《
Magic Leap Patent | Index Scheming For Filter Parameters(Magic Leap专利:筛选器参数的索引机制)
》
专利描述了一种处理音频信号的方法。根据所述方法的实施例,确定原型滤波器的幅度响应信息。 幅度响应信息包括多个增益值,其中至少一个增益值包括与第一频率相对应的第一增益。存储原型滤波器的幅度响应信息。检索第一频率下的原型滤波器的幅度响应信息。根据获取的幅度响应信息,为多个控制频率计算增益,并将计算出的增益应用于音频信号。
11. 《
Facebook Patent | Optical Assembly With Waveplate Configuration For Ghost Image Reduction(Facebook专利:具有波片配置并用于减少拖影的光学组件)
》
透镜组件包括第一光学元件和第二光学元件。第一光学元件包括部分反射层和波片。第二光学元件包括反射偏振器。反射偏振器构造成将显示光的第一偏振方向反射回第一光学元件,并透射显示光的第二偏振方向。
12. 《
Facebook Patent | Determining Fixation Of A User’S Eyes From Images Of Portions Of The User’S Face Enclosed By A Head Mounted Display(Facebook专利:根据用户面部的部分图像确定用户的眼睛注视点)
》
虚拟现实或增强现实头显包括位于头显内的多个图像捕获组件。来自一个图像捕获组件的图像包括用户的眼睛,而来自另一图像捕获组件的其他图像包括用户的另一只眼睛。所述图像和其他图像提供给控制组件,后者将经过训练的模型应用于图像和其他图像,并生成识别用户头部位置和用户眼睛位置,以及眼睛注视的向量。另外,图像和其他图像包含照明元照亮用户面部部分。当用户佩戴头显时,这可以防止图像和其他图像过分饱和。
13. 《
Facebook Patent | Mobile Persistent Augmented-Reality Experiences(Facebook专利:移动持久性增强现实体验)
》
在一个实施例中,一种方法包括:使用计算设备的一个或多个位置传感器来确定计算设备的近似位置;识别位于近似位置的阈值距离内的内容对象;从设备的摄像头获取图像,并在图像中标识目标现实世界对象;根据目标现实世界对象的位置来确定内容对象的位置;并在内容对象位置显示内容对象。
14. 《
Facebook Patent | Manufacturing A Cartilage Conduction Audio Device(Facebook专利:制造骨传导音频组件)
》
专利描述了一种用于制造骨传导音频组件的方法。制造系统接收描述用户耳朵三维形状的数据。 系统沿着耳朵耳廓背面为一个或多个换能器识别一个或多个位置,所述换能器在一定频率范围内使耳廓振动,从而在耳道入口位置产生声压波。然后,系统根据换能器的一个或多个识别位置为用户产生骨传导音频组件的设计。然后可以使用所述设计来制造骨传导音频组件。
15. 《
Microsoft Patent | Method And System For Co-Locating Disparate Media Types Into A Cohesive Virtual Reality Experience(微软专利:将不同媒体类型共同定位到虚拟现实体验中的方法和系统)
》
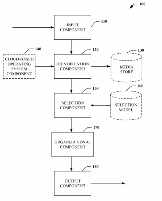
专利描述了将不同媒体类型共同定位到虚拟现实体验中的系统和方法。从用户接收的输入包括时间信息,地理信息和/或用于建立虚拟现实体验的实体信息。根据接收到的用户输入来识别媒体项目。在一些实施例中,使用基于云端的操作系统组件来识别媒体项目。选择要包括在虚拟现实体验中的媒体项目,并组织所选媒体项目来构建虚拟现实体验。
16. 《
Microsoft Patent | Mixed Reality Animation(微软专利:混合现实动画)
》
包括显示器和摄像头的混合现实系统配置为从摄像头接收物理场景的视频,并根据视频构造物理场景的3D模型。空间感测功能提供对应于显示器物理姿态的姿态(位置和方向)更新。第一用户输入允许用户定义输入路径。输入路径可以显示为图形路径或线条。输入路径映射到3D模型中的3D路径。第二用户输入定义与3D路径关联的动画特征。动画特征包括对象,动画命令等。动画命令可以手动映射到3D路径中的点,并且在动画期间执行。
17. 《
Microsoft Patent | Re-Creation Of Virtual Environment Through A Video Call(微软专利:在视频通话期间重新创建虚拟环境)
》
专利描述了一种用于从不同的,变化的和/或多个角度查看现实环境的3D表示的优化人机界面。AR设备可以使用表面重构摄像头和传统的红绿蓝摄像头实时捕获场景的3D表示。可以将3D表示传输到用户的计算设备并进行显示。用户可以以第三人称模式查看3D表示。用户同时可以选择平面图模式,从而通过上帝视角进行查看。
18. 《
Microsoft Patent | Fringe Mitigation Using Short Pulsed Laser Diodes(微软专利:使用短脉冲激光二极管减轻条纹)
》
专利描述了用于控制和/或修改红绿蓝(RGB)激光组件操作,从而在混合现实环境中创建图像的系统和方法。一开始,RGB激光器组件中的激光器以低功率或非发射状态运行。然后,激光器发射激光以照亮一个像素或一组像素。这种照明发生的时间跨度小于15纳秒。通过使激光器仅在这一时间内发射激光,所得到的激光会构造为具有减小的空间相干度。在这一时间段后,激光器再次返回到非发射状态。对每个像素重复这一过程。通过以减小的空间相干度来操作激光器,可以在目标显示区域内减少或消除不期望的视觉伪影。
19. 《
Microsoft Patent | Human-Computer Interface For Computationally Efficient Placement And Sizing Of Virtual Objects In A Three-Dimensional Representation Of A Real-World Environment(微软专利:用于在真实世界环境的三维表示中有效地放置虚拟对象并确定其大小的人机界面)
》
专利描述了一种用于从不同的,变化的和/或多个角度查看现实环境的3D表示的优化人机界面。所述的人机界面可以根据简化的用户手势来确定虚拟对象的位置,大小和方向。在一些实施例中,根据输入手势的时间和方向,计算设备可以利用确定虚拟对象位置和方向的自动模式,或者利用确定虚拟对象位置,取向和大小的手动模式。能够进行3D空间映射的计算设备会生成网格数据,所述网格数据定义了真实环境的3D表示形式,以及真实环境的图像。
20. 《
Apple Patent | Methods And Devices For Detecting And Identifying Features In An Ar/Vr Scene(苹果专利:在AR/VR场景中检测和识别特征的方法和设备)
》
一种方法包括获取以第一姿态为特征的第一透视图像数据。所述方法包括获得第一透视图像数据中的各个像素特征向量。所述方法包括,根据确定用于特征的像素特征向量是否满足特征置信度阈值来识别对象特征。所述方法包括,显示第一透视图像数据和与特征相对应的AR显示标记。所述方法包括获取以第二姿态为特征的第二透视图像数据。所述方法包括将AR显示标记变换到与第二姿态相关联的位置,以便追踪特征。所述方法包括显示第二透视图像数据,并根据变换来维持与对象特征相对应的AR显示标记的显示。
21. 《
Apple Patent | Static Occluder(苹果专利:静态遮挡器)
》
具有处理器,存储器和图像传感器的计算设备使用图像传感器获得物理环境的图像。检测图像中的对象描绘,并根据对象描绘和物理环境对象的3D模型来确定对象在3D空间中的3D位置。根据对象的3D位置,以及虚拟对象在3D空间中的3D位置来确定遮挡。然后根据遮挡显示计算机生成现实。
22. 《
Apple Patent | Optical System For Head-Mounted Display(苹果专利:用于头戴式显示器的光学系统)
》
头显可包括显示系统和位于壳体中的光学系统。显示系统可以包含用于产生图像相关光的像素阵列。显示系统同时可以包含线性偏振器,以及允许像素阵列光线通过的四分之一波片。光学系统可以是具有一个或多个透镜元件的反射折射光学系统。透镜元件可包括平凸透镜和平凹透镜。部分反射镜可以位于平凸透镜的凸表面之上。反射偏振器可以位于平凸透镜的平面表面或平凹透镜的凹面之上。额外的四分之一波片可以位于反射偏振器和部分反射镜之间。
23. 《
Apple Patent | Displaying Physical Input Devices As Virtual Objects(苹果专利:将物理输入设备显示为虚拟对象)
》
专利描述的技术用于在计算机生成现实中显示物理输入设备的表示,并将视觉特征叠加在所述表示上。所述技术包括在计算机生成现实中显示虚拟应用。所显示的应用的至少一部分包括检测到的输入字段。根据在物理输入组件接收到的输入,更新输入字段,并且显示更新后的输入字段。
24. 《
Qualcomm Patent | Adjusting Audio Characteristics For Augmented Reality(高通专利:为增强现实调整音频特性)
》
增强现实设备包括配置为存储增强现实应用程序的指令的存储器。增强现实设备同时包括处理器,处理器配置为启动第一图像捕获操作以生成第一图像数据,并根据第一图像数据确定3D映射。3D映射代表包括第一位置的一组位置。处理器同时配置为发起第二图像捕获操作以生成第二图像数据,并根据第二图像数据来识别位置集中的第二位置。处理器同时配置为修改音频信号。
25. 《
Google Patent | Ambisonics Sound Field Navigation Using Directional Decomposition And Path Distance Estimation(谷歌专利:使用方向剖分和路径距离估计的Ambisonics声场导航)
》
发明描述了一种为用户渲染声音的技术,其涉及在第一位置确定能说明声场能量的一组方向,并相应地在第二位置重建声场。声音渲染计算机可以沿线接收声音数据,并表示从以麦克风为中心的球体位置发出的声音。渲染声音的计算机使用方向剖分来确定这种方向。当用户远离麦克风的位置时,声音渲染计算机在识别出方向后将幅度和相位因子应用于与方向相对应的声场。
26. 《
Sony Patent | Method And Apparatus For The Projection Of Images, Video, And/Or Holograms Generated By A Computer Simulation(索尼专利:计算机模拟生成的图像,视频和/或全息图投影方法和装置)
》
专利描述的一种方法包括运行至少部分地由手持式控制器控制的计算机模拟;在显示器显示由计算机模拟生成的图像;以及从耦合到手持控制器的图像投影仪投影由计算机模拟生成的至少一个图像。专利描述的一种系统包括显示器,手持式控制器,耦合到手持式控制器的图像投影仪,以及基于处理器的装置。专利描述的另一种系统包括显示器,手持式控制器,图像投影仪,以及基于处理器的设备。
27. 《
Sony Patent | Display Control Apparatus, Display Control Method, And Program(索尼专利:显示控制装置,显示控制方法及程序)
》
专利描述了一种显示控制装置,其包括:状态检测单元,配置为检测用户的状态;以及显示控制单元,配置为致使显示器显示叠加图像,并根据用户状态控制每个显示内容项的行为。
28. 《
Sony Patent | Information Processing Device, Information Processing Method, And Program(索尼专利:信息处理组件,信息处理方法和用于控制虚拟对象显示的程序)
》
专利描述了一种信息处理组件,其能够以简单直观的操作实现三维信息的输入。所述信息处理组件包括:第一识别单元,其识别与身体的第一部分和第二部分; 第二识别单元,其根据在识别出的第一部分和第二部分之间的真实空间三维位置关系来识别用户输入。
29. 《
Sony Patent | Multi-Server Cloud Virtual Reality (Vr) Streaming(索尼专利:多服务器云端虚拟现实流式传输)
》
专利描述了的图形处理器系统包括主节点.根据通过网络接收到的客户端设备输入,所述主节点响应于执行虚拟现实应用,并生成用于VR环境中的图元。图形处理器系统包括用于执行渲染的渲染节点。每个渲染节点对相应视图的相应帧序列执行渲染,编码和流式传输到客户端设备。所述处理器系统包括asset库,所述asset库存储用于构建对象的输入几何形状,其中主节点和渲染节点可以访问asset库中的对象。
30. 《
Sony Patent | Simulation Method And System(索尼专利:模拟方法和系统)
》
在虚拟环境中模拟虚拟化身注意力的方法包括:根据一个或多个因素周期性地计算虚拟环境中多个元素的各自兴趣值。根据各个元素与给定虚拟化身之间的关系,评估至少一个所述因素。选择具有 最高的计算兴趣值,并致使虚拟化身的眼睛指向虚拟环境中的所选元素。
31. 《
Sony Patent | Hmd Transitions For Focusing On Specific Content In Virtual-Reality Environments(索尼专利:用于聚焦虚拟现实环境特定内容的头显转换)
》
专利描述了在头显屏幕呈现对象的方法和系统。所述方法包括接收头显用户附件的真实世界环境的图像。从头显的一个或多个前置摄像头接收图像,并且由处理器处理所述图像并在头显屏幕呈现。利用头显的一个或多个注视点检测摄像头来确定头显用户的注视方向。分析前置摄像头图像并识别与用户注视点方向一致的真实环境对象。其中,对象图像的渲染位置是在导致对象看似失焦的第一虚拟距离。产生信号以调节一个或多个前置摄像头的变焦系数,从而令对象对焦。缩放因子的调整使得对象图像以第二虚拟距离呈现在头显屏幕,所述第二虚拟距离允许用户可以辨别对象。
32. 《
Sony Patent | Information Processing Apparatus, Information Processing Method, And Program(索尼专利:信息处理装置,信息处理方法和程序)
》
专利描述的信息处理装置能够以更有利的方式经由网络实现用户之间的通信。所述信息处理装置包括:配置为经由预定网络与外部设备进行通信的通信单元;以及配置为执行控制,并通过根据与第一用户相关联的第一设置和与第二用户相关联的第二设置将图像处理应用于与第一用户相关联的第一图像来生成第二图像的控制单元。
33. 《
Intel Patent | Bit Depth Coding Mechanism(英特尔专利:位深编码机制)
》
专利描述了一种用于促进单色比特深度编码的机制。一种设备包括一个或多个处理器,其用于接收深度数据并将深度数据转换为色彩空间数据,包括将深度数据的第一字段转换为色彩空间数据的单色组件,并将深度数据的第二字段转换为色彩空间数据中的一个或多个颜色组件。
34. 《
Intel Patent | Visual Quality Optimized Video Compression(英特尔专利:优化视觉质量的视频压缩)
》
专利描述了与从高度压缩和解压缩的重建视频中提供高感知质量视频有关的技术。这样的技术包括,将对抗网络的预训练解压缩升采样部分应用于解压缩的重构视频,以升采样并改善重构视频的感知质量并生成输出视频。
0