/ Nweon / 0浏览

2019年12月04日美国专利局新批准AR/VR专利报告



映维网
2019年12月04日

)近期美国专利及商标局公布了一批全新的AR/VR专利,以下是映维网的整理(详情请点击专利标题),一共25篇。更多专利披露请访问映维网专利板块
https://patent.nweon.com/
进行检索,也可加入映维网AR/VR专利交流微信群。


1. 《
Magic Leap Patent | Electromagnetic Tracking With Augmented Reality Systems(Magic Leap专利:增强现实系统的电磁追踪)

头戴式增强现实设备可以追踪用户头部的姿态。电磁追踪系统可以追踪头部或身体姿态。手持式用户输入设备可以包括产生电磁场的电磁发射器,并且头戴式增强现实设备可以包括感测电磁场的电磁传感器。可以分析来自传感器的电磁信息以确定传感器的位置和/或取向,从而确定用户的姿态。电磁发射器和传感器可以利用时分复用或动态频率调谐来在多个频率下操作。


2. 《
Magic Leap Patent | Augmented Reality System Totems And Methods Of Using Same(Magic Leap专利:增强现实系统图腾及其使用方法)

专利描述的波导装置包括平面波导和至少一个光学衍射元件(DOE),所述光学衍射元件在平面波导的内部和外部之间提供多个光路。DOE的相位轮廓可以将线性衍射光栅与圆形透镜组合在一起,以塑造波前并产生具有所需焦点的光束。波导装置可以组装成创建多个焦平面。DOE可以具有低衍射效率,并且当正常查看时,平面波导可以是透明,从而允许来自周围环境的光线通过。DOE可以是固定,亦可以具有动态可调特性。光耦合器系统可以将来自双轴扫描悬臂式光纤尖端的投影仪的图像耦合到波导装置。


3. 《
Facebook Patent | Systems And Methods To Transition Between Media Content Items(Facebook专利:在媒体内容项之间过渡的系统和方法)

专利描述的系统配置为检测反映在第一媒体内容项中的概念。确定所述概念具有与用户相关的阈值水平。所述概念与一个元素相关联,所述元素在被选择时致使过渡到反应所述概念的第二媒体内容项。所述元素在第一媒体内容项中向用户显示。


4. 《
Facebook Patent | Generating Depth Maps For Panoramic Camera Systems(Facebook专利:为全景摄像系统生成深度映射)

摄像系统从一组摄像头捕获图像并生成环境的双目全景。为了校准系统,识别图像之间的匹配特征并用于估计系统外部的三维点。修改校准参数以改善三维点估计。捕获图像时,管道使用相邻摄像头的重新投影视图和图像金字塔为每个摄像头生成深度图。


5. 《
Facebook Patent | Transparent And Reflective Illumination Source(Facebook专利:透明和反射照明源)

头显包括由一个或多个照明源照明的显示器。照明源耦合到部分透明的电路板上,并配置成将光发射到复合镜。复合镜比显示器更远离头显的出射光瞳,并将来自照明源的光反射回出射光瞳。由复合镜反射的光通过部分透明的电路板并传输到显示器,从而照亮显示器。


6. 《
Facebook Patent | Near-Eye Display Assembly With Adjustable Resolution And Frame Rate(Facebook专利:支持可调分辨率和帧率的近眼显示组件)

近眼显示器包括电子显示器,光学组件,扫描组件和控制组件。控制组件部分地根据内容来生成显示指令。显示说明描述了分辨率可调范围内的分辨率和帧速率可调范围内的帧速率。电子显示器根据显示指令以帧频发射多条光线。扫描组件根据显示指令移动多条光线中的至少一条的方向。光学组件控制视窗位置的视场,并且将光线引向视窗。


7. 《
Facebook Patent | Wearable Accessory With Heat Transfer Capability(Facebook专利:具有传热能力的可穿戴配件)

可穿戴的热传递组件为用户提供热冷感觉。可穿戴式热传递组件包括热源/散热器,以及具有热传递特性的可编程接口,所述热传递特性根据由可编程接口接收的信号进行修改。在另一示例中,将电场施加到可编程接口,从而改变可编程接口的一个或多个属性。


8. 《
Facebook Patent | Adjustable Facial-Interface Systems For Head-Mounted Displays(Facebook专利:用于头显的可调面部接口系统)

用于头显的面部界面系统可以包括:面部界面;面部界面安装构件;以及布置在面部界面和面部界面安装构建之间的面部界面调节装置。所述面部界面调节装置可包括:包括接触表面的调节基座;以及调节突起。调节突起可包括与调节基座接触表面相邻的调节表面。调节突起可相对于调节基座绕延伸轴线旋转,从而致使调节突起沿延伸轴线在相对于调节基座的多个保持位置之间轴向移动。


9. 《
Facebook Patent | Multifocal System With Polarizing Elements(Facebook专利:具有偏振元件的多焦点系统)

头显包括具有一个或多个可能焦距并包括多焦点结构的多焦点块。多焦点结构具有第一焦距和一个或多个可能焦距的第二焦距。多焦点结构包括串联定位的一个或多个光学组件。一个或多个光学组件包括可切换半波片(SHWP)。SHWP具有致使多焦点结构在第一焦距输出图像光的第一状态,以及致使多焦点结构在第一焦距输出图像光的第二状态。


10. 《
Facebook Patent | Positioning Cameras In A Head Mounted Display To Capture Images Of Portions Of A Face Of A User(Facebook专利:在头显中定位摄像头以捕获用户面部的部分图像)

虚拟现实或增强现实头显包括位于头显之内和头显之上的多个图像捕获组件,后者用于捕获用户面部的部分。多个图像捕获组件捕获用户面部的不同部分。来自各种图像捕获组件的捕获图像可以传送到主机或控制组件,所述主机和控制组件根据捕获图像生成用户面部的图形表示。


11. 《
Facebook Patent | Switchable Reflective Circular Polarizer In Head-Mounted Display(Facebook专利:头显中的可切换反射式圆偏振器)

专利描述了用于在近眼显示系统中显示图像的技术。可切换光学组件包括:可配置为将入射光偏振为第一圆偏振态的光的第一偏振器;配置为透射第二圆偏振态的光,并将第一圆偏振态的光的第二偏振器。所述可切换光学组件同时包括位于第一偏振器和第二偏振器之间的部分反射器。部分反射器配置为透射来自第一偏振器的光并反射来自第二偏振器的光。


12. 《
Microsoft Patent | Inconspicuous Tag For Generating Augmented Reality Experiences(微软专利:用于生成增强现实体验的不明显标记)

专利描述了一种用于生成虚拟对象的系统和方法。至少部分地从标签检索虚拟对象的数据。标签包括透明物理表面,以及透明物理表面中的视觉上不可察觉的结构。标签在视觉上难以察觉的结构中编码虚拟对象数据。当由适当配置的捕获设备检测到时,视觉上不可察觉的结构产生深度图,所述深度图反映在标签区域之间的相移中。


13. 《
Microsoft Patent | Temperature Compensation For Structured Light Depth Imaging System(微软专利:结构光深度成像系统的温度补偿)

发明描述的装置和方法是用于补偿深度成像系统的结构光图案的温度偏差。在一些实施例中,深度成像装置包括光源,成像传感器和处理器。光源发出对应于图案的光线。光源的温度偏差可导致图案的偏移。成像传感器接收由深度成像装置前面环境反射而来的光线,并生成深度图。根据光源的温度偏差,处理器将基于多项式模型估计图案的偏移。处理器同时将基于图案的偏移来调整深度图。


14. 《
Microsoft Patent | Augmented Reality Virtual Monitor(微软专利:增强现实虚拟显示器)

头显包括透视显示器和虚拟现实引擎。透明显示器配置为在视觉上增强物理空间的外观,并允许用户通过透明显示器查看看物理空间。虚拟现实引擎配置为使透视显示器向通用户呈现似乎与物理空间集成在一起的虚拟监视器。


15. 《
Microsoft Patent | Virtual Focus Feedback(微软专利:虚拟焦点反馈)

专利描述了用于聚焦摄像头的系统和方法。系统可以生成代理图像,所述代理图像模糊成与摄像头失焦程度相关的程度。可以要求用户调整聚焦机制,从而令代理图像聚焦。这允许摄像头进行聚焦。这可用于红外摄像头。红外摄像头可以是头显等设备中的追踪摄像头。


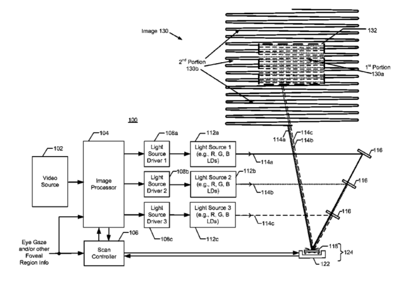
16. 《
Microsoft Patent | Foveated Mems Scanning Display(微软专利:注视点MEMS扫描显示器)

扫描显示组件包括MEMS扫描仪,控制组件,光源驱动器,光源和图像处理器。控制组件控制MEMS扫描仪中的MEMS反射镜的旋转。每个光源驱动器选择性地驱动光源中的相应一个,从而产生朝向和入射到MEMS反射镜的相应光束。当MEMS扫描仪光栅扫描图像的第一部分时,图像处理器致使两个光源驱动器驱动两个光源,从而产生两个光束。当MEMS扫描仪光栅扫描图像的第二部分时,图像处理器致使光源驱动器中的一个驱动器仅驱动一个光源,从而仅产生一个光束。


17. 《
Microsoft Patent | Virtual Reality Floor Mat Activity Region(微软专利:虚拟现实地垫活动区域)

计算系统通过专用的虚拟现实地垫来为一个或多个用户提供虚拟现实体验。所述计算系统从对物理环境成像的光学传感器接收图像数据。地垫包括计算系统可识别的一个或多个基准标记。系统根据图像数据检测所述基准标记的存在,并至少部分地根据所检测的基准标记来定义物理环境内的活动区域。在相对于活动区域的物理环境内识别物理对象的位置。根据物理对象相对于活动区域的位置来选择性地增强虚拟现实体验。


18. 《
Microsoft Patent | Controlling Handheld Object Light Sources For Tracking(微软专利:控制手持对象光源以进行追踪)

专利描述的技术用于追踪与手持式对象接口的头显的姿势。手持式对象配置为向头显提供用户输入。所述手持式对象包括主体;以可由头显视觉系统追踪的布置方式布置在主体的多个可见光源;以及配置为控制多个可见光源中的一个或多个可见光源的亮度的控制组件。


19. 《
Apple Patent | Enhanced Image Display In Head-Mounted Displays(苹果专利:增强的头显图像显示器)

专利描述了在头显中投影源图像的技术。所述头显用于投影分别由左眼和右眼可见的左眼图像和右眼图像。源图像具有上下左右右边缘。处理源图像数据并生成用于左显示器的左图像数据,及用于右显示器的右图像数据。左图像数据包括源图像的左边缘,但不包括右边缘;右图像数据包括源图像的右边缘,但不包括左边缘。右图像数据呈现在右显示器上,左图像数据呈现在左显示器上。


20. 《
Google Patent | Techniques To Change Location Of Objects In A Virtual/Augmented Reality System(谷歌专利:在虚拟现实/增强现实系统中更改对象位置的技术)

专利描述了一种操作视听系统以产生沉浸式虚拟体验的系统和方法。所述方法可以包括:通过头戴式视听设备产生虚拟世界沉浸式体验;显示一个说明目标在物理空间中的位置的视觉目标标记;接收传送控制信号,并相应地移动音频的虚拟位置。


21. 《
Qualcomm Patent | Systems And Methods For Reducing Memory Bandwidth Via Multiview Compression/Decompression(高通专利:通过多视图压缩/解压缩来减少内存带宽的系统和方法)

专利描述了通过多视图压缩/解压缩来减少内存带宽的系统。一种方法包括接收用于多视图渲染的第一图像和第二图像。计算第一图像和第二图像之间的差异。压缩第一图像以及第一和第二图像之间的差异。压缩的第一图像和压缩的差异存储在内存中。对压缩的第一图像和压缩的差异进行解压缩。通过将第一图像与差异进行比较来生成第二图像。


22. 《
Sony Patent | Information Processing Apparatus And Information Processing Method(索尼专利:信息处理装置和信息处理方法)

专利描述了一种微镜组件,其旨在拓宽3D深度映射传感器的视场,并减轻对激光照射功率和成像组件分辨率的限制。


23. 《
Sony Patent | Object Audio Reproduction Using Minimalistic Moving Speakers(索尼专利:使用简约的移动扬声器再现对象音频)

专利旨在在现实世界中的注册信息设置点显示注册信息,并根据作为触发的情景变化来检测事件,从而更新显示。执行用于在现实世界注册信息设置点显示包括注册信息的虚拟对象的控制。数据处理单元执行用于显示注册信息的处理,以及用于根据预定情景的改变来更新显示的处理。另外,数据处理单元结合注册信息的显示来显示说明注册信息设置点的虚拟对象。根据参考图像(锚)的位置和方向等,数据处理单元计算信息处理组件与注册信息设置点之间的位置关系。根据所计算的位置关系和情景变化,显示说明注册信息设置点的虚拟对象。


24. 《
Intel Patent | Barreling And Compositing Of Images(英特尔专利:图像的桶形处理和合成)

专利描述的系统和方法用于基板和耦合到基板的显示管道。显示管道可以对初始图像进行桶形处理,从而形成桶形图像。在一个示例中,显示管道同时执行初始图像的色彩校正。


25. 《
Nvidia Patent | Cloud Generation Of Content To Be Streamed To Vr/Ar Platforms Using A Virtual View Broadcaster(英伟达专利:使用虚拟视图广播器将云端生成的内容流式传输到VR/AR平台)

专利描述了一种虚拟视图广播器,虚拟视图广播系统和游戏广播器。在一个实施例中,虚拟视图广播器包括:基于云端的渲染器,其配置为根据虚拟camera生成虚拟视图图像;以及图像处理器,其配置为利用虚拟视图渲染图像生成虚拟视图流,其中虚拟视图图像来自虚拟camera的不同查看方向。

0

  1. This post has no comment yet

发表回复

您的邮箱地址不会被公开。 必填项已用 * 标注