(
映维网
2019年10月23日
)近期美国专利及商标局公布了一批全新的AR/VR专利,以下是映维网的整理(详情请点击专利标题),一共36篇。更多专利披露请访问映维网专利板块
https://patent.nweon.com/
进行检索,也可加入映维网AR/VR专利交流微信群。
1. 《
Magic Leap Patent | Eyepiece For Virtual, Augmented, Or Mixed Reality Systems(Magic Leap专利:用于虚拟现实,增强现实或混合现实系统的眼戴设备)
》
专利描述了一种用于增强现实的目镜波导。所述目镜波导可以包括透明基板,所述透明基板具有耦入区域,第一和第二正交光瞳扩展器(OPE)区域,以及出瞳扩展器(EPE)区域。耦入区域可以位于第一和第二OPE区域之间,并且可以将输入光束划分和重定向为在基板内部传播的第一和第二引导光束,其中第一引导光束指向第一OPE区域,第二引导光束指向第二OPE区域。第一和第二OPE区域可以分别将第一引导光束和第二引导光束分成多个复制的,间隔开的光束。EPE区域可以重新引导来自第一和第二OPE区域的复制光束,使得它们离开基板。
2. 《
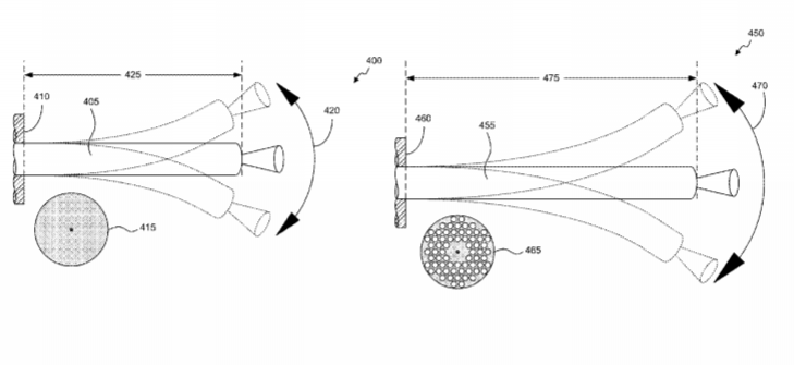
Magic Leap Patent | Microstructured Fiber Optic Oscillator And Waveguide For Fiber Scanner(Magic Leap专利:用于光纤扫描仪的微结构光纤振荡器和波导)
》
专利描述了光纤和包括光纤的扫描光纤显示器。所述的光纤包括多个质量调节区域,例如位于中心波导元件和外周之间的气体填充区域,其可用于减小光纤的质量。
3. 《
Magic Leap Patent | Methods And Systems For Diagnosing And Treating Presbyopia(Magic Leap专利:用于诊断和治疗老花眼的方法和系统)
》
专利描述了用于卫生系统和各种医疗保健应用的配置,如用于患者诊断,监测和/或治疗。所述的健康系统可包括:光产生模块,其用于将光或图像传输给用户;一个或多个传感器,用于检测用户身体的生理参数,包括他们的眼睛;以及处理电路,其用于分析输入并确定一种或多种健康状况或缺陷。
4. 《
Magic Leap Patent | Apparatus For Optical See-Through Head Mounted Display With Mutual Occlusion And Opaqueness Control Capability(Magic Leap专利:具有相互遮挡和不透明度控制能力的光学透视头显)
》
专利描述了一种紧凑型光学透视头显,其能够将透视图像路径与虚像路径组合,从而可以调制透视图像路径的不透明度,并且虚拟图像遮挡部分透视图像,反之亦然。
5. 《
Magic Leap Patent | Light Field Processor System(Magic Leap专利:光场处理器系统)
》
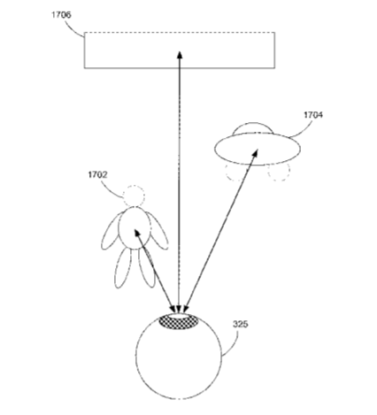
专利描述了一种眼戴设备。所述设备可以包括一个面向外部的头戴式光场摄像头,其用于接收来自用户周围环境的光线并生成数字光场图像数据。所述设备同时可以包括光场处理器,其访问数字光场图像数据,获取用户眼睛的视力参数,并基于光场图像数据将正或负屈光度的计算值引入到数字光场图像数据中。根据视力参数生成修改后的数值光场图像数据。所述设备同时可以包括头戴式光场显示器,从而生成与修改后的数字光场图像数据相对应的物理光场。
6. 《
Magic Leap Patent | Adjusting Pixels To Compensate For Spacing In Augmented Or Virtual Reality Systems(Magic Leap专利:调整像素以补偿增强或虚拟现实系统中的间距)
》
专利描述的显示设备包括可安装在用户头部上的外壳框架,可安装在外壳框架的透镜,以及耦合至所述外壳框架的投影子系统。至少部分地根据对用户头部运动的检测和对用户头部运动的预测中的至少一项来获取用户视场,并相应地投影显示对象。
7. 《
Magic Leap Patent | Depth Sensing Techniques For Virtual, Augmented, And Mixed Reality Systems(Magic Leap专利:用于虚拟现实,增强现实和混合现实系统的深度感知技术)
》
专利描述了一种具有至少两种操作模式的传感器的系统和方法。所述传感器可以设置一系列的操作步骤,包括第一操作模式和第二操作模式。所述传感器同时可以设置有一个或多个虚拟操作步骤,所述虚拟操作步骤与第一操作模式和第二操作模式之间的差异有关。
8. 《
Facebook Patent | Millimeter Wave Hand Tracking(Facebook专利:毫米波手部追踪)
》
专利描述的一种系统包括可定位手套和姿势确定组件。可定位手套包括手套主体和多个定位应答器。定位应答器在耦合到手套主体,并且每个都重新发射接收到的信号。姿势确定组件包括多个天线和控制器件。每个天线都配置为接收由定位应答器重新发射的信号。天线彼此分开。控制器件通信地耦合到多个天线。
9. 《
Facebook Patent | Enhanced Visual Perception Through Distance-Based Ocular Projection(Facebook专利:通过基于距离的眼球投影增强视觉感知)
》
专利描述的显示设备包括一个显示单元二维阵列。每个显示单元包括像素的二维阵列和电光元件二维阵列所述设备包括一个或多个处理器,其配置为:获取对象的图像; 激活二维阵列显示单元的至少一个子集;并激活电光元件二维阵列的至少一个子。
10. 《
Facebook Patent | Multifocal System Using Pixel Level Polarization Controllers And Folded Optics(Facebook专利:使用像素级偏振控制组件和折叠光学器件的多焦点系统)
》
专利描述的头显包括光学组件,其可为从电子显示器发出的光线提供多个焦距。头显包括具有多个串联定位光学组件的多焦点结构。光学元件包括像素级偏振器,其定位成接收来自电子显示器的光线。像素级偏振器具有使像素级偏振器沿第一方向线性偏振的第一配置,以及使像素级偏振器沿第二方向线性偏振的第二配置。多焦点结构配置为部分地根据像素级偏振器的配置来输出不同焦距的图像光。
11. 《
Facebook Patent | Apochromatic Pancharatnam Berry Phase (Pbp) Liquid Crystal Structures For Head-Mounted Displays(Facebook专利:用于头显的复消色差Pancharatnam Berry Phase(Pbp)液晶结构)
》
用于调节或聚焦头显多个颜色通道光线的Pancharatnam Berry Phase(PBP)液晶结构包括多个PBP有源元件。每个PBP有源元件配置为用作对应颜色通道光线的半波片。另外,每个PBP有源元件用作剩余色彩通道光线的一个波片,使得其余色彩通道的光线基本不受影响地穿过PBP有源元件。这样,PBP结构能够以复消色差的方式均匀地调节多个颜色通道的入射光。
12. 《
Facebook Patent | Scanning Retinal Imaging System For Characterization Of Eye Trackers(Facebook专利:用于眼动仪表征的扫描视网膜成像系统)
》
专利描述的眼动仪表征系统包括扫描视网膜成像单元和控制组件。扫描视网膜成像单元表征由
眼动追踪
信息确定。扫描视网膜成像单元包括扫描光学组件和检测组件。扫描光学组件在用户眼睛视网膜区域扫描光线。检测器检测从视网膜区域反射的扫描光。控制器计算选定的眼动追踪信息与相应的眼动追踪参数之间的差异,并根据差异来表征选定的眼动追踪信息。
13. 《
Facebook Patent | Visual Editor For Designing Augmented-Reality Effects(用于设计AR特效的视觉编辑器)
》
在一个实施例中,用于设计增强现实效果的方法可以包括,接收虚拟对象的模型定义。可以根据模型定义在3D空间中渲染虚拟对象。系统可以从用户界面的第一显示区域中以第一视角显示虚拟对象。系统可以在用户界面的第二显示区域中以第二视角显示虚拟对象。系统可以接收用户通过第一显示区域输入的用户命令调整虚拟对象。
14. 《
Facebook Patent | Systems And Methods For Providing Augmented Reality Overlays(Facebook专利:提供增强现实叠加的系统和方法)
》
专利描述的系统,方法和非暂时性计算机可读介质可以识别摄像头视图所描绘的一个或多个对象。根据通过摄像头视图中识别的一个或多个对象,系统可以确定增强现实叠加。根据增强现实叠加,系统修改摄像头视图。
15. 《
Facebook Patent | Vertex Shift For Rendering 360 Stereoscopic Content(Facebook专利:用于渲染360度立体内容的顶点位移)
》
360度视频系统可以使用标准GPU渲染管道并根据虚拟环境渲染360度立体内容。在一些实施例中,为了提高生成360度立体内容的效率,可以使用顶点位移技术来在单个360度立体眼图中近似多个视点。在渲染虚拟环境时,可以移动虚拟环境的每个三角形,以从对应于所述三角形的视点表示视图。
16. 《
Facebook Patent | Foveated Rendering Display Devices And Methods Of Making The Same(Facebook专利:注视点渲染显示设备及其制造方法)
》
专利描述的显示设备包括具有第一发射区域,第二发射区域和第三发射区域的显示面板。第一发射区域被第二发射区域包围,第二发射区域被第三发射区域包围。显示面板包括布置在第一发射区域,第二发射区域和第三发射区域中的多个发光器。第一发射区域具有第一密度的发光器;第二发射区域具有第二密度的发光器,第二密度小于第一密度;并且第三发射区域具有第三密度的发光器,第三密度小于第二密度。
17. 《
Microsoft Patent | Enhanced Configuration And Control Of Robots(微软专利:强化的机器人配置和控制)
》
专利描述了用于提供强化的机器人配置与控制概念和技术。专利描述的配置为移动计算设备(如机器人)提供了用于理解和导航周围环境的资源。所述资源可以包括另一计算设备的传感器,所述另一计算设备可以是头戴式显示器。通过利用专利描述的技术,简单的低成本机器人可以理解并在复杂的环境中导航,并与障碍物和其他对象进行适当的交互。
18. 《
Microsoft Patent | Dynamic Transmitter Power Control For Magnetic Tracker(微软专利:电磁追踪器的动态发射器功率控制)
》
系统确定磁场信号的传输强度。磁场信号从第一磁传感器组件传输到第二磁传感器组件。然后,系统确定第一磁传感器组件和第二磁传感器组件之间的第一投影距离。至少部分地根据第一投影距离,系统为磁场信号计算调整后的传输强度。然后,系统使第一磁传感器组件发送调整后的磁场信号。调整后的磁场信号包括调整后的传输强度。系统从第二磁场组件接收调整后的磁场信号。至少部分地根据所接收的调整后的磁场信号,系统计算相对于第二磁传感器组件的第一磁传感器组件的第一姿态。
19. 《
Microsoft Patent | Smart Transparency For Virtual Objects(微软专利:用于虚拟对象的智能透明化)
》
专利描述的头显配置有传感器封装,所述传感器封装能够支持头部追踪并确定用户在混合现实或虚拟现实环境中与虚拟对象的接近度。含有同心布置的卷积外层的渐变卷积围绕用户放置,其包括离用户最近的近外层和离用户最远的远外层。当虚拟对象超出远外层时,头显呈现具有完全不透明度的对象,即没有透明度。当用户朝虚拟对象移动并且虚拟对象与远外层相交时,其不透明度开始逐渐消失,透明度增加并显示其背后的背景。当对象靠近近外层时,虚拟对象的透明度增加,当近外层触达虚拟对象时,对象变得完全透明,从而使得背景变得完全可见。
20. 《
Microsoft Patent | Method And System For Providing An Object In Virtual Or Semi-Virtual Space Based On A User Characteristic(微软专利:根据用户特征在虚拟或半虚拟空间中提供对象的方法和系统)
》
专利描述了一种根据与用户相关联的特征来在虚拟或半虚拟环境中提供虚拟对象的方法和系统。在一个实施例中,所述系统包括至少一个计算机处理器,以及存储指令的存储器,当至少一个计算机处理器执行指令时,系统执行一组操作,包括确定与虚拟或半虚拟用户相关联的特征,并根据所述特征提供虚拟对象。
21. 《
Microsoft Patent | Interacting With An Environment Using A Parent Device And At Least One Companion Device(微软专利:使用主设备和至少一个伴随设备来与环境进行交互)
》
专利描述了一种使用主计算设备和至少一个伴随计算设备来同时与环境交互的技术。在一个实施例中,主计算设备通过其与环境的交互来逐步构建主映射信息。所述技术利用主映射信息来识别伴随计算设备的当前姿态。例如,主计算设备将主映射信息发送到伴侣计算设备,然后伴侣计算设备根据主映射信息,以及伴侣计算设备所采集的传感器信息来确定其当前姿态。
22. 《
Microsoft Patent | Systems, Methods, And Computer-Readable Media For Using A Video Capture Device To Alleviate Motion Sickness Via An Augmented Display For A Passenger(微软专利:利用视频捕获组件并通过面向乘客增强显示器来减轻晕车症状)
》
专利描述的一种方法包括:从车辆的视频捕获组件接收车辆在行驶中时的外部视频数据;在面向乘客的显示设备显示对视频数据显示模式的请求,所述显示模式包括被动视频模式和主动视频模式;接收显示模式的选择;当选择被动视频模式时,显示对视频显示类型的请求;显示包括菜单的视频数据,所述菜单包括多个可选图标。
23. 《
Apple Patent | Method For Representing Virtual Information In A View Of A Real Environment(苹果专利:在真实环境视图中显示虚拟信息的方法)
》
用于在真实环境视图中呈现虚拟信息的方法包括提供具有地理全局坐标系位置与方向的虚拟对象,其中第一姿势数据关于虚拟对象的全局位置和方向,然后根据移动设备拍摄的真实环境图像来提供相应的第二姿势数据。这个方法同时包括在移动设备的显示器上显示图像,访问数据库中的虚拟对象,并基于第一姿势和第二姿势数据在图像中定位虚拟对象,操纵虚拟对象或添加另外的虚拟对象, 并提供修改了第一姿势数据的虚拟对象,或具有第三姿势数据的其他虚拟对象。
24. 《
Google Patent | Time-Warping Adjustment Based On Depth Information In A Virtual/Augmented Reality System(谷歌专利:基于深度信息的时间扭曲调整)
》
专利描述的技术包括确定每个像素的深度值,对帧图块的深度值进行下采样,从而获得多个下采样的深度值。根据多个下采样的深度值确定头部姿态的变化,并根据头部姿态的变化和下采样的深度值确定顶点的调整位置。根据调整后的顶点位置对帧进行调整深度的时间扭曲,从而获得深度经过调整的时间扭曲帧,并显示深度经过调整后的时间扭曲帧 。
25. 《
Google Patent | Separate Time-Warping For A Scene And An Object For Display Of Virtual Reality Content(谷歌专利:场景和对象的单独时间扭曲)
》
专利描述的示例技术可以包括:根据在场景渲染期间或之后接收的头部姿态信息,对虚拟现实内容的场景进行第一时间扭曲,从而获得经时间扭曲后的场景;根据在对象渲染期间或之后接收的对象姿态信息,对对象进行第二时间扭曲,从而获得经时间扭曲后的对象;显示设备显示基于时间扭曲场景和时间扭曲对象的合成图像。
26. 《
Sony Patent | Information Processing Device, Client Device, Information Processing Method, And Program(索尼专利:信息处理组件,客户端组件,信息处理方法及程序)
》
专利描述了一种信息处理组件,其包括:通过图像捕获单元获取真实空间图像的图像获取单元;根据现实空间用虚拟增强元素设置增强现实空间的设置单元;致使虚拟增强元素显示在屏幕中的控制单元。
27. 《
Sony Patent | Image Processing Apparatus, Image Processing Method, And Program(索尼专利:图像处理装置,图像处理方法及程序)
》
专利描述了一种图像处理装置,其包括存储指令的存储器,以及控制单元。控制单元配置为执行指令以检测真实空间的感兴趣对象的图像;检测对象图像相对应用户视角的方向;生成包括修改对象的图像的修改图像,修改后的对象图像的方向对应于期望的用户视角;并显示修改后的图像。
28. 《
Sony Patent | Display Device And Information Processing Terminal Device(索尼专利:显示组件和信息处理终端组件)
》
专利描述了一种配置为显示视频的显示组件,以及配置为控制视频传输的信息处理终端组件。当视频再现组件检测到用户的跳跃运动时,视频再现组件确定将视点位置移动到目标位置的指令,并且将停止从当前位置显示视频的请求发送到视频提供组件,并且将开始从目标位置显示视频的请求发送到视频提供组件。
29. 《
Sony Patent | Digital Inter-Pupillary Distance Adjustment(索尼专利:数字瞳孔间距调整)
》
可以根据用户的瞳孔间距调整立体视觉感知系统。软件生成的校准图像可以呈现在具有两个光学元件的显示器中。可以调整用于显示校准图像的一项或多项设置,所述设置与用户的瞳孔间距有关。当用户感觉一个或多个设置的校准图像为可接受时,从用户接收输入。然后确定对应于一个或多个设置的瞳孔间距值。确定的瞳孔间距值用于呈现后续的软件生成图像。
30. 《
Sony Patent | Optical Device, Display Device, And Method For Manufacturing Light Emitting Element(索尼专利:光学组件,显示组件及发光元件的制造方法)
》
专利描述的显示组件包括框架和图像显示组件。图像显示组件包括图像形成器件,导光器件和透镜系统。图像形成组件包括以二维矩阵布置的发光器件。每个发光器件具有层叠结构,层叠结构包括至少一个发光层叠体,每个层叠体包括第一电极,第二电极,以及设置在第一电极和第二电极之间的发光层。
31. 《
Sony Patent | Information Processing Apparatus And Information Processing Method(索尼专利:信息处理组件和信息处理方法)
》
专利描述的信息处理组件包括配置成获取说明真实对象和虚拟对象之间的空间关系的信息,并根据获取的信息开始生成用户反馈的信息。当真实对象和虚拟对象之间的空间关系改变时,用户反馈的特征同时会发生改变。
32. 《
Sony Patent | Information Processing Apparatus And Information Processing Method(索尼专利:信息处理组件和信息处理方法)
》
专利描述了能够执行校准以提高注视点检测精度,同时不会导致用户感到压力的信息处理组件。所述信息处理组件包括:在校准期间改变注视点标记显示位置的标记控制单元;计算光轴向量的计算处理单元;以及评估光轴矢量变化的评估单元。
33. 《
Sony Patent | Controlling Image Processing Device To Display Data Based On State Of Object In Real Space(索尼专利:控制图像处理组件根据对象在现实空间中的状态显示数据)
》
专利描述了一种信息处理组件,所述信息处理组件包括识别单元。所述识别单元配置为识别真实空间中的对象,以便系统根据真实空间的三维数据将对象与背景区分开,从而生成通过改变对象状态而获得的虚拟对象图像。
34. 《
Intel Patent | Focus Adjustment Method And Apparatus(英特尔专利:焦点调整方法和装置)
》
专利描述的虚拟现实设备包括显示器,可调节透镜和焦点传感器。焦点传感器可以用于测量眼睛和显示器之间的距离,或者眼睛是否能够聚焦来自显示器的图像。用户可以提供屈光度校正。然后,虚拟现实设备可以根据眼睛与显示器之间的距离,或眼睛是否能够聚焦来自显示器的图像中的至少一个来调整可调节透镜的光学倍率。焦点传感器可以发射编码的电磁辐射,并确定其飞行时间,从而判断眼睛和显示器之间的距离,或眼睛是否能够聚焦来自显示器的图像。
35. 《
Intel Patent | Radar Channel Switching For Wi-Fi Virtual Reality(英特尔专利:用于Wi-Fi虚拟现实的雷达通道切换)
》
专利描述了将雷达信道用于虚拟现实流式传输的系统和方法。一种方法可以包括:通过雷达信道将虚拟现实内容发送到头显;检测雷达信道上的信号;利用虚拟现实子系统和无线组件之间的接口,将信道切换反馈传输到虚拟现实子系统。所述方法可以包括根据信道切换反馈来修改虚拟现实内容。
36. 《
AMD Patent | Method And Apparatus Of Image Processing(AMD专利:图像处理方法和装置)
》
专利描述了一种预计算的方法和装置,包括由第一图像捕获组件捕获第一图像。系统定义第一图片的图片空间,并对图片空间中的像素进行有效性分析。将有效像素存储为有效像素组,并对有效像素组进行处理。
0