/ Nweon / 0浏览

2019年10月09日美国专利局最新AR/VR专利报告



映维网
2019年10月09日

)近期美国专利及商标局公布了一批全新的AR/VR专利,以下是映维网的整理(详情请点击专利标题),一共32篇。更多专利披露请访问映维网专利板块
https://patent.nweon.com/
进行检索,也可加入映维网AR/VR专利交流微信群。


1. 《
Magic Leap Patent | Augmented And Virtual Reality Display Platforms And Methods For Delivering Health Treatments To A User(Magic Leap专利:为用户提供健康诊疗的增强现实和虚拟现实显示平台和方法)

专利描述了用于卫生系统和各种医疗保健应用的配置,如用于患者诊断,监测和/或治疗。所述的健康系统可包括:光产生模块,其用于将光或图像传输给用户;一个或多个传感器,用于检测用户身体的生理参数,包括他们的眼睛;以及处理电路,其用于分析输入并确定一种或多种健康状况或缺陷。


2. 《
Magic Leap Patent | Methods And Systems For Multi-Element Linkage For Fiber Scanning Display(Magic Leap专利:用于光纤扫描显示器的多元件链接的方法和系统)

专利描述了一种用于扫描电磁成像辐射的多元件纤维扫描仪,其包括基底和第一光纤链路,所述第一光纤链路沿平行于纵轴的方向穿过基底。第一光纤链路可操作地耦合到至少一个电磁辐射源。所述多元件光纤扫描仪同时包括多个附加的连接件,所述附加的连接件连接到所述基座并从所述基座延伸。


3. 《
Magic Leap Patent | Waveguides Having Reflective Layers Formed By Reflective Flowable Materials(Magic Leap专利:具有由反射性可流动材料形成的反射层的波导)

专利描述了包含反射性可流动材料,例如包括反射性油墨和/或液态金属的反射性液体。在一些实施例中,表面与反射性可流动材料接触,从而在所述表面形成反射层。在一些实施例中,所述表面是波导的表面,例如用于显示装置的波导。一些实施例包括显示装置,所述显示装置包括反射性可流动材料的反射层。


4. 《
Magic Leap Patent | Fabricating Non-Uniform Diffraction Gratings(Magic Leap专利:制造非均匀衍射光栅)

专利描述了一种制造非均匀光栅的方法,所述方法包括将不同密度的离子注入到基板的相应区域中,例如通过光刻在基板上的抗蚀剂层进行图案化,用图案化的抗蚀剂层蚀刻基板,然后去除抗蚀剂层。所述光栅具有与离子的不同密度有关的非均匀特性。所述方法可以进一步包括纳米压印光刻法。


5. 《
Facebook Patent | Segmented Backlight For Liquid Crystal Display(Facebook专利:液晶显示器的分段背光)

专利描述了具有可单独控制的分段背光单元的液晶显示器。在一个或多个实施例中,液晶显示器包括分组为多个液晶部分的液晶层;以及耦合至液晶层的背光。背光源包括多个背光源单元,其中每个背光源单元面对对应的液晶部分,并且配置为向对应的液晶部分投射光线。


6. 《
Facebook Patent | Near-Ocular Display Based On Hologram Projection(Facebook专利:基于全息投影的近眼显示)

显示设备包括分块的二维阵列。每个分块包括像素的二维阵列,以及所述二维阵列中的透镜。 每个像素配置为输出光线,使得像素的二维阵列输出各自的光图案。每个透镜配置为相应图案的至少一部分引导到用户的瞳孔。所述显示装置同时包括一个或多个处理器,所述处理器配置为获得用于在视网膜形成非变换图像的变换图像。


7. 《
Facebook Patent | Backlight Modulation For Liquid Crystal Display With Eyetracking For Virtual Reality(Facebook专利:用于具有眼动追踪功能的虚拟现实液晶显示器的背光调制)

头显系统包括显示设备和
眼动追踪
仪。所述显示装置包括:液晶面板;背光单元;以及数据驱动器。在从照明开始时间起的一帧周期的照明周期内,背光单元发光,并且在帧周期的其余部分不发光。眼动追踪仪确定显示设备用户在显示设备中的视线区域。照明开始时间根据用户的视线区域的位置而变化。


8. 《
Facebook Patent | Apparatuses, Systems, And Methods For Selectively Suppressing Ambient Light In An Image Sensor(Facebook专利:选择性抑制环境光的设备,系统和方法)

专利描述的成像装置可以包括:孔径;定位成将通过孔径接收的光线导向图像传感器前侧的透镜;以及图像传感器。图像传感器可包括:含有光敏材料并能产生电流的光捕获层;将产生的电流传导到电流吸收器的传导路径,以及包括至少一个的图像传感器层的图像传感器元件。


9. 《
Facebook Patent | 3-D 360 Degrees Depth Projector(Facebook专利:3D 360度深度投影仪)

专利描述了一种相机系统,其配置为生成局部区域的深度信息。所述相机系统包括以球形布置的多个深度摄像头子组件。每个子组件包括将结构化光图案投影到局部区域的投影仪,从而使得多个子组件的投影光图案形成覆盖局部区域360度的平铺光图案。每个子组件同时包括至少一个摄像头,所述摄像头配置为捕获局部区域的图像。


10. 《
Facebook Patent | Depth Mapping With A Head Mounted Display Using Stereo Cameras And Structured Light(Facebook专利:头显利用立体摄像头和结构化光源进行深度映射)

增强现实头显包括深度摄像头组件,所述组件结合立体成像与结构化光以生成目标区域的深度信息。深度摄像头组件包括至少两个图像捕获器件和结构光照明器,并根据信噪比或一个或多个摄像头捕获的图像的空间变化来确定成像模式。不同的成像模式对应于一个或多个图像捕获器件和结构光照明器的不同操作。深度摄像头组件包括各自对应于成像模式的不同范围的信噪比。


11. 《
Facebook Patent | Estimating Room Acoustic Properties Using Microphone Arrays(Facebook专利:使用麦克风阵列估算房间的声学特性)

音频分析系统从原始音频组件接收语音信号的第一记录,并从音频接收组件接收语音信号的第二记录。语音信号源自始发音频组件的说话用户,并且第二记录由另一用户操作的音频接收组件记录。 源音频组件和音频接收组件都位于一个房间内。音频分析系统选择第一记录中的一个或多个音频帧和第二记录中的一个或多个音频帧,其中它们都在同一时间段内发生。音频分析系统部分地根据所述一个或多个音频帧来确定房间的传递函数。


12. 《
Microsoft Patent | Navigation And Interaction Controls For Three-Dimensional Environments(微软专利:用于三维环境的导航和交互控制)

专利描述的技术可允许用户能够定位,查看,控制和修改虚拟环境的对象。所述技术可以包括生成提供二维显示的图形用户界面。所述技术同时可以提供用于更改二维显示预定高度的用户界面控件。由于控件用于选择新的高度,所以可以更新二维显示以显示不同的高度。在一些实施例中,二维显示使得用户能够移动虚拟现实环境中的对象。所述显示同时可以突出显示选择对象,从而使得用户可以轻松定位所需的对象和位置。


13. 《
Microsoft Patent | Ipd Correction And Reprojection For Accurate Mixed Reality Object Placement(微软专利:用于精确放置混合现实对象的IPD校正和二次投影)

专利描述了拥有优化透视可视化的方法。确定头显用户的瞳孔间距离,并且使用具有左右摄像头的立体相机来捕获原始图像。 由左摄像头捕获的图像中心线透视与由右摄像头捕获的图像中心线透视具有非平行对准。在捕获原始图像后,对图像应用各种图像失真校正,从而创建校正的图像。然后将对极变换应用于校正图像,从而创建具有平行中心线透视的变换图像。接下来,生成变换图像的深度图。最后,重新投影变换后的左右图像,并生成和渲染左右透视可视化影像。


14. 《
Microsoft Patent | Live Pictures In Mixed Reality(微软专利:混合现实中的实况图片)

专利描述了一种实时图像信息叠加方法和系统。系统不断尝试检测混合现实环境中的面部图像。一旦检测到面部,系统将识别其边缘或边界,然后生成画布对象,直接再与面部重合。接下来,系统可以通过面部识别来确定其身份。最后,与所识别人物相关联的信息将应用于画布,并叠加在用户的混合现实视图之中。


15. 《
Microsoft Patent | Authoring And Presenting 3d Presentations In Augmented Reality(微软专利:在增强现实中创作和呈现3D演示文稿)

专利描述的各种方法和系统可用于创作和呈现3D演示文稿。用户和观众的增强现实或虚拟现实设备包括3D演示软件。在创作模式期间,一个或多个用户可以使用3D和/或2D界面来生成3D演示。在呈现模式期间,在每个用户设备中加载3D内容,并且以协调的方式在用户设备之间呈现3D asset的3D图像和相应的asset行为。这样,一个或多个演示者可以向多位佩戴增强现实头显的用户呈现3D演示文稿。


16. 《
Microsoft Patent | Complexity Reduction Of Objects Via Cavity Removal(微软专利:通过移除腔孔来降低对象的复杂度)

专利描述了移除三维对象细节的系统和方法。通过移除腔孔来降低复杂性可以减少存储,转移和渲染成本,同时不会对质量产生不利影响,并且能够以自动化方式实现。在某些示例中,以分层的方式删除3D对象内部和外部的距离场,并通过添加新对象表面来密封腔孔。


17. 《
Apple Patent | Eye Tracking Device And Method For Operating An Eye Tracking Device(苹果专利:眼动追踪组件及用于操作眼动追踪组件的方法)

这项发明涉及一种头戴式眼动追踪设备,其主要用于确定至少一只眼睛的至少一个第一特征。头戴式眼动追踪设备包括至少一个捕获组件,其用于捕获由用户至少一只眼睛反射的光线。至少一个光学元件能够改变通过光学元件的光线传播方向。另外,专利介绍了一种利用头戴式眼动追踪设备来确定用户至少一只眼睛的至少一个第一特征的方法。


18. 《
Apple Patent | Method And System For Determining A Pose Of Camera(苹果专利:用于确定camera姿态的方法和系统)

一种用于确定camera相对于真实环境姿态的方法包括以下步骤:借助摄像头拍摄真实环境的至少一个图像,所述图像包含真实物体的至少一部分;执行追踪方法; 评估与真实对象相关联特征与真实对象对应特征之间的对应关系信息,以便获取关于cameta姿势的结论;确定至少一个关于环境情况的参数。 并根据至少一个参数执行追踪方法 类似地,所述方法同时可以用于识别摄像头图像中的真实环境对象。


19. 《
Google Patent | Object Occlusion To Initiate A Visual Search(谷歌专利:进行对象遮挡以启动视觉搜索)

专利描述了一种用于启动对象搜索的方法和设备。在一个实施例中,所述方法包括接收由头显摄像头记录的视频数据,其中视频数据至少包括第一帧和第二帧。所述方法同时包括根据视频数据检测第一帧中由指针组件界定的区域,以及根据视频数据检测第二帧中被指针组件遮挡的区域。所述方法同时包括在所述区域启动搜索。


20. 《
Google Patent | Compact Color And Depth Imaging System(谷歌专利:紧凑的颜色和深度呈现系统)

专利描述了用于深度成像的方法,系统和装置。一个方法包括:当图像传感器处于第一位置时,包括红外像素和彩色像素的图像传感器获取场景的第一图像;当图像传感器处于第二位置时,图像传感器获取场景的第二图像; 根据第一图像和第二图像生成合成图像,并根据合成图像确定到场景对象的估计距离。


21. 《
Google Patent | Adaptive Control For Immersive Experience Delivery(谷歌专利:沉浸式体验传输的自适应控制)

可以为诸如虚拟现实或增强现实应用生成场景的组合视频。在一种方法中,数据存储组件可以存储视频数据,其中第一部分具有第一重要性度量,第二部分具有第二重要性度量,所述重要性度量表示用户更有可能浏览第一部分。可以检索子集并用于生成视点视频。可以在显示设备显示视点视频。


22. 《
Sony Patent | Image Display Device And Image Display Method, Image Output Device And Image Output Method, And Image Display System(索尼专利:图像显示组件和图像显示方法,图像输出组件和图像输出方法及图像显示系统)

当由图像输出组件提供的原始图像视场0大于由用户查看的图像的视场D时,图像输出组件从原始图像切出具有视场D的区域并将其传送到图像显示组件。另外,当视场D等于或大于视场O时,图像输出组件将原始图像传递到图像显示组件。


23. 《
Sony Patent | Display Control Device, Display Control Method, And Computer Program(索尼专利:显示控制组件,显示控制方法及计算机程序)

专利描述了一种显示控制组件,其能够在用户使用透视式头显时保持用户安全并维护用户的视场。所述显示控制组件包括:情况获取单元,其配置为获取关于透视式显示器使用情况的信息;显示控制单元,其配置为利用由情况获取单元获取的信息对透视式显示器执行显示控制,使得透视式显示器所显示的信息变得清晰可见。


24. 《
Sony Patent | System, Method, And Device For Controlling A Display(索尼专利:用于控制显示器的系统,方法及组件)

专利描述的组件包括配置为从至少一个传感器获取与用户手指运动相对应的检测数据的电路。所述电路同时配置为根据所获取的数据来设置窗口。所述电路同时配置为根据用户执行的第二动作来识别手势,并根据所述手势来控制显示。


25. 《
Sony Patent | Method For Efficient Re-Rendering Objects To Vary Viewports And Under Varying Rendering And Rasterization Parameters(索尼专利:以不同渲染和光栅化参数将对象重新渲染至不同视口的方法)

图形处理使用多个不同渲染参数渲染场景。为多个区域的每个区域设置一个渲染参数情景,并为每个区域分配一个区域索引。在存储器中设置覆盖至少两个区域的对象。为所述对象发出绘制调用。备选地,处理描绘映射到屏幕区域的一个或多个对象的图形。屏幕区域包括多个区域,每个区域具有一组不同的渲染参数。


26. 《
Sony Patent | Paired Local And Global User Interfaces For An Improved Augmented Reality Experience(索尼专利:用于提升增强现实体验的配对本地用户界面和全局用户界面)

专利描述了用于提升增强现实体验的方法,系统和用户界面。 创建本地用户界面并将其显示在第一可见区域中。创建全局用户界面并将其显示在第二可视区域中,所述第二可视区域距用户比第一可视区域远。本地用户界面维持在第一空间位置,所述第一空间位置相对于用户身体一部分固定。全局用户界面维持在第二空间位置,所述第二空间位置相对于外部环境固定。


27. 《
Sony Patent | Systems And Methods For Reducing An Effect Of Occlusion Of A Tracker By People(索尼专利:减少人对追踪器遮挡影响的系统和方法)

专利描述了用于减少人对追踪器遮挡影响的系统和方法。当用户正在使用头显开游戏时,旁观者会遮挡用于追踪用户的追踪器视场,并导致游戏不能以正常的帧速率向用户显示。专利所述的系统和方法可以确定和识别遮挡的来源,并实施减少遮挡影像的操作。


28. 《
Nvidia Patent | Perceptually-Based Foveated Rendering Using A Contrast-Enhancing Filter(英伟达专利:使用对比度增强滤波器的基于感知的注视点渲染)

专利描述了一种用于利用注视点渲染算法和后处理滤波来渲染图像,从而增强注视点图像对比度的方法和系统。所述方法包括以下步骤:接收三维场景;根据注视点渲染算法来渲染3D场景,从而生成注视点图像;以及使用对比度增强滤波器对注视点图像进行滤波,以生成滤波后的注视点图像。注视点渲染算法可以结合coarse pixel shading,mipmapped纹理贴图,线性有效的抗锯齿法线贴图,指数方差阴影图,以及镜面抗锯齿技术。注视点渲染算法同时可以结合时间抗锯齿技术以进一步减少注视点图像中的伪影。


29. 《
Intel Patent | Blind Spot Rendering Optimizations For Eye Tracking Head Mounted Displays(英特尔专利:用于支持眼动追踪功能的头显的盲点渲染优化)

专利描述了用于支持眼动追踪功能的头显的盲点渲染优化。在一个实施例中,一种装置包括:用于从眼动追踪系统接收眼动追踪数据的第一逻辑;用根据眼动追踪数据来确定场景盲点区域的第二逻辑;以及向渲染器提供用于盲点区域的识别数据的第三逻辑。渲染器配置为以相对于场景其余部分较低的渲染质量来渲染位于盲区区域内的场景像素。


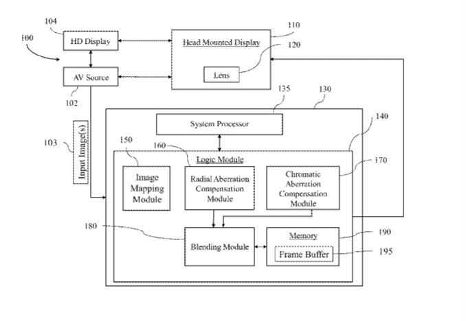
30. 《
Intel Patent | Distortion Meshes Against Chromatic Aberrations(英特尔专利:用于色差的畸变网格)

专利描述了提供多个畸变网格以补偿由光学透镜产生的色差的系统和方法。多个畸变网格可以包括不同的透镜特定参数,其允许畸变网格补偿产生的色差。多个畸变网格可以对应于红色通道,绿色通道或蓝色通道。


31. 《
Intel Patent | Text Enhancements For Head-Mounted Displays(英特尔专利:用于头显的文本增强)

专利描述了用于在增强现实内容中实现文本增强的各种系统和方法。一种用于实现内容增强的头显系统包括透视显示设备,所述透明显示设备向用户显示增强现实内容,所述增强现实内容以初始格式显示。所述头显系统同时包括加速度计,以及用于检测触发事件的控制组件。所述触发事件基于由加速度计测量的头显运动。头显系统在检测到触发事件时呈现增强现实内容的增强版本。


32. 《
Intel Patent | Overhead Communications With Wireless Wearable Devices(英特尔专利:无线可穿戴设备的Overhead Communication)

专利描述了与无线可穿戴设备相关的Overhead Communication。示例性架空无线传输接口设备包括待安装在可穿戴设备上方的固定装置,其中可穿戴设备包括第一天线,以及与第二天线相关联的基站,第二天线耦合到固定装置并且与第一天线无线通信,其中第一天线或第二天线中的至少一个属于圆极化或分集极化。

0

  1. This post has no comment yet

发表回复

您的邮箱地址不会被公开。 必填项已用 * 标注