(
映维网
2019年09月06日
)近期美国专利及商标局公布了一批全新的AR/VR专利,以下是映维网的整理(详情请点击专利标题),一共15篇。更多专利披露请访问映维网专利板块
https://patent.nweon.com/
进行检索,也可加入映维网AR/VR专利交流微信群。
1. 《
Facebook Patent | Portable Compute Case For Eyewear Devices(Facebook专利:用于眼镜设备的便携式计算机箱)
》
用于眼镜设备的便携式计算机箱可包括无线收发器,以及含有至少一个处理器的计算组件。便携式计算机箱可以配置为容纳眼镜装置;通过无线收发器建立便携式计算机箱和眼镜设备之间的通信连接;使用计算组件生成处理后的传感器数据;并且通过无线收发器将处理后的传感器数据发送到眼镜设备并供眼镜设备显示。
2. 《
Facebook Patent | Image Segmentation With Touch Interaction(Facebook专利:触摸交互的图像分割)
》
在一个实施例中,一种方法包括检测图像中的一个或多个对象;为每个检测到的对象生成至少一个掩模,其中每个掩模由边界定义;对检测到的对象进行分类;接收与图像相关的手势输入;确定与手势输入相关联的一个或多个位置是否与任何掩模相关,并响应于手势输入提供关于图像的反馈。 每个掩模可以包括标识对应检测对象的数据,并且每个掩模的边界可以对应于对应检测对象的周长。所述边界可以将检测对象分割开来。
3. 《
Facebook Patent | Digital Pixel Array With Adaptive Exposure(Facebook专利:具有自适应曝光的数字像素阵列)
》
专利描述了用于光感测的方法和系统。在一个示例中,一种装置包括像素单元阵列和控制组件。像素单元阵列的每个像素单元包括:配置为在接收入射光时产生电荷的光电二极管;配置为累积由光电二极管产生的电荷的电容器。控制组件配置为:开始曝光时段以致使电容器累积电荷;根据确定至少一个像素单元累积的电荷量超过预定阈值:结束曝光时段以致使电容器停止累积电荷,根据在曝光时段内电容器所累积的电荷,为每个像素单元生成输出像素值;并提供输出像素值以生成图像帧。
4. 《
Facebook Patent | Apparatus, Systems, And Methods For Sharing Power Between Devices Via Wearers’ Bodies(Facebook专利:通过用户身体为设备供能的装置,系统和方法)
》
专利描述的头戴式能量采集装置可包括:可利用直流电操作的电子组件;人体耦合器,其包括第一电极和第二电极,并且配置为传导人造身体约束信号 ;电连接到人体耦合器并配置为接收人造身体约束信号的接收子系统;以及耦合到接收子系统并配置为将所述信号转换为直流电的整流子系统。
5. 《
Microsoft Patent | Dynamic Sensor Performance Adjustment(微软专利:动态传感器性能调整)
》
专利描述了用于优化系统负载的系统。所述系统配置为从传感器组内的每个传感器接收传感器数据,并对接收的传感器数据进行分类。另外,所述系统配置为识别与每个传感器相关联的负载属性,并根据与每个传感器相关联的类别和负载属性来调整至少一个传感器的状态。
6. 《
Microsoft Patent | Vestibular Anchoring(微软专利:前庭锚定)
》
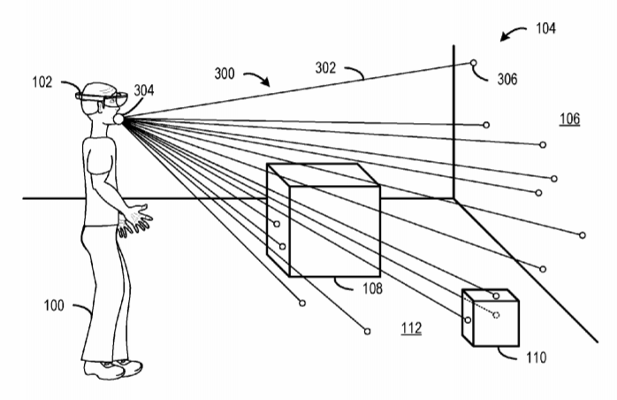
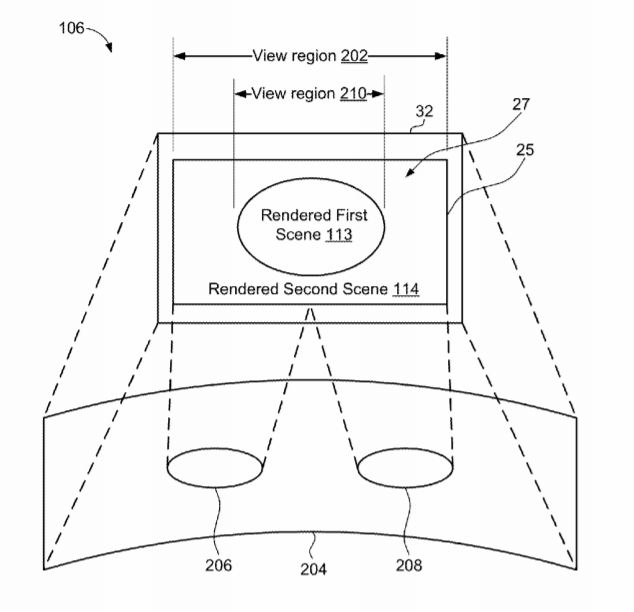
用于渲染虚拟现实图像的方法和设备可以包括,从追踪用户头部位置和取向的位置追踪系统接收头部运动信息,以及接收独立于头部运动信息的虚拟运动信息并用于虚拟现实模拟。所述方法和设备可以包括根据虚拟运动信息和头部运动信息生成虚拟现实模拟的第一场景。所述方法和设备同时可以包括根据头部运动信息生成一组视觉提示,并且渲染包括所述视觉提示和虚拟现实模拟的第一场景的帧。所述方法和设备可以包括发送虚拟现实模拟的帧并显示设备中进行呈现。
7. 《
Microsoft Patent | Displaying Content Based On Positional State(微软专利:根据位置状态显示内容)
》
专利描述了一种计算系统,其包括含有至少第一显示组件和第二显示组件的多个显示组件。计算系统同时可包括一个或多个传感器,其配置为检测第一显示组件相对于第二显示组件和至少一个用户的第一位置状态。第一位置状态可以包括第一显示组件相对于第二显示组件的角度取向。计算系统同时可包括配置为从一个或多个传感器接收第一位置状态的处理器。处理器同时可以配置为至少部分地根据第一位置状态来生成第一图形内容。处理器同时可以配置为发送第一图形内容并在第一显示组件显示。
8. 《
Microsoft Patent | View Augmentation In Multiscreen Environment(微软专利:多屏幕环境中的视图增强)
》
专利描述的技术涉及多屏幕环境。在一个示例中,注册表包括多个情景模式。多个情景模式中的每个情景模式包括情景模式输入和情景模式输出。从第一应用程序接收情景数据。情景数据包括与多屏幕环境中的视图增强相关联的情景模式输入或情景模式输出中的至少一个。根据注册表,至少部分地确定情景数据是否有效。根据确定情景数据有效,将情景数据转发到至少第二应用程序。第二个应用程序与第一个应用程序分开。
9. 《
Microsoft Patent | Emulating Spatial Perception Using Virtual Echolocation(微软专利:用虚拟回声定位模拟空间感知)
》
专利描述了一种配置为执行虚拟回声定位的头显示例。根据头显在物理环境中的姿态所衍生的位置,头显配置为在所述位置以特定角度投射光线阵列;利用物理环境的虚拟模型识别光线的多个交叉点;对于每个识别的交叉点,根据与交叉点相对应的头部相关传递函数修改音频信号,从而产生多个空间化音频信号;对于每个空间化音频信号,根据相应交叉点与投射光线位置之间的距离确定飞行时间调整;并根据飞行时间调整将每个空间化音频信号输出到一个或多个扬声器。
10. 《
Apple Patent | Head-Mounted Display Apparatus For Retaining A Portable Electronic Device With Display(苹果专利:可容纳带有显示屏的便携式电子设备的头戴式显示装置)
》
专利描述了一种允许用户将手持便携式电子设备与单独的头戴式设备耦合和分离的系统和方法。便携式电子设备可以物理耦合至头显设备。便携式电子设备和头显设备可以彼此通信和操作。可以允许每个设备将其功能和/或服务扩展到另一个设备,以便增强,增加和/或消除头显设备和便携式电子设备之间的冗余功能。
11. 《
Google Patent | Active Lcd Shutters For Virtual And Augmented Reality Low Persistence(谷歌专利:用于实现虚拟现实和增强现实低视觉暂留的有源LCD快门)
》
头显设备包括耦合到同步模块的一个或多个有源快门。同步模块包括第一光电二极管,第一光电二极管配置为检测用于控制一个或多个有源快门操作的同步信号。一个或多个主动快门配置为在允许光线通过打开状态和禁止光线通过的关闭状态之间交替切换,从而减少移动设备显示屏的占空比。
12. 《
Google Patent | Lightguide Optical Combiner For Head Wearable Display(谷歌专利:用于头显的光导光学组合器)
》
用于头显的目镜包括用于引导显示光并沿查看区域发射显示光的光导组件。光导组件包括:定向成在外围位置将显示光接收到光导组件中的输入表面;设置成反射显示光的第一折叠表面;设置成反射来自第一折叠表面的光线的第二折叠表面;与第二折叠表面相对设置,并用于发射来自第二折叠表面的光线的眼向表面;以及在查看区域具有屈光率,用于接收来自眼向表面的光线,并且法身显示光线的曲面反射表面。
13. 《
Valve Patent | Controlling Image Display Via Real-Time Compression In Peripheral Image Regions(Valve专利:通过外围图像区域中的实时压缩来控制图像显示)
》
专利描述了控制图像显示的技术,方法是在一些图像区域中压缩图像数据并同时在其他图像区域(如外围视图)中执行较少压缩或不压缩。所述技术可以用于头显的显示面板。可以通过追踪用户注视点来确定以最高分辨率级别编码和显示数据的主要图像区域,并将主要图像区域之外或周围的区域选为次要图像区域。
14. 《
Sony Patent | Building Virtual Reality (Vr) Gaming Environments Using Real-World Virtual Reality Maps(索尼专利:利用真实世界的虚拟现实映射来构建虚拟现实游戏环境)
》
专利描述了一种用于构建游戏环境的方法。所述方法包括从第三方映射数据存储器访问真实世界环境的基础VR模型,其中真实世界环境包括多个现实世界对象。所述方法包括增加基础VR模型中的第一对象,所述第一对象对应于现实世界环境中的第一现实世界对象。所述方法包括增强的第一对象拼接至基础VR模型并以生成增强的基础VR模型。所述方法包括将增强的基础VR模型存储到库数据存储器,所述库数据存储器包括多个增强的基础VR模型。所述方法包括使用多个增强的基础VR模型中的一个或多个来定义游戏应用的虚拟环境。
15. 《
Sony Patent | Imaging Optical System, Camera Module, And Electronic Device(索尼专利:成像光学系统,摄像头模块及电子设备)
》
专利描述的成像光学系统包括:透镜;光学构件,其中光学构件构造成周边部分的透光率值大于在中心部分的透光率值。另外,专利描述的摄像头模块包括所述的成像光学系统。另外,专利描述的电子设备包括固态成像元件和所述的成像光学系统。
0