/ Nweon / 0浏览

2019年08月28日美国专利局最新AR/VR专利报告



映维网
2019年08月28日

)近期美国专利及商标局公布了一批全新的AR/VR专利,以下是映维网的整理(详情请点击专利标题),一共22篇。更多专利披露请访问映维网专利板块
https://patent.nweon.com/
进行检索,也可加入映维网AR/VR专利交流微信群。


1. 《
Oculus Patent | Trial Frame(Oculus专利:试用架)

专利描述了一种用于确定对象主观屈光度的试镜架,后者包括两个镜片支架装置,一个附接至镜头支架装置的鼻梁架,一个可枢转且可调节高度的鼻托装置,以及两个可调节长度和高度的镜腿。试镜架包括两个偏振滤光器装置,偏振滤光器装置具有圆形或线状偏振滤光器,枢轴用于扭出扭进圆形或线状偏振滤光器,用于旋转偏振滤光器的旋转装置,每个可拆卸的偏振滤光器装置连接至镜片支架装置。


2. 《
Magic Leap Patent | System For Waveguide Projector With Wide Field Of View(Magic Leap专利:具有宽视场的波导投影仪系统)

设置在眼镜中的波导显示器包括第一出瞳扩展器组件和第二出瞳扩展器组件。第一出瞳扩展器组件投射由第一视场限定的第一图像,第二出瞳扩展器组件设置在第一光瞳扩展器组件附近,并且投射由第二视场限定的第二图像。


3. 《
Facebook Patent | Systems And Methods For A Projector System With Multiple Diffractive Optical Elements(Facebook专利:具有多个衍射光学元件的投影系统的系统和方法)

专利描述的系统可包括光源;与光源光学耦合的第一衍射光学元件(DOE),其产生第一衍射光图案;至少一个附加DOE,其与第一DOE串联并产生至少一个附加的衍射光图案;致动器,其可响应于第一致动器控制信号并在垂直于光轴的第一平面中移动第一DOE ;与第一DOE和至少一个附加DOE光学耦合的透镜。根据第一衍射光图案和至少一个附加衍射光图案,所述透镜投射结构光。


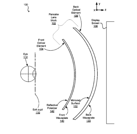
4. 《
Facebook Patent | Head Mounted Display Including Pancake Lens Block(Facebook专利:包含Pancake透镜模块的头显)

专利描述的头显包括显示器和Pancake透镜模块。所述显示器具有圆偏振器,并包括初始线性偏振器和第一四分之一波片。Pancake透镜包括部分反射器,第二四分之一波片和分束偏振器。Pancake透镜接收来自显示器的偏振光。通过Pancake透镜传播的光线经历多次反射和透射。为了减轻杂散光降低头显的图像质量,第一四分之一波片的快光轴方向相对于第二四分之一波片取向为90度。通过这样的方式,第一偏振器的透射轴相对于分束偏振器取向为90度。


5. 《
Facebook Patent | Apparatuses, Systems, And Methods For Representing User Interactions With Real-World Input Devices In A Virtual Space(Facebook专利:用于在虚拟空间中表示用户与真实世界输入设备交互的设备,系统和方法)

用于键盘的键组件可以包括键帽,键帽包括耦合到控制组件的触控传感器。当触控传感器感测到触控事件时,触控传感器可以向控制组件发送触控信号,并且当触控传感器感测到没有触控时,触控传感器可以向控制组件发送控制信号。


6. 《
Facebook Patent | Scanned Microled Array For Waveguide Display(Facebook专利:用于波导显示的扫描微阵列)

专利描述的波导显示器包括光源组件,输出波导,以及一个控制组件。光源组件包括光源和光学系统。光源包括以1D或2D阵列布置的光源元件。光学系统包括扫描镜组件,其根据扫描指令将图像光扫描到特定位置。输出波导接收来自扫描镜组件的扫描图像光并输出扩展的图像光。在一些实施例中,波导显示器包括源波导和光源元件的1D阵列。源波导接收来自光源组件的调节图像光。控制组件生成扫描指令并将扫描指令提供给扫描镜组件。在一些实施例中,控制组件将扫描指令提供给源波导的致动器组件。


7. 《
Facebook Patent | Methods And Systems For Synchronizing Data Streams Across Multiple Client Devices(Facebook专利:同步多个客户端设备数据流的方法和系统)

电子设备具有一个或多个处理器,显示器和存储器。存储器存储配置为由一个或多个处理器执行的一个或多个程序。所述设备从内容分发网络接收包括一个或多个视频片段的程序清单。电子设备解析程序清单,并识别视频时间线。电子设备从
社交
网络服务器接收视频的播放偏移。根据播放偏移和视频时间线,电子设备确定视频片段的播放位置。


8. 《
Facebook Patent | Audio Source Clustering For A Virtual-Reality System(微软专利:虚拟现实系统的音源聚类)

专利描述了一种在虚拟环境中聚类音频源的方法。设备识别虚拟环境中的两个音频源。对于两个音频源中的每一个,设备确定虚拟环境中的边界框。设备对边界框应用重叠测试,从而确定两个音频源是否位于同一房间中。设备根据用户位置到音频源点的光线形成角度。当两个音频源位于同一房间中,并且角度小于预定阈值角度时,设备将两个音频源聚类在一起,包括渲染两个音频源的组合音频。


9. 《
Microsoft Patent | Large-Field-Of-View Waveguide Supporting Red, Green, And Blue In One Plate(微软专利:支持红色,绿色和蓝色的大视场单波导面板)

专利描述了一种用于在单个波导中组合RGB光信号的光学组件。所述组件包括多个衍射光学元件(DOE)。第一DOE配置为以输入传输角接收光学信号,并根据光谱衍射光学信号,使得一个光谱在第一方向衍射并且第二光谱在第二个方向衍射。第一DOE配置为将光线衍射到第二DOE。第二DOE配置为将光线衍射到第三DOE。第三DOE配置为将光线衍射到视窗中。


10. 《
Microsoft Patent | Eye-Tracking With Mems Scanning And Optical Relay(微软专利:通过MEMS扫描和光继电器进行眼动追踪)

专利描述的
眼动追踪
系统包括配置成发射至少红外(IR)光的光源,以及配置成引导IR光的MEMS扫描镜。所述系统同时包括含有至少一个棱镜的继电器,并且继电器配置为接收由MEMS扫描镜引导的IR光和重定向IR光。所述系统同时包括波导,由中继器重定向的IR光通过所述波导并到达眼睛,并且至少一个传感器配置为接收被眼睛反射的IR光。


11. 《
Microsoft Patent | Low Latency Cross Adapter Vr Presentation(微软专利:低延迟交叉适配器VR展示)

专利描述的实施例涉及包括通过集显和独显渲染虚拟现实图像。独显可以接收连接头显的第一姿态信息。独显可以根据第一姿态信息渲染虚拟现实源图像。计算机设备可以将虚拟现实源图像从独显传输到集显。集显可以接收头显的第二更新姿态信息。集显可以根据第二更新姿态信息来调整虚拟现实源图像。计算机设备可以通过视频端口在头显显示调整后的虚拟现实图像。


12. 《
Microsoft Patent | Techniques For Predictive Prioritization Of Image Portions In Processing Graphics(微软专利:在处理图形时预计图像部分优先级的技术)

专利描述的示例涉及对图像的部分进行优先级排序。可以确定用于对场景图像部分进行优先级排序的概率字段,其中概率字段包括一组值。至少部分地根据概率字段中的一组或多组值,在处理图像时对图像部分进行优先级排序。


13. 《
Apple Patent | Display System With Tunable Lens Distortion Compensation(苹果专利:具有可调谐透镜失真补偿的显示系统)

头显或其他显示系统可以具有一对可调焦透镜。头显中的控制电路可以调节可调焦透镜,使得可调焦透镜呈现一系列不同的焦距。图形处理器可以生成未失真的图像帧。可调焦透镜在每个焦距位置呈现不同的透镜失真量。为了补偿不同的透镜失真量,失真补偿电路可以针对每个焦距对未失真图像帧预畸变适当的量。


14. 《
Google Patent | Automatic Detection Of Panoramic Gestures(谷歌专利:全景姿态的自动检测)

专利描述的实施例涉及通过计算设备捕获全景图像。例如,计算设备可以记录一组视频帧,并且可以确定两个或更多视频帧中出现的一个或多个追踪特征。计算设备可以确定一组基于追踪特征移位的特征。计算设备同时可以确定基于所述特征组的一组历史特征值。然后,计算设备可以根据历史特征值来确定用户是否正在尝试捕获全景图像。作为响应,计算设备可以捕获全景图像。


15. 《
Google Patent | Panoramic Camera With Multiple Image Sensors Using Timed Shutters(谷歌专利:包含多个图像传感器的全景相机)

在一个实施例中,用于全景拍摄的摄像装置包括定位成捕获第一图像的第一图像传感器。第一图像传感器具有以纵向方向布置的滚动快门。摄像装置同时包括定位成捕获第二图像的第二图像传感器。第二图像传感器具有以纵向排列的滚动快门读。摄像装置包括控制组件,其配置为在第一图像传感器完成捕获第一图像之前用信号通知第二图像传感器开始捕获第二图像。


16. 《
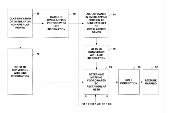
Qualcomm Patent | Stabilization And Rolling Shutter Correction For Omnidirectional Image Content(高通专利:全向图像内容的稳定和滚动快门校正)

专利描述了用于解决滚动快门延迟,并在某些情况下实现滚动快门稳定的技术。处理电路可以接收图像重叠部分的图像内容,并且可以调整图像内容直到重叠部分出现重叠。处理电路同时可以接收设备偏离共同参照物的信息。根据重叠图像内容,设备偏离共同参照物,以及非重叠部分中的图像内容,处理电路可以确定坐标到矩形网格的映射并生成等角矩形图像。


17. 《
Valve Patent | Electronic Controller With Hand Retainer And Finger Motion Sensing(Valve专利:包含手部保持器和手指运动感应的电子控制器)

专利描述的控制器包括固定到控制器主体的追踪构件。控制器主体具有邻接手柄的顶端组件,并且包括至少一个拇指操作控键。所述控制器同时包括手部保持器。手部保持器包括弹性构件,所述弹性构件附接到锚定固件,所述锚定固件通过调节机制附接到顶端组件。追踪构件包括通过电磁辐射耦合到电子系统的换能器。空间分布在手柄上的接近传感器可响应于用户的手指。


18. 《
Sony Patent | Hmd Transitions For Focusing On Specific Content In Virtual-Reality Environments(索尼专利:用于聚焦虚拟现实环境特定内容的头显转换)

专利描述了在头显屏幕呈现对象的方法和系统。所述方法包括接收头显用户附件的真实世界环境的图像。从头显的一个或多个前置摄像头接收图像,并且由处理器处理所述图像并在头显屏幕呈现。利用头显的一个或多个注视点检测摄像头来确定头显用户的注视方向。分析前置摄像头图像并识别与用户注视点方向一致的真实环境对象。其中,对象图像的渲染位置是在导致对象看似失焦的第一虚拟距离。产生信号以调节一个或多个前置摄像头的变焦系数,从而令对象对焦。缩放因子的调整使得对象图像以第二虚拟距离呈现在头显屏幕,所述第二虚拟距离允许用户可以辨别对象。


19. 《
Sony Patent | Image Processing Apparatus And Display Control Method(索尼专利:图像处理装置和显示控制方法)

专利描述了一种包括识别单元的装置,所述识别单元配置为识别图像中的真实对象。所述装置同时可包括:确定单元,其配置为确定说明识别稳定性的稳定性指示符;以及显示控制单元,其配置为根据稳定性指示符修改虚拟对象的显示。


20. 《
Sony Patent | Haptic Presentation Apparatus, Recognition Apparatus, Control Apparatus, And Haptic Presentation Method(索尼专利:触觉反馈呈现装置,识别装置,控制装置及触觉反馈呈现方法)

触觉反馈呈现装置包括致动器机制,传输机制,检测单元和识别单元。传输机制配置为利用由致动器机制引起的驱动力并将触觉信息传输给用户。检测单元配置为检测施加到致动器机制的负载量。 识别单元配置为根据负载量来识别用户相对于传输机制的接触状态。


21. 《
Nvidia Patent | Near-Eye Parallax Barrier Displays(英伟达专利:近眼视差屏障显示器)

在专利描述的实施例中,一种方法可以包括利用第一光线衰减空间光调制器显示狭缝阵列;利用第二光线衰减空间光调制器来显示预滤波的图像。方法是通过衰减周围环境光线以合成近眼光场,其中光线穿过第一光线衰减空间光调制器和第二光线衰减空间光调制器,并且使用狭缝阵列选择性地阻挡周围环境的光线,从而在所述近眼光场中产生虚像。


22. 《
Nvidia Patent | Adjusting An Angular Sampling Rate During Rendering Utilizing Gaze Information(英伟达专利:利用注视点信息调整渲染过程中的角度采样率)

专利描述了一种用于在渲染期间调整角度采样率的方法和系统。所述方法包括以下步骤:确定用户在显示场景中的注视点位置;以及在渲染场景期间,根据注视点位置调整用于渲染场景至少一部分的角度采样率。

0

  1. This post has no comment yet

发表回复

您的邮箱地址不会被公开。 必填项已用 * 标注