(
映维网
2019年08月09日
)近期美国专利及商标局公布了一批全新的AR/VR专利,以下是映维网的整理(详情请点击专利标题),一共20篇。更多专利披露请访问映维网专利板块
https://patent.nweon.com/
进行检索,也可加入映维网AR/VR专利交流微信群。
1. 《
Oculus Patent | Systems And Methods For Enhanced Depth Sensor Devices(Oculus专利:用于增强型深度传感器组件的系统和方法)
》
示例性深度成像组件包括具有光轴的光学传感器;定位成将来自场景的光聚焦到光学传感器的透镜;可变相位光学元件的矩阵,其大小设计成将不同的相位延迟引入光的波前;以及固定光学传感器和透镜之间的矩阵的外壳。所述组件同时包括耦合到处理子系统的通信总线,所述处理子系统光学传感器捕获场景的至少两个不同视角以创建说明场景内深度的输出图像。所述组件同时包括定位系统。光学组件可包括透镜,光学传感器或矩阵中的至少一个。
2. 《
Oculus Patent | Systems And Methods For Enhanced Optical Sensor Devices(Oculus专利:用于增强型深度传感器组件的系统和方法)
》
专利描述的成像组件可包括光学传感器,定位成将来自场景的光聚焦到光学传感器的透镜;可变相位光学元件的矩阵,其大小设计成将不同的相位延迟引入光的波前;以及固定光学传感器和透镜之间的矩阵的外壳。所述组件同时包括耦合到处理子系统的通信总线,所述处理子系统光学传感器捕获场景的至少两个不同视角以创建说明场景内深度的输出图像。所述组件同时包括定位系统。光学组件可包括透镜,光学传感器或矩阵中的至少一个。
3. 《
Oculus Patent | Apparatus, System, And Method For Mitigating Motion-To-Photon Latency In Head-Mounted Displays(Oculus专利:用于减少头显运动到光子延迟的装置,系统和方法)
》
专利描述了一种用于减少头显运动到光子等待时间的专用硬件组件。所述组件可包括图像信号处理器,其接收由头显摄像头组件捕获的至少一个图像帧。专用硬件组件同时可以包括接收计算机生成图像的输入格式化组件。专用硬件设备同时可以包括混合组件,其通过将计算机生成的图像叠加到图像帧来生成至少一个混合现实帧。专用硬件组件同时可以包括帧输出接口,所述帧输出接口将由混合组件生成的混合现实帧馈送到显示组件。
4. 《
Magic Leap Patent | Eye Center Of Rotation Determination, Depth Plane Selection, And Render Camera Positioning In Display Systems(Magic Leap专利:眼睛旋转中心的确定,深度平面选择,以及在显示系统中渲染camera定位)
》
显示系统可以包括头戴式显示器,所述头戴式显示器配置为将光线投射到用户眼睛。显示系统可以包括内朝向的成像系统和处理电子组件,所述处理电子设备与内朝向内的成像系统通信,并且配置为获取用户眼睛旋转中心的估计。显示系统可以利用定位在眼睛旋转中心位置的渲染camera来渲染虚拟图像内容。
5. 《
Magic Leap Patent | Architectures And Methods For Outputting Different Wavelength Light Out Of Waveguides(Magic Leap专利:用于波导输出不同波长光线的架构和方法)
》
专利描述了用于选择性地输出光线以形成图像的结构,所述光线具有不同的波长并且以低水平的串扰输出。在一些实施例中,光线耦合到波导中,被偏转并根据波长在不同方向上传播。然后,耦合的光线通过耦合光学元件向外耦合。在一些实施例中,滤色器位于波导和外耦合元件之间。滤色器限制与外耦合元件相互作用的耦出光线的波长。在其他实施例中,为要输出的每个波长范围提供不同的波导。耦合光学元件选择性地将适当波长范围的光耦合到相应的波导中。
6. 《
Magic Leap Patent | Architectures And Methods For Outputting Different Wavelength Light Out Of Waveguides(Magic Leap专利:用于波导输出不同波长光线的架构和方法)
》
专利描述了用于选择性地输出光线以形成图像的结构,所述光线具有不同的波长并且以低水平的串扰输出。在一些实施例中,光线耦合到波导中,被偏转并根据波长在不同方向上传播。然后,耦合的光线通过耦合光学元件向外耦合。在一些实施例中,滤色器位于波导和外耦合元件之间。滤色器限制与外耦合元件相互作用的耦出光线的波长。在其他实施例中,为要输出的每个波长范围提供不同的波导。耦合光学元件选择性地将适当波长范围的光耦合到相应的波导中。
7. 《
Facebook Patent | Head-Mounted-Display System Including Three-Dimensional Knitted Layer(Facebook专利:包括三维针织层的头显系统)
》
头显组件可包括由多个纤维形成并在三个维度延伸的编织层。编织层可包括:具有至少一种物理性质的第一度的第一区域;具有至少一种物理性质的第二度的第二区域,和在第一区域和第二区域之间延伸的过渡区域。编织层的过渡区域可以从第一区域朝向第二区域逐渐改变至少一个物理特性的度数。
8. 《
Facebook Patent | Listening Device For Mitigating Variations Between Environmental Sounds And Internal Sounds Caused By The Listening Device Blocking An Ear Canal Of A User(Facebook专利:用于减轻因听音装置阻挡用户耳道而引起的环境声音和内部声音之间的不同的听音装置)
》
听音装置包括位于用户耳道外部的参考麦克风,其用于接收环境声音并根据环境声音产生第一信号。扬声器耦合到参考麦克风并定位在耳道内,同时根据第一信号产生内部声音。 内置麦克风位于耳道内,并接收来自扬声器的内部声音,同时根据内部声音生成第二信号。控制器耦合到内部麦克风和参考麦克风,并基于第一信号和第二信号计算传递函数。 传递函数描述了因听音装置阻挡耳道而引起的环境声音和内部声音之间的不同。控制组件根据传递函数调整内部声音以减轻两者的不同。
9. 《
Microsoft Patent | Constructing Augmented Reality Environment With Pre-Computed Lighting(微软专利:通过预计算的照明来构建增强现实环境)
》
专利描述了构建具有全局照明效果的增强现实环境的方法和系统。在一个实施例中,所述方法包括接收图像数据,捕获本地环境的图像数据,以及经由图像数据识别本地环境的物理特征。所述方法同时包括根据物理特征构建虚拟结构的增强现实图像。增强现实图像包括布置在相邻位置的多个模块化虚拟结构片段以形成虚拟结构特征,每个模块化的虚拟结构片段包括预计算的全局照明效果。将增强现实图像输出到显示设备。
10. 《
Microsoft Patent | Virtually Representing Spaces And Objects While Maintaining Physical Properties(微软专利:在保持物理特性的同时虚拟地表示空间和对象)
》
专利描述了在各种环境中显示真实世界空间和对象的虚拟对应物的系统和技术。可以通过头显设备扫描第一位置的源环境,并生成与第一位置的物理环境相对应的三维数据集。三维数据集可以包括与物理环境相关联的物理属性。头显可以在第二位置重新创建源环境,并且根据三维数据集显然物理环境的虚拟表示。另外,头显使得用户能够在第二位置处,查看物理环境的一个或多个物理对象。
11. 《
Microsoft Patent | Re-Projecting Flat Projections Of Pictures Of Panoramic Video For Rendering By Application(微软专利:为应用渲染重新投影全景视频图像的平面投影)
》
专利描述了重建和渲染全景视频的技术。例如,全景视频播放系统的视图相关操作控制组件接收应用关于视图方向的指示,并且至少部分地根据视图方向识别输入投影中的全景视频图片的一部分。视图相关的操作控制组件将颜色转换器,视频解码器和/或流控制器的操作限制至所识别的部分。通过这种方式,全景视频播放系统可以避免执行重建不被查看的全景视频图片部分的操作。
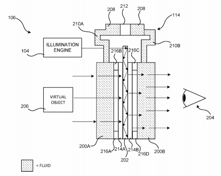
12. 《
Microsoft Patent | Optical Systems Including A Single Actuator And Multiple Fluid-Filled Optical Lenses For Near-Eye-Display Devices(微软专利:包含单个致动器和多个流体填充光学透镜的光学系统)
》
近眼显示设备包括一对流体填充透镜。可以设置所述透镜对的内透镜的光学倍率,以将虚拟对象的焦平面从无穷远定位到预定距离。设置所述透镜对的外透镜的光学倍率,以抵消内透镜的光学倍率。耦合至储存器的单个致动器将流体泵入或泵出透镜以改变其光学焦度。当致动器激活时,流体流入一个透镜并流出另一个透镜。通过这种方式,可以令一个透镜的光学倍率抵消另一个透镜的光学倍率。单个致动器同时可用于改变两对或更多对透镜的光学倍率。
13. 《
Apple Patent | Processing Of Multi-Directional Images In Spatially-Ordered Video Coding Applications(苹果专利:空间有序视频编码应用中的多向图像处理)
》
图像处理技术可以加速包含在多视图图像数据内的视口数据的编码。根据所述技术,编码器可以根据解码器提供的视口位置数据来移位多向图像数据的内容。编码器可以通过预测编码对移位的多方图像数据进行编码,并且向编码器发送编码的多向图像数据和识别移位量的数据。通过这样的方式,可以将视口位置移动到图像数据中更早编码的位置,位置比视口位置自然占据的位置更早编码,从而加速编码。在解码时,解码器可以将当前视口位置与由编码器提供的视口位置数据进行比较。解码器可以对编码的视频数据进行解码,并提取与当前视口位置相对应的解码视频数据的一部分。
14. 《
Google Patent | Beam Steering Optics For Near-Eye And Head Mounted Displays(谷歌专利:用于近眼显示器和头戴式显示器的波束控制光学元件)
》
近眼显示系统包括显示面板。所述系统同时包括面向显示面板的波束控制组件,其可配置成使入射在波束控制组件的光束移位。波束控制组件包括双折射板,其可配置成复制入射在波束控制组件的光线,使得复制的光线相对于入射在波束控制组件的光线的光路横向偏移。
15. 《
Google Patent | Beam Steering Optics For Virtual Reality Systems(谷歌专利:用于虚拟现实系统的波束控制光学元件)
》
近眼显示系统包括显示面板。所述系统同时包括面向显示面板的波束控制组件,其可配置成使入射在波束控制组件的光束移位。波束控制组件包括双折射板,其可配置成复制入射在波束控制组件的光线,使得复制的光线相对于入射在波束控制组件的光线的光路横向偏移。
16. 《
Google Patent | Hollow Core Electromagnetic Coil(谷歌专利:空芯电磁线圈)
》
增强现实/虚拟现实系统可利用生成的电磁场来追踪AR/VR系统的一个或多个组件。追踪系统采用电磁线圈来产生电磁场或感测电磁场。所述的线圈包括芯基板和缠绕在芯基板周围的薄金属箔。电磁线圈实际为“空心”,通过利用在芯基板形成的一个或多个开口,或密度比铁氧体或铁基材料小的材料,在相同尺寸下它的重量小于传统的固体铁氧体或二价铁芯。因此,所产生的电磁线圈比传统的实芯电磁线圈轻。
17. 《
Google Patent | Power Management For Electromagnetic Position Tracking Systems(谷歌专利:用于电磁位置追踪系统的功率管理)
》
根据与电磁读数中的抖动相关联的度量,电磁姿态追踪系统调整电磁发射器的发射功率并控制功率模式。所述度量包括根据接收的电磁数据所计算的估计噪点,发射器和接收器之间的计算距离,发射器和接收器之间的测量信号功率等等。通过这种方式,电磁追踪系统可以降低采用电磁追踪系统的设备的总功耗。
18. 《
Sony Patent | Vector-Space Framework For Evaluating Gameplay Content In A Game Environment(索尼专利:用于评估游戏环境中的游戏内容的矢量空间框架)
》
媒体系统采用各种技术来创建用于评估矢量空间中的游戏内容的框架。所述技术包括监视与游戏环境相对应的内容帧;确定与帧相关联的特征的特征值;根据特征值将内容流映射到矢量空间中的位置矢量;以及根据矢量空间中的一组位置矢量的相对接近度,将矢量空间中的位置矢量分配到游戏环境中的区域。
19. 《
Sony Patent | Head-Mounted Display To Controller Clock Synchronization Over Em Field(索尼专利:基于电磁场的头显-控制器时钟同步)
》
专利描述的系统包括:执行交互式应用程序并生成和发送图像帧的计算组件;接收并呈现图像帧的头显,其中头显包括发射磁信号的磁发射器,所述磁信号具有与接收的图像帧同步的同步编码;包括检测磁信号的磁传感器的控制器。控制器处理检测到的磁信号以确定磁位置数据,并读取同步编码。控制器使用同步编码来产生相应的定时数据。控制器将磁位置数据和相应的定时数据发送到计算组件。计算组件使用磁位置数据和相应的定时数据来确定控制器的位置和/或方向。
20. 《
Sony Patent | Identifying Relevant Gameplay Content For A Game Environment Using A Vector-Space Framework(索尼专利:使用矢量空间框架识别游戏环境的相关游戏内容)
》
媒体系统采用各种技术来创建用于评估矢量空间中的游戏内容的框架。所述技术包括监视与游戏环境相对应的内容帧;确定与帧相关联的特征的特征值;根据特征值将内容流映射到矢量空间中的位置矢量;以及根据矢量空间中的一组位置矢量的相对接近度,将矢量空间中的位置矢量分配到游戏环境中的区域。
0