(
映维网
2019年07月31日
)近期美国专利及商标局公布了一批全新的AR/VR专利,以下是映维网的整理(详情请点击专利标题),一共15篇。更多专利披露请访问映维网专利板块
https://patent.nweon.com/
进行检索,也可加入映维网AR/VR专利交流微信群。
1. 《
Magic Leap Patent | Methods And Systems For Diagnosing Eyes Using Aberrometer(Magic Leap专利:通过像差计来诊断眼睛的方法和系统)
》
专利描述了用于卫生系统和各种医疗保健应用的配置,如用于患者诊断,监测和/或治疗。所述的健康系统可包括:光产生模块,其用于将光或图像传输给用户;一个或多个传感器,用于检测用户身体的生理参数,包括他们的眼睛;以及处理电路,其用于分析输入并确定一种或多种健康状况或缺陷。
2. 《
Facebook Patent | Display Calibration In Electronic Displays(Facebook专利:电子显示器中的显示校准)
》
专利描述了一种用于校准电子显示器亮度的系统。所述系统包括电子显示器,亮度检测组件和控制组件。亮度检测组件配置为测量电子显示器的有效部分的亮度参数。控制组件配置为指示电子显示器以稀疏模式和滚动方式激活有效部分,并指示亮度检测组件测量稀疏模式中的每个有效部分的亮度参数。控制组件根据测量亮度参数生成校准数据。
3. 《
Facebook Patent | Integrated Colour Led Micro-Display(Facebook专利:集成式彩色LED微型显示器)
》
专利描述了一种低功耗高亮度的显示器。更具体地来说,专利描述了一种集成式LED微型显示器,以及制造集成式彩色LED微型显示器的方法。
4. 《
Facebook Patent | Panoramic Camera Systems(Facebook专利:全景相机系统)
》
相机系统捕获来自一组摄像头的图像,以生成环境的双目全景视图。摄像头在相机系统中定向。为了校准系统,识别图像之间的匹配特征,并用于估计相机系统外部的三维点。修改校准参数以改善三维点估计。当捕获图像时,系统管道使用来自相邻摄像头的重新投影视图,以及图像金字塔来为每个摄像头生成深度图。可以使用图像通过生成对应于深度图的深度表面,并混合深度表面,从不同的角度(相对于图像捕获位置)生成环境的视图。
5. 《
Microsoft Patent | Augmented And Virtual Reality Bot Infrastructure(微软专利:增强现实和虚拟现实自动程序架构)
》
专利描述的系统监视虚拟现实或增强现实系统中的用户工作流程。根据用户的工作流程,用户的情绪状态和其他数据,系统选择一个或多个自动程序并将其注入到用户的工作流程。自动程序为系统和/或VR/AR系统提供内容和功能方面的可扩展性。识别来自自动程序的内容并以低渲染保真度放置在用户的外围位置。如果用户对内容表现出兴趣,则采用自动程序提供的功能,增加内容的保真度,直到用户可以与内容进行交互。
6. 《
Microsoft Patent | Selective Surface Mesh Regeneration For 3-Dimensional Renderings(微软专利:用于3D渲染的选择性表面网格再生)
》
生成环境的3D体素网格,其中每个体素分配有signed值,并表示所述体素距离最近表面的距离。对于3D体素网格的每个子集,生成初始表面网格。当接收到新的深度信息时,仅为3D体素网格的相应子集生成更新的表面。
7. 《
Microsoft Patent | Infinite Far-Field Depth Perception For Near-Field Objects In Virtual Environments(微软专利:用于近场对象的无限远场深度感知)
》
专利描述了将近场对象呈现为虚拟环境内的可感知远场对象的方法和系统。确定近场对象要配置成远场感知。虚拟环境包括利用根据头显位置和取向生成的一个或多个立体投影变换来进行立体渲染的一个或多个虚拟近场对象。根据立体投影变换,为配置的近场对象生成协调变换。根据对近场对象配置成远场感知的确定,利用协调变换将近场对象渲染为虚拟环境内的可感知远场对象。
8. 《
Microsoft Patent | Mems Scanning Display Device(微软专利:MEMS扫描显示组件)
》
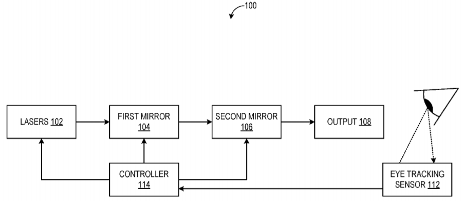
专利涉及一种扫描图像显示组件。在一个示例中,扫描式头显系统包括光源,运动传感器,扫描镜系统,以及控制组件。控制组件配置为控制扫描镜系统扫描光线以形成图像,从运动传感器接收头部运动数据,并根据头部运动数据调整图像第一帧和第二帧之间的扫描速率和相位偏移中的一个或多个。
9. 《
Apple Patent | Method And Device For Illustrating A Virtual Object In A Real Environment(苹果专利:在真实环境中描画虚拟对象的方法和设备)
》
专利描述了一种在真实环境中表示虚拟对象的方法,包括以下步骤:借助于录制组件生成真实环境的二维图像;确定录制组件相对于真实环境至少一个组件的位置;在二维图像中分割实际环境中未标记的至少一个区域;提供相应的分割数据,并根据分割数据将虚拟对象与真实环境的二维图像合并,使得虚拟对象替换真实环境图像的至少一部分。
10. 《
Google Patent | Head-Mounted Display Including Diffractive Combiner To Integrate A Display And An Eye-Tracking Sensor(谷歌专利:包括衍射组合器和眼动追踪传感器的头显)
》
专利描述了一种包括衍射组合器的装置,所述衍射组合器具有前侧,后侧,以及基本上穿过衍射组合器并垂直于后侧的组合器光轴。所述装置同时包含一种具有显示光轴的显示单元,并沿显示光轴引导显示光线朝向衍射组合器。所述装置同时包含一种具有传感器光轴的
眼动追踪
传感器,其定位成接收由衍射组合器反射的眼动追踪辐射。
11. 《
Google Patent | Object Tracking In A Head Mounted Reference Frame In An Augmented And/Or Virtual Reality Environment(谷歌专利:在增强现实和/或虚拟现实环境中进行对象追踪)
》
专利描述了一种对象追踪方法。系统可以检测头戴式设备相对于周围环境中的固定参照系的位置,并且可以检测周围物体相对于周围环境中的固定参照系的位置。然后,系统可以将检测到的环境对象位置转换到头戴式设备的参考系,从而确定环境对象相对于头戴式设备的位置。可以在由头戴式设备生成的虚拟环境中呈现新确定的位置。
12. 《
Sony Patent | Augmented Reality Image Processing Apparatus And Method, And Program(索尼专利:增强现实图像处理装置,方法及程序)
》
图像剪切单元剪切输入图像的区域。触控坐标计算单元根据距离信息获取用户的触控位置,并且触控处理单元根据触控位置执行处理。短距离图像分离单元利用所述信息分离更靠近用户侧的对象,从而获取短距离图像。将短距离图像与虚拟图像组合,并且将组合后的虚拟图像与要显示的输入图像组合。
13. 《
Sony Patent | Image Processing Apparatus, Projection Control Method, And Program(索尼专利:图像处理装置,投影控制方法及程序)
》
专利描述了一种获取图像的信息处理设备和方法。对获取的图像执行图像识别处理,从而识别图像中的物理对象,然后根据图像识别处理的结果生成虚拟图像。
14. 《
Sony Patent | Control Apparatus, Head-Mounted Display, Control System, Control Method, And Program(索尼专利:控制装置,头戴式显示器,控制系统,控制方法及程序)
》
专利描述了一种包含发光单元的头戴式显示器,其能够控制发光单元的亮度,同时无需单独提供用于测量发光单元的亮度。姿势指定单元指定头显的姿势,指定姿势基于由摄像头拍摄的姿势指定图像,姿势指定图像包含发光单元的图像。根据发光单元图像,亮度信息指定单元指定发光单元亮度的信息。驱动电流控制单元根据亮度指定信息来控制发光单元的驱动电流。
15. 《
Intel Patent | Broadband Flat Optical Elements And Methods Of Manufacture(英特尔专利:宽频平坦光学元件和制造方法)
》
平坦光学元件包括具有两个或更多超表面层的多层超表面堆叠。每个超表面层包括含有一种或多种光学透射材料的纳米结构排列。超表面层同时可以在纳米结构之间包含另一种光学透射材料,从而实现所需的折射率对比度。
0