(
映维网
2019年03月29日
)近期美国专利及商标局公布了一批全新的AR/VR专利,以下是映维网的整理(详情请点击专利标题),一共30篇。更多专利披露请访问映维网专利板块
https://patent.nweon.com/
进行检索,也可加入映维网AR/VR专利交流微信群。
1. 《
Apple Patent | Waveform Design For A Lidar System With Closely-Spaced Pulses(苹果专利:具有密集型脉冲的激光雷达系统的波形设计)
》
深度感测设备包括激光器,其配置为朝向场景发射光辐射脉冲。一个或多个检测器配置为接收反射而来的光辐射,并输出说明所接收辐射的相应到达时间信号。控制和处理电路耦合并驱动激光器以相应时间间隔发射脉冲的一系列输出序列,同时匹配信号的输入序列的到达时间和输出序列的时间间隔,以便寻找场景中各点的相应飞行时间。
2. 《
Magic Leap Patent | Methods And Systems For Creating Virtual And Augmented Reality(Magic Leap专利:创建虚拟现实和增强现实的系统和方法)
》
专利描述了用于向用户呈现虚拟现实和增强现实体验的配置。所述系统可包括:图像捕获设备,其用于捕获一个或多个图像,所述一个或多个图像对应于头戴式增强现实设备的用户视场;以及耦合至所述图像捕获设备的处理器。
3. 《
Magic Leap Patent | Methods And Systems For Generating Virtual Content Display With A Virtual Or Augmented Reality Apparatus(Magic Leap专利:用虚拟现实或增强现实装置来生成虚拟内容显示的方法和系统)
》
专利描述了干涉记录具有相对高角度衍射的体三维相位衍射元件的若干独特配置。通过各种方法产生的分离层EPE和OPE结构可以并排或重叠构造集成,并且多个这样的EPE和OPE结构可以组合或多路复用,以在单个空间重合层中显示EPE/OPE功能。多路复用结构减少了目镜光学元件堆叠内的材料层总数,每个目镜光学元件可以负责显示体三维图像的给定焦深范围。体三维相位型衍射元件可提供的特性包括:光谱带宽选择;角度多路复用能力;以及相对简单的全光学原型设计,可实现快速设计迭代。
4. 《
Magic Leap Patent | Methods And Apparatuses For Reducing Stray Light Emission From An Eyepiece Of An Optical Imaging System(Magic Leap专利:用于减少光学成像系统的目镜杂散光发射的方法和装置)
》
用于头显的目镜包括一个或多个第一波导,所述第一波导布置成在第一边缘处接收来自空间光调制器的光线,将至少一部分接收光线引导至与第一边缘相对的第二边缘,并且提取至少一部分通过第一边缘和第二边缘之间的一个或多个第一波导的面的光线。 目镜同时包括第二波导,第二波导布置成接收在第二边缘处离开一个或多个第一波导的光线,并将接收光线引导至一个或多个光吸收器。
5. 《
HTC Patent | Tracking System, Virtual Reality System And Attachable Device(HTC专利:追踪系统,虚拟现实系统和附接设备)
》
追踪系统包括可附接组件和追踪组件。可附接组件可拆卸地安装在头显之上。可附接组件包括用于发射光辐射的光学发射模块。追踪组件与可附接组件通信。追踪组件包括用于接收光辐射的光学传感器。追踪组件根据光学传感器感测的光学辐射计算可附接设备相对于追踪设备的空间坐标。追踪组件将空间坐标发送到可附接组件或头显设备。
6. 《
HTC Patent | Input Interface Device, Control Method And Non-Transitory Computer-Readable Medium(HTC专利:输入接口设备,控制方法和非暂时性计算机可读介质)
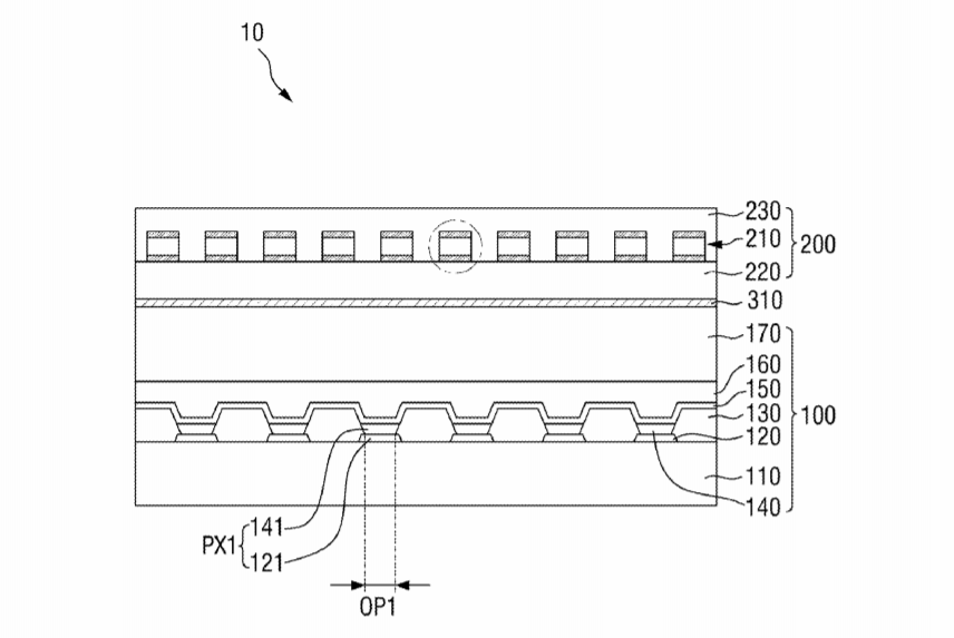
》
输入接口设备包括感测面板,触碰传感器,辅助传感器和处理器。触摸传感器配置为检测位于感测面板第一区域中的第一触碰事件,并检测位于感测面板第二区域中的第二触碰事件。第一区域和第二区域由位于感测面板限定的第一边界分开。辅助传感器配置为检测第一环境参数。处理器配置为根据第一环境参数确定是否需要调整第一边界。处理器同时配置为根据第一触碰事件和第二触碰事件选择性地调整第一边界,并且利用调整后的第一边界来分开第一区域和第二区域。
7. 《
HTC Patent | Three Dimensional Reconstruction Method, Apparatus And Non-Transitory Computer Readable Storage Medium Thereof(HTC专利:三维重建方法,装置及非暂时性计算机可读存储介质)
》
专利描述了一种三维重建方法。信号接收器在第一时间点和第二时间点接收定位信号,以确定头显位移矢量和头显旋转量。第一摄像头检索第一图像和第二图像以确定第一摄像头旋转量。计算头显和第一摄像头之间的相对旋转量和相对位移矢量。根据头显位移矢量,头显旋转量,相对旋转量和相对位移矢量计算第一摄像头的第一摄像头位移矢量。根据第一摄像头位移矢量和第一摄像头旋转量获取第一图像和第二图像的深度信息。根据由第一摄像头检索的图像和深度信息执行三维重建。
8. 《
Facebook Patent | Apparatuses, Systems, And Methods For Representing User Interactions With Real-World Input Devices In A Virtual Space(Facebook专利:用真实世界输入设备在虚拟空间中表示用户交互的设备,系统和方法)
》
用于键盘的按键组件可包括键帽,键帽包括通信地耦合至控制设备的触控传感器。当触控传感器感测到触控事件时,触摸传感器可以向控制设备发送触控信号,并且当触控传感器感测到没有触控时,触控传感器仍然可以向控制设备发送控制信号。
9. 《
Facebook Patent | Media Effects Using Predicted Facial Feature Locations(Facebook专利:利用预测性面部特征位置的媒体效果)
》
效果应用程序接收面部视频,并检测每一帧中说明面部位置和大小的边界框。在一个或多个参考帧中,所述应用程序使用算法来确定面部特征的位置。然后,应用程序将相对于边界框标准化特征位置,并保存标准化的特征位置。在其他帧中,应用程序获取边界框,然后根据边界框大小和位置,以及标准化特征位置来预测面部特征的位置。预测的位置可以用于增强现实功能,所述增强现实功能根据面部追踪功能在视频流中叠加图形,以将期望的效果应用于视频。
10. 《
Facebook Patent | 3-D 360 Degree Depth Projector(Facebook专利:3D 360度深度投影仪)
》
专利描述的摄像头系统配置为生成局部区域的深度信息。摄像头系统包括以基本上以球形布置的多个深度摄像头子组件。每个子组件包括投影仪,其将结构化光图案投射到局部区域的一部分上,使得多个子组件的投射光图案形成覆盖局部区域的360度平铺光图案。每个子组件同时包括至少一个摄像头,其配置为捕获局部区域的图像。摄像头系统的控制组件配置为接收捕获图像,并根据投影的结构化光图案来构建场景的360度深度图。
11. 《
Facebook Patent | Camera Calibration System(Facebook专利:摄像头校准系统)
》
专利描述的摄像头校准系统用于校准摄像头系统中的多个摄像头。摄像头校准系统获取关于多个摄像头的配置信息,如每个摄像头相对于其他摄像头的位置和方向。摄像头校准系统根据所获取的配置信息估算多个摄像头的校准参数,如旋转和平移。摄像头校准系统接收由多个摄像头捕获的测试对象2D图像,并获取关于测试对象的已知信息,如测试对象的位置,大小,纹理和详细信息。然后根据接收的2D图像,以及估算的校准参数,摄像头校准系统生成测试对象的3D模型。与实际测试对象进行比较,评估生成的3D模型,从而确定校准误差,并更新摄像头的校准参数以减少多个摄像头的校准误差。
12. 《
Facebook Patent | Controls And Interfaces For User Interactions In Virtual Spaces(Facebook专利:用于虚拟空间用户交互的控制与界面)
》
在一个实施例中,一种方法包括接收与360度视图至少一部分相关联的第一视觉信息;确定第一视觉信息不足以在显示设备渲染完整的360度视图;接收第二视觉信息,其中第二视觉信息包括,配置为渲染来自一个或多个第二用户的一个或多个视频显示信息;发送渲染信息,其中渲染信息包括,配置为在显示设备渲染统一360度视图的信息。其中:统一的360度视图有第一部分基于第一视觉信息,以及第二部分基于第二视觉信息。
13. 《
Microsoft Patent | Multi-Item Selection Using Eye Gaze(微软专利:利用注视点的多物品选择)
》
专利描述了利用
眼动追踪
来选择项目的机制。向用户呈现一个或多个主要选择目标。当用户选择主要选择目标时,在主要选择目标附近呈现次要选择目标。
14. 《
Microsoft Patent | Asynchronous Collaboration For A Synchronous Collaboration Environment(微软专利:用于同步合作环境的异步协作)
》
专利描述了支持同步协作环境的异步协作群组软件功能。在同步协作会话期间,文档显示在用户的计算设备上。当计算设备处接收到对文档的改变时,更新改变列表并显示修改的文档。来自用户的任何更改都将广播给其他参与者。
15. 《
Microsoft Patent | Hololens Light Engine With Linear Array Imagers And Mems(微软专利:包含线性阵列成像仪和MEMS的Hololens光引擎)
》
专利描述了一种利用可沿轴转动的扫描组件的光照系统。所述系统可以将图像帧划分为至少第一子图像帧和第二子图像帧。系统可以在第一时间段期间将扫描组件调整到第一位置,以反射与第一子图像相关联的光线,并且在第二时间段期间将扫描镜调整到第二位置,以反射与第二子图像相关联的光。通过实施本专利描述的技术,可以减小光学系统中的线性阵列总体尺寸,从而实现了移动型和用户友好型的紧凑光学系统。
16. 《
Apple Patent | Range Finding And Accessory Tracking For Head-Mounted Display Systems(苹果专利:头戴式显示系统的测距和附件追踪)
》
可以由VR/MR系统实现的测距方法和装置包括:头显和用户持有或佩戴的附件。测距传感器(如超声换能器)可以包括在头显和附件,并用于追踪在诸如房间,健身房,院子或场地等受限物理环境内的,或无约束的物理环境中的墙壁,物体,以及其他障碍物的距离和相对位置。头显和附件中的传感器测距信息可用于生成用户环境的3D地图,并可用于VR/MR系统中的各种目的。除了映射用户的环境之外,测距方法和装置同时可以用于追踪附件相对于头显的相对位置。
17. 《
Sony Patent | Head-Mounted Apparatus(索尼专利:头戴式装置)
》
专利描述了一种头戴式装置,其包括:光学传感器;支撑单元,其设置在光学传感器周围,并配置成与用户头部接触;传感器支撑机制,其配置为支撑光学传感器。
18. 《
Sony Patent | Information Processing Apparatus, Information Processing Method, And Non-Transitory Computer-Readable Medium(索尼专利:信息处理装置,信息处理方法,以及非暂时性计算机可读介质)
》
专利描述了一种信息处理装置,其包括:生成组件;根据相对于虚拟空间中第一虚拟对象的参考位置相对移动方向,生成组件生成说明用户将感知的触觉信息; 输出组件,其配置为输出触觉呈现信息,使得用户通过触觉呈现设备感知触觉。
19. 《
ony Patent | Image Processing Device, Image Processing Method, And Program For Displaying An Image In Accordance With A Selection From A Displayed Menu And Based On A Detection By A Sensor(索尼专利:根据显示菜单选择和传感器检测显示图像的图像处理装置,图像处理方法和程序)
》
专利描述的图像处理装置包括叠加显示位置确定组件,其配置为根据环境映射确定在对象的叠加显示位置;叠加显示图像生成组件,其配置为在叠加显示位置设置叠加显示数据,从而生成叠加显示图像;图像叠加组件,其配置为将叠加显示图像呈现在用户的视场之中;操作对象识别组件,其配置为在输入图像中识别操作对象;以及处理执行组件。
20. 《
Sony Patent | Modular Virtual Reality Tracking System For A Game Console Play Area(索尼专利:用于游戏主机游玩区域的模块化虚拟现实追踪系统)
》
专利描述了在游玩区域中追踪对象的方法和系统。示例系统包括第一追踪模块,第一追踪模块位于第一位置并且配置为捕获游戏区域的第一图像,同时获取对象相对于第一位置的第一坐标。所述系统可以包括至少一个第二追踪模块,所述第二追踪模块位于与第一位置不同的第二位置,并且配置为捕获游戏区域的第二图像,同时获取对象相对于第二位置的第二坐标。所述系统可以包括处理组件,所述处理组件配置为从第一追踪模块接收第一坐标,并且从第二追踪模块接收第二坐标,并且当对象在第一图像或第二图像边界内时连续追踪对象。
21. 《
Sony Patent | Virtual Reality(索尼专利:虚拟现实)
》
专利描述了一种虚拟现实设备,其包括:图像生成器,其配置为生成表示虚拟环境用户的图像。图像生成器可响应于用户对预定输入的选择。所述设备同时包括视频摄像头,其可用于对用户进行基于图像的追踪。
22. 《
Intel Patent | Augmented Reality Controllers And Related Methods(英特尔专利:增强现实控制器及相关方法)
》
专利描述了增强现实控制器和相关方法。用于控制数字现实内容的示例性可穿戴设备包括第一传感器。第一传感器用于为用户生成生物传感器数据。示例性可穿戴设备包括第二传感器。第二传感器用于产生不同于生物传感器数据的第二传感器数据。利用生物传感器数据或第二传感器数据,与第一传感器和第二传感器通信的处理器可以控制数字现实内容。
23. 《
LG Patent | Display Device And Method Of Driving The Same(LG专利:显示设备及驱动方法)
》
专利描述的显示设备包括:显示面板,其具有左眼显示区域和右眼显示区域;以及时序控制器,其配置为接收具有第一频率和第二频率的视频信号以生成视频数据,其中第二频率低于第一频率。
24. 《
Samsung Patent | Camera Pose And Plane Estimation Using Active Markers And A Dynamic Vision Sensor(三星专利:使用主动标记和动态视觉传感器来预测相机姿态和平面)
》
预测相机姿势和平面的方法可以包括,使用动态视觉传感器(DVS)检测以已知形状并以第一频率闪烁的第一多个光源,从而检测三维环境内的标记,其中已知形状对应于标记;使用DVS检测对应于标记,并以不同于第一频率的第二频率闪烁的第二多个光源,从而确定标记的方向和特征。根据标记的已知形状,方向和特征,可以通过处理器确定用于DVS的相机姿态。
25. 《
Samsung Patent | Camera Pose Determination And Tracking(三星专利:相机姿态确定和追踪)
》
用于确定和追踪相机姿态的系统包括:动态视觉传感器(DVS),其配置为生成当前DVS图像;惯性测量单元(IMU),其配置为生成惯性数据;以及存储器。存储器配置为存储已知3D环境的三维映射。所述系统同时可以包括耦合至存储器的处理器。处理器配置为发起一系列的操作,包括根据当前DVS图像,惯性数据,三维映射,以及先前相机姿态确定DVS的当前相机姿态。
26. 《
Samsung Patent | Apparatus And Method For Displaying Ar Object(三星专利:显示AR对象的装置和方法)
》
专利描述了一种用于显示增强现实对象的方法和电子设备。所述电子设备包括显示器,一个含有存储指令的存储器,以及至少一个处理器。至少一个处理器与存储器和显示器耦合。所述至少一个处理器配置为执行所存储的指令,以便识别从第一摄像头获取的第一对象,并且显示与第一对象相关的第一AR对象。
27. 《
Samsung Patent | Virtual Reality Device For Diagnosis Of Nerve Disorder, System And Method For Thereof(三星专利:用于诊断神经障碍的虚拟现实设备,系统和方法)
》
专利描述了一种用于诊断神经障碍的VR设备,系统和方法。所述VR设备包括:显示组件,其响应于图像向用户提供VR环境;用户响应接收器,其接收相对于图像的用户响应。其中图像包括包含两个或更多个字符的介绍视频,以及在介绍视频之后提供的问题视频图像,从而纳入与字符相关的查询。这样,用户的语言能力,视觉能力和联想能力可以得到全面评估,从而更准确地掌握用户的神经障碍程度。
28. 《
Samsung Patent | Display Device(三星专利:显示设备)
》
专利描述了一种显示设备。所述显示设备包括多个衍射光学元件,每个衍射光学元件配置为将在导光板中引导的光线发射给用户。根据多个衍射元件,用户可以在两个或更多个不同深度位置观察到光的虚像。
29. 《
Samsung Patent | Display Device And Head Mount Display Device(三星专利:显示设备和头戴式显示设备)
》
专利描述了一种显示设备,其包括:含有基板和多个显示元件的显示面板;衍射面板,其包括设置在光路中的多个衍射图案。 多个衍射图案沿第一方向设置,并具有第一周期,多个衍射图案中的每一个包括第一折射层,设置在第一折射层之上的第二折射层,以及设置在第二折射层之上的第三折射层。第二折射层的折射率高于第一折射层和第三折射层的折射率。
30. 《
Samsung Patent | Method And Device For Providing Augmented Reality Service(三星专利:提供增强现实服务的方法和设备)
》
增强现实服务聚类多个标记,以便设备将AR对象映射到至少一个组中,并确定聚类组的代表性标记,并且当设备识别的场景对应于代表性标记时,优先搜索包括在代表性标记聚类中的标记。AR服务根据来自用户的数据生成AR对象,同时设备识别的场景显示在设备屏幕。
0