/ Nweon / 0浏览

2019年03月13日美国专利局最新AR/VR专利报告



映维网
2019年03月13日

)近期美国专利及商标局公布了一批全新的AR/VR专利,以下是映维网的整理(详情请点击专利标题),一共26篇。更多专利披露请访问映维网专利板块
https://patent.nweon.com/
进行检索,也可加入映维网AR/VR专利交流微信群。


1. 《
Leap Motion Patent | Safety For Wearable Virtual Reality Devices Via Object Detection And Tracking(Leap Motion专利: 可穿戴虚拟现实设备通过对象检测和追踪实现的安全防护)

通过检测潜在的不安全状况(如碰撞,失去情景感知等),专利描述的技术来用于提升用户的安全防护。传感器根据成像,声波或振动波来捕获运动和/或判断对象的路径。


2. 《
JDI Patent | Display Device And Head-Mounted Display(Japan Display Inc专利:显示组件和头戴式显示器)

根据一个实施例,显示组件包括第一基板和第二基板,以及液晶层。第一基板包括像素电极和共同电极。第二基板与第一基板相对。液晶层位于第一基板和第二基板之间。 用于重写像素电极的电压帧频是80Hz或更高。包含在液晶层中的液晶材料具有负介电各向异性。第一基板和第二基板之间的间隙d的乘积Δnd和液晶材料的折射各向异性Δn小于0.33μm。间隙d大于2微米且小于3微米。


3. 《
Goertek Patent | Virtual Reality Helmet And Method For Using Same(歌尔股份专利:虚拟现实头显及其使用方法)

专利描述了一种虚拟现实头显及其使用方法。虚拟现实头显具有两种可选的播放模式:播放存储在存储模块中的VR视频,或者当检测到视频输入组件连接时,播放由视频输入组件输入的VR视频。VR头显具有监控用户佩戴状态的接近传感器,当检测到用户脱下头显时,系统指示关闭显示模块以减少头显的功耗,并在检测到用户穿戴头显时打开显示模块。


4. 《
Apple Patent | Method for determining the pose of a camera and for recognizing an object of a real environment(苹果专利:用于确定camera姿态和用于识别真实环境对象的方法)

一种用于确定camera相对于真实环境姿态的方法包括以下步骤:借助摄像头拍摄真实环境的至少一个图像,所述图像包含真实物体的至少一部分;执行追踪方法; 评估与真实对象相关联特征与真实对象对应特征之间的对应关系信息,以便获取关于cameta姿势的结论;确定至少一个关于环境情况的参数。 并根据至少一个参数执行追踪方法 类似地,所述方法同时可以用于识别摄像头图像中的真实环境对象。


5. 《
Magic Leap Patent | Method And System For Determining User Input Based On Gesture(Magic Leap专利:根据手势确定用户输入的方法与系统)

波导装置包括平面波导和至少一个光学衍射元件(DOE),其在平面波导内外之间提供多条光学路径。DOE的相位剖面可以将线性衍射光栅与圆形透镜组合,以形成波前并产生具有期望焦点的光束。可以组装波导装置以产生多个焦平面。DOE可以具有低衍射率,并且当正常知觉时平面波导可以为透明,允许对AR系统有用的周围环境(如现实世界)光线通过。DOE可以是固定或具有动态可调节的特性。光学耦合器系统可以将投影仪的图像耦合到波导组件。


6. 《
Facebook Patent | Navigation Controller For Virtual-Reality Systems(Facebook专利:用于虚拟现实系统的导航控制器)

专利描述的虚拟现实导航控制器包括底座,座椅,用于支撑座椅的竖直支撑件,以及位于座椅和竖直支撑件之间的可旋转连接器,后者可响应于用户施加的方向力来可致使座椅倾斜。虚拟现实导航控制器同时包括运动检测控制器,用于测量与座椅倾斜相对应的纵摇。


7. 《
Facebook Patent | Depth Mapping Using Structured Light And Time Of Flight(Facebook专利:利用结构光和飞行时间的深度映射)

深度摄像头组件(DCA)确定DCA与DCA视场中对象之间的距离。DCA包括照明源,所述照明源利用时间载波信号调制的已知空间图案投影至局部区域。成像组件捕获投射至局部区域的调制图案。成像组件包括检测器,所述检测器包括不同的像素组,每个像素组在不同的时间被激活以捕获光。因此,不同像素组捕获来自时间调制图案的不同相位。DCA确定照明源光线被成像组件从不同像素组捕获的相位反射和捕获时间,并且同时根据捕获的空间图案变形确定DCA与对象之间的距离。


8. 《
Facebook Patent | Variable Focus Waveguide Display(Facebook专利:可变焦点波导显示器)

波导显示器向用户呈现媒体。波导组件包括光源,源波导,输出波导,致动器组件和控制器。光源基于来自控制器的扫描指令发射图像光。源波导接收发射的图像光,在至少一个维度上扩展图像光,并在输入区域将扩展的图像光输出到输出波导。输出波导从输出区域的一部分输出扩展的图像光。致动器组件利用第一组致动器调节源波导的第一曲率,并利用第二组致动器调节输出波导的第二曲率,其中第一曲率与第一曲率正交。


9. 《
Facebook Patent | Adjustable Front Assembly In Head-Mounted Display(Facebook专利:头戴式显示器的可调前端组件)

实施例涉及头戴式显示器中的可调节臂。每个可调节臂包括三个单独的链节,所述链节构造成允许用户以多种方式移动前端组件以调整适眼距。


10. 《
Facebook Patent | Systems And Methods For Providing Augmented Reality Overlays(Facebook专利:提供增强现实叠加的系统和方法)

专利描述的系统,方法和非暂时性计算机可读介质可以识别摄像头视图中描绘的一个或多个对象。系统可根据识别的一个或多个对象来确定增强现实叠加元素。系统可基于增强现实叠加元素来修改摄像头视图。


11. 《
Facebook Patent | Panoramic Camera Systems(Facebook专利:全景摄像头系统)

摄像头系统捕获来自一组摄像头的图像,以生成环境的双目全景视图。摄像头在摄像机系统中定向。为了校准系统,识别图像之间的匹配特征,并用于估计摄像头系统之外的三维点。修改校准参数以改善三维点估计。当捕获图像时,管道利用来自相邻摄像头的重新投影视图和图像金字塔来为每个摄像头生成深度图。可以通过生成对应于深度图的深度表面并混合深度表面,从而利用图像来生成不同角度的环境视图。


12. 《
Facebook Patent | Three-Dimensional, 360-Degree Virtual Reality Camera System(Facebook专利:三维,36-度虚拟现实摄像头系统)

摄像头系统配置为捕获局部区域的360度图像信息,其中至少一部分是立体视场。摄像头系统包括多个外围摄像头,多个轴摄像头,第一刚性板和第二刚性板。外围摄像头以环形配置布置。第一刚性板和第二刚性板分别固定至外围摄像头环形配置的上表面和下表面。至少一个轴摄像头沿对准轴线布置,并且垂直地耦合至第一刚性板表面。


13. 《
Facebook Patent | Panoramic Camera Systems(Facebook专利:全景摄像头系统)

摄像头系统捕获来自一组摄像头的图像,以生成环境的双目全景视图。摄像头在摄像机系统中定向。为了校准系统,识别图像之间的匹配特征,并用于估计摄像头系统之外的三维点。修改校准参数以改善三维点估计。当捕获图像时,管道利用来自相邻摄像头的重新投影视图和图像金字塔来为每个摄像头生成深度图。可以通过生成对应于深度图的深度表面并混合深度表面,从而利用图像来生成不同角度的环境视图。


14. 《
Facebook Patent | Cartilage Conduction Audio System For Eyewear Devices(Facebook专利:用于眼戴组件的骨导音频系统)

音频系统包括换能器组件,音频传感器和控制器。换能器组件耦合到用户耳廓背后。换能器组件在一定频率范围内振动耳廓,致使耳廓根据振动指令产生声压波。声学传感器检测用户耳朵入口处的声压波。控制器部分地根据声压检测而波动态地调整频率响应模型,利用调整后的频率响应模型更新振动指令,并将更新的振动指令提供给换能器组件。


15. 《
Facebook Patent | Bone-Conduction Headset With Crosstalk Cancelation Function(Facebook专利:支持串音消除的骨导头显)

对于专利描述的实施例,其通过修改发送至骨传导换能器的骨传导信号来消除因使用多个骨传导换能器引起的串扰振动。使用自适应滤波器修改骨传导信号。根据在骨传导换能器处产生的振动和在振动传感器组件处感测的串扰振动,调整其系数。 用于产生校准振动的骨传导换能器和用于检测串扰振动的振动传感器组件可以放置在用户头部的相对侧。


16. 《
Microsoft Patent | Eye-Tracking System Using A Freeform Prism And Gaze-Detection Light(微软专利:利用任意多边形棱镜和注视光的眼动追踪系统)

示例透视头显系统包括任何多边形棱镜和显示组件,所述显示组件配置为通过任意多边形棱镜将显示光发设置用户眼睛。透视头显系统同时可以包括成像组件,所述成像组件配置为接收从眼睛反射并被引导通过任意多边形棱镜的注视检测光。


17. 《
Microsoft Patent | Constructing Augmented Reality Environment With Pre-Computed Lighting(微软专利:通过预计算的照明来构建增强现实环境)

专利描述了通过预计算的照明来构建增强现实环境的实施例。例如,一个实施例提供了一种通过显示设备显示增强现实图像的方法。所述方法包括接收图像数据,捕获显示设备本地环境的图像数据,以及经由图像数据识别本地环境的物理特征。所述方法同时包括构建虚拟结构的增强现实图像;在物理特征的空间配准中将其显示在物理特征之上,增强现实图像包括布置在相邻位置的多个模块化虚拟结构段以形成虚拟结构特征,每个模块化虚拟结构段包括预先计算的全局照明效果;以及将增强现实图像输出到显示设备。


18. 《
Google Patent | Adjusting Video Rendering Rate Of Virtual Reality Content And Processing Of A Stereoscopic Image(谷歌专利:虚拟现实内容的视频渲染速率调整和立体图像的处理)

示例技术可以包括:根据第一更新速率更新计算设备屏幕的整个图像,以第一视频渲染速率执行视频渲染;确定视频渲染的性能小于阈值;基于确定信息,以第二视频渲染速率执行视频渲染,其中以第一更新速率更新图像的第一部分,并以第二更新速率更新图像的第二部分,第二更新率低于第一更新速率。


19. 《
Sony Patent | Realtime Lens Aberration Correction From Eye Tracking(索尼专利:基于眼动追踪的实时透镜像差校正)

专利描述的系统和方法包括,接收在头显显示屏呈现的图像。图像由应用程序提供。预扭曲接收的图像,以使头显光学元件能够渲染图像。通过确定眼睛相对于光学元件至少一个透镜光轴的位置,为头显用户的眼睛识别对准偏移。调整应用程序提供的预扭曲图像以定义校正的预扭曲图像。经校正的预扭曲图像转发至显示屏幕以进行渲染,使得头显光学系统呈现的图像可以消除由对准偏移引起的像差。


20. 《
Sony Patent | Systems And Methods For Providing Feedback To A User While Interacting With Content(索尼专利:在用户与内容交互时向其提供反馈的系统和方法)

专利描述了用于向用户提供反馈的系统和方法。其中一种方法包括发送交互式数据以在头显中渲染。所述方法包括在用户佩戴头显时接收与用户身体部位相关联的图像数据。所述方法包括根据用户图像数据追踪与用户身体部位相关联的空间位置。


21. 《
Sony Patent | Image Display Device, Image Display Method, And Computer Program(索尼专利:图像显示组件,图像显示方法及计算机程序)

穿戴于用户头部或脸部的图像显示设备包括显示图像的显示单元;信息维护单元,其用于维护用户的用户信息;区域指定单元,其根据用户信息在视场中指定注视区域;图像处理单元,其对注视区域执行图像处理;显示控制单元,其控制显示单元显示注视区域。


22. 《
Sony Patent | Methods And Systems For Navigation Within Virtual Reality Space Using Head Mounted Display(索尼专利:用头戴式显示器在虚拟现实空间中导航的方法和系统)

视频数据发送到头戴式显示器,其用于在头戴式显示器内显示虚拟现实场景。在检测到头戴式显示器的移动时,生成虚拟现实场景的调整,其中系统在虚拟现实场景内移动用户的视场,并确定用户的注视方向。根据用户的注视方向,确定当前位于焦点位置的对象。调整虚拟现实场景,以将所述对象朝用户视点移动。将与所述对象相关联的音频内容提供给头戴式显示器。


23. 《
Intel Patent | 3-Dimensional Scene Analysis For Augmented Reality Operations(英特尔专利:用于增强现实操作的三维场景分析)

专利描述了用于场景3D分析的技术,包括场景内的对象的检测,分割和配准。分析结果可用于实现增强现实操作,包括移除和插入对象,以及生成蓝图。示例方法可以包括接收场景的3D图像帧,每个帧与深度camera的姿势相关联,以及基于投影和累积到全局坐标系中的深度像素来创建场景的3D重建。所述方法同时可以包括根据3D重建,camera姿势和图像帧来检测场景内的对象及相关位置。所述方法同时可以包括,将检测到的对象分割成与对象轮廓对应的3D重建点,并将分割对象注册到对象的3D模型,以确定它们的对齐。


24. 《
Intel Patent | Head Mounted Secure Display System(英特尔专利:头戴式安全显示系统)

专利描述了通过一副护目镜来安全地显示媒体内容的系统和方法。一种方法可以包括利用护目镜透镜播放安全媒体,监视安装在护目镜的多个垫圈以确定是否发生了损坏,并且使用安装在护目镜的摄像头检测视场内是否存在无机物质。所述方法可以包括根据检测到的损坏或无机物质而发出警报,以及响应于警报而停止播放安全媒体内容。


25. 《
Nvidia Patent | Variable Refresh Rate Video Capture And Playback(英伟达专利:可变刷新率视频捕获与播放)

专利描述了一种渲染和显示视频的方法。所述方法包括由处理器执行应用程序。所述方法包括在多个图形处理单元位置渲染多个图像帧。所述方法包括确定与多个图像帧渲染之间的相对定时信息。所述方法包括将多个图像帧编码为视频文件。所述方法包括将信息编码到视频文件。


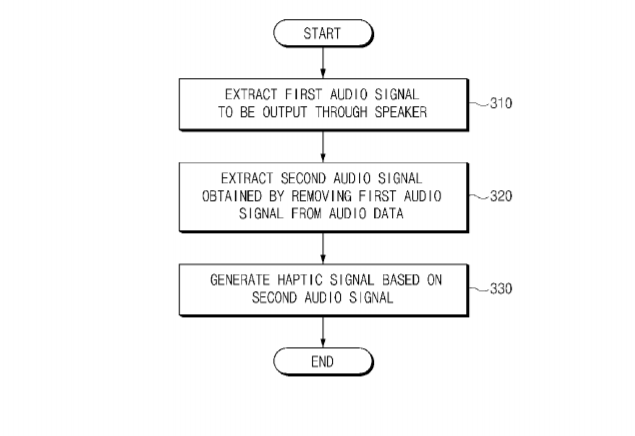
26. 《
Samsung Patent | Method For Producing Haptic Signal And Electronic Device Supporting The Same(三星专利:产生触觉反馈信号的方法及支持所述方法的电子组件)

专利描述的电子设备包括储存器;能够执行通信的通信接口,以及电连接至存储器和通信接口的处理器。处理器配置为根据从外部电子设备接收,和/或存储在存储器中的音频数据提取要通过扬声器输出的第一音频信号,以产生通过从第一音频数据中移除第一音频信号而获得的第二音频信号,并根据第二音频信号生成用于输出触觉效果的触觉信号。

0

  1. This post has no comment yet

发表回复

您的邮箱地址不会被公开。 必填项已用 * 标注