/ Nweon / 0浏览

2019年03月08日美国专利局最新AR/VR专利报告



映维网
2019年03月08日

)近期美国专利及商标局公布了一批全新的AR/VR专利,以下是映维网的整理(详情请点击专利标题),一共30篇。更多专利披露请访问映维网专利板块
https://patent.nweon.com/
进行检索,也可加入映维网AR/VR专利交流微信群。


1. 《
AT&T Patent | Augmented Reality Retail System(AT&T专利:增强现实零售系统)

专利描述了用于提供附加信息的方法,计算机可读介质和装置。例如,从消费者设备接收识别产品的识别码,从
社交
网络获取关于消费者的社交媒体信息,并将附加信息提供给消费者的设备,其中附加信息涉及产品,而且附加信息是基于社交媒体信息。


2. 《
ODG Patent | Compact Optics With Reduced Chromatic Aberrations(ODG专利:色差减少的紧凑型光学元件)

专利描述了一种调节可调照明光源的方法,所述可调照明光源具有用于头显的反射显示器,以减少图像中的色彩伪影。所述方法包括在显示图像中识别与色彩伪影相关联的颜色,及调节可调照明光源以降低与色彩伪影相关联的颜色的亮度。


3. 《
Adobe Patent | User Identification And Identification-Based Processing For A Virtual Reality Device(Adobe专利:虚拟现实设备的用户识别与认证过程)

虚拟现实设备配置为生成逼真的图像,声音和其他感觉,用于为用户复刻真实或想象的环境。当第一用户与设备交互时,记录表示第一用户在访问期间与设备交互的第一用户交互数据。基于第一用户交互数据生成第一唯一访问者指纹。当第二用户与设备交互时,记录表示第二用户在访问期间与设备交互的第二用户交互数据。基于第二用户交互数据生成第二唯一访问者指纹。 比较第一唯一访问者指纹和第二唯一访问者指纹,以确定第二用户是否与第一用户相同。根据确定信息,可以执行一个或多个功能。


4. 《
Apple Patent | Thermal Regulation For Head-Mounted Display(苹果专利:用于头戴式显示器的热管理)

专利描述了用于头显设备的热管理方法。用户穿戴的头显包括壳体,限定在壳体中的组件腔室,以及产生热量的电子元件。电子元件位于壳体的组件腔室中。头显同还包括第一风扇,用于致使空气流出组件腔室。


5. 《
Apple Patent | Head-Mounted Display With Adjustment Mechanism(苹果专利:包含调节机制的头戴式显示器)

专利描述了头显穿戴方式,以及针对头显调节方式的优化。在一个系统中,盒箱位于束带中间并置放于用户后脑勺,但它可以附接至束带的其他位置,或甚至是嵌入在头显主体之内。所述盒箱包含一个电动马达,其可以收缩或扩大束带的长度,从而令束带变紧或变松。

第二种形式涉及齿条,并用于实现类似的变紧和变送目的。第三种实现方法则是采用含有气动气囊的固定框架。在穿戴头显后,气囊充气,从而将头显夹在用户头部。


6. 《
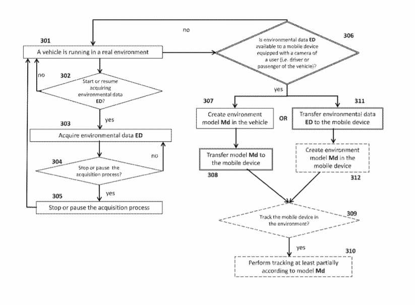
Apple Patent | Method Of Tracking A Mobile Device And Method Of Generating A Geometrical Model Of A Real Environment Using A Camera Of A Mobile Device(苹果专利:追踪移动设备的方法和利用移动设备摄像头生成真实环境几何模型的方法)

对于在真实环境中追踪包括至少一个摄像头的移动设备,所涉及的包括以下步骤:接收与由至少一个摄像头捕获的至少一个图像相关联信息;根据至少一个传感器获取的环境数据或移动系统状态数据,生成真实环境至少一部分的几何模型;并且根据与至少一个图像相关联信息执行追踪过程。专利同时描述了利用至少一个摄像头提供的图像信息来生成真实环境至少一部分的几何模型。


7. 《
Apple Patent | Point Cloud Geometry Compression(苹果专利:点云几何压缩)

专利描述的系统包括:编码器,其配置为压缩包括多个点的点云,每个点包括空间信息。编码器配置为对点进行子采样,并确定子采样点的细分位置。编码器配置为针对相应的细分位置确定是否要包含特定点,不包含特定点,或相对于细分位置重新定位特定点。编码器对子采样点的空间信息进行编码,并对细分位置点的包含/重定位信息进行编码,以生成压缩点云。解码器根据空间信息和细分位置的包含/重定位信息来重建原始点云的原始或近似副本。


8. 《
Oculus Patent | Fluidic Pump And Latch Gate(Oculus专利射流泵与闩锁)

射流设备包括第一通导管,阀装置,和与第一通导管相邻的附加元件。第一通导管将流体从第一流体入口输送到流体出口。在一个实施例中,附加元件是泵室,其从第二流体入口接收流体并根据流体压力将其输送至第一通导管中。或者,附加元件包括第二通导管和第一通导管的颈部。 第一通导管和第二通导管共用相同的壁。第一通导管中的流体压力控制阀装置。值装置通过致使公共壁变形来改变第一通导管中的流体流速,以改变颈部的横截面积,而这改变了第二通导管中的流体流动速率。


9. 《
HTC Patent | Frame Rendering Apparatus, Method And Non-Transitory Computer Readable Storage Medium(HTC专利:帧渲染装置,方法和暂时性计算机可读存储介质)

一种用于头戴式设备的帧渲染方法,其包括下面概述的步骤。接收输入帧。从运动传感器检索对应于第一输入帧和第二输入帧的第一方向信息和第二方向信息。根据第一方向信息和第二方向信息生成与目标时间点对应的预测方位信息。根据第一方向和第二方向信息对第一输入帧和第二输入帧执行方向校准,以分别产生对应于预测方位的第一校准帧和第二校准帧。根据第一校准帧和第二校准帧生成对应于目标时间点的多个外插帧中的一个。


10. 《
Magic Leap Patent | Three Dimensional Virtual And Augmented Reality Display System(Magic Leap专利:三维虚拟现实和增强现实显示系统)

系统可以包括选择性透明的投影设备,并从相对于用户眼睛的空间中的投影设备位置向用户眼睛投射图像,所述投影设备在不投影图像时保持基本透明的状态;所述系统同时可以包括遮挡掩模设备,其耦合至投影设备,并配置成以与投影设备投影图像相关联的遮挡图案;所述系统同时可以包括边界板衍射图案形成设备,其位于用户眼睛和投影设备之间,并且配置成致使来自投射设备的光线在行进至眼睛时通过具有可选几何形状的衍射图案。


11. 《
Magic Leap Patent | Detailed Eye Shape Model For Robust Biometric Applications(Magic Leap专利:用于稳健生物识别应用的详尽眼形模型)

专利描述了通过详尽眼形模型来实现稳健生物识别应用的系统和方法。在一个方面,在接收眼睛的眼睛图像(如通过增强现实显示设备的
眼动追踪
仪)之后, 利用级联形状回归方法计算眼睛图像(如上眼睑或下眼睑,虹膜或瞳孔)。然后可以确定与估计眼睛形状相关的眼睛特征,并将其用于生物特征应用,如注视点估计或生物特征识别/认证。


12. 《
Magic Leap Patent | Generating A New Frame Using Rendered Content And Non-Rendered Content From A Previous Perspective(Magic Leap专利:利用前一视觉的渲染内容和非渲染内容来生成新帧)

专利描述了利用前一视觉的渲染内容和非渲染内容来生成新帧的方法。根据第一视角的第一组对象,呈现其可见表面的点。存储来自第一个视角的渲染内容和非渲染内容。第二视角图像中的新帧利用第一视角图像的渲染内容和非渲染内容生成。


13. 《
Facebook Patent | Depth Measurement Using A Pulsed Structured Light Projector(Facebook专利:利用脉冲结构光投影仪来测量深度)

深度测量组件(Depth Measurement Assembly;DMA)包括脉冲发光器组件,深度摄像头组件和控制元件。脉冲发光器组件具有结构化的光投射器,其以脉冲速率将结构光的脉冲投射至局部区域。深度摄像头组件捕获所述局部区域中的对象图像数据。与脉冲发光器组件投射的脉冲脉动和同步深度摄像头组件的曝光间隔。控制元件控制脉冲发光器组件和深度摄像头组件,致使它们同步。根据捕获的图像数据,控制元件同时确定对象的深度和/或追踪信息。在一些实施例中,脉冲发光器组件具有多个结构化光投射器,其在不同时间投射结构光的脉冲。


14. 《
Facebook Patent | Depth Measurement Using Multiple Pulsed Structured Light Projectors(Facebook专利:使用多脉冲结构光投影仪来测量深度)

深度测量组件(Depth Measurement Assembly;DMA)包括脉冲发光器组件,深度摄像头组件和控制元件。脉冲发光器组件具有结构化的光投射器,其以脉冲速率将结构光的脉冲投射至局部区域。深度摄像头组件捕获所述局部区域中的对象图像数据。与脉冲发光器组件投射的脉冲脉动和同步深度摄像头组件的曝光间隔。控制元件控制脉冲发光器组件和深度摄像头组件,致使它们同步。根据捕获的图像数据,控制元件同时确定对象的深度和/或追踪信息。在一些实施例中,脉冲发光器组件具有多个结构化光投射器,其在不同时间投射结构光的脉冲。


15. 《
Facebook Patent | Method And Image Processing System For Determining Parameters Of A Camera(Facebook专利:确定摄像头参数的方法和图像处理系统)

在一个实施例中,一种方法包括生成周围区域的几何布置,所述几何布置描述了周围区域空间中的第一组视觉特征位置;确定摄像头的参数,所述摄像头参数说明摄像头的近似位置,方向,或光学特性中的一个或多个;将所确定的摄像头参数应用于周围区域的几何布置,以在特征图像显示第一组视觉特征;将通过摄像头记录图像提取的第二组视觉特征叠加在特征图像;确定特征图像中第一组视觉特征位置和第二组视觉特征位置之间的一致性测量;如果相关测量已超过阀值,则使用摄像头的确定参数作为摄像头的实际参数。


16. 《
Facebook Patent | Non-Mechanical Beam Steering For Depth Sensing(Facebook专利:用于深度感测的非机械波束控制)

专利描述了用于局部区域深度感知的深度摄像头组件(DCA)。DCA包括发射器,接收器和控制元件。发射器根据发射指令用出射光照亮局部区域。发射器包括精细控制元件和粗略控制元件。精细控制元件以第一偏转角偏转一个或多个光束,以产生一个或多个一阶偏转扫描光束。粗略控制元件以第二偏转角偏转一个或多个一阶偏转扫描光束,以产生投射到局部区域的出射光。接收器捕获局部区域的一个或多个图像,包括从局部区域反射的出射光部分。控制元件部分地根据捕获的一个或多个图像来确定局部区域中一个或多个对象的深度信息。


17. 《
Microsoft Patent | Display Apparatuses, Systems And Methods Including Curved Waveguides(微软专利:包含曲面波导的显示装置,系统和方法)

专利描述了包括曲面光波导的装置和系统。曲面波导的输出光栅包括空间调制的光栅周期。对于通过输入光栅耦合到曲面波导基板中的图像的每个对应光束,光栅周期配置为致使来自输入光栅不同位置的输入光线基本为准直。对于与光线相关联的视场变化,显示引擎的自适应光学元件补偿因视场变化而引起的像差。另外,曲面波导的曲面部分设计成将内部反射光线保持在临界角度以下,以防止其无意地外耦合。另外,曲面波导的弯曲表面可以包括多项式表面以补偿横向颜色误差和失真。


18. 《
Microsoft Patent | Head-Mounted Display Input Translation(微软专利:头显输入转换)

专利描述了计算设备,头显设备,以及处理来自指针设备的空间输入信号的方法。在一个示例中,指针显示在桌面窗口中。桌面窗口和指针通过三维环境中的头显设备显示。从指针设备接收空间输入信号,并将其转换为桌面窗口中的指针二维运动。根据对指针位置移动到桌面窗口之外的确认,空间输入信号转换成由头显显示的指针三维运动。


19. 《
Google Patent | Interactive Geo-Contextual Navigation Tool(谷歌专利:交互式地理情景导航工具)

专利描述了提供交互式地理情景界面的系统,装置和方法。在一个实施例中,一种方法可以包括提供在显示设备上显示的用户界面。用户界面可以包括用于呈现视觉内容的显示区域。所述方法可以包括提供在显示设备上显示的交互式微件。微件可以以三维形式表示,并具有与三维主体相对应的外观。所述方法可以包括,接收表示用户输入指向至少一个用户界面和微件的数据。所述方法可以包括至少部分地根据所述数据来调整视觉内容,窗口微件和视觉指示器中的至少一个。


20. 《
Qualcomm Patent | Visual Search In Real World Using Optical See-Through Head Mounted Display With Augmented Reality And User Interaction Tracking(高通专利:利用具有增强现实功能和用户交互追踪的光学透视头显来在现实世界中进行视觉搜索)

对于专利描述的方法,装置和计算机程序产品,其主要用于通过具有光学透视头戴式显示器的增强现实设备实现在线视觉搜索。所述装置根据用户与头显交互来识别头显视场中的对象的一部分。所述部分包括可搜索的内容,如条形码。用户交互可以是眼睛注视或手势。追踪与头显屏幕相关的用户交互点,以定位包括所述部分的对象区域,并在所述区域内检测所述部分。所述装置捕获所述部分的图像。对象的识别部分不包含整个对象。因此,图像的尺寸小于视场中的对象的尺寸。所述设备将图像发送到视觉搜索引擎。


21. 《
Sony Patent | Systems And Methods For Using Reduced Hops To Generate An Augmented Virtual Reality Scene Within A Head Mounted System(索尼专利:利用更少跳数来在头显系统中生成扩增虚景的系统与方法)

专利描述了利用更少跳数来在头显系统中生成扩增虚景的系统与方法。头显可利用游戏云系统进行游戏。头显包括通信电路,其用于经由网络发送与游戏程序相关联的现实世界媒体。真实世界媒体由游戏云系统处理,并直接从通信电路流传输至游戏云系统。头显同时包括耦合至通信电路的游戏处理电路。游戏处理电路用于解码从游戏云系统接收的交互式媒体。计算机生成的交互式媒体是基于真实世界的媒体生成。


22. 《
Sony Patent | Camera Based Safety Mechanisms For Users Of Head Mounted Displays(索尼专利:针对头显用户的基于摄像头的安全机制)

对于专利描述的方法和系统,其是用于在游戏期间向用户发出安全警告。执行游戏,使得游戏的交互式场景传输至头显以进行显示。在真实世界环境的三维空间中确定头显坐标,以识别用户的当前位置。通过识别头显的一个或多个坐标变化,在执行游戏期间确定头显的移动。当确定用户正在接近真实世界的交互空间边界时,将警告信号放松至头显以告知用户。


23. 《
Sony Patent | Display Control Device, Display Control Method, And Computer Program(索尼专利:显示控制设备,显示控制方法及计算程序)

专利描述了一种显示控制装置,其能够在确保头显用户安全的同时维持用户的视场。所述显示控制装置包括:情况获取单元,其配置为获取关于透视显示器的使用情况信息;以及显示控制单元,其配置为根据情况获取单元获取的信息对透视显示器执行显示控制,使得相关信息变得清晰可见。


24. 《
Sony Patent | Image Processing Method And Apparatus(索尼专利:图像处理方法和装置)

专利描述了一种处理包含叠加层的主视频流的方法,而所述视频可由头显设备进行显示。所述方法包括识别主视频流中的一个或多个合适区域以显示叠加内容。所述方法同时包括生成说明合适区域位置和深度的元数据,后者定义如何根据头显方向变化而改变叠加内容的显示。所述方法同时包括提供与主视频流相关联的元数据。


25. 《
Intel Patent | Dynamic Brightness And Resolution Control In Virtual Environments(英特尔专利:动态控制虚拟环境的亮度和分辨率)

对于专利描述的系统,装置和方法,其可用于根据用户至少一只眼睛的眼睛特征测量来动态地控制显示器。


26. 《
Intel Patent | Stereoscopic Rendering Using Vertex Shader Instancing(英特尔专利:利用顶点着色器实例化来进行立体渲染

各个实施例描述了生成场景立体视图的技术,从而为场景提供深度幻觉。 用于立体渲染的装置包括处理器组件;顶点着色器,其用于生成与场景图元对应的多个顶点。顶点着色器将多个顶点的第一实例变换为二维区域第一部分中的第一投影空间,并将多个顶点的第二实例变换为二维区域中第二部分的第二投影空间,二维区域的第一部分对应于场景的第一立体视图,二维区域的第二部分对应于场景的第二立体视图。


27. 《
Samsung Patent | Electronic Apparatus, Control Method Thereof And Computer Program Product Using The Same(三星专利:电子装置及其控制方法和利用所述控制方法的计算机程序产品)

专利描述了一种用于提供增强现实显示的电子设备,其包括与显示设备上的用户界面相对应的虚拟用户界面,并且经由虚拟用户界面接收用于控制显示设备的输入。


28. 《
Samsung Patent | Mobile Device And Method Of Pairing The Same With Electronic Device(三星专利:移动设备及其与电子设备匹配的方法)

专利描述了配对眼镜与电子设备的方法和设备。眼镜存储关于多个电子设备的识别信息和设备信息,设备信息可用于将眼镜与多个电子设备配对。眼镜通过摄像头获取至少一个电子设备的图像。眼镜从图像中提取至少一个识别信息。眼镜基于提取的识别信息和存储的识别信息选择电子设备。眼镜基于电子设备的设备信息与电子设备配对。


29. 《
Samsung Patent | Electronic Apparatus, Method For Controlling Thereof And The Computer Readable Recording Medium(三星专利:电子设备及其控制方法和计算机可读记录介质)

专利描述了了一种电子设备。所述电子设备包括:输入器,其配置为接收双眼图像和立体图像;处理器,其配置为利用双目图像来检测立体图像中的用户观察点,获取输入立体图像中的视差图,并使用所获得的视差图来补偿检测到的观察点。


30. 《
DigiLens Patent | Waveguide Grating Device(DigiLens专利:波导光栅器件)

光波导包括至少两个全内反射(TIR)表面,并包含光栅。沿第一传播方向具有第一角度范围的输入TIR光线在光栅中经历至少两次衍射。每次衍射沿着第二传播方向将光线引导至独特的TIR角度范围。

0

  1. This post has no comment yet

发表回复

您的邮箱地址不会被公开。 必填项已用 * 标注