(
映维网
2019年03月06日
)近期美国专利及商标局公布了一批全新的AR/VR专利,以下是映维网的整理(详情请点击专利标题),一共23篇。更多专利披露请访问映维网专利板块
https://patent.nweon.com/
进行检索,也可加入映维网AR/VR专利交流微信群。
1. 《
KOREA INSTITUTE OF SCIENCE AND TECHNOLOGY Patent | Full Parallax Multi-Focus Three-Dimensional Display(韩国科学技术院专利:全视差多焦点三维显示器)
》
专利描述了一种全视差多焦点三维显示器,所述设备包括:视差图像提供器,其配置为形成在空间上彼此相隔个的二维布置视差图像,以提供至少两个视差图像;视差图像会聚单元,其配置为将视差图像会聚在眼球瞳孔周围。
2. 《
MediaTek Patent | Method And Apparatus Of Signalling Syntax For Immersive Video Coding(MediaTek专利:用于沉浸式视频编码的信令语构的方法和装置)
》
根据一种方法,在数据源端或编码器端确定与360度虚拟现实图像相关联的所选视口。然后确定与所选金字塔投影格式相关的一个或多个参数。对于用于所述一个或多个参数的一个或多个语构元素,其包括在360度虚拟现实图像的编码数据中。提供360度虚拟现实图像的编码数据作为输出数据。在接收器端或解码器端,从360度虚拟现实图像的编码数据中解析用于一个或多个参数的一个或多个语构元素。基于包括所述一个或多个参数的信息,确定与360度虚拟现实图像相关联的所选金字塔投影格式。然后根据所选视口恢复360度虚拟现实图像。
3. 《
Disney Patent | Collaborative Multi-Modal Mixed-Reality System And Methods Leveraging Reconfigurable Tangible User Interfaces For The Production Of Immersive, Cinematic, And Interactive Content(迪士尼专利:协同多模态混合现实系统和方法,利用可重构的有形用户界面来生成沉浸式,影视式和交互式内容)
》
专利描述了一种协同多模态混合现实系统和方法,其利用可重构的有形用户界面来生成沉浸式,影视式和交互式内容。如专利所述,内容可以是实况媒体内容和计算机生成媒体内容与情景的混合;或完全由计算机生成的媒体内容。专利描述的技术可以利用物理用户界面和基于软件的用户界面来组合和联结物理世界和虚拟世界,允许用户利用模仿传统过程的用户体验和用户交互来产生新形式的内容。
4. 《
Disney Patent | Drones Generating Various Air Flow Effects Around A Virtual Reality Or Augmented Reality User(迪士尼专利:用无人机来为虚拟现实或增强现实用户生成各种气流效果)
》
专利指出,可利用一个或多个无人机器来围绕头显用户生成各种效果,从而提升虚拟现实或增强现实体验。生成的效果可以与VR/AR内容同步。这里描述的特定系统与方法是通过无人机来为虚拟现实或增强现实用户生成各种气流效果。无人机生成的气流效果可以模拟对应于VR/AR环境的物理感知和/或嗅觉感。
5. 《
Disney Patent | Systems And Methods To Synchronize Visual Effects And Haptic Feedback For Interactive Experiences(迪士尼专利:为交互式体验同步视觉效果和触觉反馈的系统和方法)
》
专利描述了为交互式体验同步视觉效果和触觉反馈的系统和方法。视觉电路控制信号可以指示对图像呈现设备的控制,以呈现形成虚拟内容的图像。触觉电路控制信号可以指示对触觉反馈设备的控制,以提供触觉输出。对于由呈现设备执行可视电路控制信号中的等待时间,和/或由触觉反馈设备执行触觉电路控制信号的等待时间中,可以确定其中一个或两者的定时信息。根据定时信息,可以将可视电路控制信号传输到呈现设备,和/或将触觉电路控制信号传输到触觉反馈设备,使得在阈值内发生图像的呈现和触觉输出的提供。
6. 《
Leap Motion Patent | Drift Cancelation For Portable Object Detection And Tracking(Leap Motion专利:便携式对象检测和追踪的漂移消除)
》
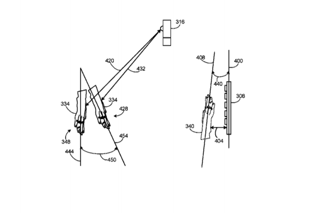
对于专利描述的技术,其可以使用运动传感器,和/或耦合到动捕系统的其他类型传感器来监控真实环境内的运动。可以将虚拟对象投影到便携式设备的用户,集成至关于用户真实环境的增强渲染之中。至少部分地根据成像传感设备或声学传感设备接收的传感信息来确定用户身体部分的运动信息。在一些实现中,可以通过添加触觉,音频和/或其他感官信息投影仪来增强虚拟设备体验。
7. 《
Harman Patent | Mobile Speaker System For Virtual Reality Environments(哈曼专利:用于虚拟现实环境的移动式扬声器系统)
》
通过静态音频设备输出的音频内容可能无法准确地表示虚拟环境和/或里中的虚拟对象…例如,固定式扬声器输出的声音可能无法准确地反映用户与虚拟对象之间的距离,方向和/或运动。通过可在空间中移动的机动式/机器人扬声器来映射VR声场,这可以再现各种各样的声学现象,包括能够自行发出声音的对象,可以反弹声音的墙壁,可以吸收声音的物理障碍等,从而令用户听到的音频更紧密地匹配用户对音频的期望。因此,音频将有助于提升虚拟现实体验的沉浸感。
8. 《
Apple Patent | Lighting Systems(苹果专利:照明系统)
》
照明系统可以包括一个或多个光源和一个或多个光导。照明系统可以集成到车窗,天窗,车灯(如前灯和尾灯),以及车内的仪表板或车辆系统的其他位置。光导可以嵌入车辆结构中的聚合物层。光导可以与聚合物层折射率匹配,使得光导的未照射部分为透明,并且与车辆结构别无二致。
9. 《
Facebook Patent | Circuit Board With Anchor Cleat For A Connector(Facebook专利:用于连接器的带锚楔电路板)
》
专利描述了一种包括柔性线缆的连接器组件,所述柔性线缆包括壳体;多条电线,其中每条电线具有由所述壳体封装的第一部分和延伸超过所述壳体的第二部分;以及具有由所述壳体封装的第一部分和延伸超过壳体的第二部分的光纤。连接器组件同时包括壳体,壳体具有用于容纳柔性线缆的第一端,与另一连接器连接的第二端,以及设置在壳体中的电路板。电路板包括与多条电线连接的第一终端,与连接器连接的第二端子,将相应第一终端与相应第二终端连接的多条迹线,以及锚楔。光纤的第二部分延伸超出壳体并到锚楔,同时缠绕锚楔。
10. 《
Facebook Patent | Coded Tracking For Head-Mounted Displays(Facebook专利:头显的编码追踪)
》
专利所述的编码追踪系统包括成像设备和目标对象,目标对象包括根据第一图案发光的多个定位器。对于由成像设备捕获的目标对象图像,其包括由成像设备从多个定位器的子集中所接收的光线。图案控制器配置为确定捕获图像中相邻光源对的分辨率值。分辨率值表示图案控制器能够将相邻的一对光源解析为两个单独的光源。图案控制器根据分辨率值确定定位器的第二图案。第二图案可以提升图案控制器在第二图案中解析各个发光源的可能性。图案控制器指示目标对象以令定位器根据第二图案发光。
11. 《
Facebook Patent | Head Mounted Displays With Shaped Lenses(Facebook专利:含有成形透镜的头戴式显示器)
》
专利描述了具有透镜移动组件和相关系统与方法的头显。在一个实施例中,头显系统包括围绕一个或多个显示设备的显示器外壳,第一透镜,以及第二透镜。显示器壳体的输入设备包括可在第一位置和第二位置之间移动的控制构件。透镜移动组件可耦合至输入设备,以及第一透镜和第二透镜。透镜移动组件配置为响应于控制构件,在第一位置和第二位置之间相对于第二透镜移动第一透镜。
12. 《
Microsoft Patent | Optical Waveguide With Coherent Light Source(微软专利:具有相干光源的光波导)
》
波导增加了从相干光源接收的光线一部分的光路。波导包括允许来自相干光源出射光瞳的光线进入波导的第一元件,以及引导所述光线通过第一组光瞳并离开波导的第二元件。波导包括附加元件,其致使剩余光线在通过第二组光瞳并离开波导之前,剩余光线形成通过波导和第二元件的额外路径,以增加出射光线的路径。第一组光瞳和第二组光瞳错开,使得离开光瞳的光线不会干扰通过相邻光瞳射出的光线。
13. 《
Microsoft Patent | Pupil-Expansion Optic With Offset Entry Apertures(微软专利:具有偏移入射孔的光瞳扩展光学元件)
》
近眼显示系统包括第一光波导和第二光波导。第一光学波导配置为通过第一入射孔接收第一图像,沿第一光学波导扩展第一图像,以及释放扩展的第一图像。第二光学波导平行于第一光学波导,并配置成通过第二入射孔接收第二图像,沿第二光学波导扩展第二图像,并释放扩展的第二图像。扩展的第二图像与扩展的第一图像重叠。第二入射孔沿第二光波导偏离于第一入射孔。
14. 《
Microsoft Patent | Holographic Keyboard Display(微软专利:全息键盘显示器)
》
专利中的实施例涉及在全息环境中显示全息键盘和手部图像。在一个实施例中,从捕获设备接收用户手部实际位置的深度信息。用户的手部以初始实际距离与捕获设备隔开,并且全息键盘图像以虚拟距离在空间中与全息手部图像隔开。更新用户手部移动至距捕获设备的实际距离。根据这一信息,全息键盘图像在空间中保持与全息手部图像的虚拟距离。
15. 《
Microsoft Patent | Determining Coordinate Frames In A Dynamic Environment(微软专利:在动态环境中确定坐标系)
》
专利描述的实施例涉及用于区分物理环境中的特征点移动的方法和系统。如对于头显,所述方法的一个实施例包括获取两个或多个坐标系中的真实世界特征表示,并从头显之外的一个或多个传感器获取运动数据。所述方法同时包括根据运动数据区分一个坐标系中的特征与另一个坐标系中的特征。
16. 《
Microsoft Patent | Region-Adaptive Hierarchical Transform And Entropy Coding For Point Cloud Compression, And Corresponding Decompression(微软专利:用于点云压缩和相应解压缩的区域自适应层级解码和熵编码)
》
专利描述了点云数据的压缩和解压缩的创新。例如,编码器配置为对点云数据进行编码,从而产生编码数据。具体来说,编码器将区域自适应层级解码(Region-Adaptive Hierarchical Transform;RAHT)应用于占用点的属性,从而产生编码系数。编码器同时可以量化编码系数,并执行量化编码系数的自适应熵编码。对于相应的解码,解码器配置为解码编码数据,以重建点云数据。特别地,解码器应用逆RAHT来解码占用点的属性系数。解码器同时可以执行量化解码系数的自适应熵解码和逆量化。自适应熵编码/解码可以利用对量化解码系数值分布的估算。在这种情况下,编码器计算估算并将其发送给解码器。
17. 《
Microsoft Patent | Providing Location Occupancy Analysis Via A Mixed Reality Device(微软专利:通过混合现实设备提供位置占用分析)
》
所述通过混合现实显示设备系统提供个人情景信息。用户输入个人选择标准。对满足于个人选择标准的用户位置,显示系统将识别其中至少一个人的数据请求发送至基于云端的应用,所述应用可访问多个用户的用户简档数据。在接收到识别至少一个人的数据时,如果他或她位于视场之内,则显示系统输出识别此人的数据。如果不是,则输出此人位于所述位置的标识符和位置指示符。显示设备的方向传感器同时可用于确定人类位置。 根据来自这一位置的显示设备图像和非图像数据,基于云端的执行软件可以识别和追踪人类位置。
18. 《
Sony Patent | Image Processing Device, Image Processing Method, And Program(索尼专利:图像处理设备,图像处理方法及程序)
》
专利描述了一种图像处理设备,所述图像处理设备包括:数据存储单元,其存储说明一个或多个物理对象外观特征的特征数据;环境映射构建单元,其可以根据通过真实空间成像而获得的输入图像和特征数据来构建环境映射;控制单元,其用于获取要在真实空间中执行的一组操作过程的过程数据,所述过程数据定义每个过程的方向和指定所述方向显示位置的位置信息之间的对应关系;以及叠加单元,其可以在根据环境映射和位置信息确定的输入图像位置叠加每个过程的方向,从而生成输出图像。
19. 《
Sony Patent | Information Processing Apparatus And Information Processing Method(索尼专利:信息处理装置和信息处理方法)
》
对于专利描述的技术,其用于在真实世界注册信息设置点显示注册信息,并且根据情景变化的事件检测来触发显示更新。执行在真实世界信息设置点显示含有注册信息的虚拟对象。数据处理单元执行注册信息的处理,及根据预定义情景改变来更新显示的处理。另外,结合注册信息的显示,数据处理单元显示表示注册信息设置点的虚拟对象。根据在虚拟三维空间中检测到的参考图像(锚)位置和方向等,数据处理单元计算信息处理装置和注册信息设定点之间的位置关系。根据计算出的位置关系和情景变化,数据处理单元显示表示注册信息设置点的虚拟对象。
20. 《
Intel Patent | On Demand Msaa Resolve During Lens Correction And/Or Other Post-Processing Phases(英特尔专利:在镜头校正和/或其他后处理阶段期间的按需多重采样抗锯齿解析)
》
专利描述了在图像后处理器识别未解析的表面数据,并在图像后处理器识别与未解析表面数据相关联的控制数据。另外,所述技术可以在图像后处理器将未解析的表面数据和控制数据解析为最终图像。
21. 《
Intel Patent | Switchable Hybrid Graphics(英特尔专利:可切换的混合图形)
》
对于专利描述的系统,装置和方法,其可以根据来自联网显示设备的信息来判断是否将独显或集显接入联网显示设备,所述信息对应于联网显示设备是否由集显或独显驱动。
22. 《
LG Patent | Display Device Having Transmittance Adjusting Layer(LG专利:具有透射率调整层的显示设备)
》
专利描述了一种
OLED
元件,其可以包括设置在基板的有机发光元件层;以及覆盖有机发光元件层以阻挡水分和/或氧气渗透的封装层,其中封装层包括具有至少一个透射率调节层的阻挡膜,所述透射率调节层调节有机发光元件层发射光线的比率,从而避免使用偏振器。
23. 《
Samsung Patent | Apparatus And Method For Performing Fourier Transform(三星专利:执行傅里叶变换的装置和方法)
》
用于执行傅里叶变换的方法包括:逐行地对输入图像数据执行1D FFT以生成中间数据,将存储器的不同存储体指定为相应的开始位置,划分中间数据并将其存储在开始位置 ,读取开始位置的中间数据,并通过逐列地对中间数据执行1D FFT来生成最终数据。
0