/ Nweon / 0浏览

2019年01月04日最新科技巨头AR/VR专利报告



映维网
2019年01月04日

)近期美国专利及商标局公布了一批全新的AR/VR专利,以下是映维网的整理(详情请点击文章标题)。


1. 《
Magic Leap Patent | Method and system for performing simultaneous localization and mapping using convolutional image transformation(Magic Leap专利:利用卷积图像变换来实现同时定位与映射的方法与系统)

根据两个图像计算单应矩阵的增强现实设备与方法。 一种方法可包括根据第一camera姿势接收的第一图像和根据第二camera姿势接收第二图像,基于第一图像产生第一点云,基于第二图像产生第二点云,然后向神经网络提供第一点云和第二点云,并由神经网络生成基于第一点云和第二点云的单应矩阵。对于神经网络的训练,可以生成多个点,确定3D轨迹,对3D轨迹进行采样以获得camera姿势,将点投影到2D平面上,然后比较生成的单应矩阵与ground-truth单应矩阵,并根据这一比较来修改神经网络。


2. 《
Apple Patent | Finger-mounted device with sensors and haptics(苹果专利:包含传感器和触觉反馈的指戴式设备)

指戴式设备可包括指戴组件。每个指戴组件可以包含一个机体,并用作诸如力传感器,加速度计和其他传感器,以及触觉输出设备等部件的支撑结构。机体可由诸如金属这样的可变形材料形成,或者是采用可调节结构,如使用磁吸引力,弹簧或其他结构实现彼此连接的滑动机体部分。 每个指戴组件的机体可以包含U形横截面轮廓,当机体附接至用户手指的指尖时,所述U形横截面轮廓可暴露每个手指的指垫。控制电路可以利用传感器采集手指按压输入,横向手指移动输入和手指敲击输入,并且可以通过触觉输出设备提供触觉输出。


3. 《
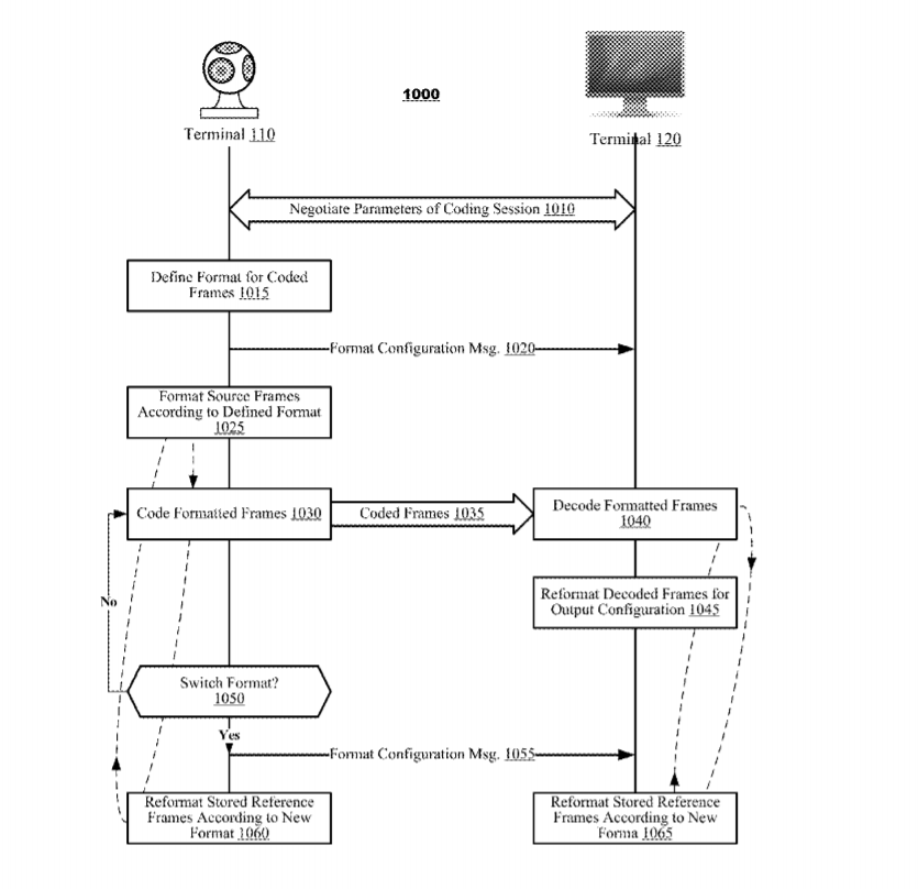
Apple Patent | Adaptive resolution and projection format in multi-directional video(苹果专利:多向视频中的自适应分辨率与投影格式)

这是一种用于实现多向视频的格式配置,以及用于在它们之间切换的技术。系统可以将源图像分配给在编码会话期间可能发生改变的格式。当格式之间发生改变时,视频编码器和解码器可以将解码的参考帧从第一格式变换为第二格式。然后,系统可以使用变换的参考帧来作为预测源,并编码或解码第二配置中的新帧。通过这种方式,视频编码器和解码器可以使用帧内编码技术并实现高效率的编码。


4. 《
Microsoft Patent | Presenting Augmented Reality Display Data in Physical Presentation Environments(微软专利:在屋里环境展示AR数据)

发明描述了用于将增强现实数据渲染至物理显示环境的方法和系统。系统可以访问包含屋里显示环境位置的物理呈现环境配置,并将其用于映射增强现实数据。增强现实数据可包括多个增强现实对象。增强现实数据的显示属性可以结合显示配置进行使用。显示的增强现实数据可以实现动态交互,并且可以基于先前的显示配置,映射偏好,映射限制和/或其他因素来进行生成。


5. 《
Microsoft Patent | Variable Rate Deferred Passes in Graphics Rendering(微软专利:图形渲染中的可变速率延迟通道)

发明描述了用于在图形处理中执行像素着色的方法和设备。系统可以以一个或多个可变着色速率对图像的多个图元进行着色。 对应于以一个或多个可变着色速率进行着色的样本,可以在至少一个屏幕空间块中确定像素子集。 一个或多个延迟通道可应用于至少一个屏幕空间块中的像素子集,从而提供像素子集的附加着色。在完成延迟通道之后,可以使用相邻的着色像素来填充未由延迟通道处理的像素组。


6. 《
Microsoft Patent | Temperature Compensation for Structured Light Depth Imaging System(微软专利:结构光深度成像系统的温度补偿)

发明描述的装置和方法是用于补偿深度成像系统的结构光图案的温度偏差。在一些实施例中,深度成像装置包括光源,成像传感器和处理器。光源发出对应于图案的光线。光源的温度偏差可导致图案的偏移。成像传感器接收由深度成像装置前面环境反射而来的光线,并生成深度图。根据光源的温度偏差,处理器将基于多项式模型估计图案的偏移。处理器同时将基于图案的偏移来调整深度图。


7. 《
Microsoft Patent | Variable Rate Shading Based on Temporal Reprojection(微软专利:基于时间重投影的可变速率着色)

发明描述了用于在图形处理中执行可变速率着色的方法和设备。变换通道可以在当前帧上执行,将当前帧中的当前像素与先前帧中的先前像素相关联。系统可以分析包含先前像素的先前片段,以确定先前片段是否包括达到阈值的一个或多个频率细节区域。 基于对先前片段的分析,可以确定是否将可变着色速率应用于包含当前像素的当前片段。


8. 《
Microsoft Patent | Presenting Markup in a Scene Using Depth Fading(微软专利:使用深度褪色来在场景中呈现标记)

能够在场景中绘制标记的结构既不会遮挡场景,也不会被场景遮挡。标记的实用性将基于场景对象和标记与camera的距离。因此,如果一个对象在场景中看起来很小,并且位于标记前面,则更清晰地绘制标记;如果相同的对象在场景中看起来很大,并且位于标记前面,则标记会变得模糊 。


9. 《
Microsoft Patent | Selection Using a Multi-Device Mixed Interactivity System(微软专利:多设备混合交互系统的选择)

发明描述了用于实现多设备混合交互系统的方法和系统。交互系统包括用于交互和控制虚拟对象的成对混合输入设备。选择输入基于与选择设备相关联的实际输入,以及与混合现实设备相关联的虚拟输入。选择设备包含用于显示虚拟对象的第一显示器,混合现实设备包含用于显示虚拟对象的第二显示器。系统将根据选择输入生成选择文档。选择文档包括用于隔离虚拟对象一部分的一个或多个选择文档属性。系统将根据选择文档确定虚拟对象的选定部分,从而使得虚拟现实对象的所选部分显示在选择设备的第一显示器上。


10. 《
Microsoft Patent | Annotation Using a Multi-Device Mixed Interactivity System(微软专利:多设备混合交互系统的注释)

发明描述了用于实现多设备混合交互系统的方法和系统。交互系统包括用于交互和控制虚拟对象的成对混合输入设备。选择输入基于与选择设备相关联的实际输入,以及与混合现实设备相关联的虚拟输入。系统将确定的选择输入生成选择文档。选择设备包含第一显示器,而混合现实设备则包含显示虚拟对象的第二显示器。根据与选择文档对应的所选虚拟对象部分,系统将接受注释输入,并根据注释输入生成注释文档。注释文档包括用于注释虚拟对象一部分的注释文档属性,从而使得所选部分的注释显示在显示器上。


11. 《
Microsoft Patent | Providing Living Avatars Within Virtual Meetings(微软专利:在虚拟会议中提供逼真虚拟化身

用于在虚拟会议中提供逼真虚拟化身的系统和方法。系统可包括电子处理器。电子处理器配置为接收与第一用户相关联的光标控制设备位置。电子处理器配置为接收由与第一用户相关联的图像捕获设备所采集的实时图像数据。电子处理器配置为向第一用户和第二用户提供虚拟会议内的对象。系统根据实时图像数据显示对象可视数据。根据与第一用户相关联的光标控制设备位置,对象可进行相应的移动。


12. 《
HTC Patent | User interaction apparatus and method(HTC专利:用户交互装置与设备)

用户交互装置从控制器接收若干移动值,根据移动值计算多个施加的力矢量,并确定一个特定的施加力矢量大于阈值。接下来,用户交互装置确定特定的施加力矢量和方位矢量之间的一个角度小于另一个阈值,从控制器接收对应于特定的施加力矢量的控制位置,根据定位装置或方向矢量的校准位置定义边界,并确定控制位置在边界之外。在确定控制位置在边界之外之后,用户交互装置控制显示器上的虚拟对象的移动。


13. 《
Microsoft Patent | Shape Memory Alloy Actuated Haptic Feedback(微软专利:形状记忆合金致动触觉反馈)

本发明涉及触觉反馈机制,包括耦合到组件的形状记忆合金(SMA)材料,其中SMA材料的收缩将导致组件从第一位置移动到第二位置,而SMA材料的释放将导致组件通过弹簧元件的运动从第二位置向第一位置移动。触觉反馈机构同时包括热源。热源配置为选择性地向SMA材料施加热量,并从SMA材料移除热量,从而实现SMA材料的收缩和释放调节,并引起组件的振动。


14. 《
Microsoft Patent | Haptic Feedback System(微软专利:触觉反馈系统)

本发明与触觉反馈系统有关,一个提供触觉反馈的示例包括配置为由用户佩戴的可穿戴设备。可穿戴设备包括流体通道,而流体可包括可调粘度,配置为改变流体通道场序的电路,以及控制器。控制器配置为接收第一输入,然后根据接收的第一输入,利用电路在通道内应用第一场序,从而将流体的可调粘度设定为第一粘度;接收第二输入,然后根据接收的第二输入,利用电路在通道内应用第二场序,从而将流体的可调粘度设定为第二粘度。


15. 《

Microsoft Patent | Large-Field-of-View Waveguide Supporting Red, Green, and Blue in One Plate(微软专利)


一种用于在单个波导中组合RGB光信号的光学装置。设备包括多个DOE。第一DOE配置为以输入传输角度接收光学信号,并根据光谱衍射光学信号,从而令一个光谱在第一方向上衍射,第二个光谱在第二个不同的方向和路径上衍射。第一DOE配置为将光线衍射到第二DOE中。第二DOE配置为将光线衍射到第三DOE中。第三DOE配置为将光线衍射到eye box中,并保持输出传输角度基本上平行于输入传输角度。每个路径的光栅矢量总和基本上等于零。

0

  1. This post has no comment yet

发表回复

您的邮箱地址不会被公开。 必填项已用 * 标注