Nweon

nweon 文章

Oculus Quest、Rift开始『网购星期一』游戏特卖促销

Oculus Quest and Rift have officially started their "Cyber Monday" sale, offering discounts on various games and bundles. The sale will last until November 30th, Pacific Time (December 1st, 13:59 Beijing Time). Customers can browse the detailed promotion content on the Oculus website or through the Oculus App on their mobile devices. The sale includes three bundle packages for Oculus Quest: the "Premium Bundle" featuring games such as "Job Simulator" and "Death Horizon: Reloaded"; the "Classic Bundle" including games like "Eleven Table Tennis" and "The Thrill of the Fight"; and the "Vader Immortal: A Star Wars VR Series" bundle. The latter consists of a trilogy that allows players to explore the secrets of Mustafar and Darth Vader. In addition to the bundles, there are also individual game promotions for both Oculus Quest and Rift. The specific games on sale are listed on the website.
Oculus Quest、Rift开始『网购星期一』游戏特卖促销

昆仑数智联合Rokid推出全球首款5G防爆AR智能头盔

近日,中国石油勘探开发梦想云2020发布会在北京举行。Rokid与昆仑数智签署战略合作协议,推出全球首款5G防爆AR智能头盔——梦镜。梦镜搭载生产作业AI赋能系统,具备安全、防尘、防水、防爆等特点,适用于石油燃气、建造施工和制造业等一线工人。头盔支持全语音操控,采用双目衍射光波导显示方案,视野宽广,透光率达到80%以上。头盔还配备免唤醒语音助手和一键报警功能。梦镜预留了丰富的物理接口,可以搭载多种产品配件和外设。梦镜具备云端处理大量数据信息的能力,可以保证远程通信和协作的实时性,帮助一线工人解决专业度较高、较复杂的问题。中国石油集团公司工程技术与装备制造物联网重点实验室主任表示,AR、AI和5G等新兴科技的深度整合将是解决传统油气行业问题的关键。Rokid希望为更多行业提供先进的技术和产品。昆仑数智是中国油气行业最大的IT技术服务商。Rokid是一家专注于人机交互技术和人工智能软硬件产品开发的科技创新型企业。
昆仑数智联合Rokid推出全球首款5G防爆AR智能头盔

美军谈HoloLens版IVAS战斗力:轻松击中300码开外目标

美国陆军正在成功地将集成视觉增强系统(IVAS)这款增强现实头显装备实现并投入使用。这款装备是微软设计的IVAS,是改装的军用版HoloLens。它将夜视与导航、目标定位和查看敌友部队位置的能力结合在一起。士兵无需俯视瞄准器就能精确显示瞄准十字线,提供了更稳定、更准确的射击体验。IVAS还能够帮助士兵在战壕或在拐角位置射击而不暴露自己。士兵在射击场中使用IVAS可以轻松击中300码外的目标。此外,IVAS还可以进行无缝交流,接收其他传感器的数据并与PD-100无人机进行通信。 IVAS的控制面板位于士兵的胸部,非常用户友好。IVAS项目价值数十亿美元,代表了不同传感技术和计算技术的融合。目前,美国陆军已经拥有4万小时的士兵数据,并计划在2021年向士兵部署IVAS。然而,项目仍然面临一些挑战和质疑,团队正在积极解决相关问题。
美军谈HoloLens版IVAS战斗力:轻松击中300码开外目标

XR厂商Bublar Group收购3D动画开发商Plotagon Production

瑞典XR技术厂商Bublar Group近日宣布收购3D动画电影SAAS开发商Plotagon Production,交易金额为300万美元。Plotagon提供了简易的3D动画制作工具,用户可以在手机或电脑上创建和分享自己的3D动画电影,目前提供免费的5个3D角色和6个城市场景。Bublar和Plotagon还将与社交网络应用ZEPETO合作,在2021年推出一项服务,开发结合Plotagon技术和ZEPETO的内容和虚拟化身的项目。ZEPETO是韩国娱乐行业的合作伙伴,曾与K-Pop乐队和美国歌手合作。Bublar Group表示,他们对这次收购充满期待,有信心通过结合虚拟现实、增强现实、3D动画和移动游戏方面的专业知识,为这次合作做出贡献。Bublar Group收购Plotagon Production主要是为了获得一个可靠且成熟的技术平台,Plotagon从2014年成立以来一直致力于开发3D影音制作应用程序。该公司的主要市场是美国和印度,拥有约30万-35万个活跃个人用户和约1000个企业和教育客户。
XR厂商Bublar Group收购3D动画开发商Plotagon Production

重磅发布:CVRVT2020大会完整议程,名额有限,抓紧报名!

第六届中国虚拟现实产学研大会(CVRVT 2020)将于2020年12月5~7日在北京市召开。本次大会由中国产学研合作促进会和中国虚拟现实技术与产业创新平台主办,以“虚拟现实助力新经济”为主题。大会将包括特邀报告、大会论坛、主题论坛、VR竞赛等环节,邀请了众多行业专家、学者和产业领军人士参与。大会还将发布《2020年虚拟现实商业应用解决方案》。在疫情防控方面,大会将采取一系列防护措施,包括全程佩戴口罩、保持距离、消毒等。参会人员需提前进行报名并通过严格的入场检查。大会将提供消毒酒精、免洗洗手液等防疫物品,并在公共区域进行全面消毒。
重磅发布:CVRVT2020大会完整议程,名额有限,抓紧报名!

〔20201130〕Oculus、Steam、Pico最新VR游戏畅销榜

据《映维网》报道,最新的畅销VR游戏榜单显示了Oculus Quest、Oculus Rift、Steam和Pico Neo 2平台上的热门游戏。Rift Store和Steam是当前主流的PC VR内容平台,而Oculus Quest则是国外主流的一体式6DoF移动VR平台,Pico Neo 2则是国内主流的一体式6DoF移动VR平台。值得注意的是,畅销游戏列表是实时变化的,括号内的价格为原价。榜单中包括了Steam VR游戏TOP 10、Oculus Quest畅销TOP 10、Oculus Rift畅销TOP 10和Pico Neo畅销TOP 10。
〔20201130〕Oculus、Steam、Pico最新VR游戏畅销榜

Steam VR 每周十大新内容

Steam的秋季特卖已经开始了一段时间,你有参与购买吗?买到了什么好游戏吗?还有,你有参与Steam年度大奖的投票吗?下面来看一下本周SteamVR的新内容吧。 1. 《Son Light Sleepwalker》:这是一款充满悬念、Jump Scare和诡异挑战的战略游戏,玩家需要利用房子的安全摄像头、智能电灯开关甚至无人机,将一个患有梦游症的儿子引导回房间。 2. 《Battle Arena VR》:这是一款多人死亡竞技场游戏,玩家可以使用各种武器与敌对玩家进行战斗,支持多达10位玩家的丰富地图。 3. 《Stargaze》:作为一个好奇的天文学家,你将能够在这款神奇的虚拟现实冒险游戏中凝视炫美的星空,操纵望远镜影响星系的行星,并揭开宇宙的秘密。 4. 《SETVR》:这是一个自卫训练虚拟现实平台,允许武术/自卫学习者通过虚拟攻击场景习得肌肉记忆和提升反应时间。 5. 《Line Simulator》抢先体验版:在这款幽默的VR模拟器中,你可以体验有趣的排队场景,度过烦闷枯燥的排队时间。 6. 《Pray in VR Medieval Christian Churches》:这款沉浸式游戏让你更多地了解中世纪教堂的发展,采用逼真的Unity3D模型和中世纪教堂建筑场景。 7. 《Planet Protector VR》:外星侵略者即将进攻,你需要出发保卫世界,使用强大的防御手段抵御敌人的攻击。 8. 《Bulk Dominoes VR: Kinetic Rush》抢先体验版:你可以自由创建多米诺骨牌,并享受多米诺翻倒的连锁反应。 9. 《Eggs Catcher VR》:通过捕捉下落的鸡蛋获得积分的游戏,随着时间的推移难度逐渐增加。 10. 《DruMidia》:在这款专为架子鼓爱好者设计的游戏中,玩家可以在VR环境中进行架子鼓演奏。
Steam VR 每周十大新内容

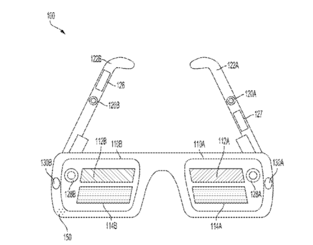
苹果申请『可穿戴语音感应振动或无声手势传感器』专利

随着语音识别技术和自然语言处理技术的进步,语音命令成为可穿戴设备的重要输入方式。然而,当前的语音命令仍然存在局限性,例如需要通过按钮唤醒、用户无法在未被听到的情况下输入命令等。近年来,无声语音交互领域正在积极发展,主要包括通过感知气流识别和通过感知肌肉运动识别的方式。索尼的Derma系统可以利用喉咙和下颚的皮肤颤动信息将口形转化为语音。苹果提出了一种名为“Wearable Voice-Induced Vibration Or Silent Gesture Sensor”的发明,希望利用皮肤变形/颤动信息来识别用户的语音命令。专利描述了一种可穿戴电子设备和用户输入检测系统,利用自混合干涉测量传感器检测用户头部位置处的皮肤变形或皮肤振动来检测用户输入或命令。该专利申请最初于2020年4月提交,并在近期公布。需要注意的是,该专利申请仅为一份申请,尚不确定其实际应用效果。
苹果申请『可穿戴语音感应振动或无声手势传感器』专利

Magic Leap新申请变焦显示器专利

现代VR/AR头显的一个重要挑战是视觉调节冲突。在现实世界中,人眼可以自然地对焦一个对象,而其他元素则脱离焦点。VR/AR头显的问题是,无论你在数字世界中看向何方,你都只是盯着固定的屏幕,即只看着相同的距离。这导致视觉调节永远不会改变,但视觉辐辏却会出现,从而导致视觉调节冲突。视觉调节冲突容易导致用户眼睛疲劳、恶心、头晕等不适。为了解决这个问题,行业厂商尝试采用变焦式头显,即能够相应地改变焦距或提供不同焦平面的头显,以减轻用户不适感。Magic Leap One是一款采用双焦显示器的头显设备,它可以根据眼动追踪在两个不同的焦距之间移动显示器的焦点,从而提供不同的焦平面。Magic Leap最新的专利申请(Variable Focus Assemblies)显示,头显的光学组件中可以嵌入一个或多个变焦组件,以在多个焦平面呈现虚拟图像信息。这些变焦组件可以通过调整柔性透镜膜的曲率来调整光学倍率,从而提供多个不同的焦平面。
Magic Leap新申请变焦显示器专利

黑五促销!Oculus Quest 5个游戏捆绑包介绍(购买链接)

Oculus Quest和Rift现已开启黑色星期五促销活动,涵盖大量游戏和捆绑包。三款捆绑包的促销活动截止时间为11月27日(北京时间11月28日下午四点)。用户可通过Oculus官方网站或Oculus App应用程序购买。其中精品捆绑包原价249.40美元,促销价164.99美元,包含多款游戏作品。必玩套装原价138.94美元,促销价89.99美元,内容包括多款必玩VR游戏。《Vader Immortal: A Star Wars VR Series》捆绑包原价29.97美元,促销价19.99美元,内含三部曲。健身应用捆绑包原价89.97美元,促销价59.99美元,内含多款健身应用。动作游戏捆绑包原价84.97美元,促销价59.99美元,内含多款动作游戏。此外,还有单品游戏促销列表可供选择。这些促销活动仅限购买Oculus官网商品,有效期为太平洋时间11月26日晚上9点至11月29日晚上9点。无法叠加其他优惠或折扣。
黑五促销!Oculus Quest 5个游戏捆绑包介绍(购买链接)