文/VR陀螺
近日,XREAL One Pro 正式在国内市场上市。作为 XREAL 首款集自研含量较高的产品,从空间计算芯片 XREAL X1 到“X Prism”光学,XREAL 向外界不断传递它想要以「AR技术」做差异化品牌标签的决心。
XREAL One Pro 售价高达 4299 元,是目前市面上最昂贵的分体式 AR 眼镜之一。它所承载的,是 XREAL 当前所能达到的技术高度,也是其对下一代 AR 眼镜形态的阶段性探索成果。
在 XREAL 看来,目前,XREAL 的 AR 产品有两个方向:一是通过「空间显示」为现有计算设备提供 3DoF 的空间便携显示器;二是沉淀「空间计算」,为未来 AR 体验筑基,并提升空间显示的三维体验。

一、57°视场角的背后:自研X Prism光学引擎
XREAL One Pro 整体采用墨镜造型,虽然 91 克的整机重量在参数上并不算轻,但得益于均衡的前后配重与具备缓冲效果的空气鼻托,实际佩戴时压力分布均匀,长时间使用也不易产生明显的压迫感。此外,其铰链支持小幅外扩,能更好地适配不同头围的用户。


该产品最引人注目的参数无疑是其高达 57° 的视场角,这一指标的实现,主要归功于其全新的自研 X Prism 光学引擎。

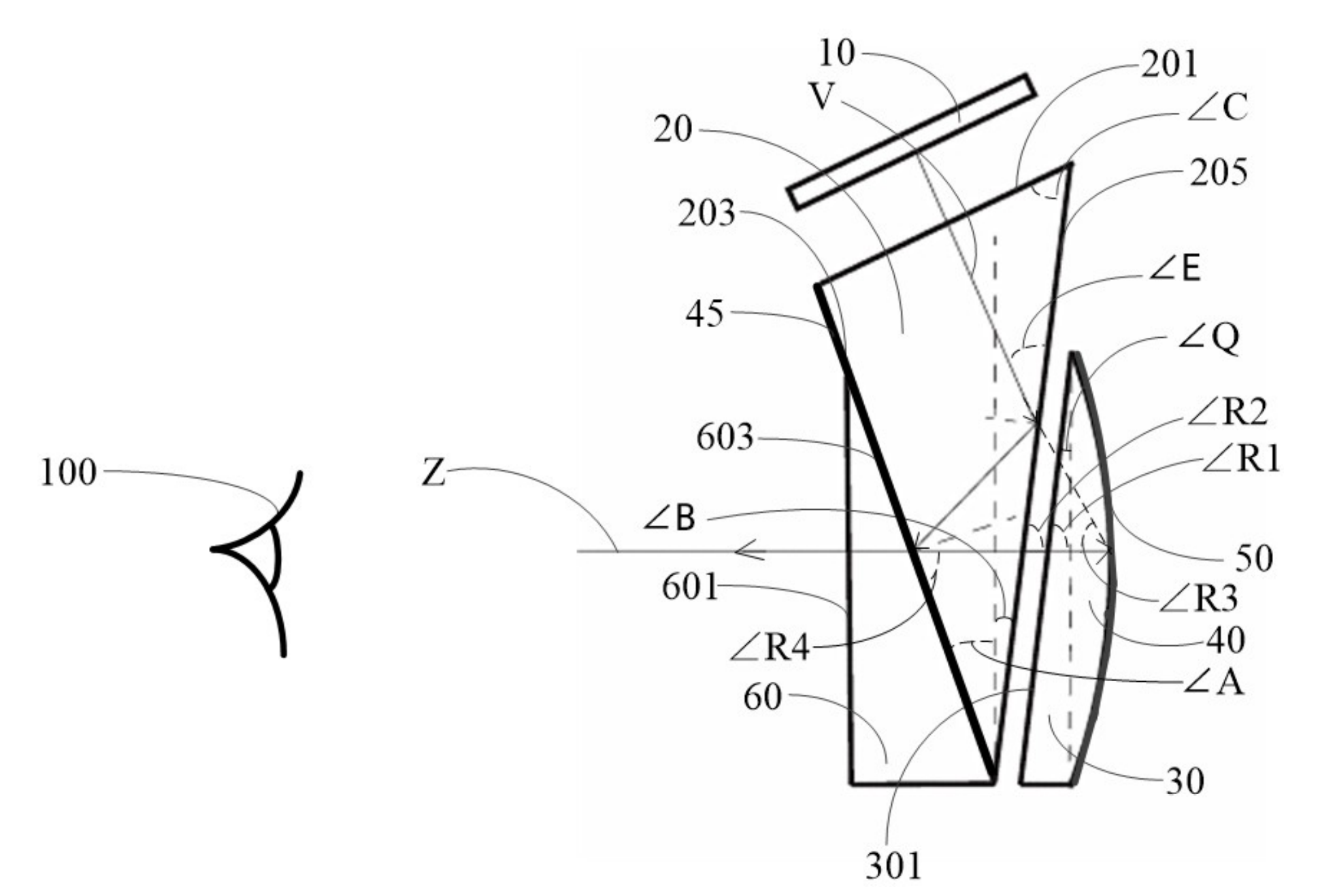
从光机形态的入眼面来看,XREAL One Pro 的光学透镜类似于两个 Birdbath 光学模组的组合(倒三棱柱+正三棱柱)。

X Prism 光学引擎(图源:XREAL)
这就是 XREAL 自研的「X Prism」光学方案,其光路可以大致解构为:光线从 Micro-OLED 微显示屏发出后,首先在棱镜内部利用全内反射进行一次或多次折叠传播,随后被一个功能上等同于 Birdbath 合光器的内置半透半反面,反射并放大至人眼。整个棱镜的内外表面均被设计成复杂的自由曲面,用于在紧凑结构内精确控制折叠光路、实现高倍率放大并校正像差。

图源:XREAL
具体来看(基于 XREAL 光学专利解析,具体落地应用上可能存在一定出入):
1. 光线从像源出发,进入第一棱镜:像源发出的光线,首先从第一棱镜的第一表面入射到第一棱镜内部。
2. *第一棱镜内的光线传播:进入第一棱镜的光线在棱镜内部经过至少一次**全反射**(利用棱镜材料与空气的折射率差异,满足全反射条件),随后被位于第一棱镜第二表面的第一膜层(可反射和透射光线)反射。
3. 从第一棱镜出射,进入第二棱镜:经第一膜层反射后的光线,从第一棱镜的第三表面出射,随后从第二棱镜的第一表面(靠近第一棱镜第三表面)入射到第二棱镜内部。
4. 经过第二棱镜和透镜,到达第二膜层:**光线在第二棱镜内传播后进入透镜,穿过透镜后被位于透镜远离第二棱镜一侧的第二膜层(可反射光线)反射。
5. 反射光线折返,最终出射入眼:经第二膜层反射的光线沿原路径折返,依次经过透镜、第二棱镜的第一表面、第一棱镜的第三表面,到达第一棱镜的第二表面,最终通过第一膜层透射而出,进入人眼。
相对而言,传统的 Birdbath 的光学方案的核心工作原理相对简单,像源由微型显示器发出,经由偏振分束器反射至一块半透半反镜,最终放大并反射进入人眼。
在近眼显示光学中,针对微显示器而言,理论上光线反射的次数越多,出瞳扩展的范围就越大,但同时会伴随光能损耗增加、像差校正难度上升。不过,在 「X Prism」中,由于存在「全反射」(在上方专利图中,标注 E 的地方为全反射),仅有两部分的光效损失,做到了和 BB 方案类似的亮度表现。所以,XREAL One Pro 最终入眼亮度达到了最大 700 尼特。
全新的光学传递路径,也让 XREAL One Pro 在光机模组上做到了“更薄”。据称,其相对于上一代光机,减少了 41% 的厚度。
XREAL One Pro 采用了索尼 0.55 英寸的 Micro-OLED,单眼分辨率为 1920×1080,PPI 为 4032,在 57 度 FOV 的配置下,其 PPD 估算为 45。在同等像素密度的条件下,虽然 FOV 的增大,会导致 PPD 下降,不过,在实际体验中,其画面清晰度尚可。此外,画面色彩饱满,黑暗环境下对比度优异,无明显畸变。最高 120Hz 的刷新率,也让画面低延迟、顺滑无撕裂感。

手机拍摄画面,画质已被压缩,请以实际体验为准
值得注意的是,在一些高对比度的特定场景下,例如白底黑字的文档,画面的最边缘处可能会观察到轻微的“蓝色条纹”现象(或为光学色散导致)。不过,该现象仅在屏幕边缘出现,在核心的观影、娱乐等色彩丰富的场景中,肉眼几乎无法察觉,整体画面的纯净度和视觉沉浸感依然保持了很高的水准。

手机拍摄画面,画质已被压缩,请以实际体验为准
相对于 50 度 FOV 的 XREAL One 而言,XREAL One Pro 的 57 度的提升相对明显,整体虚像画面尺寸更大。前者的 50 度 FOV 在默认等效 4 米距离下虚拟屏幕尺寸为 147 英寸,而后者的 57 度 FOV 在默认等效 4 米距离下虚拟屏幕尺寸可达 171 英寸。
手机拍摄画面,画质已被压缩,请以实际体验为准
为保证不同光线环境下的视觉体验,兼顾沉浸显示与环境感知,XREAL One Pro 还配备了电致变色镜片,支持智能/手动调节镜片透光度。
在悬停模式(3DoF)下,当用户看向虚像画面时,电致变色镜片会自动「加深色」,当用户看向物理世界时,镜片则会自动「变通透」。由于电致变色时间极快,肉眼较难感知变化,这一无感的微妙设计可以说是非常人性化。

手动调节电致变色
除了视觉上的精进,一体化的佩戴体验同样离不开听觉的优化。音频体验方面,经 Bose 调校的开放式扬声器单元音质表现优良,中高频清晰,层次感丰富。此外,通过“远场消音”声学技术,XREAL One Pro 还能有效控制声音外溢。根据实测,在设备音量控制于 30% 时,距离佩戴者 50 厘米外便几乎听不到声音,保障了在办公室等半开放环境下的使用隐私。
二、X1空间计算芯片带来“视觉”新变量
通过搭载 XREAL X1 空间计算芯片,XREAL One Pro 构建起从数据采集到图像渲染的完整端到端独立处理链路。在这套新架构中,从眼镜 IMU 获取运动数据,到 X1 芯片完成复杂的姿态解算与图像矫正,再到显示端直接渲染画面,所有计算任务均在眼镜端闭环完成。
相比传统方案,其将信号处理节点从 6 个大幅缩减至 3 个,数据传输路径也从 5 条精简为 2 条,最终实现了延迟的降低与可靠性的提升。

图源:XREAL
(—)X1芯片赋能:实现端侧渲染与显示参数自由调节
借助 X1 的算力,XREAL One Pro 实现了设备端的 OSD 菜单,实现了端侧硬件级的加速渲染。用户可通过镜腿按键直接调整屏幕尺寸、距离、亮度等参数,摆脱了对手机 App 的依赖。
具体来看,XREAL One Pro 在画面尺寸上可以自由调节,支持从 34 英寸到 556 英寸的多个选择,还能调节屏幕比例,实现超宽屏模式(21:9/32:9),此外,还支持从 1 米到 10 米的虚像距离调节。

XREAL One Pro 优秀的视觉体验,不仅仅得益于 X Prism 光学引擎,还有 XREAL X1 芯片带来的画质增强算法,超低的 M2P 延迟压缩至约 3 毫秒,是实现画面“无抖动、无拖影”的物理基础,从根本上解决了传统架构的稳定性问题。
(二)优化晕动症:原生低延迟3DoF的价值
在体验 XREAL One Pro 的过程中,最直观的感受之一便是「晕动症」得到了有效抑制,这是决定用户能否长时间佩戴的关键。这种舒适感的提升,主要源于两个方面:首先,产品本身具备高清晰度、高刷新率的显示基础,并支持用户自由调节画面尺寸与距离,避免了因视觉疲劳引发的不适;其次,也是更核心的一点,是其原生支持低延迟的 3DoF 观影模式。
3DoF悬停模式(手机拍摄画面,画质已被压缩,请以实际体验为准)
人类的平衡感知依赖于视觉系统(观察环境变化)和前庭系统(内耳感知头部运动)的协同工作。当两者信息不一致时(例如头部转动但视觉画面未同步更新),大脑会因接收矛盾信号而产生眩晕感。
0DoF (云台模式)好比有人在你眼前举着一张照片,无论你的头怎么晃动,这张照片都死死地贴在你的眼前。你的大脑会本能地觉得“这不正常”。3DoF (悬停模式)则像是在你面前的墙上挂了一幅画。你可以自由地转头欣赏画作的细节,也可以随时移开视线再转回来,这完全符合我们的日常生活。
此外,通过配件 XREAL Eye 摄像头模组,XREAL One Pro 还能实现第一人称的摄像、虚实融合录屏以及最重磅的 6DoF 定位追踪模式。基于 6DoF 空间定位,XREAL One Pro 可实现 6DoF 空间悬停画面。

图源:XREAL, 三、结语
在“AI 拍摄眼镜”愈演愈烈,试图通过多模态 AI 的价值换迈向消费市场的当下,XREAL 选择了一条更难的路。通过自研「X Prism」光学引擎和「X1」空间计算芯片的垂直整合,试图将现有技术框架下的核心能力——“空间显示”与“空间交互”的基准线强行拉高。
然而,这种对技术的“不妥协”也带来了现实的商业挑战。4299 元的定价,在光学性能没有特别大的突破的情况下,可能对于打入 C 端市场来说,是一个不小挑战。作为对比,目前 BB 方案的不少 XR 观影娱乐眼镜的产品价格已经在千元价位徘徊了。

事实上,基于现有的供应链技术,一体式 AR 眼镜光波导方案的实现并非难事,但限制于光波导方案的较低的光效以及 Micro-LED 的低分辨率,在显示质量上仍难与现有的 BB 方案类分体式光学竞争。
XREAL One Pro 解答了「便携屏」“能做到多好”的问题,但“用户为何非买不可”的根本性难题,可能我们还需等待 XREAL 与谷歌合作的 Project Aura,看谷歌 Android XR 系统生态,如何撬动万亿 AR 硬件市场。
投稿/爆料:tougao@youxituoluo.com
稿件/商务合作: 六六(微信 13138755620)
加入行业交流群:六六(微信 13138755620)
版权申明:本文为VR陀螺原创,任何第三方未经授权不得转载。如需转载请联系微信:vrtuoluo233 申请授权,并在转载时保留转载来源、作者以及原文链接信息,不得擅自更改内容,违规转载法律必究。文中有图片、视频素材来自互联网或无法核实出处,如涉及版权问题,请联系本网站协商处理。