(
映维网Nweon
2025年03月01日
)近期美国专利及商标局公布了一批全新的AR/VR专利,以下是映维网的整理(详情请点击专利标题),一共70篇。更多专利披露请访问映维网专利板块
https://patent.nweon.com/
进行检索,你同时可以加入映维网AR/VR专利交流微信群(详见文末)。
1. 《
Meta Patent | Eye-tracking apparatus including transparent metal mesh traces for micro light emitting diodes(Meta专利:包括用于Micro LED的透明金属网迹线的眼动追踪装置)
》
在一个实施例中,专利描述的头戴式显示设备可以包括具有
眼动追踪
层的光学透镜。眼动追踪层可以包括连接到具有透明金属网迹线的LED控制器的Micro LED。另外,眼动追踪层可以包括一个或多个无线金属网天线。金属网比以前的组件更透明,从而实现改进的功能和可见性。
2. 《
Meta Patent | Systems and methods for transport adaptive range packing(Meta专利:传输自适应范围打包的系统和方法)
》
在一个实施例中,专利描述的计算机实现方法可以包括:缓冲像素数据通道,其中所述通道包括像素阵列块的集合;分析像素数据通道中的稀疏数据,并基于分析确定通道的无损压缩是否小于预定阈值;如果无损压缩的结果占用的空间小于预定的空间阈值,则对像素数据通道执行无损压缩;如果无损编码的结果占用空间大于预定的空间阈值,则对像素数据通道执行有损压缩。
3. 《
Meta Patent | Reverse pass-through glasses for augmented reality and virtual reality devices(Meta专利:用于增强现实和虚拟现实设备的反向透视眼镜)
》
在一个实施例中,专利描述的设备包括目镜,目镜包括光学表面,光学表面配置为在光学表面的第一侧向用户提供图像。设备同时包括第一摄像头、显示器和屏幕,第一摄像头配置为在第一视场中收集从光学表面反射的用户面部的一部分的图像,显示器与光学表面相邻,并配置为向前投影用户面部的图像,而屏幕配置为接收来自显示器的光并将用户面部图像提供给旁观者。
4. 《
Meta Patent | Batteries with non-rectangular shapes for augmented reality devices, and systems and methods of use thereof(Meta专利:用于增强现实设备的非矩形电池及其使用系统和方法)
》
在一个实施例中,专利描述的AR眼镜包括框架部分、与框架部分耦合的镜腿部分和具有限定非矩形形状的外表面的金属封装电池单元。金属封装的电池单元配置为容纳在镜腿部分内,并且外表面的非矩形形状遵循镜腿部分的内表面的内部形状。AR眼镜同时包括一个或多个人工现实处理或呈现设备,其中一个或一个以上人工现实处理或者呈现设备中的至少一者经配置以从金属封装的电池单元接收电力。
5. 《
Meta Patent | Assisted scene capture for an artificial reality environment(Meta专利:人工现实环境中的辅助场景捕获)
》
在一个实施例中,为XR环境提供辅助场景捕捉。在一个实施例中,可以使用XR系统获得与真实世界空间(包括墙壁、天花板和地板)相对应的XR空间模型。在一个实施例中,可以扫描真实世界空间,并将与扫描区域对应的网格显示在真实世界空间的视图上。在一个实施例中,可以对显示的网格执行后处理,这可以包括将网格中与墙壁、天花板或地板对应的变化折叠到XR空间模型上;将网格剪裁到XR空间模型中,以打开门口、窗户等;简化与墙壁、天花板或地板相对应的网格;通过识别XR空间模型的阈值百分比被网格覆盖来确定网格是完整的;或其任意组合。
6. 《
Meta Patent | Selectively upsampling visual sensor data for efficient display(Meta专利:选择性地对视觉传感器数据进行上采样,以实现高效显示)
》
在一个实施例中,专利描述的效率管理器可以选择性地对捕获的数据部分进行上采样,例如针对用户视场的某些部分以获得更高质量的视觉效果。例如,效率管理器可以基于用户眼动追踪来选择捕获的视觉数据的部分进行上采样,并省略其他部分的上采样。效率管理器可以使用分层mipmap来实现选择性上采样。mipmap可以存储不同质量级别的视觉数据。效率管理器可以用选择性上采样的视觉数据稀疏地填充高质量水平的mipmap。渲染技术可以利用mipmaps高效地渲染视觉数据以供显示。
7. 《
Meta Patent | Processing multimodal user input for assistant systems(Meta专利:处理辅助系统的多模式用户输入)
》
在一个实施例中,专利描述的方法包括头戴式设备接收来自用户的语音输入和由摄像头捕获的视觉输入,其中视觉输入包括主题和与主题相关联的属性,并且其中语音输入包括对一个或多个主题的共同引用。然后,基于属性和共同引用解析与共同引用相关联的主题对应的实体,并在头戴设备呈现响应于语音输入和视觉输入的通信内容,其中通信内容包括与执行与解析的实体对应的任务的结果相关联的信息。
8. 《
Meta Patent | Augmented reality / virtual reality (ar/vr) system integration with power and performance management(Meta专利:AR/VR系统与电源和性能管理的集成)
》
在一个实施例中,专利描述了AR/VR显示设备内的自适应跨层功率、热量和性能管理。AR/VR体验使用大量的系统资源来提供高质量的用户体验。可以注册应用程序性能模式,对于每种模式,应用程序可以从底层硬件/固件/软件子系统请求特定的性能。随着系统状态的变化,中央服务定期重新配置各个子系统的电源状态,从而致使功率、热量和性能的权衡。随着电源状态的重新配置,中央服务可以改变应用程序性能模式,以允许应用程序将其用户体验适应新的系统状态,从而允许应用程序构建自定义行为,并在各种状态下提供增强的用户体验。
9. 《
Meta Patent | Gesture-engaged virtual menu for controlling actions on an artificial reality device(Meta专利:用于控制人工现实设备动作的手势参与虚拟菜单)
》
在一个实施例中,专利描述了一种XR环境中的快速动作菜单,而用户可以通过执行XR设备检测到的手势来访问该菜单。可以在不使用控制器的情况下检测到手势。一旦菜单打开,用户可以在执行手势的同时移动她的手以突出显示特定的快速动作,并可以在突出显示的动作释放手势以选择动作。要关闭快速操作菜单,用户可以将手势移出菜单并释放手势,旋转手腕,或明确关闭菜单,例如使用XR设备检测到的语音命令。
10. 《
Meta Patent | Activating a snap point in an artificial reality environment(Meta专利:在人工现实环境中激活锁定点)
》
在一个实施例中,用户使用“锁定点”激活虚拟对象和/或将虚拟对象从身体锁定或头部锁定转换为世界锁定。锁定点是用XR世界中的特定位置。当用户假设的位置接近他之前定义锁定点时的位置时,对象不再被束缚,而是锁定在锁定点(即对象变为“世界锁定”)。直到用户定义捕捉点时与当前位置的距离超过阈值,对象才会稳定地锁定在锁定点处。当用户移动超过阈值时,对象将从锁定点释放,返回到之前定义的模式,并像以前一样跟随用户穿过XR世界。
11. 《
Meta Patent | Preventing false activations based on don/doff detection for assistant systems(Meta专利:基于戴/脱检测的辅助系统防止误激活)
》
在一个实施例中,专利描述的方法包括接收来自用户的触控输入,触控输入对应于在头显执行的辅助系统的激活触发器,由头戴式设备访问来自头显的惯性测量单元(IMU)传感器的信号,通过设备上的戴/脱检测模型,并仅基于来自IMU传感器的信号来确定用户正在穿戴或脱下头显,并覆盖激活触发器以防止响应于接收到的触控输入激活辅助系统。
12. 《
Meta Patent | Scalable handwriting, and systems and methods of use thereof(Meta专利:可扩展手写及其系统和使用方法)
》
在一个实施例中,专利描述的方法包括通过用户佩戴的可穿戴设备检测用户执行的手势。响应于检测到手势,使显示器呈现相关联的应用特定动作的表示,以及预测用户输入。由可穿戴设备检测用户执行的后续输入。响应于确定后续输入选择了预测的用户输入,提供指令,使可穿戴设备启动将预测的用户输入发送到另一个电子设备;并,响应于确定后续输入选择了与角色相关联的特定应用动作的表示,提供使可穿戴设备启动特定应用动作执行的指令。
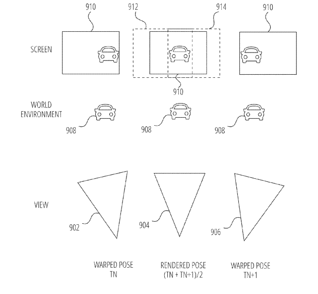
13. 《
Meta Patent | Solid crystal based spatial light modulator(Meta专利:基于固体晶体的空间光调制器)
》
在一个实施例中,专利描述的设备包括有机固体晶体,像素电极层和与有机固体晶体耦合的公共电极层,像素电极层包括像素电极阵列。设备同时包括控制器,其配置为单独配置施加到像素电极的电压,以单独配置有机固体晶体的局部折射率。
14. 《
Meta Patent | Controllable aperture projection for waveguide display(Meta专利:波导显示器的可控孔径投影)
》
在一个实施例中,专利描述的头戴式显示设备采用可控孔径投影,以实现波导显示器在视场和视窗的均匀性。控制光瞳复制密度的基于波导的显示器可以包括提供光的图像面板、接收和聚焦来自图像面板的光的投影透镜、以可控方式传递聚焦光的可变孔径、以及将可变孔径通过的聚焦光投影到视窗的波导,其中可变孔径位于波导的入口处。
15. 《
Meta Patent | Variable refractive index thin films(Meta专利:可变折射率薄膜)
》
在一个实施例中,专利描述了一种形成可变折射率薄膜的方法,包括形成包括卤化锡前体和液体溶剂的涂层,其中液体溶剂的组成和/或浓度可以在涂层的一个或多个横向尺寸上在空间上变化。在高温下退火可能会导致涂层致密化,并形成具有可变折射率的薄膜。折射率的局部变化可能与薄膜内锡的位置氧化态有关。
16. 《
Apple Patent | Conversation privacy for third party applications(苹果专利:第三方应用的对话隐私)
》
在一个实施例中,专利描述了用于在多用户通信会话中协作的技术,包括在第一设备处接收在与第二设备的多用户通信对话中启动第一应用程序的请求;在多用户通信会话中呈现第一应用的环境;通过多用户通信会话的一个或多个进程从第一用户接收数据,数据包括输入数据和第一通信数据;由所述一个或多个进程向所述第一应用提供所述输入数据;通过所述一个或多个进程向所述第二设备提供所述第一通信数据;由所述一个或多个进程从所述第二设备接收第二通信数据;以及通过一个或多个进程在第一应用的环境中呈现第二通信数据,其中第一应用限制访问第一通信数据和第二通信信息。
17. 《
Apple Patent | Methods, systems, and apparatuses for maintaining stereo consistency(苹果专利:用于保持立体一致性的方法、系统和装置)
》
在一个实施例中,当接收具有内容帧的内容数据时,在XR环境中保持立体一致性,内容帧描绘与XR环境中内容项的第一左眼视点对应的内容项的左眼部分,以及与XR环境内内容项的第一右眼视点对应的属性项的右眼部分。可以通过确定使用内容帧的调整版本来提供内容项的视图来保持立体一致性,其中来自第二左眼视点的左眼视图不同于第一左眼视点,来自第二右眼视点的右眼视图也不同于第一右眼视点,然后基于内容帧和调整来呈现左眼视图和右眼视图。
18. 《
Apple Patent | Synchronization in a multiuser experience(苹果专利:多用户体验中的同步)
》
在一个实施例中,促进多用户通信会话中的协作包括检测第一设备的用户与多用户通信对话中的虚拟对象之间的交互的发起,其中第一设备和第二设备在多用户通信会议中是活动的,并且其中状态信息在多用户通信会话中在第一设备和第一设备之间同步。根据检测到用户和虚拟对象之间的交互的发起,第一设备暂停状态信息的同步,其中状态信息与用户和虚拟对象之间的交互有关。根据状态信息的暂停同步,第一设备处的多用户通信会话的表示和第二设备处的该多用户通信对话的表示是不一致的。
19. 《
Apple Patent | Techniques for displaying and capturing images(苹果专利:用于显示和捕获图像的技术)
》
在一个实施例中,单独处理图像流以生成用于由一组显示器显示的第一组图像和用于作为媒体捕获事件的一部分进行存储或传输的第二组图像。具体而言,来自图像流的第一组图像可用于生成第一组变换图像,并且变换图像可以显示在一组显示器。响应于与媒体捕获事件相关联的捕获请求,可以从图像流中选择第二组图像,并且可以使用第二组图片来生成第二组变换后的图像。可以从第二组变换图像生成一组输出图像,并且可以存储或传输该组输出图像以供以后查看。
20. 《
Apple Patent | Data-to-scan coupling induced error compensation(苹果专利:数据扫描耦合感应误差补偿)
》
在一个实施例中,专利描述的设备接收包括像素行的输入信号帧。行减法器计算像素行之间的数据电压转换,从而得到空间插值电压转换计算。组平均值对像素行内每列的电压进行平均,从而得到组平均电压。对于每个扫描阶段,使用空间插值电压转换计算和组平均电压来计算侵略者值。对于每个扫描阶段,aggressor值和输入子像素值用于通过与相应的先进先出(FIFO)缓冲器对齐来校正补偿校正电压值。补偿校正电压值与输入信号帧相加,得到补偿输出图像帧。显示面板显示补偿后的输出图像帧。
21. 《
Apple Patent | Inserting imagery from a real environment into a virtual environment(苹果专利:将真实环境中的图像插入虚拟环境)
》
在一个实施例中,专利描述的技术将来自真实环境的图像插入虚拟环境。在电子设备呈现虚拟环境时,检测电子设备与位于真实环境中的物理对象的接近程度。响应于检测到电子设备与物理对象的接近度小于第一阈值距离,物理对象的图像与真实环境的其他图像隔离。物理对象的孤立图像被插入到虚拟环境中与物理对象在真实环境中的位置相对应的位置。物理对象的图像具有与电子设备与物理对象的接近度相关联的第一可见度值。
22. 《
Apple Patent | Generating adapted virtual content to spatial characteristics of a physical setting(苹果专利:生成适应物理环境空间特征的虚拟内容)
》
在一个实施例中,专利描述的方法包括:识别与物理环境相关联的多个子集;为所述多个子集中的每一个确定一组空间特征,其中第一组空间特征表征第一子集的维度,第二组空间特征特征表征第二子集的维度;至少部分地基于第一组空间特征为第一子集生成适配的第一XR内容部分;至少部分地基于第二组空间特征为第二子集生成适配的第二XR内容部分;以及基于第一组和第二组空间特征生成一个或多个导航选项,允许用户在第一子集和第二子集之间遍历。
23. 《
Apple Patent | Generating pose information for a person in a physical environment(苹果专利:为物理环境中的个人生成姿势信息)
》
在一个实施例中,当设备处于包括固定空间点和人的物理环境中时,通过环境传感器获得与物理环境和人相对应的空间数据。基于空间数据确定人的第一身体部分相对于固定空间点的位置。确定第一身体部分的位置是基于设备和固定空间点之间的距离以及设备和第一身体部分之间的距离。基于第一身体部分的位置生成第一身体部分相对于固定空间点的姿势信息。
24. 《
Apple Patent | Methods for managing spatially conflicting virtual objects and applying visual effects(苹果专利:管理空间冲突虚拟对象和应用视觉效果的方法)
》
在一个实施例中,计算机系统便于参与与一个或多个参与者的通信会话,包括显示其中一个参与者的空间表示。响应于检测到虚拟对象与空间表示的第一部分存在空间冲突,计算机系统显示与空间表示存在空间冲突的虚拟对象部分,与不与空间表示发生空间冲突的部分的视觉突出度相比,它的视觉突出度将会降低。
25. 《
Apple Patent | Electronic device(苹果专利:电子设备)
》
在一个实施例中,头戴式电子设备可以包括框架、固定到框架的窗口、配置为引导窗口显示的光的波导、以及从框架向远侧延伸的一对固定臂。固定臂中的每个固定臂可以包括展开铰链和在展开铰链处连接到框架的近端部分,近端部分具有从默认位置向外并相对于观察框架高达20度的展开运动范围。
26. 《
Apple Patent | Optical module for head-mounted device(苹果专利:用于头显的光学模块)
》
在一个实施例中,用于头戴式设备的光学模块配置为向用户呈现内容。光学模块包括外壳、设置在外壳中的第一光学模块和设置在外壳内的第二光学模块。光学模块包括瞳孔间距离调节组件,瞳孔间距离调整组件包括支撑件,支撑件联接到外壳并配置为引导第一光学模块和第二光学模块相对于外壳的运动,以允许调节第一光学模块与第二光学模块之间的距离。第一光学模块和第二光学模块的光轴通常在壳体的前后方向上延伸。支撑件的运动轴通常在外壳的左右方向上延伸。
27. 《
Apple Patent | Head-mounted display for virtual and mixed reality with inside-out positional, user body and environment tracking(苹果专利:用于虚拟现实和混合现实,并具有内外位置、用户身体和环境追踪功能的头戴式显示器)
》
在一个实施例中,专利描述的头戴式显示器用于对虚拟现实或混合现实进行精确和自动的内外位置、用户身体和环境追踪。系统使用计算机视觉方法和来自多个传感器的数据融合来实现实时追踪,并通过在头显本身执行部分处理来实现高帧率和低延迟。
28. 《
Apple Patent | Head mountable display(苹果专利:头戴式显示器)
》
在一个实施例中,专利描述的头显可以包括外框,外框可以限定第一开口、第二开口、第一开口和第二开口之间的内部容积、第一开口与第二开口间的进气口以及第一开口与第一开口之间的排气口。前盖组件可以设置在第一开口中。内框架可以联接到外框架,其中内框架可以限定第一孔和第二孔。
29. 《
Google Patent | Methods and apparatus to select and present level-change way points for indoor navigation systems(谷歌专利:为室内导航系统选择和呈现水平变化路径点的方法和装置)
》
在一个实施例中,专利描述的示例方法包括:从具有导航系统接口的客户端设备接收从起点到终点的导航方向请求;由一个或多个处理器基于与起始点相关联的起始级别来识别多个级别变化路径点;由一个或多个处理器基于与所述目的地点相关联的目的地级别来确定所述多个级别改变路径点中的两个或更多个的子集;由一个或多个处理器基于一个或一个以上准则从所述子集中选择选定电平改变路径点;以及向客户端设备提供指示,以在导航系统用户界面中呈现所选水平变化路径点的位置指示。
30. 《
Google Patent | Binocular display system for an eyewear display(谷歌专利:用于眼镜显示器的双目显示系统)
》
在一个实施例中,眼镜显示器包括结合到眼镜显示器的一个透镜中的第一波导和结合到眼镜显示的另一个透镜的第二波导。第一波导包括第一耦入器,第二波导包括第二耦入器。眼镜显示器同时包括具有可切换面板的光引擎,以在将显示光引导到第一耦入器和将显示光指导到第二耦入器之间交替。
31. 《
Google Patent | Methods, systems, and media for object grouping and manipulation in immersive environments(谷歌专利:沉浸式环境中对象分组和操纵的方法、系统和媒体)
》
在一个实施例中,专利描述的方法可以包括:在沉浸式环境中显示多个虚拟对象;生成包括第一虚拟对象和第二虚拟对象的组虚拟对象,组虚拟对象包括用于与组虚拟对象交互的手柄界面元素和与第一虚拟对象以及第二虚拟对象相关联的可选指示符;在沉浸式环境中显示组虚拟对象以及手柄界面元素和可选指示器;以及响应于检测到对可选指示符的选择,显示用于与组虚拟对象交互的用户界面。
32. 《
Samsung Patent | Display device and method for fabricating the same(三星专利:显示设备和制作所述显示设备的方法)
》
在一个实施例中,专利描述的显示设备包括:基板;基板上的晶体管;晶体管上的层间绝缘层;第一电极,其设置在所述层间绝缘层上,并通过所述层内绝缘层中的接触孔连接到所述晶体管;像素限定层,设置在所述层间绝缘层和所述第一电极上;牺牲层,设置在所述层间绝缘层的凹槽中;间隙填充层,其设置在牺牲层上,并位于像素限定层中包括的第一子像素限定层和第二子像素定义层之间;发光堆叠,位于第一电极和像素限定层上;以及第一沟槽,形成在第一子像素限定层和间隙填充层之间、凹槽的内壁和间隙填料层之间以及凹槽的内壁与牺牲层之间。
33. 《
Samsung Patent | Display device and optical device(三星专利:显示设备和光学设备)
》
在一个实施例中,专利描述的显示设备包括:包括发光元件和主晶体管的主像素;以及与主像素相邻的辅助像素,辅助像素包括具有与主晶体管相同特性的辅助晶体管。
34. 《
Samsung Patent | Display panel, manufacturing method thereof, and head-mounted display device including the same(三星专利:显示面板、相关制造方法以及包括所述显示面板的头戴式显示设备)
》
在一个实施例中,专利描述的显示面板包括:设置在发光元件层上并具有第一折射率的外涂层;以及覆盖窗,其设置在外涂层上并且具有大于第一折射率的第二折射率,外涂层和覆盖窗中的至少一个包括多个倾斜表面,而且中心区域中的多个倾斜的表面的倾斜角度不同于边缘区域中的倾斜角度。
35. 《
Samsung Patent | Display device(三星专利:显示设备)
》
在一个实施例中,专利描述的显示设备包括第一基板、第二基板、发光元件和反射层,第一基板包括发射区域和发射区域之间的非发射区域,第一基板上方和发射区域中分别有发光元件,第一基板上方的第二基板,在面向第一基板的表面上限定与发射区域对应的凹槽,发光元件上方的凹槽中的光转换层,以及凹槽侧壁上的反射层,并在平面图中围绕光转换层。
36. 《
Samsung Patent | Wearable device performing call using virtual object and method for controlling the same(三星专利:使用虚拟对象执行呼叫的可穿戴设备及其控制方法)
》
在一个实施例中,专利描述的可穿戴设备可以包括:显示器、存储器和包括处理电路的处理器。存储器可以存储可以由处理器执行的指令,并且至少一个处理器被单独和/或共同配置为使可穿戴设备:基于第一输入获得用于发送呼叫的第一输入,控制显示器向佩戴可穿戴设备的用户显示与呼叫对方对应的第一虚拟对象,获得用于将第一虚拟对象移动到现实世界或虚拟现实中的指定位置的第二输入,并基于第二输入与对方进行呼叫。
37. 《
Samsung Patent | Display device and driving method thereof(三星专利:显示装置及其驱动方法)
》
在一个实施例中,专利描述的显示设备包括像素阵列、电压发生器和源极驱动器,像素阵列包括连接到多条源极线的多个像素,电压发生器配置为产生参考电压,源极驱动器配置为输出与多条源线中的第一源极线对应的第一源信号,通过与第一源线相邻的第二源极线接收与第一源信号对应的第一返回信号,并基于第一返回信号和参考电压的第一比较结果产生第一计数值。
38. 《
Samsung Patent | Method and device for controlling luminance of augmented reality (ar) image(三星专利:AR图像亮度控制方法及装置)
》
在一个实施例中,专利描述的电子设备包括配置为存储计算机可执行指令的存储器、配置为通过访问存储器来执行计算机可执行命令的处理器、以及配置为从由电子设备标识的一个或多个外部设备中的至少一个目标设备接收包括最大亮度和亮度设置值的亮度信息的通信器。处理器配置为基于从至少一个目标设备接收到的亮度信息来确定至少一个对象设备的亮度值。所述处理器同时配置为基于所述至少一个目标设备的亮度值来确定与所述至少两个目标设备相关联的AR图像的亮度值。
39. 《
Samsung Patent | Determining view-dependent color values for image pixels in real time(三星专利:实时确定图像像素的视图相关颜色值)
》
在一个实施例中,专利描述的方法包括确定第一摄像头姿态和第二摄像头姿态;为第一帧访问第一特征图,第一特征图包括第一帧中每个像素的特征向量,并通过NeRF模型并基于第一特征图和第一姿态确定每个第一帧像素的第一颜色值;为第二帧访问第二特征图,确定第一和第二特征图之间的特征图差异和姿势差异。
40. 《
Samsung Patent | Reconstructive latent-space neural radiance fields (rels-nerf) for 3d scene representations(三星专利:用于三维场景表示的重建latent空间神经辐射场)
》
在一个实施例中,专利描述的电子设备包括:摄像头;内存;处理器。所述方法包括获得对象的多个多视图彩色图像;从对象周围的latent场中获得多个多视点latent像和分别与多个多视图latent像对应的多个摄像头参数;基于多个多视图latent像和多个摄像头参数,通过使用latent场和自动编码器来渲染关于对象的第一特征图;基于关于对象的第一特征图,通过执行迭代操作来训练改进的NeRF;接收对对象的新视图的请求;通过使用改进的NeRF,从对象的新视图生成第二特征图;以及由自动编码器的解码器基于第二特征图生成关于对象的新视图的图像。
41. 《
Samsung Patent | Electronic apparatus and method for controlling thereof(三星专利:电子设备及其控制方法)
》
在一个实施例中,专利描述的电子设备包括:一个或多个处理器;以及至少一个存储器,其存储指令,当由所述一个或多个处理器执行时,所述指令使所述电子设备:获得存储在所述至少一个显示器中的用户捕获图像中的图像帧;基于图像帧识别包括运动信息的对象;从图像帧中的第一图像帧获得对象的第一特征信息;基于第一特征信息获得与对象对应的第一化身图像;从图像帧中的第二图像帧获得对象的第二特征信息;基于所述第二特征信息获得与所述对象对应的第二化身图像;并基于第一化身图像和第二化身图像获得虚拟空间图像。
42. 《
Samsung Patent | Wearable device for processing audio signal based on external object recognized from image and method thereof(三星专利:基于图像识别的外部对象处理音频信号的可穿戴设备及其方法)
》
在一个实施例中,可穿戴设备的处理器在显示器的整个显示区域显示关于虚拟空间的第一屏幕的同时,通过使用一个或多个麦克风来获得包括外部空间声音的音频信号。处理器响应于检测到通过使用音频信号产生声音的外部对象,在基于摄像头获得的与外部空间相关联的信息中识别与外部对象对应的数据。处理器基于识别信息中的数据,与显示区域中的第一屏幕一起显示第二屏幕,第二屏幕包括基于识别的数据从摄像头获得的图像中分割的部分。
43. 《
Samsung Patent | Electronic device, method, and storage medium for obtaining image for tracking(三星专利:用于获取追踪图像的电子设备、方法和存储介质)
》
在一个实施例中,可穿戴设备获得具有用于追踪用户身体部位的第一属性的至少一个第一图像和,具有不同于所述第一属性的用于追踪外部电子设备的第二属性的至少两个第二图像,从所述至少两个第一图像中获得用于追踪身体部位的第二特征值,并从所述第二图像中获得用以追踪外部电子设备的第二特性值,基于所述第一特征值和第二特征值将所述可佩戴设备的模式从所述第一模式改变为第二模式,并在所述第三模式中获得另一图像。
44. 《
Samsung Patent | Wearable device and method for identifying location of target object(三星专利:可穿戴设备和识别目标对象位置的方法
》
在一个实施例中,专利描述的可穿戴设备包括显示器、一个或多个摄像头和至少一个处理器,处理器配置为在至少一个图像中识别关于目标对象和与对应于目标对象的外部对象相关的视觉对象的信息。所述至少一个处理器配置为识别包括所述视觉对象的第一图像是否通过所述显示器显示。所述至少一个处理器配置为基于识别出包括视觉对象的第一图像是通过显示器显示的,以改变第一图像以强调视觉对象。所述至少一个处理器配置为基于识别出通过显示器显示与包括视觉对象的第一图像不同的第二图像,通过重叠第二图像来显示用于改变用户的视线以显示第一图像的启示。
45. 《
Samsung Patent | Wearable device, method and computer readable storage medium for identifying gaze of user(三星专利:用于识别用户视线的可穿戴设备、方法和计算机可读存储介质)
》
在一个实施例中。专利描述的可穿戴设备包括:配置用于眼动追踪的至少一个摄像头、配置为与佩戴可穿戴设备的用户的眼睛对齐的至少一台显示器、以及包括处理电路的至少一种处理器。至少一个处理器,单独地和/或共同地配置为:控制可穿戴设备在至少一个显示器显示屏幕;通过所述至少一个摄像头获得与屏幕中的对象相关的注视数据;使用具有基于屏幕的整体亮度水平设置的大小的对象的区域来确定是否将凝视数据识别为对象的输入;并且基于识别为输入的注视数据来执行从对象提供的功能。
46. 《
Samsung Patent | Method for providing augmented reality content in vehicle, and wearable device and electronic device performing the same(三星专利:在车辆中提供增强现实内容的方法,以及执行所述方法的可穿戴设备和电子设备)
》
在一个实施例中,专利描述的可穿戴AR设备可以包括处理器和存储指令的存储器。所述处理器在执行所述指令时,致使所述可穿戴AR设备:在与车辆的空间对应的第一空间地图数据设置与锚定设备的位置对应的参考点,基于所述参考点以及所述可佩戴AR设备和锚定设备之间的位置关系来确定所述可戴AR设备在所述第一空间地图数据库上的位置和方向,并基于所确定的所述可佩带AR设备的位置和所确定的方向来控制输出AR内容。
47. 《
Sony Patent | Head-mounted display, display control method, and program(索尼专利:头戴式显示器、显示控制方法和程序)
》
在一个实施例中,对于专利描述的头戴式显示器,显示块被布置在佩戴头显的用户的眼睛前方。根据用户与用户周围的物体之间的接近度,头显控制显示块,以便让用户在视觉识别显示块的前进方向。
48. 《
Sony Patent | Interactively placing objects on a virtual stage(索尼专利:在虚拟舞台上交互式放置对象)
》
在一个实施例中,在虚拟制作舞台追踪控制对象,包括用至少一个camera的系统追踪舞台上的控制对象;使用所述控制对象的追踪信息来识别虚拟环境中的位置;以及将虚拟资产放置在虚拟环境中的所标识的位置。
49. 《
Sony Patent | Display control device, head-mounted display, and display control method(索尼专利:显示控制装置、头戴式显示器和显示控制方法)
》
在一个实施例中,头戴式显示器的立体摄像头以1/Δt的帧速率拍摄左视点和右视点拍摄的图像。通过使用左视点和右视点拍摄图像中的任一个,显示控制设备以等于拍摄中使用的帧速率的速率为每一帧交替生成左眼或右眼显示图像(例如显示图像),并在显示面板的相应区域中显示生成的显示图像,而在其他区域中不显示任何图像。
50. 《
Sony Patent | Information processing device, information processing method, and program(索尼专利:信息处理设备、信息处理方法和程序)
》
在一个实施例中,当客户端设备生成的本地地图组合以生成全局地图,并且在服务器中执行全局地图的SLAM初始化处理时,在本地地图的组合失败的情况下,服务器根据失败的原因向客户端设备发送用于解决组合失败的指南信息,并将指南信息呈现给用户。
51. 《
Snap Patent | Display for augmented reality or virtual reality(Snap专利:用于AR/VR的显示器)
》
在一个实施例中,第一和第三输入光栅分别从第一和第二投影仪接收第一颜色的光,并将光耦合到第一波导中。第二和第四输入光栅分别从第一和第二投影仪接收第二颜色的光,并将光耦合到第二波导中。输出衍射光学元件将光从波导耦合到观察位置。第一和第二投影仪在分别与波导法向量成第一和第二角度的方向上向输入衍射光学元件提供光。输出衍射光学元件将来自第一投影仪的光以第一角度范围和来自第二投影仪的光在第二角度范围内的光从波导中耦合出,第一角度范围与第二角度区域不同但部分重叠。
52. 《
Snap Patent | Support arm thermal structure for extended reality glasses(Snap专利:用于扩展现实眼镜的支撑臂热结构)
》
在一个实施例中,专利描述了一种用于头戴式设备的支撑臂组件,包括金属支撑臂,其配置为形成投影仪外壳的后表面、底表面和顶表面,与投影仪热耦合以用作散热器,配置为在结构上附接到头戴式设备的后部结构元件,并配置为在结构性上附接到头戴式设备的光学元件支架。
53. 《
Snap Patent | Reducing power consumption of extended reality devices(Snap专利:降低扩展现实设备的功耗)
》
在一个实施例中,XR设备访问与真实世界环境中的对象相关联的对象跟踪数据。基于对象追踪数据,XR设备激活多摄像头对象追踪系统的低功耗模式。在低功耗模式下,通过使用多摄像头对象追踪系统来确定真实世界环境中对象的状态。
54. 《
Snap Patent | Gesture-based keyboard text entry(Snap专利:基于手势的键盘文本输入)
》
在一个实施例中,专利描述了一种用于AR系统的基于手势的文本输入用户界面。AR系统检测由AR系统的用户做出的开始文本输入手势,生成包括具有多个虚拟键的虚拟键盘的虚拟键盘用户界面,并向用户提供虚拟键盘用户接口。AR系统检测用户对输入文本手势的保持。当用户保持输入文本手势时,AR系统在用户通过虚拟键盘的虚拟键进行连续运动时收集连续运动的连续运动手势数据。AR系统检测用户对输入文本手势的释放,并基于连续运动手势数据生成输入文本数据。
55. 《
Snap Patent | Time synchronization for shared extended reality experiences(Snap专利:共享扩展现实体验的时间同步)
》
在一个实施例中,第一XR设备和第二XR设备位于同一环境中。第一XR设备捕获第二XR设备佩戴者的感官数据。感测数据用于确定第一XR设备的第一时钟和第二XR设备第二时钟之间的时间偏移。第一时钟和第二时钟基于时间偏移同步,并建立共享坐标系。共享坐标系能够基于第一时钟和第二时钟的同步来对齐由第一XR设备和第二XR设备同时呈现的虚拟内容。
56. 《
Snap Patent | Dynamic over-rendering in late-warping(Snap专利:后期扭曲中的动态过度渲染)
》
在一个实施例中,专利描述了一种用于调整AR设备中显示器的过度渲染区域的方法,包括识别显示设备的角速度、显示设备的最新姿态、先前的扭曲姿态和先前的过度渲染区域,并基于角速度、最近姿态、先前弯曲姿态和先前过度渲染区域的组合来调整动态过度渲染区域的大小。
57. 《
Snap Patent | Ar data simulation with gaitprint imitation(Snap专利:使用gaitprint模拟AR数据)
》
在一个实施例中,专利描述的方法用于将第一用户的步态模式传输给第二用户以在虚拟仿真环境中模拟增强现实内容;识别在第一物理环境中操作第一视觉追踪系统的第一用户的步态模式;识别在第二物理环境中由第二用户操作的第二视觉追踪系统中的轨迹,轨迹基于第二视觉循轨系统随时间的姿态;基于第一用户的行走模式修改来自第二视觉追踪系统的轨迹;在多个虚拟环境中应用修改后的轨迹,以及基于多个虚拟空间中的修改后轨迹生成模拟ground truth数据。
58. 《
Snap Patent | Personalized avatar real-time motion capture(Snap专利:个性化化身实时动捕)
》
在一个实施例中,专利描述的操作包括:捕获描绘人的视频;识别视频中描绘的人的一组骨骼关节;存储表示视频中描绘的人的骨骼关节组的先前捕获的3D运动的运动矢量;接收选择3D化身的输入;以及基于运动矢量对3D化身进行动画制作,以模仿视频中描绘的人的骨骼关节组的先前捕获的3D运动。
59. 《
Snap Patent | Augmented reality unboxing experience(Snap专利:AR开箱体验)
》
在一个实施例中,专利描述的操作包括检索增强现实元素,所述增强现实元素包括处于闭合状态的虚拟盒子。操作包括获得与虚拟盒子相关联的触发器,触发器配置为将虚拟盒子从关闭状态改变为打开状态。操作包括显示虚拟框。操作包括接收与虚拟盒子相关联的输入。操作包括确定所接收的输入对应于与虚拟盒子相关联的一个或多个触发器。操作包括将虚拟盒子从以关闭状态显示修改为以打开状态显示。
60. 《
Snap Patent | Direct scale level selection for multilevel feature tracking under motion blur(Snap Patent:运动模糊下的多级特征追踪的直接比例级别选择)
》
在一个实施例中,专利描述了一种用于减轻视觉惯性追踪系统中的运动模糊的方法。所述方法包括访问由视觉追踪系统的光学传感器生成的第一图像,访问由视觉追踪系统的光传感器生成的第二图像,第二图像在第一图像之后,确定第一图像的第一运动模糊水平,确定第二图像的第二运动模糊水平,识别第一图像和第二图像之间的比例变化,基于第一运动模糊程度和比例变化确定第一图像中的第一最佳比例水平,以及基于第二运动抖动程度和比例变化确定第二图像中的第二最佳比例水平。
61. 《
Qualcomm Patent | User equipment performance indication in random access(高通专利:随机接入中的用户设备性能指示)
》
在一个实施例中,用户设备(UE)可以使用多个RACH时机中的RACH时机或多个RACH前导码中的RACH前导码来发送随机接入信道(RACH)过程的通信,以指示与UE相关联的性能指示符的值,或者使用物理上行链路共享信道(PUSCH)时机并指示通信中的性能指示符值。UE可以响应于RACH过程的通信而接收RACH过程的附加通信。
62. 《
Qualcomm Patent | Receiver-side noise statistics and log likelihood ratio scaling for pre-equalization-based communication schemes(高通专利:基于预均衡的通信方案的接收器侧噪声统计和对数似然比缩放)
》
在一个实施例中,UE可以向XR设备发送第一组参考信号。XR设备可以对参考信号进行采样,并发送量化样本的指示,以便UE可以执行Rnn估计并生成预均衡矩阵。UE可以向XR设备发送一组预均衡的参考信号,以便XR设备估计LLR缩放系数。UE可以通过执行参考信号测量的滤波来确定预均衡矩阵。UE可以应用白化来考虑瞬时干扰,并且可以向XR设备指示白化矩阵。
63. 《
Qualcomm Patent | Smart combination switch for rapid seamless extended reality (xr) camera start and recovery(高通专利:用于快速无缝XR摄像头启动和恢复的智能组合开关)
》
在一个实施例中,设备包括接收物理(RX PHY)层接口,其配置为向分组交换机发送信息数据,分组交换机配置为在事务开始(SOT)字段到达之前暂停信息数据的传输,并在SOT字段到达时开始信息数据的发送。设备同时包括配置为从分组交换机接收信息数据的摄像头串行接口解码器(CSID);配置为从CSID接收帧开始(SOF)字段的帧交换机;配置为从所述帧交换机接收解码的信息数据,并处理解码后的信息数据以生成与图像显示设备兼容的格式的经处理的信息数据的图像信号处理器(ISP);以及配置为启用帧交换机和分组交换机的软件模块。
64. 《
Magic Leap Patent | Immersive audio platform(Magic Leap专利:沉浸式音频平台)
》
在一个实施例中,从应用程序接收第一输入;响应于接收到第一输入,经由第一服务接收编码的音频流;经由第一服务基于编码的音频流生成解码的音频流;经由第二服务接收解码的音频流;从头显的一个或多个传感器接收第二输入;经由所述第二服务从所述应用程序接收第三输入,其中所述第三输入对应于一个或多个虚拟扬声器的位置;基于解码的音频流、第二输入和第三输入,通过第二服务生成空间化的音频流;通过头显的一个或多个扬声器呈现空间化的音频流。
65. 《
Magic Leap Patent | Acoustic playback waveguide for wearable xr glasses(Magic Leap专利:可穿戴XR眼镜的声学播放波导)
》
在一个实施例中,专利描述了一种用于呈现音频信号的声波导。设备可以包括波导构件,波导构件包括具有第一端和第二端的中空体。设备同时可以包括设置在波导的第一端的声源,其配置为发射至少第一声波。设备进一步包括设置在波导主体的下表面上的多个声通孔,其中多个声通气孔中的每一个配置为接收第一声波,并且配置为基于第一声波发射相应的声波,其中每个相应的声波对应于相应的点声源。
66. 《
Magic Leap Patent | Virtual user input controls in a mixed reality environment(Magic Leap专利:混合现实环境中的虚拟用户输入控件)
》
在一个实施例中,专利描述的可穿戴显示系统包括用于向用户呈现虚拟图像的混合现实显示器、配置为对用户的环境进行成像的朝外成像系统、以及可操作地耦合到混合现实显示器和成像系统的硬件处理器。硬件处理器编程为生成与父设备相关联的虚拟遥控器,在混合现实显示器呈现虚拟遥控器和虚拟控制元件,确定可穿戴系统的用户何时与虚拟遥控器的虚拟控制元件交互,并响应于用户与虚拟控制元件的交互执行特定功能。相关功能可以包括生成虚拟控制元件以在混合现实显示器移动;并且当虚拟控制元件的移动超过阈值条件时,为虚拟控制元件生成焦点指示符。
67. 《
Magic Leap Patent | Methods and apparatus for wearable display device with varying grating parameters(Magic Leap专利:用于具有不同光栅参数的可穿戴显示设备的方法和装置)
》
在一个实施例中,专利描述的设备包括输入耦合光栅和扩展光栅,耦入光栅可操作用于从光源接收与投影图像相关的光,扩展光栅具有第一光栅结构。扩展光栅结构可操作以接收来自耦入光栅的光,并将与投影图像相关的光相乘。设备同时包括耦出光栅,耦出光栅具有第二光栅结构。
68. 《
Magic Leap Patent | Method and system for detecting fiber position in a fiber scanning projector(Magic Leap专利:光纤扫描投影仪中光纤位置检测的方法和系统)
》
在一个实施例中,专利描述了一种测量扫描悬臂的位置的方法,包括提供包括致动区域、包括孔的位置测量区域和振荡区域的壳体。向设置在致动区域中的致动器提供驱动信号,响应于驱动信号振荡扫描悬臂,使用第一光源产生第一光束,将第一光束朝向孔径引导,使用第一光电探测器检测第一光束的至少一部分,使用第二光源产生第二光束,将第二光束朝向孔径,使用第三光电探测器检测第二光束的至少部分,以及基于检测到的第一光束的部分和检测到的第二光束部分确定扫描悬臂的位置。
69. 《
Niantic Patent | Satellite measurement error detection and correction(Niantic专利:卫星测量误差检测与校正)
》
在一个实施例中,系统确定包含客户端设备的多个传感器位置测量值的集合的精度,并生成标记有相关精度估计的一组传感器位置测量结果。系统接收由位置传感器生成的客户端设备的多个传感器位置测量值。系统可以通过将传感器位置测量值与参考位置测量值进行比较来确定传感器位置测量的准确性。系统计算该组传感器位置测量的第一组位置平移和该组VIO位置测量的第二组位置平移。系统可以计算来自第一组和第二