/ Nweon / 0浏览

微软AR/VR专利提出波导显示器多角度滤波器来消除彩虹伪影



映维网Nweon
2024年06月03日

)大多数用户和眼镜厂商都渴望一种形状与太阳眼镜类似的AR眼镜。尽管这听起来十分简单,但人们经常会忽视一个问题:杂散光。

AR眼镜的敞开程度越高,越多来至多余方向和光源的光线就能够进入系统。尽管AR显示器通常能够很好地应对来自前方的环境光,但来自侧面或用户后方的光线会引起严重问题。常规眼镜通常不会反射太多光线,所以问题不大。但AR显示器必须反射和弯曲光线,所以更容易受到杂散光的影响。衍射波导特别受其影响,来自侧面的光线会以彩虹伪影的形式出现在显示器。反射波导的性能更好,但同样存在这方面的问题。

在名为“Rainbow reduction for waveguide displays”的专利申请中,
微软
提出可以通过用波导显示器实现一个或多个角度相关滤波器来减少或消除彩虹伪影。角度相关滤波器包含一层或多层纳米级/亚波长结构,而这种结构的亚波长大小使得角度相关滤波器能够抑制引入高阶衍射和相关伪像。

纳米级/亚波长结构的层可以布置在任何数量的光学元件的任何表面之上,以形成角度相关滤波器,从而有利地提供制造灵活性,并使得能够使用各种制造技术。纳米级/亚波长结构被配置为在特定角度范围内限制或最小化真实世界光进入系统的透射,同时允许或最大化特定角度范围外的真实世界光的透射。

结果,这样的构造可以减少或最小化彩虹伪影,同时保持波导显示系统的透视质量,并且不需要额外功率,因为具有亚波长纳米结构的角度相关滤波器是无源元件。

角度相关滤光器的这种纳米级/亚波长结构的几何形状、形状、分层结构、材料组成和/或其他方面可以进行选择/修改以调节入射光的透射和/或反射,以实现期望的角度透射函数。当角度相关滤光器包括多个表面之上的纳米级/亚波长结构层时,角透射函数将总的组合光透射描述为多表面角度相关滤光镜的入射角的函数。

角度相关滤波器的纳米级/亚波长结构可以实现为周期性结构、非周期性结构或周期性和非周期性的结构的某种组合。例如,彩虹伪影可以是位置相关的,因为引起彩虹伪影的入射角的范围可以根据波导显示器上的位置而不同。

因此,角度相关滤波器的不同区域可以具有具有不同特性的纳米级/亚波长结构。这样的空间变化可以在不影响彩虹减少性能的情况下提高角度相关滤波器的透视质量。

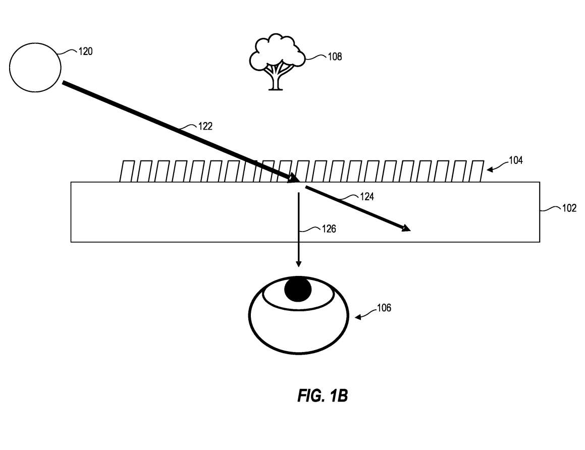
图1A示出了头显的显示系统的波导102。当光的入射角足够高时,由高强度光源输出的环境中的光可以导致彩虹伪影对用户的眼睛106可见。图1B示出了环境中的光源120,其输出以高入射角到达波导102的光(箭头122)。

在与波导102的光栅结构104相互作用时,0阶光(未衍射的)行进通过波导102而没有到达用户的眼睛106(箭头124),而一阶衍射光通过波导102引导朝向用户的眼睛(箭头126)。这种一阶衍射光(箭头126)可导致用户眼睛106可见的彩虹伪影。为了减少或消除用户眼睛106可看到的彩虹伪像,可在波导显示系统中用波导102实现一个或多个角度相关滤波器。

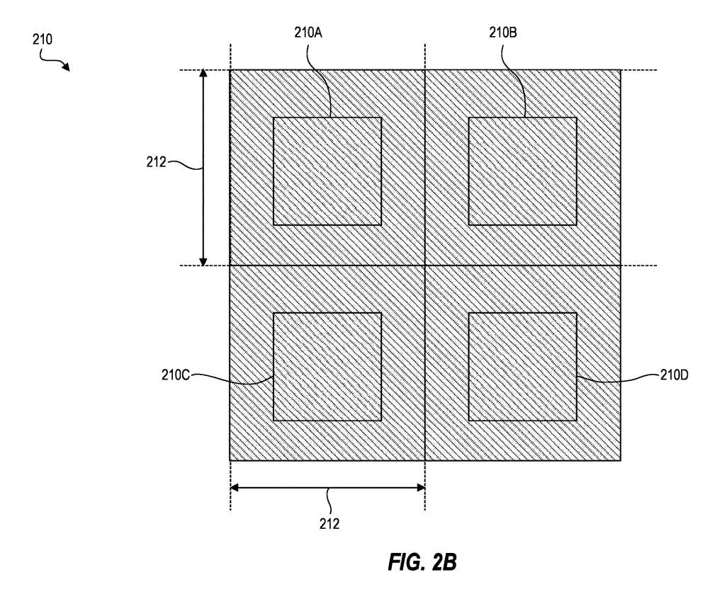
图2A到2C示出了用于减轻彩虹伪像的示例性角度相关滤波器。角度相关过滤器202包括至少一个层204,层204包括多个纳米结构。

图2B示出了角度相关过滤器202的层204的多个纳米结构210。图2B示出了四个纳米结构210A、210B、210C和210D,它们以具有亚波长周期212的周期性阵列排列。

在一个实施例中,多个纳米结构210的亚波长周期防止多个纳米组织210衍射可见光谱中的入射光,从而防止多个纳米粒子210加剧彩虹伪影。

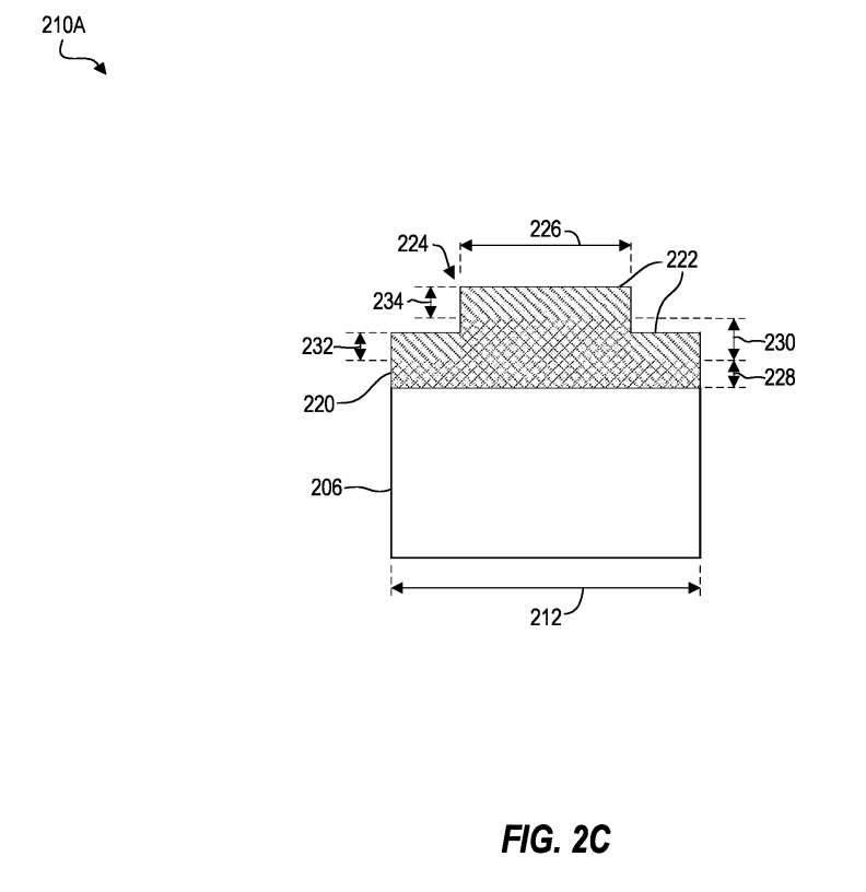
图2C示出了角度相关过滤器202的层204的多个纳米结构210中的特定纳米结构210A。在图2C的示例中,纳米结构210A包括设置在角度相关滤波器202的衬底206之上的第一材料220和设置在第一材料220之上的第二材料222。

纳米结构210A包括凸起部分224,并且第一材料220和第二材料222具有不同的折射率。这样的特征有助于纳米结构210A的角度相关的光传输特性。纳米结构210A(和多个纳米结构210)的角度相关的光传输特性还受到纳米结构210A的其他特性的影响,例如周期212、凸起部分224的节距226、为第一材料220或第二材料222选择的材料、第一材料220的基部高度228、第一材料220220的凸起高度230、第二材料222222的基部高232、第二物质222的凸起高度234等等。

因此,可以通过改变纳米结构210A(和/或角度相关滤光器202的其他纳米结构)的特性来改变纳米结构210的角度相关光透射特性。

如上所述,对于角度相关滤光器202的不同空间区域,角度相关滤光镜202可以具有不同的角度相关光传输特性。这可以通过对角度相关过滤器202的纳米结构的不同区域实施不同的纳米结构特性来促进。

角度相关滤波器202的角度相关光传输特性可以由角度传输函数表示,其中角度传输函数将角度相关滤波器的光传输定义为入射角的函数。对于不同的波长和/或光偏振,角度相关滤波器202的角度相关光传输特性可以不同。

因此,角度相关滤波器202的角度透射函数可以包括用于不同波长和/或光偏振的不同分量/函数。例如,图3示出了示例性角度相关滤波器的示例性角度传输函数。特别地,图3示出了角度相关滤波器的角度透射函数,其示出了作为s偏振光和p偏振光的入射角的函数的角度透射。

从图3中可以明显看出,对于不同的光偏振,角度相关滤波器可以具有不同的角度相关透射特性。

角度相关滤波器202可以具有具有不同纳米结构特性的多个区域,这可以为单个角度相关滤波器产生额外的角度透射函数(或多组角度透射函数)。

角度相关滤波器可以在波导显示系统的彩虹伪影减轻系统中使用,以便于减少或消除彩虹伪影。

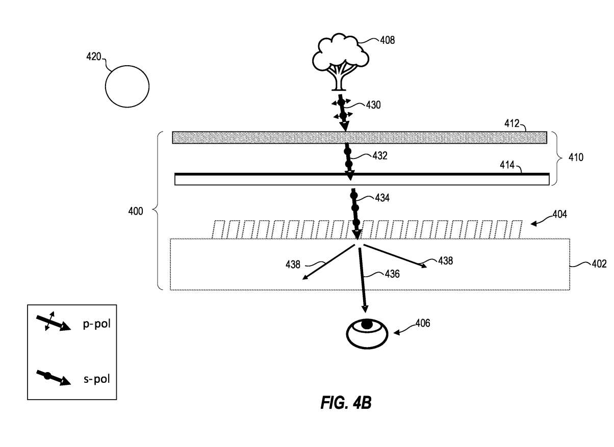
图4A示出了示例波导显示系统400,其包括彩虹伪影减轻系统410。彩虹伪影减轻系统410包括线性偏振器412和角度相关滤波器414。线性偏振器412配置为接收环境光并过滤来自环境光的光的一个偏振。

在图4A的示例中,线偏振器412适于过滤p偏振光,同时允许s偏振光透射通过线偏振剂412。例如,图4A描绘了由光源420在环境中输出的光,其中输出光包括s偏振光和p偏振光(箭头422)。线性偏振器412过滤来自光源420输出的光的p偏振光,导致s偏振光透射通过线性偏振剂412(箭头424)。

角度相关滤波器414的角度相关光透射特性可以由一个或多个角度透射函数来定义。图4A的示例的角度相关滤波器414具体配置为与线性偏振器412组合使用,以形成彩虹伪影减轻系统410。

特别地,角度相关滤波器414被配置为对于高入射角至少部分地减轻s偏振光(其透射通过线偏振器412)的透射。图4A示出透射通过线性偏振器(箭头424)的高入射角s偏振光被角度相关滤波器414(箭头426)反射、吸收和/或散射,以防止s偏振光到达波导显示系统400的波导402的光栅结构404。

鉴于上述情况,线性偏振器412和角度相关滤波器414可以作为彩虹伪影减轻系统410彼此结合操作,以防止高入射角光到达波导显示系统400的光栅结构404,从而减少或减轻彩虹伪影。

在防止高入射角光到达光栅结构的同时,彩虹伪影减轻系统410可以透射低入射角光,以使用户能够看到他们的真实世界环境。

例如,图4B示出了从环境中的对象408向波导显示系统400传播的光(箭头430),其中p偏振光被线性偏振器412过滤,从而允许s偏振光透射通过线性偏振剂412(箭头432)和通过角度相关滤波器414(箭头434)以到达波导402的光栅结构404,这允许0阶光通过波导402到达用户的眼睛406(箭头436),同时衍射通过波导402的一阶光远离用户的眼睛(箭头438)。

图5A示出的示例波导显示系统500包括替代的彩虹伪影减轻系统510。特别地,图5A的彩虹伪影减轻系统510包括角度相关滤波器512和偏振旋转器514。

角度相关滤波器512的角度相关光透射特性可以由一个或多个角度透射函数来定义。图5A的示例的角度相关滤波器512配置为对于高入射角至少部分地减轻p偏振光的透射。

图5A示出了光源520在环境中输出的光,其中输出光包括s偏振光和p偏振光(箭头522)。角度相关滤波器512反射、吸收和/或散射由光源520输出的光的至少一些p偏振高入射角部分(箭头524),同时允许至少一些s偏振光透射通过角度相关滤波器512(箭头526)。

透射通过角度相关滤波器512(箭头526)的高入射角s偏振光到达偏振旋转器514,偏振旋转器配置为旋转所接收的s偏振光的偏振以透射目标偏振的光(箭头528)。目标偏振是仅与波导显示系统500的波导502的光栅结构504微弱地或轻微地相互作用的偏振,使得光栅结构504仅轻微地(如果有的话)衍射目标偏振的光。

可以基于光栅结构504的衍射特性来选择目标偏振,并且可以选择/制造偏振旋转器514以将s偏振光旋转成目标偏振的光。在这一点上,光栅结构504可以配置为表现出目标偏振的光通过波导502朝向用户的眼睛的最小衍射。

鉴于前述内容,角度相关滤波器512和偏振旋转器514可以彼此结合作为彩虹伪影减轻系统510来操作,以至少部分地防止高入射角光以将导致彩虹伪影的方式衍射通过波导显示系统400的光栅结构504。

在执行这样的功能时,彩虹伪影减轻系统510依然可以允许低入射角的光到达光栅结构504和波导502,以使用户能够看到他们的真实世界环境。

例如,图5B示出了从环境中的物体508朝向波导显示系统500传播的光(箭头530),其中p偏振光和s偏振光都透射通过角度相关滤波器512(箭头532),旋转的p偏振光和s偏振光透射通过偏振旋转器514(箭头534),并且旋转的p偏振和s偏振光到达波导502的光栅结构504,这允许0阶光(箭头536)穿过波导502朝向用户的眼睛(图5A中未示出)透射,同时衍射一阶光(箭号538)穿过导波器502远离用户的眼睛。

图6A示出的示例波导显示系统600包括另一个替代的彩虹伪影减轻系统610。特别地,图6A的彩虹伪影减轻系统610包括角度相关滤波器612A、偏振旋转器614和另一角度相关滤波器614B。

角度相关滤波器612A和612B通常对应于上文所述的角度相关滤波器202。例如,角度相关滤波器612A的角度相关光传输特性可以由一个或多个角度传输函数定义,并且角度相关滤波器611B的角度相关的光传输特性可由一个或者多个第二角度传输函数来定义。

图6A的示例的角度相关滤波器612A和612B配置为对于高入射角至少部分地减轻p偏振光的透射。图6A示出了由光源620在环境中输出的光,其中输出光包括s偏振光和p偏振光(箭头622)。角度相关滤波器612A反射、吸收和/或散射由光源620输出的光的至少一些p偏振的高入射角部分(箭头624),同时允许至少一些s偏振光透射通过角度相关滤波器61.2A(箭头626)。

透射通过角度相关滤波器612A的高入射角s偏振光(箭头626)到达偏振旋转器614,偏振旋转器配置为旋转所接收的s偏振光的偏振以透射光p偏振光(箭头628)。在这方面,偏振旋转器614可以实现为四分之一波片。

与角度相关滤波器612A一样,图6A的示例的角度相关滤波器611B配置为对于高入射角至少部分地减轻p偏振光的透射。因此,透射通过偏振旋转器614(箭头628)的高入射角p偏振光中的至少一些被角度相关滤波器612B反射、吸收和/或散射(箭头630)。

图6A进一步示出了由角度相关滤波器612B反射的光(箭头630)再次透射通过偏振旋转器614以形成s偏振光(箭头632),该s偏振光透射通过角度相关滤波器611进入环境(箭头634)。

角度相关滤波器612A和612B以及偏振旋转器614可以作为彩虹伪影减轻系统610彼此结合操作,以至少部分地防止高入射角光到达波导显示系统600的光栅结构604,从而减轻或消除波导显示系统600的彩虹伪影。

在执行这样的功能时,彩虹伪影减轻系统610依然可以允许低入射角的光到达光栅结构604和波导602,以使用户能够看到他们的真实世界环境。

例如,图6B示出了从环境中的物体608向波导显示系统600传播的光(箭头636),其中p偏振光和s偏振光都透射通过角度相关滤波器612A(箭头638),旋转的p偏振光和s偏振光透射通过偏振旋转器614(箭头640从用户的眼睛看。

尽管图6A和6B聚焦于其中角度相关滤波器612A和612B配置为减轻高入射角p偏振光的透射的示例,但角度相关滤波器611A和612B可替代地配置为减少高入射角s偏振光的透射,并且偏振旋转器可配置为将p偏振光旋转成s偏振光。

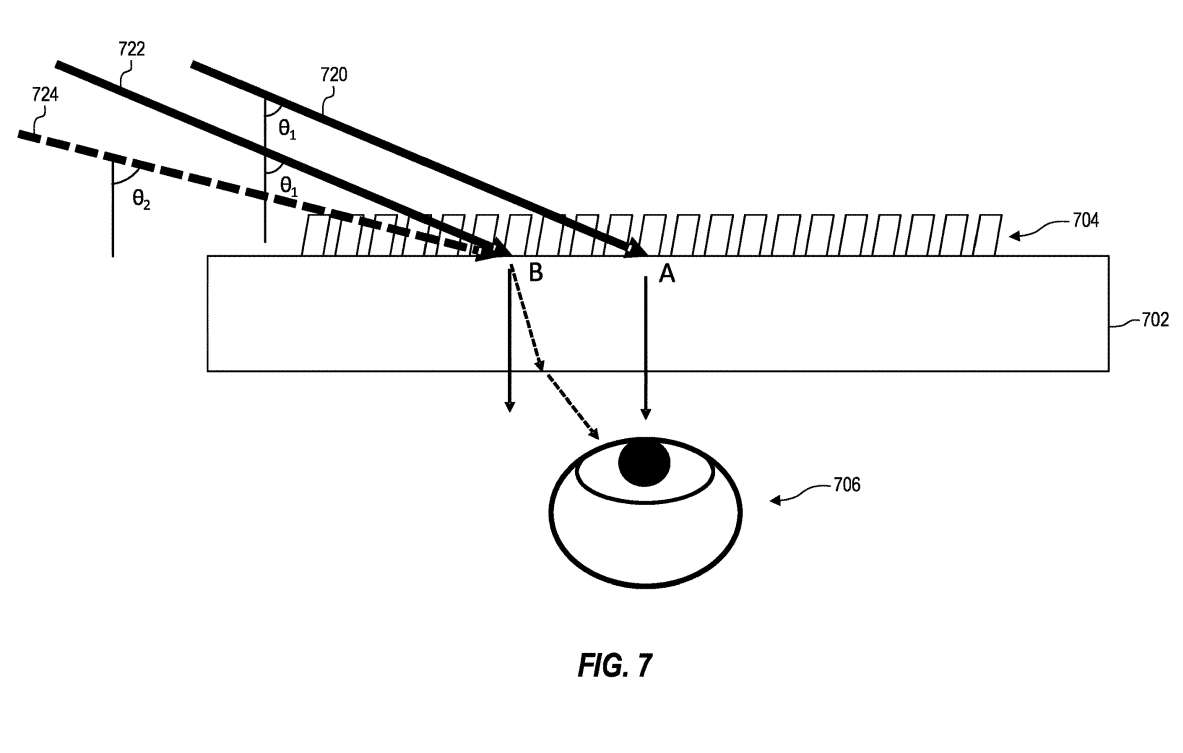
如上所述,波导显示系统中彩虹伪影的发生可以取决于入射光到达波导光栅结构的波导光栅结构上的位置(相对于用户的眼睛)。这可以导致到达光栅结构的不同位置的相同波长和相同入射角的光具有不同的彩虹伪影结果。

例如,图7示出了具有光栅结构704的波导702,光栅结构704接收相同波长(例如蓝色)的入射光并且在光栅结构704上相对于用户的眼睛706具有不同的入射角和位置。到达位置“A”(箭头720)的角度θ1的入射光被光栅结构704朝向用户的眼睛706衍射,而到达位置“B”(箭头722)的角度角度θ1入射光不朝向用户的眼球706衍射。然而,到达位置“B”(箭头724)的角度θ2的入射光被衍射向用户的眼睛706。

彩虹效应的空间依赖性对于不同波长的光是不同的,这可能导致不同波长和不同入射角的光到达光栅结构上的相同空间位置,从而两者都导致彩虹伪影(尽管入射角不同)。

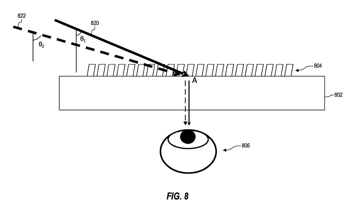
例如,图8示出了具有光栅结构804的波导802,光栅结构接收不同波长(例如,蓝色和红色)的入射光。到达位置“A”(箭头820)的角度θ1的蓝色入射光被光栅结构804朝向用户的眼睛806衍射,到达位置“A”(箭头822)的角度角度θ2的红色入射光也被光栅结构806朝向用户-846的眼806衍射(尽管入射角不同)。

为了考虑彩虹效应的空间和/或波长依赖性,角度相关滤波器可以与多个不同的角度透射函数相关联,以将光透射定义为角度相关滤波器的不同区域和/或不同波长的入射角的函数。

因此,角度相关滤波器的不同区域中的纳米结构可以具有至少部分不同的纳米结构特性。

图9示出了具有与角度相关滤波器902的不同空间区域相关联的不同角度透射特性的示例角度相关滤波器。例如,图9的示例性角度相关滤波器902包括用于每个用户眼睛的四个不同区域,包括区域A、区域B、区域C和区域D。

在图9的例子中,不同的区域具有不同的纳米结构特性,导致每个不同区域的角透射函数不同。

图10示出了图9的角度相关滤波器902的不同区域的角传输函数的曲线图。图10的曲线图的暗部分对应于不同波长和入射角组合的低透射。

可以对角度相关滤波器的一个或多个区域的期望角度透射函数进行调谐,以考虑彩虹伪影的空间和/或波长依赖性。例如,可以利用RCWA或FDTD技术将初始纳米结构配置用作输入,以模拟初始纳米结构结构配置的角传输函数。带端偏移技术可以应用于输入纳米结构的一个或多个区域,以促进模拟的角传输函数的调谐/修改,并可以包括修改输入纳米结构配置的特性。

这样的过程可以迭代(对于任何数量的纳米结构区域)以确定实现一个或多个期望的角透射函数的纳米结构配置。


相关专利


Microsoft Patent | Rainbow reduction for waveguide displays

名为“Rainbow reduction for waveguide displays”的
微软专利
申请最初在2022年10月提交,并在日前由美国专利商标局公布。