(
映维网Nweon
2024年06月01日
)近期美国专利及商标局公布了一批全新的AR/VR专利,以下是映维网的整理(详情请点击专利标题),一共41篇。更多专利披露请访问映维网专利板块
https://patent.nweon.com/
进行检索,你同时可以加入映维网AR/VR专利交流微信群(详见文末)。
1. 《
Meta Patent | Systems and methods of near eye imaging product virtual image distance mapping(Meta专利:近眼成像产品虚拟图像距离映射的系统和方法)
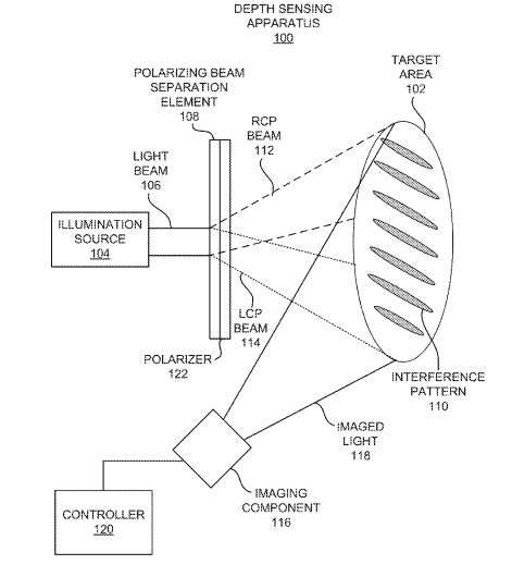
》
在一个实施例中,专利描述的方法可以包括由至少一个处理器接收用微透镜阵列在一次拍摄中产生的成像结果;由至少一个处理器基于成像结果生成两种或多种颜色的虚拟图像距离图;由所述至少一个处理器将所述虚拟图像距离图存储在可由所述最少一个处理器访问的存储器中;由至少一个处理器基于虚拟图像距离图投影图像。
2. 《
Meta Patent | Dual-path disparity sensor(Meta专利:双路视差传感器)
》
在一个实施例中,波导显示系统包括对可见光透明的波导、配置为将视差测试光投影到波导上的投影仪、配置成将视差测试光线耦合到波导中的耦入器、以及波导上的一组光栅。光栅组配置为引导视差测试光沿着波导中的两个不同路径传播,并且在波导的外围区域处将沿着两个不同的路径传播的视差测试光耦出波导。该组光栅包括具有不同光栅矢量的两个视差光栅或具有两个不同光栅向量的二维光栅。较长主路径上的视差测试光包括视差测试光的全色谱,而较短副路径上的差异测试光仅包括具有较短波长的视差测试光线。
3. 《
Meta Patent | Transparent nfc antenna(Meta专利:透明NFC天线)
》
在一个实施例中,专利描述的设备可以包括透明NFC天线,透明NFC包括透明部分和不透明部分。透明NFC天线通过在透明部分中包括诸如金属网的透明导电膜和在不透明部分中包括金属化膜来提高标准NFC天线的辐射效率。金属化膜可以沿着透明部分的周边的窄宽度延伸。
4. 《
Meta Patent | Monitoring food consumption using an ultrawide band system(Meta专利:使用超宽带系统监测食品消费)
》
在一个实施例中,专利描述的系统包括佩戴在用户头部的头显和佩戴在用户手腕或手上的可穿戴设备。头显和可穿戴设备通过超宽带通信信道相互通信耦合。系统基于头显和可穿戴设备之间的超宽带通信信道来追踪用户的手相对于用户的头部。系统同时使用耦合到头显的接触式麦克风来监测用户的下巴的运动,并且部分地基于所追踪的手的运动和所监测的下巴的移动来确定食物消耗参数的值。
5. 《
Meta Patent | Illumination redistributor for display panel(Meta专利:用于显示面板的照明再分配器)
》
在一个实施例中,当用具有空间均匀的亮度角分布的光照射显示面板时,当来自显示面板的像素的光束具有图像平面处的光束坐标对物平面处的像素坐标的第一依赖性时,再分配器可以配置为将照射显示面板的光的亮度的空间均匀的角度分布转换为亮度的空间不均匀的角度分配,从而减少第一依赖性。
6. 《
Meta Patent | Modeling photorealistic faces with eyeglasses(Meta专利:用眼镜建模逼真的人脸)
》
在一个实施例中,专利描述的方法可以:从客户端设备接收包括至少一个主题的图像数据;从所述图像数据中提取所述至少一个对象的面部以及与所述面部交互的对象,其中所述对象可以是所述对象佩戴的眼镜;基于所述面部生成面部基元的集合,所述面部基元集合包括几何形状和外观信息;基于所述对象的一组latent代码来生成一组对象基元;生成所述面部和所述对象之间的光度相互作用的外观模型;以及基于外观模型、面部基元集合和对象基元集合在虚拟环境中渲染化身。
7. 《
Meta Patent | Systems and methods for improved optical systems(Meta专利:用于改进光学系统的系统和方法)
》
在一个实施例中,专利描述的显示系统可以包括光源和波导耦合器,波导耦合器配置为耦合来自光源的光。波导耦合器可以包括具有多个复用体积布拉格光栅的耦入区域和耦出区域。一种方法可以包括通过至少一个处理器,并使用成像技术从不同角度测量用户的皮肤表面区域中的皮肤毛发覆盖率。另一种方法可以包括识别和减轻公共论坛中的潜在有害消息。另一种方法可以包括由至少一个处理器接收来自至少一个成像设备的成像结果。一种系统可以包括基板和透明导电材料,透明导电材料以形成天线的特定图案施加到基板上。
8. 《
Meta Patent | Polarization interference pattern generation for depth sensing(Meta专利:深度传感偏振干涉图生成)
》
在一个实施例中,深度感测设备可以包括照明源以将光束输出到偏振光束分离元件(PBSE)。PBSE可以生成要投影到目标区域上的右手圆偏振(RCP)光束和左手圆偏振(LCP)光束,在目标区域中,RCP光束和LCP光束可以相对于彼此产生干扰。深度感测设备同时包括成像部件,成像部件用于利用投射在目标区域上的RCP光束和LCP光束来捕获目标区域的图像,其中捕获的图像将被分析以用于目标区域的深度感测。深度感测设备同时包括偏振器,该偏振器可以增加干涉图案的强度。
9. 《
Apple Patent | Head-mounted display with adjustment mechanism(苹果专利:带调节机制的头显)
》
在一个实施例中,专利描述了一种配置为由用户佩戴的头戴式显示器。头戴式显示器包括外壳和配置为将外壳固定到用户头部的头带。头带包括联接到壳体的近端和不与壳体连接的远端。头戴式显示器包括调节机制,调节机制配置为改变头带相对于用户头部的贴合。
10. 《
Apple Patent | Display systems with component mounting structures(苹果专利:具有组件安装结构的显示系统)
》
在一个实施例中,专利描述的头戴式设备可以具有头戴式外壳,头戴式外壳配置为佩戴在用户的头部。当用户佩戴头戴式设备时,头戴式设备中的显示器可以向视窗提供图像。头戴式壳体可以具有面向前的前部,并且可以具有前部和后部之间的中间部分。中间部分可以具有接收包含左显示器和右显示器以及对应的左透镜和右透镜的左光学模块和右光学模块的开口。摄像头支架和光学模块导轨可以在中央附接到左开口和右开口之间的中间壳体部分,并且可以具有悬置在空气中的端部。
11. 《
Apple Patent | Modifying existing content based on target audience(苹果专利:根据目标受众修改现有内容)
》
在一个实施例中,可以基于目标受众来修改现有内容。专利描述的方法包括获得内容项。从内容项识别由内容项中的代理的一个或多个表示执行的第一动作。确定第一动作是否违反目标内容评级。如果第一动作违反目标内容评级,则获得满足目标内容评级并且在与第一动作的相似程度内的第二动作。通过用第二动作替换第一动作来修改内容项,以便生成满足目标内容评级的修改的内容项。
12. 《
Apple Patent | Digital assistant object placement(苹果专利:数字助理对象放置)
》
在一个实施例中,专利描述了用于在计算机生成现实(
CG
R)环境内操作智能自动化助理的系统。例如,接收调用数字助理会话的用户输入,并且作为响应,启动数字助理会话。启动数字助理会话包括在第一时间将数字助理对象定位在CGR环境内的第一位置,以及提供指示数字助理对象的位置的第一输出。
13. 《
Apple Patent | Devices, methods, and graphical user interfaces for interacting with three-dimensional environments(苹果专利:用于与三维环境交互的设备、方法和图形用户界面)
》
在一个实施例中,计算机系统在三维环境的第一视图中的第一位置处显示具有第一外观的第一用户界面对象。当显示第一用户界面对象时,计算机系统检测第一用户的第一用户输入。响应于检测到第一用户输入:根据第二用户当前没有与第一用户界面对象交互的确定,计算机系统执行第一操作;并且根据第二用户当前正与第一用户界面对象交互的确定,计算机系统显示第一用户界面对象不可用于交互的视觉指示,包括改变第一用户界面物件的外观或位置,并且放弃执行第一操作。
14. 《
Qualcomm Patent | Scaling for depth estimation(高通专利:深度估计缩放)
》
在一个实施例中,可以包括使用经过训练的机器学习系统来确定图像的预测深度图,获得图像的深度值。其中,深度值包括来自跟踪器的小于图像的所有像素的深度值。跟踪器配置为基于帧之间的一个或多个特征点来确定深度值。专利描述的方法同时可以包括使用和深度值来缩放图像的预测深度图。输出可以是比例校正的深度预测值。
15. 《
Google Patent | Geographic augmented reality design for low accuracy scenarios(谷歌专利:针对低精度场景的地理增强现实设计)
》
在一个实施例中,为了在不定位用户的情况下呈现增强现实特征,客户端设备接收用于在用户的计算设备的摄像头视图中呈现增强现实功能的请求。在定位用户之前,客户端设备获得指示用户姿势的传感器数据,并且基于具有超过指示低精度状态的置信阈值的置信水平的传感器数据来确定用户的姿势。然后,客户端设备在处于低精度状态时根据所确定的用户姿势在摄像头视图中呈现一个或多个增强现实特征。
16. 《
Google Patent | Map-aided inertial odometry with neural network for augmented reality devices(谷歌专利:用于增强现实设备的带有神经网络的地图辅助惯性里程计)
》
在一个实施例中,提供连续增强现实导航的技术包括分别从位置附近的地图到图像的定位和基于IMU数据的预测六自由度姿态组合第一和第二六自由度姿势。第一六自由度姿势基于视觉定位系统,视觉定位系统使用来自位置附近的地图数据与来自AR智能眼镜的世界向摄像头的图像相结合。AR智能眼镜在独立于IMU的世界坐标中提供六自由度姿态。第二个六自由度姿态基于从IMU固有值导出的补偿旋转速度和加速度测量。
17. 《
Samsung Patent | Deposition mask(三星专利:沉积掩模)
》
在一个实施例中,专利描述了一种用于在待沉积的衬底上形成图案的沉积掩模,包括具有上表面的第一部分、具有从第一部分的上表面半蚀刻到第一深度的上表面的第二部分、以及具有从第二部分的上表面相半蚀刻到第二深度的上表面的第三部分。第三部分限定与图案相对应的开口,并且第三部分的上表面包括垂直于沉积掩模的厚度方向的平面。
18. 《
Samsung Patent | Display panel and electronic apparatus including the same(三星专利:显示面板及其电子设备)
》
在一个实施例中,专利描述的显示面板包括电路层和显示元件层,所述显示元件层包括发射白光的发光元件。所述发光元件各自包括第一电极、第一电极上的光学辅助层、光学辅助层上的导电层、导电层上的空穴传输区域、空穴传输区域上并发射第一光的第一发光层、第一发光层上的发光辅助单元、发光辅助单元上并产生第二光的第二发光层、第一光发射层和发光辅助单元之间并产生第三光的第三发光层、以及在电子传输区的第二电极。
19. 《
Samsung Patent | Apparatus and method with depth estimation(三星专利:具有深度估计的设备和方法)
》
在一个实施例中,专利描述的方法包括计算ToF图像的多个ToF像素中的每一个的第一可靠性;以及基于第一可靠性,基于左图像和右图像,并且选择性地基于ToF图像生成场景的深度图。
20. 《
Samsung Patent | Electronic device for displaying media content and user interface in plurality of areas and method thereof(三星专利:用于在多个区域中显示媒体内容和用户界面的电子设备及其方法)
》
在一个实施例中,专利描述的电子设备用于获得从投影仪发射的光将投影在其上的平面的信息。所述电子设备包括处理器,所述处理器基于所述信息从所述平面识别具有第一比率的第一区域和小于所述第一区域的第二区域。另外,在媒体内容显示在由通信电路识别的第一区域中的状态下,处理器获得与媒体内容相关联的用户界面(UI)。处理器控制投影仪在第二区域中显示具有基于第二区域的宽度和高度的布局的UI。电子设备可以在元宇宙中或在元宇宙服务中提供用于增强真实对象和虚拟对象之间的互连性。
21. 《
Samsung Patent | Electronic device and method for rendering based on tracking information for user’s movement(三星专利:基于用户运动追踪信息进行渲染的电子设备和方法)
》
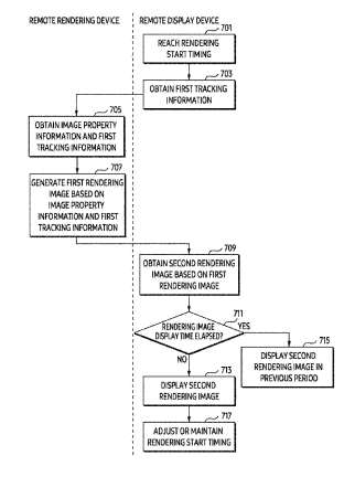
在一个实施例中,专利描述的电子设备可以包括至少一个处理器、追踪传感器、通信电路和显示器。所述至少一个处理器可以通过所述追踪传感器获得用于用户移动的第一追踪信息。所述至少一个处理器可通过所述通信电路从外部电子设备接收图像属性信息以请求渲染。所述至少一个处理器可以基于渲染处理时间来确定具有跟踪特性的第一图像的渲染开始定时。至少一个处理器可以基于第一图像的渲染开始定时,通过通信电路向外部电子设备发送包括第一图像的图像属性信息和第一追踪信息的消息。至少一个处理器可以通过通信电路从外部电子设备接收基于第一图像的图像属性信息和第一追踪信息渲染的第一渲染图像。至少一个处理器可以通过显示器显示基于第一渲染图像生成的第二渲染图像。第一图像的图像属性信息可以包括关于是否基于追踪信息来渲染包括在第一图像中的对象的信息。
22. 《
Samsung Patent | Wearable device for controlling displaying of visual object corresponding to external object and method thereof(三星专利:用于控制与外部对象相对应的视觉对象的显示的可穿戴设备及其方法)
》
在一个实施例中,可穿戴设备的处理器可以识别通过显示器显示的第一图像帧中的多个视觉对象中的第一视觉对象。处理器可以基于识别第一视觉对象来识别与第一视觉对象相关联的第二视觉对象。在识别出第二视觉对象之后,处理器可以经由摄像头获得第二图像帧。处理器可以修改第二图像帧的至少一部分,其中多个视觉对象中不同于第一视觉对象和第二视觉对象的其他视觉对象中的至少一个被移除。处理器可以经由显示器显示包括修改部分的第二图像帧。
23. 《
Sony Patent | Virtual reality streaming system and method(索尼专利:虚拟现实流媒体系统和方法)
》
在一个实施例中,用摄像头捕获宽视场图像,至少捕获摄像头的方位信息作为外部摄像头参数,并且流式传输连续图像以及相应的外部摄像头参数。接收包括由摄像头捕获的连续宽视场图像和摄像头的至少对应的方位信息的流,接收具有比宽视场图像小的视场的头显的至少方位的指示,将接收到的图像中的相应的预定主要感兴趣区域与至少对应于头显的预定方位的视点对准,以及至少基于接收到的摄像头的方位信息和头显的指示方位在头显显示结果。
24. 《
Sony Patent | Generating 3d video using 2d images and audio with background keyed to 2d image-derived metadata(索尼专利:使用2D图像和音频生成3D视频)
》
在一个实施例中,基于存储在指定为3D存储器的存储器部分中的最终用户2D照片和视频来生成3D视频。3D视频中的人物基于2D图像中的人的纹理,并且3D视频中环境背景是从与2D视频中的图像最相似的模型中选择的。3D视频随着时间的推移而更新,使得用户可以选择以3D方式观看人的生命中的特定时期。
25. 《
Sony Patent | Information processing apparatus, information processing method, and recording medium(索尼专利:信息处理设备、信息处理方法和记录介质)
》
在一个实施例中,专利描述的信息处理设备包括控制单元,其基于关于与多条内容相关联的分发源空间的第一空间信息和关于观看多条内容的观看空间的第二空间信息,确定多条内容中的每一条内容在观看空间中的呈现位置。
26. 《
Sony Patent | Training a machine learning model for reconstructing occluded regions of a face(索尼专利:训练一种用于重建面部遮挡区域的机器学习模型)
》
在一个实施例中,使用图像对来训练机器学习(ML)模型。每一对都包括人脸的图像和该图像的副本,其中头显使用计算机图形叠加在人脸上。ML模型随后可用于接收佩戴头显的玩家的图像,并输出玩家的全脸图像以供在例如与游戏相关的
社交
网络设置中使用。
27. 《
Sony Patent | Information processing method, information processing apparatus, and program(索尼专利:信息处理方法、信息处理设备和程序)
》
在一个实施例中,专利描述的信息处理方法包括基于附接到移动体的陀螺仪传感器的输出来执行移动体的姿态信息的估计,移动体的姿势信息包括围绕重力方向上的轴的第一旋转角和围绕与重力方向正交的轴的第二旋转角。同时,在满足关于第二旋转角度的条件的情况下执行第一旋转角度的校正。
28. 《
Sony Patent | Dynamic user input system and method(索尼专利:动态用户输入系统和方法)
》
在一个实施例中,专利描述了一种用于管理用户对交互式内容的输入的系统,所述系统包括多个输入模块、输入特征化单元、模块管理单元和输入映射单元,所述输入模块配置为检测到系统的相应类型的用户输入,所述输入特征化单元配置为根据由相应输入模块检测到的用户输入来确定每种输入类型的使用水平,所述模块管理单元配置成根据相应的使用水平来修改一个或多个输入模块的操作,所述输入映射单元配置用于根据对输入模块的操作的修改来确定检测到的输入和与内容的交互之间的映射。
29. 《
Magic Leap Patent | Method of fabricating molds for forming eyepieces with integrated spacers(Magic Leap专利:制作带有集成垫片的目镜模具的方法)
》
在一个实施例中,模具是通过使用湿法蚀刻或干法蚀刻在基板上蚀刻深孔(例如5μm至1000μm深)而形成。用于限定孔的蚀刻掩模可以由厚金属层和/或不同金属的多层形成。抗蚀剂层可以设置在蚀刻掩模之上。抗蚀剂层可以图案化以形成孔的图案,图案可以转移到蚀刻掩模,并且蚀刻掩模可以用于将图案转移到下面的衬底中。图案化的基底可以用作模具,可流动的聚合物可以引入到模具上并允许硬化。孔中的硬化聚合物可以形成集成的间隔物。硬化的聚合物可以从模具中移除以形成具有集成间隔物的波导。
30. 《
Magic Leap Patent | Systems and methods for mixed reality(Magic Leap专利:用于MR的系统和方法)
》
在一个实施例中,专利描述的虚像生成系统包括具有相对的第一和第二面的平面光波导、配置用于将来自图像投影组件的准直光束光学耦入到平面光波导中作为耦入光束的耦合入元件、与平面光波导的第一面相关联的用于将耦入光束分裂成第一组正交小光束的第一正交光瞳扩展(OPE)元件、和平面光波导第二面相关联用于将耦入光束分裂成第二组正交小束的第二正交光光瞳扩展。
31. 《
Magic Leap Patent | Systems and methods for presenting perspective views of augmented reality virtual object(Magic Leap专利:用于呈现增强现实虚拟对象的透视图的系统和方法)
》
在一个实施例中,专利描述了用于共享虚拟内容的透视图的方法。在示例方法中,经由显示器向第一用户呈现虚拟对象。确定虚拟对象的第一透视图,其中第一透视图基于虚拟对象的位置和第一用户的位置。经由显示器将虚拟对象呈现给第二用户,其中根据第一透视图将虚拟对象展现给第二使用者。确定虚拟对象的第二透视图,其中第二透视视图基于来自第一用户的输入。经由显示器将虚拟对象呈现给第二用户,其中将虚拟对象展现给第二使用者包括呈现从第一透视图到第二透视图的转换。
32. 《
Magic Leap Patent | Exit pupil expander(Magic Leap专利:出瞳扩展器)
》
在一个实施例中,出射光瞳扩展器(EPE)具有出射和入射光瞳、与入射光瞳相邻的后表面和相对的前表面。在一个实施例中,EPE几何配置为使得限定在垂直于后表面的入射光瞳处进入的中心波长的光在前表面和后表面之间经历角度变化的全内反射,使得垂直于出射光瞳离开光学通道的光处于偏离中心波长的波长。在另一个实施例中,前表面和后表面之间的入射光瞳处的第一距离不同于前表面和背表面之间的出瞳处的第二距离。
33. 《
Magic Leap Patent | Wearable display systems with nanowire led micro-displays(Magic Leap专利:具有纳米线Micro LED显示器的可穿戴显示系统)
》
在一个实施例中,专利描述的可穿戴显示系统包括一个或多个纳米线Micro LED显示器。纳米线纳米线Micro LED显示器可以是单色的或全色的。形成阵列的纳米线LED可以有利地具有窄的角发射轮廓和高的光输出。在使用多个纳米线纳米线Micro LED示器的情况下,微型显示器可以定位在光学组合器的不同侧。光学组合器将光引导到投影光学器件,投影光学器件将光输出到目镜,目镜将光中继到用户的眼睛。目镜可以将具有不同波前发散量的光输出到用户的眼睛,以将虚拟内容放置在不同的深度平面上。
34. 《
Snap Patent | Revolving xr eyewear display(Snap专利:旋转式XR眼镜显示器)
》
在一个实施例中,专利描述的扩展现实显示系统包括LED显示控制器和可操作地耦合到LED显示驱动器的LED近眼显示元件。LED近眼显示元件包括一个或多个马达和可操作地连接到一个或更多个马达的LED阵列。在操作期间,LED显示器驱动器接收包括XR体验的渲染虚拟对象的视频数据,并基于视频数据生成LED阵列控制信号,LED阵列控制信号使LED阵列的一个或多个LED按顺序通电。LED显示器驱动器还产生同步的马达控制信号,并且同时将LED阵列控制信号传送到LED阵列并且将同步的马达控制器信号传送到一个或多个马达,从而使LED近眼显示元件显示所渲染的虚拟对象。
35. 《
Snap Patent | Determining gaze direction to generate augmented reality content(Snap专利:确定视线方向以生成增强现实内容)
》
在一个实施例中,眼镜设备确定用户的视场中的注视方向。至少部分地基于所确定的注视方向在视场中生成锚点。识别与视场中的地平面相对应的表面。确定从所识别的表面到锚点的距离。至少部分地基于所确定的距离来生成AR内容。在视场中呈现生成的AR内容以供眼镜设备显示。
36. 《
Snap Patent | Dynamic initialization of 3dof ar tracking system(Snap专利:三自由度AR追踪系统动态初始化)
》
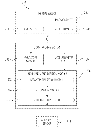
在一个实施例中,专利描述了一种用于动态初始化三自由度追踪设备的方法。访问来自三自由度追踪设备的陀螺仪的陀螺仪信号,访问来自三自由度追踪设备的加速度计的加速度计信号,确定初始状态包括3DOF跟踪装置的初始方位、初始位置和初始速度的组合,使用初始状态对陀螺仪信号和加速度计信号进行积分以获得方位和位置信号,以及使用位置信号细化方位信号的倾斜信号。
37. 《
Snap Patent | Continuous surface and depth estimation(Snap专利:连续的表面和深度估计)
》
在一个实施例中,专利描述了用于连续表面和深度估计的系统。所述连续表面和深度估计系统通过使用限制在预定窗口内的立体视觉来确定物理对象的深度和表面法线。
38. 《
Snap Patent | Avatar dance animation system(Snap专利:Avatar舞蹈动画系统)
》
在一个实施例中,从处理器接收实时声学信号的声学片段开始。对于每个声学片段,处理器使用音乐分析器神经网络生成节奏值和舞蹈能量类别,并基于该节奏值和该舞蹈能量类别选择舞蹈曲目。处理器使用Avatar的舞蹈轨迹舞蹈序列来生成,基于Avatar的舞蹈序列和化身的化身特征来生成Avatar的实时动画,并且使得在第一客户端设备上显示Avatar的实时动画。
39. 《
Snap Patent | Ar position and orientation along a plane(Snap专利:沿平面的AR位置和方向)
》
在一个实施例中,系统执行包括接收包括对真实世界环境中的一个或多个真实世界对象的描绘的视频,以及获得与真实世界环境相关的深度数据的操作。操作包括基于视频和深度数据生成真实世界环境的3D模型,以及基于真实世界环境中的3D模型将AR项目添加到视频中。操作包括确定AR项目已放置在真实世界环境的垂直平面上,以及修改AR项目的方向以对应于垂直平面的方向。
40. 《
HTC Patent | Method and system for managing wireless communication and non-transitory computer readable storage medium(HTC专利:用于管理无线通信和非瞬态计算机可读存储介质的方法和系统)
》
在一个实施例中,专利描述的无线通信管理方法包括以下操作:在主设备和从设备之间建立无线连接,其中从设备通过无线连接按连接间隔向主设备发送运动数据;以及响应于由所述主设备确定所述从设备具有根据所述运动数据的运动减量,增加从设备的连接间隔。
41. 《
HTC Patent | Head-mounted display, controlling method and non-transitory computer readable storage medium thereof(HTC专利:头戴式显示器及其控制方法和非瞬态计算机可读存储介)
》
在一个实施例中,专利描述的头戴式显示器基于多个实时图像确定多个姿势中的第一姿势。头戴式显示器根据与用户的第一身体部位相对应的多个惯性测量参数,在与用户相对应的多种手势中生成第一手势。头戴式显示器基于第一手势和第一手势生成与多个输出事件中的第一输出事件相对应的控制信号。